HDF800 - Brush cutter POULAN - Free user manual and instructions
Find the device manual for free HDF800 POULAN in PDF.
Download the instructions for your Brush cutter in PDF format for free! Find your manual HDF800 - POULAN and take your electronic device back in hand. On this page are published all the documents necessary for the use of your device. HDF800 by POULAN.
USER MANUAL HDF800 POULAN
Read this Manual and follow all Warnings and Safety Instructions. Failure to do so can result in serious injury.
ALWAYS WEAR EYE PROTECTION DURING OPERATION
Visit our website: www.poulan-pro.com
TRAINING
- Read the Owner's Manual carefully. Be thoroughly familiar with the controls and the proper use of the equipment. Know how to stop the unit and disengage the controls quickly.
- Never allow children to operate the equipment. Never allow adults to operate the equipment without proper instruction.
- Keep the area of operation clear of all persons, particularly small children, and pets.
PREPARATION
- Thoroughly inspect the area where the equipment is to be used and remove all foreign objects.
- Disengage all clutches and shift into neutral before starting the engine (motor).
- Do not operate the equipment without wearing adequate outer garments. Wear footwear that will improve footing on slippery surfaces.
- Handle fuel with care; it is highly flammable.
Use an approved fuel container. - Never add fuel to a running engine or hot engine.
- Fill fuel tank outdoors with extreme care. Never fill fuel tank indoors.
- Replace gasoline cap securely and clean up spilled fuel before restarting.
- Use extension cords and receptacles as specified by the manufacturer for all units with electric drive motors or electric starting motors.
- Never attempt to make any adjustments while the engine (motor) is running (except where specifically recommended by manufacturer).
OPERATION
- Do not put hands or feet near or under rotating parts.
Exercise extreme caution when operating on or crossing gravel drives, walks, or roads. Stay alert for hidden hazards or traffic. Do not carry passengers.
After striking a foreign object, stop the engine (motor), remove the wire from the spark plug, thoroughly inspect the tiller for any damage, and repair the damage before restarting and operating the tiller.
Exercise caution to avoid slipping or falling. - If the unit should start to vibrate abnormally, stop the engine (motor) and check immediately for the cause. Vibration is generally a warning of trouble.
- Stop the engine (motor) when leaving the operating position.
Take all possible precautions when leaving the machine unattended. Disengage the tines, shift into neutral, and stop the engine. - Before cleaning, repairing, or inspecting, shut off the engine and make certain all moving parts have stopped. Disconnect the spark plug wire, and keep the wire away from the plug to prevent accidental starting. Disconnect the cord on electric motors.
- Do not run the engine indoors; exhaust fumes are dangerous.
-
Never operate the tiller without proper guards, plates, or other safety protective devices in place.
-
Keep children and pets away.
- Do not overload the machine capacity by attempting to till too deep at too fast a rate.
- Never operate the machine at high speeds on slippery surfaces. Look behind and use care when backing.
- Never allow bystanders near the unit.
- Use only attachments and accessories approved by the manufacturer of the tiller.
- Never operate the tiller without good visibility or light.
- Be careful when tilling in hard ground. The tines may catch in the ground and propel the tiller forward. If this occurs, let go of the handlebars and do not restrain the machine.
MAINTENANCE AND STORAGE
- Keep machine, attachments, and accessories in safe working condition.
- Check shear pins, engine mounting bolts, and other bolts at frequent intervals for proper tightness to be sure the equipment is in safe working condition.
- Never store the machine with fuel in the fuel tank inside a building where ignition sources are present, such as hot water and space heaters, clothes dryers, and the like. Allow the engine to cool before storing in any enclosure.
- Always refer to the operator's guide instructions for important details if the tiller is to be stored for an extended period.
- IMPORTANT -
CAUTIONS, IMPORTANTS, AND NOTES ARE A MEANS OF ATTRACTING ATTENTION TO IMPORTANT OR CRITICAL INFORMATION IN THIS MANUAL.
IMPORTANT: USED TO ALERT YOU THAT THERE IS A POSSIBILITY OF DAMAGING THIS EQUIPMENT.
NOTE: Gives essential information that will aid you to better understand, incorporate, or execute a particular set of instructions.

Look for this symbol to point out important safety precautions. It means CAUTION!!! BECOME ALERT!!! YOUR SAFETY IS INVOLVED.

CAUTION: Always disconnect spark plug wire and place wire where it cannot contact spark plug in order to prevent accidental starting when setting up, transporting, adjusting or making repairs.

WARNING
The engine exhaust from this product contains chemicals known to the State of California to cause cancer, birth defects, or other reproductive harm.
PRODUCT SPECIFICATIONS
| Gasoline Capacity: | 3 Quarts (2.8L) Unleaded Regular |
| Oil (API-SG-SL): (Capacity: 20 oz./0.6L) | SAE 30 (Above 32°F/0°C) SAE 5w-30(Below 32°F/0°C) |
| Spark Plug: (Gap: .030" / 0.76mm) | Champion RC12YC |
CONGRATULATIONS on your purchase of a new tiller. It has been designed, engineered and manufactured to give you the best possible dependability and performance.
Should you experience any problems you cannot easily remedy, please contact your nearest authorized service center. We have competent, well-trained technicians and the proper tools to service or repair this unit.
Please read and retain this manual. The instructions will enable you to assemble and maintain your tiller properly. Always observe the "SAFETY RULES".
CUSTOMER RESPONSIBILITIES
- Read and observe the safety rules.
- Follow a regular schedule in maintaining, caring for and using your tiller.
- Follow instructions under "Maintenance" and "Storage" sections of this Manual.
IMPORTANT: THIS UNIT IS EQUIPPED WITH AN INTERNAL COMBUSTION ENGINE AND SHOULD NOT BE USED ON OR NEAR ANY UNIMPROVED FOREST-COVERED, BRUSH-COVERED OR GRASS COVERED LAND UNLESS THE ENGINE'S EXHAUST SYSTEM IS EQUIPPED WITH A SPARK ARRESTER MEETING APPLICABLE LOCAL LAWS (IF ANY). IF A SPARK ARRESTER IS USED, IT SHOULD BE MAINTAINED IN EFFECTIVE WORKING ORDER BY THE OPERATOR.
IN THE STATE OF CALIFORNIA, A SPARK ARRESTER IS REQUIRED BY LAW (SECTION 4442 OF THE CALIFORNIA PUBLIC RESOURCES CODE). OTHER STATES MAY HAVE SIMILAR LAWS. FEDERAL LAWS APPLY ON FEDERAL LANDS. SEE YOUR AUTHORIZED SERVICE CENTER/DEPARTMENT FOR SPARK ARRESTER.
TABLE OF CONTENTS
SAFETY RULES 2
PRODUCT SPECIFICATIONS 3
CUSTOMER RESPONSIBILITIES 3
ASSEMBLY 4-5
OPERATION 6-9
MAINTENANCE SCHEDULE 10
MAINTENANCE 10-12
SERVICE & ADJUSTMENTS 12-14
STORAGE 15
TROUBLESHOOTING 16
WARRANTY 17
ASSEMBLY
Your new tiller has been assembled at the factory with exception of those parts left unassembled for shipping purposes. To ensure safe and proper operation of your tiller all parts and hardware you assemble must be tightened securely. Use the correct tools as necessary to insure proper tightness.
TOOLS REQUIRED FOR ASSEMBLY
A socket wrench set will make assembly easier. Standard wrench sizes are listed.
(1) Utility knife
(1) Screwdriver
(2) 1 / 2'' wrenches
OPERATOR'S POSITION (See Fig. 1)
When right or left hand is mentioned in this manual, it means when you are in the operating position (standing behind tiller handles).

FIG. 1
CONTENTS OF HARDWARE PACK

(2) Hex Bolts 5/16-18 x 1

(4) Washers 3/8 × 7/8 × 14

(4) Hex Bolts 5/16-18 x 1-1/4

(6) Lock Washers 5/16

(6) Hex Nuts 5/16-18
UNPACK CARTON & INSTALL HANDLE (See Fig. 2)

CAUTION: Be careful of exposed staples when handling or disposing of cartoning material.
IMPORTANT: WHEN UNPACKING AND ASSEMBLING TILLER, BE CAREFUL NOT TO STRETCH OR KINK CABLE(S).
Cut cable ties securing handles.
- Slowly lift handle assembly up, route cable(s) as shown and align handle holes with handle panel hole and slot.
- Loosely assemble hardware as shown. Be sure the shorter (1" long) hex bolt is assembled in lower hole of handle. Repeat for opposite side. Tighten all hardware securely.
- Cut cable ties securing tiller to skid and remove tiller from skid.
- Remove screws securing depth stake to skid and discard the screws.

FIG. 2
INSTALL DEPTH STAKE ASSEMBLY (See Fig. 3)
- Loosen nut "A".
- Insert stake support between engine bracket halves with stake spring down.
- Bolt stake support to engine brackets with bolts, lock washers and nuts. Tighten securely. Tighten nut "A".
- Depth stake must move freely. If it does not, loosen support bolt.

FIG. 3
HANDLEHEIGHT
- Handle height may be adjusted to better suit operator. (See "HANDLE HEIGHT" in the Service and Adjustments section of this manual).
TILLINGWIDTH
- Tilling width may be adjusted to better handle your tilling conditions (See "TINE ARRANGEMENT" in the Service and Adjustments section of this manual).
TINE OPERATION
- Check tine operation before first use. (See "TINE OPERATION CHECK" in the Service and Adjustments section of this manual).
OPERATION
KNOW YOUR TILLER
READ THIS MANUAL AND SAFETY RULES BEFORE OPERATING YOUR TILLER.
Compare the illustrations with your tiller to familiarize yourself with the location of various controls and adjustments. Save this manual for future reference.
These symbols may appear on your Tiller or in literature supplied with the product. Learn and understand their meaning.

TILLING

FORWARD

NEUTRAL

REVERSE

CAUTION OR WARNING

ENGINE ON

ENGINE OFF

FAST

SLOW

CHoke

FUEL

OIL

RUN

FIG. 4
MEETS ANSI SAFETY REQUIREMENTS
Our tillers conform to the safety standards of the American National Standards Institute.
CHOKE CONTROL - Used when starting a cold engine.
DEPTH STAKE - Controls forward speed and the depth at which the tiller will dig.
FORWARD TINE CONTROL - Engages tines in forward direction.
REVERSE TINE CONTROL - Engages tines in reverse RECOIL STARTER HANDLE - Used to start the engine. direction.
THROTTLE CONTROL - Controls engine speed.
OPERATION

The operation of any tiller can result in foreign objects thrown into the eyes, which can result in severe eye damage. Always wear safety glasses or eye shields before starting your tiller and while tilling. We recommend a wide vision safety mask for over spectacles or standard safety glasses.
HOW TO USE YOUR TILLER
Know how to operate all controls before adding fuel and oil or attempting to start engine.
STOPPING (See Fig. 5)
TINES
- Release forward tire control to stop forward movement.
- Release reverse tire control to stop reverse movement.
ENGINE
- Move throttle control to "STOP" position.
- Never use choke to stop engine.

FIG. 5
TINE OPERATION (See Fig. 5)
FORWARD
- Squeeze forward tine control to handle.
REVERSE
- With forward tine control "OFF" (up) position, pull back and hold reverse tine control.
TILLING
The speed and depth of tilling is regulated by the position of the depth stake and wheel height.
The depth stake should always be below the wheels for digging. It serves as a brake to slow the tiller's forward motion to enable the tines to penetrate the ground. Also, the more the depth stake is lowered into the ground the deeper the tines will dig.
DEPTH STAKE (See Fig. 6)
Adjust depth stake by removing the hairpin clip and clevis pin. Change depth stake to desired position. Replace the clevis pin and hairpin clip.
- For normal tilling, set depth stake at the second or third hole from the top.
WHEELS (See Fig. 6)
Adjust wheels by removing the hairpin clip and clevis pin. Change wheel position. Replace the hairpin clip and clevis pin.
- For normal tilling, set wheels at the second or third hole from the top.

FIG. 6
OPERATION
TO TRANSPORT

CAUTION: Before lifting or transporting, allow tiller engine and muffler to cool. Disconnect spark plug wire. Drain gasoline from fuel tank.
AROUND THE YARD
- Tip depth stake forward until it is held by the stake spring.
- Push tiller handles down, raising tines off the ground.
- Push or pull tiller to desired location.
AROUND TOWN
- Disconnect spark plug wire.
- Drain fuel tank.
- Transport in upright position to prevent oil leakage.
BEFORE STARTING ENGINE
IMPORTANT: BE VERY CAREFUL NOT TO ALLOW DIRT TO ENTER THE ENGINE WHEN CHECKING OR ADDING OIL OR FUEL. USE CLEAN OIL AND FUEL AND STORE IN APPROVED, CLEAN, COVERED CONTAINERS. USE CLEAN FILL FUNNELS.
FILL ENGINE WITH OIL (See Fig. 7)
- With engine level, remove engine oil filler plug.
- Fill engine with oil to point of overflowing. For approximate capacity see "PRODUCT SPECIFICATIONS" on page 3 of this manual.
Tilt tiller back on its wheels and then re-level. - With engine level, refill to point of overflowing if necessary. Replace oil filler plug.
- For cold weather operation you should change oil for easier starting (See "OIL VISCOSITY CHART" in the Maintenance section of this manual).
- To change engine oil, see the Maintenance section of this manual.

FIG. 7
ADD GASOLINE
- Fill fuel tank to bottom of filler neck. Do not overfill. Use fresh, clean, regular unleaded gasoline with a minimum of 87 octane. (Use of leaded gasoline will increase carbon and lead oxide deposits and reduce valve life). Do not mix oil with gasoline. Purchase fuel in quantities that can be used within 30 days to assure fuel freshness.

CAUTION: Fill to within 1/2 inch of top of fuel tank to prevent spills and to allow for fuel expansion. If gasoline is accidentally spilled, move machine away from area of spill. Avoid creating any source of ignition until gasoline vapors have disappeared.
Wipe off any spilled oil or fuel. Do not store, spill or use gasoline near an open flame.
IMPORTANT: WHEN OPERATING IN TEMPERATURES BELOW 32^(0^) , USE FRESH, CLEAN WINTER GRADE GASOLINE TO HELP INSURE GOOD COLD WEATHER STARTING.
CAUTION: Alcohol blended fuels (called gasohol or using ethanol or methanol) can attract moisture which leads to separation and formation of acids during storage. Acidic gas can damage the fuel system of an engine while in storage. To avoid engine problems, the fuel system should be emptied before storage of 30 days or longer. Drain the gas tank, start the engine and let it run until the fuel lines and carburetor are empty. Use fresh fuel next season. See Storage Instructions for additional information. Never use engine or carburetor cleaner products in the fuel tank or permanent damage may occur.
TO START ENGINE (See Fig. 8)

CAUTION: Keep drive control bar in "DISENGAGED" position when starting engine.
When starting engine for the first time or if engine has run out of fuel, it will take extra pulls of the recoil starter to move fuel from the tank to the engine.
- Make sure spark plug wire is properly connected.
- Move shift lever indicator to "N" (neutral) position.
- Place throttle control in "FAST" position.
- Move choke control to choke position.
- Grasp recoil starter handle with one hand and grasp tiller handle with other hand. Pull rope out slowly until engine reaches start of compression cycle (rope will pull slightly harder at this point).
Pull recoil starter handle quickly. Do not let starter handle snap back against starter.
If engine fires but does not start, move choke control to half choke position. Pull recoil starter handle until engine starts. - When engine starts, slowly move choke control to "RUN" position as engine warms up.
NOTE: A warm engine requires less choking to start.
- Move throttle control to desired running position.
- Allow engine to warm up for a few minutes before engaging tines.
OPERATION
NOTE: If at a high altitude (3000 feet) or in cold temperatures (below 32^ ), the carburetor fuel mixture may need to be adjusted for best engine performance. See "TO ADJUST CARBURETOR" in the Service and Adjustments section of this manual.
NOTE: If engine does not start, see troubleshooting points.

FIG. 8
Break-in your belt(s), pulleys and tine control before you actually begin tilling.
- Start engine, tip tines off ground by pressing handles down and engage tire control to start tire rotation. Allow tines to rotate for five minutes.
- Check tine operation and adjust if necessary. See "TINE OPERATION CHECK" in the Service and Adjustments section of this manual.
TILLING HINTS

CAUTION: Until you are accustomed to handling your tiller, start actual field use with throttle in slow position.
To help tiller move forward, lift up the handles slightly (thus lifting depth stake out of ground). To slow down the tiller, press down on handles.
If you are straining or tiller is shaking, the wheels and depth stake are not set properly in the soil being tilled. The proper setting of the wheels and depth stake is through trial and error and depends upon the soil condition. (The harder or wetter the ground, the slower the engine and tire speed needed. Under these poor conditions, at fast speed the tiller will run and jump over the ground).
A properly adjusted tiller will dig with little effort from the operator.
-
Tilling is digging into, turning over, and breaking up packed soil before planting. Loose, unpacked soil helps root growth. Best tilling depth is 4^ - 6^ . A tiller will also clear the soil of unwanted vegetation. The decomposition of this vegetable matter enriches the soil. Depending on the climate (rainfall and wind), it may be advisable to till the soil at the end of the growing season to further condition the soil.
-
Soil conditions are important for proper tilling. Tines will not readily penetrate dry, hard soil which may contribute to excessive bounce and difficult handling of your tiller. Hard soil should be moistened before tilling; however, extremely wet soil will "ball-up" or clump during tilling. Wait until the soil is less wet in order to achieve the best results. When tilling in the fall, remove vines and long grass to prevent them from wrapping around the tine shaft and slowing your tilling operation.
- You will find tilling much easier if you leave a row untiltied between passes. Then go back between tilled rows. (See Fig. 9) There are two reasons for doing this. First, wide turns are much easier to negotiate than about-faces. Second, the tiller won't be pulling itself, and you, toward the row next to it.
- Set depth stake and wheel height for shallow tilling when working extremely hard soil or sod. Then work across the first cuts at normal depth.

FIG. 9
CULTIVATING
Cultivating is destroying the weeds between rows to prevent them from robbing nourishment and moisture from the plants. At the same time, breaking up the upper layer of soil crust will help retain moisture in the soil. Best digging depth is 1^ - 3^ .
- You will probably not need to use the depth stake. Begin by tipping the depth stake forward until it is held by the stake spring.
- Cultivate up and down the rows at a speed which will allow tines to uproot weeds and leave the ground in rough condition, promoting no further growth of weeds and grass (See Fig. 10).

FIG. 10
MAINTENANCE
| MAINTENANCE SCHEDULE FILL IN DATES AS YOU COMPLETE REGULAR SERVICE | BEFORE EACH USE EVERY 5 HOURS EVERY 25 HOURS EVERY 50 HOURS SERVICE DATES | ||||||||||||
| Check Engine Oil Level | ✓ | ✓ | |||||||||||
| Change Engine Oil | ✓1,2 | ||||||||||||
| Oil Pivot Points | ✓ | ||||||||||||
| Inspect Spark Arrester / Muffler | ✓ | ||||||||||||
| Inspect Air Screen | ✓ | ||||||||||||
| Clean or Replace Air Cleaner Cartridge | ✓2 | ||||||||||||
| Clean Engine Cylinder Fins | ✓ | ||||||||||||
| Replace Spark Plug | ✓ | ||||||||||||
1 - Change more often when operating under a heavy load or in high ambient temperatures.
2 - Service more often when operating in dirty or dusty conditions.
GENERAL RECOMMENDATIONS
The warranty on this tiller does not cover items that have been subjected to operator abuse or negligence. To receive full value from the warranty, the operator must maintain tiller as instructed in this manual.
Some adjustments will need to be made periodically to properly maintain your tiller.
At least once a season, check to see if you should make any of the adjustments described in the Service and Adjustments section of this manual.
- Once a year you should replace the spark plug, clean or replace air filter, and check tines and belts for wear. A new spark plug and clean air filter assure proper air-fuel mixture and help your engine run better and last longer.
BEFORE EACH USE
- Check engine oil level.
Check tine operation. - Check for loose fasteners.
LUBRICATION
Keep unit well lubricated (See "LUBRICATION CHART").
LUBRICATION CHART

① SAE 30 OR 10W-30 MOTOR OIL
②REFER TO MAINTENANCE “ENGINE” SECTION
MAINTENANCE

Disconnect spark plug wire before performing any maintenance (except carburetor adjustment) to prevent accidental starting of engine.
Prevent fires! Keep the engine free of grass, leaves, spilled oil, or fuel. Remove fuel from tank before tipping unit for maintenance. Clean muffler area of all grass, dirt, and debris.
Do not touch hot muffler or cylinder fins as contact may cause burns.
ENGINE
LUBRICATION
Use only high quality detergent oil rated with API service classification SG-SL. Select the oil's SAE viscosity grade according to your expected temperature.

FIG. 11
NOTE: Although multi-viscosity oils (5W-30, 10W-30, etc.) improve starting in cold weather, these multi viscosity oils will result in increased oil consumption when used above 32^ (0^) . Check your engine oil level more frequently to avoid possible engine damage from running low on oil.
Change the oil after every 25 hours of operation or at least once a year if the tiller is not used for 25 hours in one year.
Check the crankcase oil level before starting the engine and after each five (5) hours of continuous use. Add SAE 30 motor oil or equivalent. Tighten oil filler plug securely each time you check the oil level.
TO CHANGE ENGINE OIL (See Figs. 11 and 12)
Determine temperature range expected before oil change. All oil must meet API service classification SG-SL.
- Be sure tiller is on level surface.
Oil will drain more freely when warm.
Catch oil in a suitable container. - Remove drain plug.
Tip tiller forward to drain oil.
After oil has drained completely, replace oil drain plug and tighten securely. - Remove oil filler plug. Be careful not to allow dirt to enter the engine.
- Refill engine with oil. See "CHECKENGINE OIL LEVEL" in the Operation section of this manual.

FIG. 12
AIR CLEANER (See Fig. 13)
Service air cleaner cartridge every twenty-five hours, more often if engine is used in very dusty conditions.
- Loosen air cleaner screws, one on each side of cover.
- Remove air cleaner cover.
- Carefully remove air cleaner cartridge. Be careful. Do not allow dirt or debris to fall into carburetor.
- Clean by tapping gently on a flat surface.
If very dirty or damaged, replace cartridge.
Clean and replace cover. Tighten screws securely.

CAUTION: Petroleum solvents, such as kerosene, are not to be used to clean cartridge. They may cause deterioration of the cartridge. Do not oil cartridge. Do not use pressurized air to clean or dry cartridge.

FIG. 13
COOLING SYSTEM (See Fig. 14)
Your engine is air cooled. For proper engine performance and long life keep your engine clean.
- Clean air screen frequently using a stiff-bristled-brush.
- Remove blower housing and clean as necessary.
- Keep cylinder fins free of dirt and chaff.

FIG. 14
MAINTENANCE
MUFFLER
Do not operate tiller without muffler. Do not tamper with exhaust system. Damaged mufflers or spark arresters could create a fire hazard. Inspect periodically and replace if necessary. If your engine is equipped with a spark arrester screen assembly, remove every 50 hours for cleaning and inspection. Replace if damaged.
SPARK PLUG
Replace spark plugs at the beginning of each tilling season or after every 50 hours of use, whichever comes first. Spark plug type and gap setting are shown in "PRODUCT SPECIFICATIONS" on page 3 of this manual.
TRANSMISSION
Your transmission is sealed and will not require lubrication unless serviced.
CLEANING
Do not clean your tiller when the engine and transmission are hot. We do not recommend using pressurized water (garden hose, etc.) to clean your unit unless the gasket area around the transmission and the engine muffler, air filter and carburetor are covered to keep water out. Water in engine will shorten the useful life of your tiller.
- Clean engine, wheels, finish, etc. of all foreign matter.
- Keep finished surfaces and wheels free of all gasoline, oil, etc.
- Protect painted surfaces with automotive type wax.
SERVICE AND ADJUSTMENTS

CAUTION: Disconnect spark plug wire from spark plug and place wire where it cannot come into contact with plug.
TILLER
TO ADJUST HANDLE HEIGHT (See Fig. 15)
Factory assembly has provided lowest handle height. Select handle height best suited for your tilling conditions. Handle height will be different when tiller digs into soil.
- If a higher handle height is desired, loosen the four nuts securing handle panel to engine brackets.
- Slide handle panel to desired location.
- Tighten the four nuts securely.

FIG. 15
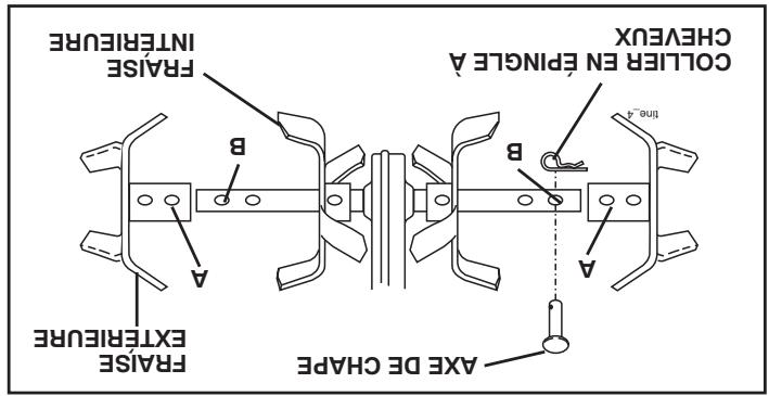
TINE ARRANGEMENT
Your outer tines can be assembled in several different ways to suit your tilling or cultivating needs.

CAUTION: Tines are sharp. Wear gloves or other protection when handling tines.
NORMAL TILLING - 26" PATH (See Fig. 16)
- Assemble holes "A" in tine hubs to holes "B" in tine shaft.

FIG. 16
MID-WIDTH TILLING - 24" PATH (See Fig. 17)
- Assemble holes "A" in tine hubs to holes "C" in tine shaft.

FIG. 17
SERVICE AND ADJUSTMENTS
NARROW TILLING/CULTIVATING - 12-3/4" PATH (See Fig. 18)
- Remove outer tines.

FIG. 18
NOTE: When reassembling outer tines, be sure right tine assembly (marked “R”) and left tine assembly (marked “L”) are mounted to correct side of tine shaft.
TINE OPERATION CHECK (See Fig. 19)

WARNING: Disconnect spark plug wire from spark plug to prevent starting while checking tire operation.
For propertine operation, forward tine control lever must be against control body and all slack removed from inner wire of control cable when control is in the "OFF" (up) position. If lever and cable are loose, loosen cable clip at lower end of cable. Pull up on cable to remove slack, without extending spring on end of cable, and retighten cable clip.
FINAL CHECK "OFF" POSITION
- With tine control "OFF" (up), push down on handle to raise tines off the ground.
- Slowly pull recoil starter handle while observing tines. Tines should not rotate.
- If tines rotate, inner wire of control cable is too tight which is extending lower spring and engaging tines. Loosen cable clip and push down on cable only enough to relieve spring tension. Tighten cable clip.
- Recheck in "OFF" position and adjust if necessary.
FINAL CHECK "ON" POSITION
- With tine control "ON" (held down to handle) push down on handle to raise tines off the ground.
- Slowly pull recoil starter handle while observing tines. Tines should rotate forward.
- If tines do not rotate, inner wire of control cable is too loose. Loosen cable clip and pull cable up to remove slack and retighten clip.
- Recheck in "ON" position and adjust if necessary.
NOTE: If "ON" position check required adjustment, recheck "OFF" position adjustment to insure tines do not rotate when control is "OFF" (up).

FIG. 19
TO REMOVE BELT GUARD (See Fig. 20)
- Remove two (2) cap nuts and washers from side of belt guard.
- Loosen (do not remove) tine shield nut on underside of tine shield.
Pull belt guard out and away from unit. - Replace belt guard by reversing above procedure. Be sure slot in bottom of belt guard is under head of tine shield bolt and all nuts are tightened securely.

FIG. 20
TO REPLACE V-BELTS (See Figs. 21 and 22)
- Replace V-belts if they have stretched considerably or if they show cracks or frayed edges. There are two (2) V-belts - forward (inside) and reverse (outside).
Belt guard must be removed to service belts. See “TO REMOVE BELT GUARD” in this section of manual.
NOTE: Observe carefully routing of both belts and location of all belt guides before removing belts.
SERVICE AND ADJUSTMENTS

FIG. 21
BELT REMOVAL
- Remove reverse idler pulley from idler arm.
- Remove reverse (outside) V-belt.
- Remove forward (inside) V-belt from transmission pulley first and then from engine pulley.
BELT REPLACEMENT
- Install new forward (inside) V-belt to engine pulley first then to transmission pulley. Be sure belt is positioned on inside groove of both pulleys, inside all belt guides and rests on idler pulley.
Before installing reverse (outside) V-belt, turn belt "inside out". Twist so wide, flat surface of belt is to inside. - Wrap V-belt around reverse idler pulley and reassemble idler to idler arm. Tighten securely. Be sure belt is between reverse idler pulley and idler arm pin.
- Install belt to outside groove of transmission pulley. Be sure belt is inside all belt guides and rests on outside groove of engine pulley.
- See "TINE OPERATION CHECK" in this section of manual.
REPLACE BELT GUARD
ENGINE
TO ADJUST CARBURETOR
The carburetor has been preset at the factory and adjustment should not be necessary. However, engine performance can be affected by differences in fuel, temperature, altitude or load. If the carburetor does need adjustment, contact your nearest authorized service center/department
IMPORTANT: NEVERTAMPERWITHTHEENGINEGOVERNOR, WHICH IS FACTORY SET FOR PROPER ENGINE SPEED. OVERSPEEDING THE ENGINE ABOVE THE FACTORY HIGH SPEED SETTING CAN BE DANGEROUS. IF YOU THINK THE ENGINE-GOVERNED HIGH SPEED NEEDS ADJUSTING, CONTACT YOUR NEAREST AUTHORIZED SERVICE CENTER/ DEPARTMENT, WHICH HAS THE PROPER EQUIPMENT AND EXPERIENCE TO MAKE ANY NECESSARY ADJUSTMENTS.

FIG. 22
STORAGE
Immediately prepare your tiller for storage at the end of the season or if the unit will not be used for 30 days or more.

WARNING: Never store the tiller with gasoline in the tank inside a building where fumes may reach an open flame or spark. Allow the engine to cool before storing in any enclosure.
TILLER
- Clean entire tiller (See "CLEANING" in the Maintenance section of this manual).
- Inspect and replace belts, if necessary (See belt replacement instructions in the Service and Adjustments section of this manual).
- Lubricate as shown in the Maintenance section of this manual.
- Be sure that all nuts, bolts and screws are securely fastened. Inspect moving parts for damage, breakage and wear. Replace if necessary.
- Touch up all rusted or chipped paint surfaces; sand lightly before painting.
ENGINE
FUEL SYSTEM
IMPORTANT: IT IS IMPORTANT TO PREVENT GUM DEPOSITS FROM FORMING IN ESSENTIAL FUEL SYSTEM PARTS SUCH AS THE CARBURETOR, FUEL FILTER, FUEL HOSE, OR TANK DURING STORAGE. ALSO, EXPERIENCE INDICATES THAT ALCOHOL BLENDED FUELS (CALLLED GASOHOL OR USING ETHANOL OR METHANOL) CAN ATTRACT MOISTURE WHICH LEADSTO SEPARATION AND FORMATION OF ACIDS DURING STORAGE. ACIDIC GAS CAN DAMAGE THE FUEL SYSTEM OF AN ENGINE WHILE IN STORAGE.
- Empty the fuel tank by starting the engine and let it run until the fuel lines and carburetor are empty.
- Never use engine or carburetor cleaner products in the fuel tank or permanent.
Use fresh fuel next season.
NOTE: Fuel stabilizer is an acceptable alternative in minimizing the formation of fuel gum deposits during storage. Add stabilizer to gasoline in fuel tank or storage container. Always follow the mix ratio found on stabilizer container. Run engine at least 10 minutes after adding stabilizer to allow the stabilizer to reach the carburetor. Do not empty the gas tank and carburetor if using fuel stabilizer.
ENGINE OIL
Drain oil (with engine warm) and replace with clean oil. (See "ENGINE" in the Maintenance section of this manual).
CYLINDER(S)
- Remove spark plug.
- Pour 1 ounce (29 ml) of oil through spark plug hole into cylinder.
Pull starter handle slowly several times to distribute oil. - Replace with new spark plug.
OTHER
- Do not store gasoline from one season to another.
- Replace your gasoline can if your can starts to rust. Rust and/or dirt in your gasoline will cause problems.
If possible, store your unit indoors and cover it to give protection from dust and dirt. - Cover your unit with a suitable protective cover that does not retain moisture. Do not use plastic. Plastic cannot breathe which allows condensation to form and will cause your unit to rust.
IMPORTANT: NEVER COVER TILLER WHILE ENGINE AND EXHAUST AREAS ARE STILL WARM.
TROUBLESHOOTING POINTS
| PROBLEM | CAUSE | CORRECTION |
| Will not start | 1. Out of fuel. 2. Engine not "CHoked" properly. 3. Engine flooded. 4. Dirty air cleaner. 5. Water in fuel. 6. Clogged fuel tank. 7. Loose spark plug wire. 8. Bad spark plug or improper gap. 9. Carburetor out of adjustment. | 1. Fill fuel tank. 2. See "TO START ENGINE" in the Operation section. 3. Wait several minutes before attempting to start. 4. Clean or replace air cleaner cartridge. 5. Empty fuel tank and carburetor, and refill tank with fresh gasoline. 6. Remove fuel tank and clean. 7. Make sure spark plug wire is seated properly on plug. 8. Replace spark plug or adjust gap. 9. Make necessary adjustments. |
| Hard to start | 1. Throttle control not set properly. 2. Dirty air cleaner. 3. Bad spark plug or improper gap. 4. Stale or dirty fuel. 5. Loose spark plug wire. 6. Carburetor out of adjustment. | 1. Place throttle control in "FAST" position. 2. Clean or replace air cleaner cartridge. 3. Replace spark plug or adjust gap. 4. Empty fuel tank and refill with fresh gasoline. 5. Make sure spark plug wire is seated properly on plug. 6. Make necessary adjustments. |
| Loss of power | 1. Engine is overloaded. 2. Dirty air cleaner. 3. Low oil level/dirty oil. 4. Faulty spark plug. 5. Oil in fuel. 6. Stale or dirty fuel. 7. Water in fuel. 8. Clogged fuel tank. 9. Spark plug wire loose. 10. Dirty engine air screen. 11. Dirty/clogged muffler. 12. Carburetor out of adjustment. 13. Poor compression. | 1. Set depth stake and wheels for shallower tilling. 2. Clean or replace air cleaner cartridge. 3. Check oil level/change oil. 4. Clean and regap or change spark plug. 5. Empty and clean fuel tank and refill, and clean carburetor. 6. Empty fuel tank and refill with fresh gasoline. 7. Empty fuel tank and carburetor, and refill tank with fresh gasoline. 8. Remove fuel tank and clean. 9. Connect and tighten spark plug wire. 10. Clean engine air screen. 11. Clean/replace muffler. 12. Make necessary adjustments. 13. Contact an authorized service center/department. |
| Engine overheats | 1. Low oil level/dirty oil. 2. Dirty engine air screen. 3. Dirty engine. 4. Partially plugged muffler. 5. Improper carburetor adjustment. | 1. Check oil level/change oil. 2. Clean engine air screen. 3. Clean cylinder fins, air screen, muffler area. 4. Remove and clean muffler. 5. Adjust carburetor to richer position. |
| Excessive bounce/ difficult handling | 1. Ground too dry and hard. 2. Wheels and depth stake incorrectly adjusted. | 1. Moisten ground or wait for more favorable soil conditions. 2. Adjust wheels and depth stake. |
| Soil balls up or clumps | 1. Ground too wet. | 1. Wait for more favorable soil conditions. |
| Engine runs but tiller won't move | 1. Tine control is not engaged. 2. V-belt not correctly adjusted. 3. V-belt is off pulley(s). | 1. Engage tine control. 2. Inspect/adjust V-belt. 3. Inspect V-belt. |
| Engine runs but labors when tilling | 1. Tilling too deep. 2. Throttle control not properly adjusted. 3. Carburetor out of adjustment. | 1. Set depth stake for shallower tilling. 2. Check throttle control setting. 3. Make necessary adjustments. |
LIMITED WARRANTY
The Manufacturer warrants to the original consumer purchaser that this product as manufactured is free from defects in materials and workmanship. For a period of two (2) years from date of purchase by the original consumer purchaser, we will repair or replace, at our option, without charge for parts or labor incurred in replacing parts, any part which we find to be defective due to materials or workmanship. This Warranty is subject to the following limitations and exclusions.
- This warranty does not apply to the engine or components parts thereof. Please refer to the applicable manufacturer's warranty on these items.
- Transportation charges for the movement of any power equipment unit or attachment are the responsibility of the purchaser. Transportation charges for any parts submitted for replacement under this warranty must be paid by the purchaser unless such return is requested by the manufacturer.
- The Warranty period for any products used for rental or commercial purposes is limited to 90 days from the date of original purchase.
- This Warranty applies only to products which have been properly assembled, adjusted, operated, and maintained in accordance with the instructions furnished. This Warranty does not apply to any product which has been subjected to alteration, misuse, abuse, improper assembly or installation, delivery damage, or to normal wear of the product.
- Exclusions: Excluded from this Warranty are belts, tines, tire adapters, normal wear, normal adjustments, standard hardware and normal maintenance.
- In the event you have a claim under this Warranty, you must return the product to an authorized service dealer.
Should you have any unanswered questions concerning this Warranty, please contact:
Poulan Pro
Customer Service Dept.
1030 Stevens Creek Road
Augusta, GA 30907 USA
In Canada contact:
Poulan Pro
7075 Ordan Drive
Mississauga, Ontario
L5T1K6
giving the model number, serial number and date of purchase of your product and the name and address of the authorized dealer from whom it was purchased.
THIS WARRANTY DOES NOT APPLY TO INCIDENTAL OR CONSEQUENTIAL DAMAGES AND ANY IMPLIED WARRANTY ARE LIMITED TO THE SAME TIME PERIODS STATED HEREIN FOR OUR EXPRESSED WARRANTY. Some areas do not allow the limitation of consequential damages or limitations of how long an implied Warranty may last, so the above limitations or exclusions may not apply to you. This Warranty gives you specific legal rights, and you may have other rights which vary from locale to locale.
This is a limited Warranty within the meaning of that term as defined in the Magnuson-Moss Act of 1975.
Poulan PRO
PARTS AND SERVICE
This product has been expertly engineered and carefully manufactured to rigid quality standards. As with all mechanical products, some adjustments or part replacement may be necessary during the life of your unit.
For Parts and service, contact our authorized distributor: call 1-800-849-1297
- For replacement parts, have available the following information:
a. Model Number/Manufacturer's I.D. Number
b. Description of part.
For Technical Assistance: call 1-800-829-5886
For a Parts Manual, go to our website: www.poulan-pro.com/support.asp
NOTE:
HOP provides parts and service through its authorized distributors and dealers; therefore, all requests for parts and service should be directed to your local dealer(s). The philosophy of HOP is to continually improve all of its products. If the operating characteristics or the appearance of your product differs from those described in this Manual, please contact your local dealer for updated information and assistance.
SNSNNSNNSNNSNNSNNSNNSNNSNNSNNSNNSNNSNNSNNSNNSNNSNNSNNSNNSNNSNNSNNSNNSNNSNNSNNSNNSNNSNNSNNSNNSNNSNNSNNSNNSNNSNNSNNSNNSNNSNNSNNSNNSNNSNNSNNSNNSNNSNNSNNSNNS
eBewnIe,pEi6noepEeAnon eun rer zedoeaepeH eIinu,1enqnnpip
JnoD sioesnienep6eBawepepaegobd EeWwTezIe Ie
eepnloeeppeBawwnpeEeBawnIe,pEi6noq
EepeoeeppeP (oeo) 1 Wg2000 eneun zeRse
eBewnIe,pEi6noepEeZeAeIe
(S)
NOI⊥LNNWITVA,DAEHNLS
#

LNVAVHREHWEDE
(ENNEI)N NNNN NNNN NNNN NNNN NNNN NNNN NNNN NNNN NNNN NNNN NNNN NNNN NNNN NNNN NNNN NNNN NNNN NNNN NNNN NNNN NNNN NNNN NNNN NNNN NNNN NNNN NNNN NNNN NNNN NNNN NNNN NNNN NNNN NNN
Rnrrnnnne nnnnne nnnnne nnnnne nnnnne nnnnne nnnnne nnnnne nnnnne nnnnne nnnnne nnnnne nnnnne nnnnne nnnnne nnnnne nnnnne nnnnne nnnnne nnnnne nnnnne nnnnne nnnnne nnnnne nnnnne nnnnne
oeepnnoepeeepeepnnepepepepepepepepepepepepepepepepepepepepepepepepepepepepepepepepepepepepepepepepepepepepepepepepepepepepepepepepepepepepepepepepepepepepepepepepepepepepepepepepepepepepepepepepepepepepepepepepepepepe pe
neppeeppeeppeeppeeppeeppeeppeeppeeppeeppeeppeeppeeppeeppeeppeeppeeppeeppeeppeeppeeppeeppeeppe
einnnne nnnnne nnnnne nnnnne nnnnne nnnnne nnnnne nnnnne nnnnne nnnnne nnnnne nnnnne nnnnne nnnnne nnnnne nnnnne nnnnne nnnnne nnnnne nnnnne nnnnne nnnnne nnnnne nnnnne nnnnne nnnnne nennnne nnnnne nnnnne nnnnne nnnnne nnnnne nnnnne nnnnne nnnnne nnnnne nnnnne nnnnne nnnnne nnnnne nnnnne nnnnne nnnnne nnnnne nnnnne nnnnne nnnnne nnnnne nnnnne nnnnne nnnnne nannnee
RENEE
nne nne nee nee eep
e) eereerreee eep eepoeepoeepoeepoeepoeepoeepoeepoeepoeepoeepoeepoeepoeepoeepoeepoeepoeepoeepoeepoeepoeepoeepoeepoeepoeepoeepoeepoeepoeepoeepoeepoeepoeepoeepoe
nepaeepeep6 np
"W, NOIISOD - NOIILREER
A
ouuusod u) aessssaaeau is zolbea e ae oocoeae
eepnnepepepepepepepepepepepepepepepepepepepepepepepepepepepepepepepepepepepepepepepepepepepepepepepepepepepepepepepepepepepepepepepepepepepepepepepepepepepepepepepepepepepepepepepepepepepepepepepepe pe
m = 311
.
D
一
1
1
1
1
1
1
1
1
1
1
1
1
1
1
1
1
1
1
1
1
1
1
1
1
1
1
.
3
7
.
.
.
.
1
-
.
.
.
os np ses
LAR, NOIISOD - NIOIAYAENRIN
eepnnepeepnneepnneepnneepnneepnneepnneepnneepnneepnneepnneepnneepnneepnneepnneepnneepnneepnneepnneepnneepnneepnneepnneepnneepnneepnneepnneepnneepnneepnneepnneepnneepnneepnneepnne
spsepnssnn.
epnne n enpnd aenee nee eae
en noed ane ane p 6nq np
nsnoe nee eee

(6L·6H)
SDE NOI↓VAsIITNNE NOI↓VArH
DNEHNNEHNNNNEENNNNEE
19

eeppeeppeeppeeppeeppeeppeeppeeppeeppeeppeeppeeppeeppeeppeeppeeppeeppeeppeeppeeppeeppeeppeeppeeppeeppeeppeeppeeppeeppeeppeeppeeppeeppeeppeeppeeppeeppeeppe
'sees xne zonot snon puenb sonee oed sane,p no sae6 sep zaoepd 'sessneneoennss

eepnneepnneepnneepnneepnneepnneepnneepnneepnneepnneepnneepnneepnneepnneepnneepnneepnneepnneepnneepnneepnneepnneepnneepnneepnneepnneepnneepnneepnneepnneepnneep
SSESS

H
snoroe enenb e zeraes
eeppeeppepepepepepepepepepepepepepepepepepepepepepepepepepepepepepepepepepepepepepepepepepepepepepepepepepepepepepepepepepepepepepepepepepepepepepepepepepepepepepepepepepepepepepepepepepepepepepepepepe pe
NOISSINSN
eep eepeseppeeppeeppeeppeeppeeppeeppeeppeeppeeppeeppeeppeeppeeppeeppeeppeeppeeppeeppeeppe
seepesllod
eessrnnppeepiepeeeennnne
e d
Pnne nnnnne nee nnnnne nnnnne nnnnne nnnnne nnnnne nnnnne nnnnne nnnnne nnnnne nnnnne nnnnne nnnnne nnnnne nnnnne nnnnne nnnnne nnnnne nnnnne nnnnne nnnnne nnnnne nnnnne nnnnne nnnnne nnnnne nnnnnee nnnnne nnnnne nnnnne nnnnne nnnnne nnnnne nnnnne nnnnne nnnnne nnnnne nnnnne nnnnne nnnnne nnnnne nnnnne nnnnne nnnnne nnnnne nnnnne nnnnne nnnnne nennne
(6.6.10)
LNEENNNNNEENNNNEENNNNEEN

H
eonone
'ps!ppepepepepepepepepepepepepepepepepepepepepepepepepepepepepepepepepepepepepepepepepepepepepepepepepepepepepepepepepepepepepepepepepepepepepepepepepepepepepepepepepepepepepepepepepepepepepepepepepe pe
HONNNNNEHNNEENNNNNNNNNNNNNNNNNNNNNNNNNNNNNNNNNNNNNNNNNNNNNNNNNNNNNNNNNNNNNNNNNNNNNNNNNNNNNNNNNNNNNNNNNNNNNNNNNNNNNNNNNNNNNNNNNNNNNNNNNNNNNNN

NOILOILOILOILOILOILOILOILOILOILOILOILOILOILOILOILOILOILOILOILOILOILOILOILOILOILOILOILOILOILOILOILOILOILOILOILOILOILOILOILOILOILOILOILOILOILOILOILOILOILO
Nnnnnnnnnnnnnnnnnnnnnnnnnnnnnnnnnnnnnnnnnnnnnnnnnnnnnnnnnnnnnnnnnnnnnnnnnnnnnnnnnnnnnnnnnnnnnnnnnnnnnnnnnnnnnnnnnn
NOI⊥VHREB
nennnnnne nnnnne nnnnne nnnnne nnnnne nnnnne nnnnne nnnnne nnnnne nnnnne nnnnne nnnnne nnnnne nnnnne nnnnne nnnnne nnnnne nnnnne nnnnne nnnnne nnnnne nnnnne nnnnne nnnnne nnnnne nnnnne
esssseepnneennnnnnnnnnnnn n
nne nnnn nn nnnn nnnn nnnn
NOI⊥∀SITILN ∃HONVANV
e e e
| A | eBeebeep, p, eBeebeep, eBeebeep, eBeebeep, eBeebeep, eBeebeep, eBeebeep, eBeebeep, eBeebeep, eBeebeep, eBeebeep, eBeebeep, eBeebeep, eBeebeep, eBeebeep, eBeebeep, eBeebeep, eBeebeep, eBEE | |||||||||||||||||||||||||||||||||||||||||||||||||||||||||||||||||||||||||||||||||||||||||||||||||||||||||||||||||
| A | Jnneon nnp nepepepepepepepepepepepepepepepepepepepepepepepepepepepepepepepepepepepepepepepepepepepepepepepepepepepepepepepepepepepepepepepepepepepepepepepepepepepepepepepepepepepepepepepepepepepepepepepepepepepepe pepepepepepepepepepepepepepepepepepepepepepepepepepepepepepepepepepepepepepepepepepepepepepepepepepepepepepepepepepepepepepepepepepepepepepepepepepepepepepepepepepepepepepepepepepepepepepepepepepepepeopepepepepepepepepepepepepepepepepepepepepepepepepepepepepepepepepepepepepepepepepepepepepepepepepepepepepepepepepepepepepepepepepepepepepepepepepepepepepepepepepepepepepepepepepepepepepepepepepepepepeperpepepepepepepepepepepepepepepepepepepepepepepepepepepepepepepepepepepepepepepepepepepepepepepepepepepepepepepepepepepepepepepepepepepepepepepepepepepepepepepepepepepepepepepepepepepepepepepepepepepeapepepepepepepepepepepepepepepepepepepepepepepepepepepepepepepepepepepepepepepepepepepepepepepepepepepepepepepepepepepepepepepepepepepepepepepepepepepepepepepepepepepepepepepepepepepepepepepepepepepepe-pepepepepepepepepepepepepepepepepepepepepepepepepepepepepepepepepepepepepepepepepepepepepepepepepepepepepepepepepepepepepepepepepepepepepepepepepepepepepepepepepepepepepepepepepepepepepepepepepepepepePEPEPEPEPEPEPEPEPEPEPEPEPEPEPEPEPEPEPEPEPEPEPEPEPEPEPEPEPEPEPEPEPEPEPEPEPEPEPEPEPEPEPEPEPEPEPEPEPEPEPEPEPEPEPEPEPEPEPEPEPEPEPEPEPEPEPEPEPEPEPEPEPEPEPEPEPEPEPEPEPEPEPEPEPEPEPEPEPEPEPEPEPEPEPEPEPEPEPEPE PEPEPEPEPEPEPEPEPEPEPEPEPEPEPEPEPEPEPEPEPEPEPEPEPEPEPEPEPEPEPEPEPEPEPEPEPEPEPEPEPEPEPEPEPEPEPEPEPEPEPEPEPEPEPEPEPEPEPEPEPEPEPEPEPEPEPEPEPEPEPEPEPEPEPEPEPEPEPEPEPEPEPEPEPEPEPEPEPEPEPEPEPEPEPEPEPEPEPEPEPPEPEPEPEPEPEPEPEPEPEPEPEPEPEPEPEPEPEPEPEPEPEPEPEPEPEPEPEPEPEPEPEPEPEPEPEPEPEPEPEPEPEPEPEPEPEPEPEPEPEPEPEPEPEPEPEPEPEPEPEPEPEPEPEPEPEPEPEPEPEPEPEPEPEPEPEPEPEPEPEPEPEPEPEPEPEPEPEPEPEPEPEPEPEPEPEPEPEPEPAPEPAPEPAPEPAPEPAPEPAPEPAPEPAPEPAPEPAPEPAPEPAPEPAPEPAPEPAPEPAPEPAPEPAPEPAPEPAPEPAPEPAPEPAPEPAPEPAPEPAPEPAPEPAPEPAPEPAPEPAPEPAPEPAPEPAPEPAPEPAPEPAPEPAPEPAPEPAPEPAPEPAPEPAPEPAPEPAPEPAPEPAPEPAPEPAPEPAPE PAPEPAPEPAPEPAPEPAPEPAPEPAPEPAPEPAPEPAPEPAPEPAPEPAPEPAPEPAPEPAPEPAPEPAPEPAPEPAPEPAPEPAPEPAPEPAPEPAPEPAPEPAPEPAPEPAPEPAPEPAPEPAPEPAPEPAPEPAPEPAPEPAPEPAPEPAPEPAPEPAPEPAPEPAPEPAPEPAPEPAPEPAPEPAPEPAPEPAPEBAPEPAPEPAPEPAPEPAPEPAPEPAPEPAPEPAPEPAPEPAPEPAPEPAPEPAPEPAPEPAPEPAPEPAPEPAPEPAPEPAPEPAPEPAPEPAPEPAPEPAPEPAPEPAPEPAPEPAPEPAPEPAPEPAPEPAPEPAPEPAPEPAPEPAPEPAPEPAPEPAPEPAPEPAPEPAPEPAPEPAPEPAPEPAPEPAPEPAPEPAAPEPAPEPAPEPAPEPAPEPAPEPAPEPAPEPAPEPAPEPAPEPAPEPAPEPAPEPAPEPAPEPAPEPAPEPAPEPAPEPAPEPAPEPAPEPAPEPAPEPAPEPAPEPAPEPAPEPAPEPAPEPAPEPAPEPAPEPAPEPAPEPAPEPAPEPAPEPAPEPAPEPAPEPAPEPAPEPAPEPAPEPAPEPAPEPAPEPAPEPPAAPEPAPEPAPEPAPEPAPEPAPEPAPEPAPEPAPEPAPEPAPEPAPEPAPEPAPEPAPEPAPEPAPEPAPEPAPEPAPEPAPEPAPEPAPEPAPEPAPEPAPEPAPEPAPEPAPEPAPEPAPEPAPEPAPEPAPEPAPEPAPEPAPEPAPEPAPEPAPEPAPEPAPEPAPEPAPEPAPEPAPEPAPEPAPEPAPEPADEPADEPADEPADEPADEPADEPADEPADEPADEPADEPADEPADEPADEPADEPADEPADEPADEPADEPADEPADEPADEPADEPADEPADEPADEPADEPADEPADEPADEPADEPADEPADEPADEPADEPADEPADEPADEPADEPADEPADEPADEPADEPADEPADEPADEPADEPADEPADEPADEPADEPA DEPADEPADEPADEPADEPADEPADEPADEPADEPADEPADEPADEPADEPADEPADEPADEPADEPADEPADEPADEPADEPADEPADEPADEPADEPADEPADEPADEPADEPADEPADEPADEPADEPADEPADEPADEPADEPADEPADEPADEPADEPADEPADEPADEPADEPADEPADEPADEPADEPADEPA | |||||||||||||||||||||||||||||||||||||||||||||||||||||||||||||||||||||||||||||||||||||||||||||||||||||||||||||||||

10
eBneF eepnssnnn ennnn nnnn nn nnnn nnnn nnnn nnnn nnnn nnnn nnnn nnnn nnnn nnnn nnnn nnnn nnnn nnnn nnnn nnnn nnnn nnnn nnnn nnnn nnnn nnnn nnnn nnnn nnnn nnnn nnnn nnnn nnnn nnnn nnnn nnnn nnnn nnnn
(uno g'∠∈g'z)
eeppeeppeeppeeppeeppeeppeeppeeppeeppeeppeeppeeppeeppeeppeeppeeppeeppeeppeeppeeppeeppeeppeeppeeppeeppeeppe
enennnne
eepsepepepepepepepepepepepepepepepepepepepepepepepepepepepepepepepepepepepepepepepepepepepepepepepepepepepepepepepepepepepepepepepepepepepepepepepepepepepepepepepepepepepepepepe pe
eseses
eess
eep
Prrnne
nueeaeeneepnneepnneepnneepnneepnneepnneepnneepnneepnneepnneepnneepnneepnneepnneepnneepnneepnneepnneepnneepnneepnneepnneepnneepnneepnneepnneep
eenees
nne nnnnne nnnnne nnnnne nnnnne nnnnne nnnnne nnnnne nnnnne nnnnne nnnnne nnnnne nnnnne nnnnne nnnnne nnnnne nnnnne nnnnne nnnnne nnnnne nnnnne nnnnne nnnnne nnnnne nnnnne nnnnne nannnee
HnHnHnHnHnHnHnHnHnHnHnHnHnHnHnHnHnHnHnHnHnHnHnHnHnHnHnHnHnHnHnHnHnHnHnHnHnHnHnHnHnHnHnHnHnHnHnHnHnHnH
SRESRNSNRSNRSNRSNRSNRSNRSNRSNRSNRSNRSNRSNRSNRSNRSNRSNRSNRSNRSNRSNRSNRSNRSNRSNRSNRSNRSNRSNRSNRSNRSNRSNRSNRSNRSNRSNRSNRSNRSNRSNRSNRSNRSNRSNRSNRSNRSNRSNRSNRSNRSN
A
e nnnn ennnnne nnnnne nnnnne nnnnne nnnnne nnnnne nnnnne nnnnne nnnnne nnnnne nnnnne nnnnne nnnnne nnnnne nnnnne nnnnne nnnnne nnnnne nnnnne nnnnne nnnnne nnnnne nnnnne nnnnne nnnnne nnnnne
eesssepeeseezep
eBnwnnpebnnoeppe 1zoeae
3771N3
e e nbnnsnneanen no zessno . . . np sssrse rse enesnnsnnsnssnssnssnssnssnssnssnssnssnssnssnssnssnssnssnssnssnssnssnssnssnssnssnssnssnssnssnssnssnss
eBnepnossesreerennnnnne nne nne nne nne nne nne nne nne nne nne nne nne nne nne nne nne nne nne nne nne nne nne nne nne nne nne nne nne nne nne nne nne nne nne nne nne nne nne nne nne nne nne nne nne nne nne nne nne nne nne
HNOVA7SNDA
eeppeeppeeppeeppeeppeeppeeppeeppeeppeeppeeppeeppeeppeeppeeppeeppeeppeeppeeppeeppeeppeeppeeppeeppeeppeeppeeppeeppeeppeeppeeppeeppeeppeeppeeppeeppeeppeeppeeppeeppeeppeeppeeppe
(9-6 180)
eONNNEONNNNNNNNNNNNNNNNNNNNNNN
ESESESESESESESESESESESESESESE
(enee eepeseppeeppeeppeeppeeppeeppeeppeeppeeppeeppeeppeeppeeppeeppeeppeeppeeppeeppeeppeeppeeppeeppeeppeeppeeppeeppeeppeeppeeppeeppeeppeeppeeppeeppeeppeeppe
ENNEH

E
eepnnoep zereessepseepneep
nne nne nee e nee nee nee nee nee nee nee nee nee nee nee nee nee nee nee nee nee nee nee nee nee nee nee nee nee nee nee nee nee nee nee nee nee nee nee nee nee nee nee nee nee nee nee nee nee nee nee nee nee nee neee
pnpn e sreanessepnssesepnneepn np snodns ep
A. no one 1
(661111)
eBesn nne neaeonC (L)
eennnnnne nnnnne eannne
suee eeeeee eeeeee eeeeee eeeeee eeeeee eeeeee eeeeee
EeONNNNNEENNNNNNNNNNNNN
4
91
G
S
2-01 W3IILREHN
0
6-9 NOI⊥AISII⊥
G
E
E
2
EVIWOS
SsEeNOIeSsVSNADnREeONNnREeRnREeRnREeRnREeRnREeRnREeRnREeRnREeRnREeRnREeRnREeRnREeRnREeRnREeRnREeRnREeRnREeRnREeRnREeRnREeRnREeRnREeRnREeRnREeRnREeRnREe
Rnrrnrnnnne nnnnne nnne nnnnne nnnnne nnnnne nnnnne nnnnne nnnnne nnnnne nnnnne nnnnne nnnnne nnnnne nnnnne nnnnne nnnnne nnnnne nnnnne nnnnne nnnnne nnnnne nnnnne nnnnne nnnnne nnnnne nnnnne nnnnne nnnnee nnnnne nnnnne nnnnne nnnnne nnnnne nnnnne nnnnne nnnnne nnnnne nnnnne nnnnne nnnnne nnnnne nnnnne nnnnne nnnnne nnnnne nnnnne nnnnne nnnnne nnnnne nnnnne nnnnne nnnnne nnnnnee nannnee
| (wnm 29'0/od 08'0: eer) | |
| CCHON | :eebeaeepe |
| (€.2ε/C.0 oep snnne e) 0ε-MS (€.2ε/C.0 oep snd e) 0εE/S | (79'0):zoeaeaeepeneeDeaece :(7S-5S-4V)aeaepepe |
| :eeessse,pe | |
| (ounen pss sues aeeses (ounen pss sues aeeses) | eepepepepepepepepepepepepepepepepepepepepepepepepepepepepepepepepepepepepepepepepepepepepepepepepepepepepepepepepepepepepepepepepepepepepepepepepepepepepepepepepepepepepepepepepepepepepepepepepepepepepe pepepepepepepepepepepepepepepepepepepepepepepepepepepepepepepepepepepepepepepepepepepepepepepepepepepepepepepepepepepepepepepepepepepepepepepepepepepepepepepepepepepepepepepepepepepepepepepepepepepepeper |
sno s eep no snae anne nsep nnnnne nnnn ne nne nne nne nne nne nne nne nne nne nne nne nne nne nne nne nne nne nne nne nne nne nne nne nne nne nne nne nne nne nne nne nne nne nne nne nne nne nne nne nne nne nne nne nne nne nne nne nne nne nne nnee

NENNESE

SNOILOHNLSNI.D NOILOCNEXETNO NIOILOVHGELENNI NOISNEHReWOW VNT RNS NOILONELAeV HREHIEAeV OEL
NNEHNNEENNEENNEENNEENNEENNEENNEENNEENNEENNEENNEENNEENNEENNEENNEENNEENNEENNEENNEENNE
-⊥N∀⊥HOpNI
Peppepepepepepepepepepepepepepepepepepepepepepepepepepepepepepepepepepepepepepepepepepepepepepepepepepepepepepepepepepepepepepepepepepepepepepepepepepepepepepepepepepepepepepepepe pe
Zesn snn enns nne nnnn eepnne nnnn nee
eepnne ees nene ene nee eee eee eee eee eee
eessnne eepnnnne nne ene nee eee
sennnne nnnnne nne nne nne nne nne nne nne
eae eae ee eee eee eee eee eee eee eee eee eee eee eee eee eee eee eee eee eee eee eee eee eee eee eee eee eee eee eee eee eee eee eee eee eee eee eee
xneaeepnssweweddepee6
seT Tneun Pnneauuuee eae ee eneepen
eeppeeppeeppeeppeeppeeppeeppeeppeeppeeppeeppeeppeeppeeppeeppeeppeeppeeppeeppeeppeeppeeppeeppeeppeeppeeppeeppeeppeeppeeppeeppeeppeeppeeppeeppeeppeeppeeppeeppe
EasyManual