PRO PP18542 - Brush cutter POULAN - Free user manual and instructions
Find the device manual for free PRO PP18542 POULAN in PDF.
Download the instructions for your Brush cutter in PDF format for free! Find your manual PRO PP18542 - POULAN and take your electronic device back in hand. On this page are published all the documents necessary for the use of your device. PRO PP18542 by POULAN.
USER MANUAL PRO PP18542 POULAN
Read this Manual and follow allWarnings and Safety Instructions. Failure to do so can result in serious injury.
ALWAYS WEAR EYE PROTECTION DURING OPERATION
Visit our website: www.poulan-pro.com
DANGER: THIS CUTTING MACHINE IS CAPABLE OF AMPUTATING HANDS AND FEET AND THROWING OBJECTS. FAILURE TO OBSERVE THE FOLLOWING SAFETY INSTRUCTIONS COULD RESULT IN SERIOUS INJURY OR DEATH.

WARNING: In order to prevent accidental starting when setting up, transporting, adjusting or making repairs, always disconnect spark plug wire and place wire where it cannot contact spark plug.

WARNING: Do not coast down a hill in neutral, you may lose control of the tractor.

WARNING: Tow only the attachments that are recommended by and comply with specifications of the manufacturer of your tractor. Use common sense when towing. Operate only at the lowest possible speed when on a slope. Too heavy of a load, while on a slope, is dangerous. Tires can lose traction with the ground and cause you to lose control of your tractor.

WARNING

Engine exhaust, some of its constituents, and certain vehicle components contain or emit chemicals known to the State of California to cause cancer and birth defects or other reproductive harm.

WARNING

Battery posts, terminals and related accessories contain lead and lead compounds, chemicals known to the State of California to cause cancer and birth defects or other reproductive harm. Wash hands after handling.
I. GENERAL OPERATION
- Read, understand, and follow all instructions on the machine and in the manual before starting.
- Do not put hands or feet near rotating parts or under the machine. Keep clear of the discharge opening at all times.
- Only allow responsible adults, who are familiar with the instructions, to operate the machine.
- Clear the area of objects such as rocks, toys, wire, etc., which could be picked up and thrown by the blades.
- Be sure the area is clear of bystanders before operating. Stop machine if anyone enters the area.
- Never carry passengers.
- Do not mow in reverse unless absolutely necessary. Always look down and behind before and while backing.
-
Never direct discharged material toward anyone. Avoid discharging material against a wall or obstruction. Material may ricochet back toward the operator. Stop the blades when crossing gravel surfaces.
-
Do not operate machine without the entire grass catcher, discharge guard, or other safety devices in place and working.
Slow down before turning. - Never leave a running machine unattended. Always turn off blades, set parking brake, stop engine, and remove keys before dismounting.
- Disengage blades when not mowing. Shut off engine and wait for all parts to come to a complete stop before cleaning the machine, removing the grass catcher, or unclogging the discharge guard.
- Operate machine only in daylight or good artificial light.
- Do not operate the machine while under the influence of alcohol or drugs.
- Watch for traffic when operating near or crossing roadways.
- Use extra care when loading or unloading the machine into a trailer or truck.
Always wear eye protection when operating machine. - Data indicates that operators, age 60 years and above, are involved in a large percentage of riding mower-related injuries. These operators should evaluate their ability to operate the riding mower safely enough to protect themselves and others from serious injury.
- Follow the manufacturer's recommendation for wheel weights or counterweights.
- Keep machine free of grass, leaves or other debris build-up which can touch hot exhaust / engine parts and burn. Do not allow the mower deck to plow leaves or other debris which can cause build-up to occur. Clean any oil or fuel spillage before operating or storing the machine. Allow machine to cool before storage.
II. SLOPE OPERATION
Slopes are a major factor related to loss of control and tip-over accidents, which can result in severe injury or death. Operation on all slopes requires extra caution. If you cannot back up the slope or if you feel uneasy on it, do not mow it.
Mow up and down slopes, not across.
- Watch for holes, ruts, bumps, rocks, or other hidden objects. Uneven terrain could overturn the machine. Tall grass can hide obstacles.
- Choose a low ground speed so that you will not have to stop or shift while on the slope.
- Do not mow on wet grass. Tires may lose traction. Always keep the machine in gear when going down slopes. Do not shift to neutral and coast downhill.
- Avoid starting, stopping, or turning on a slope. If the tires lose traction, disengage the blades and proceed slowly straight down the slope.
- Keep all movement on the slopes slow and gradual. Do not make sudden changes in speed or direction, which could cause the machine to roll over.
- Use extra care while operating machine with grass catchers or other attachments; they can affect the stability of the machine. Do no use on steep slopes.
- Do not try to stabilize the machine by putting your foot on the ground.
- Do not mow near drop-offs, ditches, or embankments. The machine could suddenly roll over if a wheel is over the edge or if the edge caves in.
III. CHILDREN
Tragic accidents can occur if the operator is not alert to the presence of children. Children are often attracted to the machine and the mowing activity. Never assume that children will remain where you last saw them.
- Keep children out of the mowing area and in the watchful care of a responsible adult other than the operator.
- Be alert and turn machine off if a child enters the area.
Before and while backing, look behind and down for small children. - Never carry children, even with the blades shut off. They may fall off and be seriously injured or interfere with safe machine operation. Children who have been given rides in the past may suddenly appear in the mowing area for another ride and be run over or backed over by the machine.
- Never allow children to operate the machine.
- Use extra care when approaching blind corners, shrubs, trees, or other objects that may block your view of a child.
IV. TOWING
- Tow only with a machine that has a hitch designed for towing. Do not attach towed equipment except at the hitch point.
- Follow the manufacturer's recommendation for weight limits for towed equipment and towing on slopes.
- Never allow children or others in or on towed equipment.
- On slopes, the weight of the towed equipment may cause loss of traction and loss of control.
Travel slowly and allow extra distance to stop.
V. SERVICE
SAFE HANDLING OF GASOLINE
To avoid personal injury or property damage, use extreme care in handling gasoline. Gasoline is extremely flammable and the vapors are explosive.
- Extinguish all cigarettes, cigars, pipes, and other sources of ignition.
Use only approved gasoline container. - Never remove gas cap or add fuel with the engine running. Allow engine to cool before refueling.
- Never fuel the machine indoors.
- Never store the machine or fuel container where there is an open flame, spark, or pilot light such as on a water heater or other appliances.
- Never fill containers inside a vehicle or on a truck or trailer bed with plastic liner. Always place containers on the ground away from your vehicle when filling.
- Remove gas-powered equipment from the truck or trailer and refuel it on the ground. If this is not possible, then refuel such equipment with a portable container, rather than from a gasoline dispenser nozzle.
- Keep the nozzle in contact with the rim of the fuel tank or container opening at all times until fueling is complete. Do not use a nozzle lock-open device.
If fuel is spilled on clothing, change clothing immediately. - Never overfill fuel tank. Replace gas cap and tighten securely.
GENERAL SERVICE
- Never operate machine in a closed area.
- Keep all nuts and bolts tight to be sure the equipment is in safe working condition.
- Never tamper with safety devices. Check their proper operation regularly.
- Keep machine free of grass, leaves, or other debris build-up. Clean oil or fuel spillage and remove any fuel-soaked debris. Allow machine to cool before storing.
If you strike a foreign object, stop and inspect the machine. Repair, if necessary, before restarting. - Never make any adjustments or repairs with the engine running.
- Check grass catcher components and the discharge guard frequently and replace with manufacturer's recommended parts, when necessary.
- Mower blades are sharp. Wrap the blade or wear gloves, and use extra caution when servicing them.
- Check brake operation frequently. Adjust and service as required.
- Maintain or replace safety and instruction labels, as necessary.





- Be sure the area is clear of bystanders before operating. Stop machine if anyone enters the area.
- Never carry passengers.
- Do not mow in reverse unless absolutely necessary. Always look down and behind before and while backing.
- Never carry children, even with the blades shut off. They may fall off and be seriously injured or interfere with safe machine operation. Children who have been given rides in the past may suddenly appear in the mowing area for another ride and be run over or backed over by the machine.
- Keep children out of the mowing area and in the watchful care of a responsible adult other than the operator.
- Be alert and turn machine off if a child enters the area.
- Before and while backing, look behind and down for small children.
Mow up and down slopes (15° Max), not across. - Choose a low ground speed so that you will not have to stop or shift while on the slope.
- Avoid starting, stopping, or turning on a slope. If the tires lose traction, disengage the blades and proceed slowly straight down the slope.
- If machine stops while going uphill, disengage blades, shift into reverse and back down slowly.
- Do not turn on slopes unless necessary, and then, turn slowly and gradually downhill, if possible.
PRODUCT SPECIFICATIONS
| Gasoline Capacity and Type: | 1.50 Gallons Unleaded Regular |
| Oil Type (API-SG-SL): | SAE 30 (above 32°F) SAE 5W-30 (below 32°F) |
| Oil Capacity: | W/Filter: 56 oz. W/O Filter: 48 oz. |
| Spark Plug: | Champion RC12YC (Gap: .030") |
| Ground Speed (MPH): | Forward: 1st 1.2 2nd 1.5 3rd 2.4 4th 3.5 5th 4.8 6th 5.3 |
| Reverse: | 1.5 |
| Charging System: | 3 Amps Battery 5 Amps Headlights |
| Battery: | AMP/HR: 28 Min. CCA: 230 Case Size: U1R |
| Blade Torque: | 45-55 FT. LBS. |
CONGRATULATIONS on your purchase of a new tractor. It has been designed, engineered and manufactured to give you the best possible dependability and performance.
Should you experience any problem you cannot easily remedy, please contact your nearest authorized service center/department. We have competent, well-trained technicians and the proper tools to service or repair this tractor.
Please read and retain this manual. The instructions will enable you to assemble and maintain your tractor properly. Always observe the "SAFETY RULES".
CUSTOMER RESPONSIBILITIES
- Read and observe the safety rules.
- Follow a regular schedule in maintaining, caring for and using your tractor.
- Follow the instructions under "Maintenance" and "Storage" sections of this manual.
WARNING: This tractor is equipped with an internal combustion engine and should not be used on or near any unimproved forest-covered, brush-covered or grass-covered land unless the engine's exhaust system is equipped with a spark arrester meeting applicable local or state laws (if any). If a spark arrester is used, it should be maintained in effective working order by the operator.
A spark arrester for the muffler is available through your nearest authorized service center/department.
In the state of California the above is required by law (Section 4442 of the California Public Resources Code). Other states may have similar laws. Federal laws apply on federal lands.
TABLE OF CONTENTS
SAFETY RULES 2-3
PRODUCT SPECIFICATIONS 4
CUSTOMER RESPONSIBILITIES 4
ASSEMBLY 6-8
OPERATION 9-14
MAINTENANCE SCHEDULE 15
MAINTENANCE 15-18
SERVICE AND ADJUSTMENTS 19-24
STORAGE 25
TROUBLESHOOTING 26-27
UNASSEMBLED PARTS

Steering Wheel
Steering Wheel Insert

Steering Wheel

Hex Bolt

Steering Wheel Adapter

Steering Extension Shaft

Steering Boot

Large Flat Washer

Lock Washer

Seat
Seat

Washer

Hex Bolt

Keys
Keys

(1) Oil Drain Tube For Future Use

Slope Sheet
Your new tractor has been assembled at the factory with exception of those parts left unassembled for shipping purposes. To ensure safe and proper operation of your tractor all parts and hardware you assemble must be tightened securely. Use the correct tools as necessary to insure proper tightness.
TOOLS REQUIRED FOR ASSEMBLY
A socket wrench set will make assembly easier. Standard wrench sizes are listed.
(1) 1 / 2'' wrench Utility knife
(2) 3/4" wrench Tire pressure gauge Pliers
When right or left hand is mentioned in this manual, it means when you are in the operating position (seated behind the steering wheel).
TO REMOVE TRACTOR FROM CARTON
UNPACK CARTON
- Remove all accessible loose parts and parts cartons from carton.
- Cut along dashed lines on all four panels of carton. Remove end panels and lay side panels flat.
- Check for any additional loose parts or cartons and remove.
BEFORE REMOVIDING TRACTOR FROM SKID
ATTACH STEERING WHEEL (See Fig. 1)
ASSEMBLE EXTENSION SHAFT AND BOOT
- Slide extension shaft onto lower steering shaft.
- Place tabs of steering boot over tab slots in dash and push down to secure.
INSTALL STEERING WHEEL
- Position front wheels of the tractor so they are pointing straight forward.
- Remove steering wheel adapter from steering wheel and slide adapter onto steering shaft extension.
- Position steering wheel so cross bars are horizontal (left to right) and slide inside boot and onto adapter.
- Assemble large flat washer, 5/16 lock washer, 5/16 hex bolt and tighten securely.
- Snap steering wheel insert into center of steering wheel.
- Remove protective materials from tractor hood and grill.
IMPORTANT: CHECK FOR AND REMOVE ANY STAPLES IN SKID THAT MAY PUNCTURE TIRES WHERE TRACTOR IS TO ROLL OFF SKID.

Fig. 1
INSTALL SEAT (See Figs. 2A and 2B)
- Remove bolt and flat washer securing seat to cardboard packing and set aside for assembly of seat to tractor. Remove the cardboard packing and discard.
- Connect switch to seat.
- Place seat on seat pan so all three (3) bottom pads are positioned over large slotted holes in pan.

Fig. 2A
- Push down on seat to engage pads in slots and pull seat towards rear of tractor.
- Raise seat and tighten bolt securely.
- Remove tape and discard.
- Lower seat into operating position and sit on seat. Press clutch/brake pedal all the way down. If operating position is not comfortable, adjust seat.
To adjust seat: Grasp adjustment handle and pull up, slide seat to desired position and release adjustment handle.

Fig. 2B
CHECK BATTERY (See Fig. 3)
- Lift seat pan to raised position.
- If this battery is put into service after month and year indicated on label (label located between terminals) charge battery for minimum of one hour at 6-10 amps. (See "BATTERY" in MAINTENANCE section of this manual for charging instructions).

Fig. 3
NOTE: You may now roll or drive your tractor off the skid. Follow the appropriate instruction below to remove the tractor from the skid.
WARNING: Before starting, read, understand and follow all instructions in the Operation section of this manual. Be sure tractor is in a well-ventilated area. Be sure the area in front of tractor is clear of other people and objects.
TO ROLL TRACTOR OFF SKID (See Operation section for location and function of controls)
- Press lift lever plunger and raise attachment lift lever to its highest position.
- Release parking brake by depressing clutch/brake pedal.
- Place gearshift lever in neutral (N) position.
Roll tractor forward off skid. - Remove banding holding the deflector shield up against tractor.
TO DRIVE TRACTOR OFF SKID (See Operation section for location and function of controls)
- Be sure all the above assembly steps have been completed.
- Check engine oil level and fill fuel tank with gasoline.
- Sit on seat in operating position, depress clutch/brake pedal and set the parking brake.
- Place gear shift lever in neutral (N) position.
- Press lift lever plunger and raise attachment lift lever to its highest position.
- Remove key from bag and start the engine (see "TO START ENGINE" in the Operation section of this manual). After engine has started, move throttle control to idle (slow) position.
- Depress clutch/brake pedal into full "BRAKE" position and hold. Move gearshift lever to 1st gear.
- Slowly release clutch/brake pedal and slowly drive tractor off skid.
- Apply brake to stop tractor, set parking brake and place gearshift lever in neutral position.
- Turn ignition key to "STOP" position.
Continue with the instructions that follow.
CHECK TIRE PRESSURE
The tires on your tractor were overinflated at the factory for shipping purposes. Correct tire pressure is important for best cutting performance.
- Reduce tire pressure to PSI shown on tires.
CHECK DECK LEVELNESS
For best cutting results, mower housing should be properly leveled. See "TO LEVEL MOWER HOUSING" in the Service and Adjustments section of this manual.
CHECK FOR PROPER POSITION OF ALL BELTS
See the Figures that are shown for replacing motion and mower blade drive belts in the Service and Adjustments section of this manual. Verify that the belts are routed correctly.
CHECK BRAKE SYSTEM
After you learn how to operate your tractor, check to see that the brake is operating properly. See "TO CHECK BRAKE" in the Service and Adjustments section of this manual.
checklist
BEFORE YOU OPERATE YOUR NEW TRACTOR, WE WISH TO ASSURE THAT YOU RECEIVE THE BEST PERFORMANCE AND SATISFACTION FROM THIS QUALITY PRODUCT.
PLEASE REVIEW THE FOLLOWING CHECKLIST:
✓ All assembly instructions have been completed.
No remaining loose parts in carton.
Battery is properly prepared and charged.
Seat is adjusted comfortably and tightened securely.
✓ All tires are properly inflated. (For shipping purposes, the tires were overinflated at the factory).
- Be sure mower deck is properly leveled side-to-side/ front-to-rear for best cutting results. (Tires must be properly inflated for leveling).
✓ Check mower and drive belts. Be sure they are routed properly around pulleys and inside all belt keepers.
✓ Check wiring. See that all connections are still secure and wires are properly clamped.
WHILE LEARNING HOW TO USE YOUR TRACTOR, PAY EXTRA ATTENTION TO THE FOLLOWING IMPORTANT ITEMS:
✓ Engine oil is at proper level.
✓ Fuel tank is filled with fresh, clean, regular unleaded gasoline.
Become familiar with all controls, their location and function. Operate them before you start the engine.
Be sure brake system is in safe operating condition.
- Be sure Operator Presence System and Reverse Operation System (ROS) are working properly (See the Operation and Maintenance sections in this manual).
OPERATION
These symbols may appear on your tractor or in literature supplied with the product. Learn and understand their meaning.


FREE WHEEL (Automatic Models only)

Failure to follow instructions could result in serious injury or death. The safety alert symbol is used to identify safety information about hazards which can result in death, serious injury and/or property damage.


DANGER indicates a hazard which, if not avoided, will result in death or serious injury.

WARNING indicates a hazard which, if not avoided, could result in death or serious injury.

CAUTION indicates a hazard which, if not avoided, might result in minor or moderate injury.
CAUTION when used without the alert symbol, indicates a situation that could result in damage to the tractor and/or engine.

HOT SURFACES indicates a hazard which, if not avoided, could result in death, serious injury and/or property damage.

FIRE indicates a hazard which, if not avoided, could result in death, serious injury and/or property damage.
OPERATION
KNOW YOUR TRACTOR
READ THIS OWNER'S MANUAL AND SAFETY RULES BEFORE OPERATING YOUR TRACTOR
Compare the illustrations with your tractor to familiarize yourself with the locations of various controls and adjustments. Save this manual for future reference.

Fig. 4
Our tractors conform to the applicable safety standards of the American National Standards Institute.
ATTACHMENT CLUTCH LEVER - Used to engage the mower blades, or other attachments mounted to your tractor.
ATTACHMENT LIFT LEVER - Used to raise, lower, and adjust the mower deck or other attachments mounted to your tractor.
CLUTCH/BRAKE PEDAL - Used for declutching and braking the tractor and starting the engine.
GEARSHIFT LEVER - Selects the speed and direction of the tractor.
IGNITION SWITCH - Used for starting and stopping the engine.
LIGHT SWITCH - Turns the headlights on and off.
PARKING BRAKE - Locks clutch/brake pedal into the brake position.
REVERSE OPERATION SYSTEM (ROS) "ON" POSITION - Allows operation of mower deck or other powered attachment while in reverse.
THROTTLE/CHOKE CONTROL - Used for starting and controlling engine speed.

The operation of any tractor can result in foreign objects thrown into the eyes, which can result in severe eye damage. Always wear safety glasses or eye shields while operating your tractor or performing any adjustments or repairs. We recommend a wide vision safety mask over spectacles or standard safety glasses.
HOW TO USE YOUR TRACTOR
TO SET PARKING BRAKE (See Fig. 5)
Your tractor is equipped with an operator presence sensing switch. When engine is running, any attempt by the operator to leave the seat without first setting the parking brake will shut off the engine.
- Depress clutch/brake pedal into full "BRAKE" position and hold.
- Place parking brake lever in "ENGAGED" position and release pressure from clutch/brake pedal. Pedal should remain in "BRAKE" position. Make sure parking brake will hold tractor secure.

Fig. 5
STOPPING (See Fig. 6)
MOWER BLADES -
- To stop mower blades, move attachment clutch lever to "DISENGAGED" position.

Fig. 6
GROUND DRIVE -
- To stop ground drive, depress clutch/brake pedal into full "BRAKE" position.
- Move gearshift lever to neutral (N) position.
ENGINE -
- Move throttle control between half and full speed (fast) position.
NOTE: Failure to move throttle control between half and full speed (fast) position, before stopping may cause engine to "backfire".
- Turn ignition switch to "OFF" position and remove key. Always remove key when leaving tractor to prevent unauthorized use.
- Never use choke position to stop engine.
IMPORTANT: LEAVING THE IGNITION SWITCH IN ANY POSITION OTHER THAN "OFF" WILL CAUSE THE BATTERY TO BE DISCHARGED, (DEAD).
NOTE: Under certain conditions when tractor is standing idle with the engine running, hot engine exhaust gases may cause "browning" of grass. To eliminate this possibility, always stop engine when stopping tractor on grass areas.

CAUTION: Always stop tractor completely, as described above, before leaving the operator's position; to empty grass catcher, etc.
TO USE THROTTLE CONTROL (D) (See Fig. 7)
Always operate engine at full speed (fast).
- Operating engine at less than full speed (fast) reduces the engine's operating efficiency.
Full speed (fast) offers the best mower performance.

Fig. 7
TO MOVE FORWARD AND BACKWARD (See Fig. 8)
The direction and speed of movement is controlled by the gearshift lever (J).
- Start tractor with clutch/brake pedal depressed and gearshift lever in neutral (N) position.
- Move gearshift lever to desired position.
- Slowly release clutch/brake pedal to start movement.
IMPORTANT: BRING TRACTOR TO A COMPLETE STOP BEFORE SHIFTING OR CHANGING GEARS. FAILURE TO DO SO WILL SHORTEN THE USEFUL LIFE OF YOUR TRANSAXLE.

Fig. 8
TO ADJUST MOWER CUTTING HEIGHT (See Fig. 9)
The position of the attachment lift lever (A) determines the cutting height.

Fig. 9
- Put attachment lift lever in desired cutting height slot.
The cutting height range is approximately 1'' to 4'' . The heights are measured from the ground to the blade tip with the engine not running. These heights are approximate and may vary depending upon soil conditions, height of grass and types of grass being mowed. - The average lawn should be cut to approximately 2-1/2 inches during the cool season and to over 3 inches during hot months. For healthier and better looking lawns, mow often and after moderate growth.
- For best cutting performance, grass over 6 inches in height should be mowed twice. Make the first cut relatively high; the second to desired height.
REVERSE OPERATION SYSTEM (ROS) (See Fig. 10)
Your tractor is equipped with a Reverse Operation System (ROS). Any attempt by the operator to travel in the reverse direction with the attachment clutch engaged will shut off the engine unless ignition key is placed in the ROS "ON" position.
WARNING: Backing up with the attachment clutch engaged while mowing is strongly discouraged. Turning the ROS "ON", to allow reverse operation with the attachment clutch engaged, should only be done when the operator decides it is necessary to reposition the machine with the attachment engaged. Do not mow in reverse unless absolutely necessary.
- Depress clutch/brake pedal all the way down and hold.
- With engine running, turn ignition key counterclockwise to ROS "ON" position.
- Look down and behind before backing.
- Move gear shift lever to reverse (R) position and slowly release clutch/brake pedal to start movement.
- When use of the ROS is no longer needed, turn the ignition key clockwise to engine "ON" position.

ROS "ON" POSITION

ENGINE "ON" POSITION
(NORMAL OPERATING)
Fig. 10
TO OPERATE MOWER
Your tractor is equipped with an operator presence sensing switch. Any attempt by the operator to leave the seat with the engine running and the attachment clutch engaged will shut off the engine. You must remain fully and centrally positioned in the seat to prevent the engine from hesitating or cutting off when operating your equipment on rough, rolling terrain or hills.
- Select desired height of cut with attachment lift lever.
- Start mower blades by engaging attachment clutch control.
To stop mower blades -
disengage attachment clutch control.

CAUTION: Do not operate the mower without either the entire grass catcher, on mowers so equipped, or the deflector shield (S) in place. (Fig. 11)

Fig. 11
TO ADJUST GAUGE WHEELS (See Fig. 12)
Gauge wheels are properly adjusted when they are slightly off the ground when mower is at the desired cutting height in operating position. Gauge wheels then keep the deck in proper position to help prevent scalp ing in most terrain conditions.
NOTE: Adjust gauge wheels with tractor on a flat level surface.
-
Adjust mower to desired cutting height (See "TO ADJUST MOWER CUTTING HEIGHT" in the Operation section of this manual).
-
With mower in desired height of cut position, gauge wheels should be assembled so they are slightly off the ground. Install gauge wheel in appropriate hole as shown and tighten securely.
- Repeat for opposite side installing gauge wheel in same adjustment hole.

Fig. 12
TO OPERATE ON HILLS

WARNING: Do not drive up or down hills with slopes greater than 15^ and do not drive across any slope.
- Choose the slowest speed before starting up or down hills.
- Avoid stopping or changing speed on hills.
- If stopping is absolutely necessary, push clutch/brake pedal quickly to brake position and engage parking brake.
- Move gearshift lever to 1st gear. Be sure you have allowed room for tractor to roll slightly as you restart movement.
- To restart movement, slowly release parking brake and clutch/brake pedal.
Make all turns slowly.
TO TRANSPORT
- Raise attachment lift to highest position with attachment lift control.
- When pushing or towing your tractor, be sure gearshift lever is in neutral (N) position.
- Do not push or tow tractor at more than five (5) MPH.
NOTE: To protect hood from damage when transporting your tractor on a truck or a trailer, be sure hood is closed and secured to tractor. Use an appropriate means of tying hood to tractor (rope, cord, etc.).
TOWING CARTS AND OTHER ATTACHMENTS
Tow only the attachments that are recommended by and comply with specifications of the manufacturer of your tractor. Use common sense when towing. Too heavy of a load, while on a slope, is dangerous. Tires can lose traction with the ground and cause you to lose control of your tractor.
BEFORE STARTING THE ENGINE
CHECK ENGINE OIL LEVEL
The engine in your tractor has been shipped, from the factory, already filled with summer weight oil.
- Check engine oil with tractor on level ground.
- Remove oil fill cap/dipstick and wipe clean, reinsert the dipstick and screw cap tight, wait for a few seconds, remove and read oil level. If necessary, add oil until "FULL" mark on dipstick is reached. Do not overfill.
- For cold weather operation you should change oil for easier starting (See "OIL VISCOSITY CHART" in the Maintenance section of this manual).
- To change engine oil, see the Maintenance section in this manual.
ADD GASOLINE
- Fill fuel tank to bottom of filler neck. Do not overfill. Use fresh, clean, regular unleaded gasoline with a minimum of 87 octane. (Use of leaded gasoline will increase carbon and lead oxide deposits and reduce valve life). Do not mix oil with gasoline. Purchase fuel in quantities that can be used within 30 days to assure fuel freshness.

CAUTION: Wipe off any spilled oil or fuel. Do not store, spill or use gasoline near an open flame.
IMPORTANT: WHEN OPERATING IN TEMPERATURES BELOW 32^(0^) , USE FRESH, CLEAN WINTER GRADE GASOLINE TO HELP INSURE GOOD COLD WEATHER STARTING.
CAUTION: Alcohol blended fuels (called gasohol or using ethanol or methanol) can attract moisture which leads to separation and formation of acids during storage. Acidic gas can damage the fuel system of an engine while in storage. To avoid engine problems, the fuel system should be emptied before storage of 30 days or longer. Drain the gas tank, start the engine and let it run until the fuel lines and carburetor are empty. Use fresh fuel next season. See Storage Instructions for additional information. Never use engine or carburetor cleaner products in the fuel tank or permanent damage may occur.
OPERATION
TO START ENGINE (See Fig. 4)
When starting the engine for the first time or if the engine has run out of fuel, it will take extra cranking time to move fuel from the tank to the engine.
- Sit on seat in operating position, depress clutch/brake pedal and set parking brake.
- Place gear shift lever in neutral (N) position.
- Move attachment clutch to "DISENGAGED" position.
- Move throttle control to choke (↑) position.
NOTE: Before starting, read the warm and cold starting procedures below.
- Insert key into ignition and turn key clockwise to "START" position and release key as soon as engine starts. Do not run starter continuously for more than fifteen seconds per minute. If the engine does not start after several attempts, move throttle control to fast position, wait a few minutes and try again. If engine still does not start, move the throttle control back to the choke ( ) position and retry.
WARM WEATHER STARTING (50° F and above)
- When engine starts, move the throttle control to the fast position.
- The attachments and ground drive can now be used. If the engine does not accept the load, restart the engine and allow it to warm up for one minute using the choke as described above.
COLD WEATHER STARTING ( 50^ F and below)
- When engine starts, allow engine to run with the throttle control in the choke (↑) position until the engine runs roughly, then move throttle control to fast position. This may require an engine warm-up period from several seconds to several minutes, depending on the temperature.
- The attachments can also be used during the engine warm-up period.
NOTE: If at a high altitude (above 3000 feet) or in cold temperatures (below 32 F) the carburetor fuel mixture may need to be adjusted for best engine performance. See "TO ADJUST CARBURETOR" in the Service and Adjustments section of this manual.
MOWING TIPS
- Mower should be properly leveled for best mowing performance. See "TO LEVEL MOWER HOUSING" in the Service and Adjustments section of this manual.
- The left hand side of mower should be used for trimming.
- Drive so that clippings are discharged onto the area that has been cut. Have the cut area to the right of the machine. This will result in a more even distribution of clippings and more uniform cutting.
- When mowing large areas, start by turning to the right so that clippings will discharge away from shrubs, fences, driveways, etc. After one or two rounds, mow in the opposite direction making left hand turns until finished (See Fig. 13).

Fig. 13
- If grass is extremely tall, it should be mowed twice to reduce load and possible fire hazard from dried clippings. Make first cut relatively high; the second to the desired height.
- Do not mow grass when it is wet. Wet grass will plug mower and leave undesirable clumps. Allow grass to dry before mowing.
Always operate engine at full throttle when mowing to assure better mowing performance and proper discharge of material. Regulate ground speed by selecting a low enough gear to give the mower cutting performance as well as the quality of cut desired. - When operating attachments, select a ground speed that will suit the terrain and give best performance of the attachment being used.
| MAINTENANCE SCHEDULE | BEFORE EACH USE | EVERY 8 HOURS | EVERY 25 HOURS | EVERY 50 HOURS | EVERY 100 HOURS | EVERY SEASON | BEFORE STORAGE | |
| TRACTOR | Check Brake Operation | ✓ | ✓ | |||||
| Check Tire Pressure | ✓ | ✓ | ||||||
| Check Operator Presence & ROS Systems | ✓ | |||||||
| Check for Loose Fasteners | ✓ | ✓ | ✓ | |||||
| Check/Replace Mower Blades | ✓3 | |||||||
| Lubrication Chart | ✓ | ✓ | ||||||
| Check Battery Level | ✓4 | |||||||
| Clean Battery and Terminals | ✓ | ✓ | ||||||
| Check Transaxle Cooling | ✓ | |||||||
| Check Mower Levelness | ✓ | |||||||
| Check V-Belts | ✓ | |||||||
| ENGINE | Check Engine Oil Level | ✓ | ✓ | |||||
| Change Engine Oil (with oil filter) | ✓1,2 | ✓ | ||||||
| Change Engine Oil (without oil filter) | ✓1,2 | ✓ | ||||||
| Clean Air Filter | ✓2 | |||||||
| Clean Air Screen | ✓2 | |||||||
| Inspect Muffler/Spark Arrester | ✓ | |||||||
| Replace Oil Filter (If equipped) | ✓1,2 | |||||||
| Clean Engine Cooling Fins | ✓2 | |||||||
| Replace Spark Plug | ✓ | ✓ | ||||||
| Replace Air Filter Paper Cartridge | ✓2 | |||||||
| Replace Fuel Filter | ✓ | |||||||
1 - Change more often when operating under a heavy load or in high ambient temperatures.
2 - Service more often when operating in dirty or dusty conditions.
3 - Replace blades more often when mowing in sandy soil.
4 - Not required if equipped with maintenance-free battery.
GENERAL RECOMMENDATIONS
The warranty on this tractor does not cover items that have been subjected to operator abuse or negligence. To receive full value from the warranty, operator must maintain tractor as instructed in this manual.
Some adjustments will need to be made periodically to properly maintain your tractor.
At least once a season, check to see if you should make any of the adjustments described in the Service and Adjustments section of this manual.
- At least once a year you should replace the spark plug, clean or replace air filter, and check blades and belts for wear. A new spark plug and clean air filter assure proper air-fuel mixture and help your engine run better and last longer.
BEFORE EACH USE
- Check engine oil level.
- Check brake operation.
- Check tire pressure.
- Check operator presence and ROS systems for proper operation.
- Check for loose fasteners.
LUBRICATION CHART

① SAE 30 OR 10W30 MOTOR OIL
②GENERAL PURPOSE GREASE
③REFER TO MAINTENANCE “ENGINE” SECTION
IMPORTANT: DO NOT OIL OR GREASE THE PIVOT POINTS WHICH HAVE SPECIAL NYLON BEARINGS. VISCIOUS LUBRICANTS WILL ATTRACT DUST AND DIRT THAT WILL SHORTEN THE LIFE OF THE SELF-LUBRICATING BEARINGS. IF YOU FEEL THEY MUST BE LUBRICATED, USE ONLY A DRY, POWDERED GRAPHITE TYPE LUBRICANT SPARINGLY.
MAINTENANCE
TRACTOR
Always observe safety rules when performing any maintenance.
BRAKE OPERATION
If tractor requires more than five (5) feet to stop at highest speed in highest gear on a level, dry concrete or paved surface, then brake must be checked and adjusted. (See "TO CHECK BRAKE" in the Service and Adjustments section of this manual).
TIRES
- Maintain proper air pressure in all tires (See the side of the tire for proper PSI).
- Keep tires free of gasoline, oil, or insect control chemicals which can harm rubber.
- Avoid stumps, stones, deep ruts, sharp objects and other hazards that may cause tire damage.
NOTE: To seal tire punctures and prevent flat tires due to slow leaks, tire sealant may be purchased from your local parts dealer. Tire sealant also prevents tire dry rot and corrosion.
Be sure operator presence and reverse operation systems are working properly. If your tractor does not function as described, repair the problem immediately.
- The engine should not start unless the brake pedal is fully depressed, and the attachment clutch control is in the disengaged position.
CHECK OPERATOR PRESENCE SYSTEM
- When the engine is running, any attempt by the operator to leave the seat without first setting the parking brake should shut off the engine.
- When the engine is running and the attachment clutch is engaged, any attempt by the operator to leave the seat should shut off the engine.
- The attachment clutch should never operate unless the operator is in the seat.
- When the engine is running with the ignition switch in the engine "ON" position and the attachment clutch engaged, any attempt by the operator to shift into reverse should shut off the engine.
- When the engine is running with the ignition switch in the ROS "ON" position and the attachment clutch engaged, any attempt by the operator to shift into reverse should NOT shut off the engine.

ROS "ON" POSITION

ENGINE "ON" POSITION (NORMAL OPERATING)
BLADE CARE
For best results mower blades must be kept sharp. Replace bent or damaged blades.

CAUTION: Use only a replacement blade approved by the manufacturer of your tractor. Using a blade not approved by the manufacturer of your tractor is hazardous, could damage your tractor and void your warranty.
BLADE REMOVAL (See Fig. 15)
- Raise mower to highest position to allow access to blades.
NOTE: Protect your hands with gloves and/or wrap blade with heavy cloth.
- Remove blade bolt by turning counterclockwise.
Install new blade with stamped "THIS SIDE UP" facing deck and mandrel assembly.
IMPORTANT: To ensure proper assembly, center hole in blade must align with star on mandrel assembly.
Install and tighten blade bolt securely (45-55 Ft. Lbs. torque).
IMPORTANT: Special blade bolt is heat treated.

Fig. 14
Fig. 15
BATTERY
Your tractor has a battery charging system which is sufficient for normal use. However, periodic charging of the battery with an automotive charger will extend its life.
- Keep battery and terminals clean.
- Keep battery bolts tight.
- Keep small vent holes open.
- Recharge at 6-10 amperes for 1 hour.
NOTE: The original equipment battery on your tractor is maintenance free. Do not attempt to open or remove caps or covers. Adding or checking level of electrolyte is not necessary.
TO CLEAN BATTERY AND TERMINALS
Corrosion and dirt on the battery and terminals can cause the battery to "leak" power.
- Disconnect BLACK battery cable first then RED battery cable and remove battery from tractor.
Rinse the battery with plain water and dry. - Clean terminals and battery cable ends with wire brush until bright.
- Coat terminals with grease or petroleum jelly.
- Reinstall battery (See "REPLACING BATTERY" in the Service and Adjustment section of this manual).
V-BELTS
Check V-belts for deterioration and wear after 100 hours and replace if necessary. The belts are not adjustable. Replace belts if they begin to slip from wear.
TRANSAXLE COOLING
Keep transaxle free from build-up of dirt and chaff which can restrict cooling.
ENGINE
LUBRICATION
Only use high quality detergent oil rated with API service classification SG-SL. Select the oil's SAE viscosity grade according to your expected operating temperature.

Fig. 16
NOTE: Although multi-viscosity oils (5W30, 10W30 etc.) improve starting in cold weather, they will result in increased oil consumption when used above 32^ . Check your engine oil level more frequently to avoid possible engine damage from running low on oil.
Change the oil after every 50 hours of operation or at least once a year if the tractor is not used for 50 hours in one year.
Check the crankcase oil level before starting the engine and after each eight (8) hours of operation. Tighten oil fill cap/dipstick securely each time you check the oil level.
TO CHANGE ENGINE OIL (See Figs. 16 and 17)
Determine temperature range expected before oil change. All oil must meet API service classification SG-SL.
- Be sure tractor is on level surface.
- Oil will drain more freely when warm.
Catch oil in a suitable container. - Remove oil fill cap/dipstick. Be careful not to allow dirt to enter the engine when changing oil.
- Remove yellow cap from end of drain valve and install the drain tube onto the fitting.

Fig. 17
- Unlock drain valve by pushing inward and turning counterclockwise.
To open, pull out on the drain valve.
After oil has drained completely, close and lock the drain valve by pushing inward and turning clockwise until the pin is in the locked position as shown. - Remove the drain tube and replace the cap onto to the bottom fitting of the drain valve.
- Refill engine with oil through oil fill dipstick tube. Pour slowly. Do not overfill. For approximate capacity see "PRODUCT SPECIFICATIONS" section of this manual.
- Use gauge on oil fill cap/dipstick for checking level. Be sure dipstick cap is tightened securely for accurate reading. Keep oil at "FULL" line on dipstick. Tighten cap onto the tube securely when finished.
CLEAN AIR SCREEN
Air screen must be kept free of dirt and chaff to prevent engine damage from overheating. Clean with a wire brush or compressed air to remove dirt and stubborn dried gum fibers.
AIR FILTER
Your engine will not run properly using a dirty air filter. Service air cleaner more often under dusty conditions. See Engine Manual.
ENGINE OIL FILTER
Replace the engine oil filter every season or every other oil change if the tractor is used more than 100 hours in one year.
MUFFLER
Inspect and replace corroded muffler and spark arrester (if equipped) as it could create a fire hazard and/or damage.
SPARK PLUGS
Replace spark plugs at the beginning of each mowing season or after every 100 hours of use, whichever comes first. Spark plug type and gap setting is shown in "PRODUCT SPECIFICATIONS" section of this manual.
IN-LINE FUEL FILTER (See Fig. 18)
The fuel filter should be replaced once each season. If fuel filter becomes clogged, obstructing fuel flow to carburetor, replacement is required.
- With engine cool, remove filter and plug fuel line sections.
- Place new fuel filter in position in fuel line with arrow pointing towards carburetor.
- Be sure there are no fuel line leaks and clamps are properly positioned.
- Immediately wipe up any spilled gasoline.

Fig. 18
CLEANING
- Clean engine, battery, seat, finish, etc. of all foreign matter.
- Keep finished surfaces and wheels free of all gasoline, oil, etc.
- Protect painted surfaces with automotive type wax.
We do not recommend using a garden hose or pressure washer to clean your tractor unless the engine and transmission are covered to keep water out. Water in engine or transmission will shorten the useful life of your tractor. Use compressed air or a leaf blower to remove grass, leaves and trash from tractor and mower.

WARNING: TO AVOID SERIOUS INJURY, BEFORE PERFORMING ANY SERVICE OR ADJUSTMENTS:
- Depress clutch/brake pedal fully and set parking brake.
- Place gearshift lever in neutral (N) position.
- Place attachment clutch in "DISENGAGED" position.
- Turn ignition key to "STOP" and remove key.
- Make sure the blades and all moving parts have completely stopped.
- Disconnect spark plug wire from spark plug and place wire where it cannot come in contact with plug.
TO REMOVE MOWER (See Fig. 19)
- Place attachment clutch in "DISENGAGED" position.
Lower attachment lift lever to its lowest position.
Roll belt off engine pulley (M) and belt keepers (G). - Remove retainer spring (K), slide collar (L) off and push housing guide (P) out of bracket.
- Remove clutch cable spring (Q) from idler arm (R).
- Disconnect front link (E) from mower - remove retainer spring and washer.
- Go to either side of mower and disconnect mower suspension arm (A) from chassis pin (B) and rear lift link (C) from rear mower bracket (D) - remove retainer springs and washers.

CAUTION: AFTER REAR LIFT LINKS ARE DISCONNECTED, THE ATTACHMENT LIFT LEVER WILL BE SPRING LOADED. HAVE A TIGHT GRIP ON LIFT LEVER WHEN CHANGING POSITION OF THE LEVER.
IMPORTANT: IF AN ATTACHMENT OTHER THAN THE MOWER IS TO BE MOUNTED ON THE TRACTOR, REMOVE THE FRONT LINK (E) AND REAR LIFT LIKS (C) FROM TRACTOR AND HOOK THE CLUTCH SPRING (Q) INTO THE CABLE GUIDE ON FRONT EDGE OF LOWER DASH.
TO INSTALL MOWER (See Figs. 20-24)
Be sure tractor is on level surface and engage parking brake.
- Lower attachment lift lever to its lowest position.

CAUTION: LIFT LEVER IS SPRING LOADED. HAVE A TIGHT GRIP ON LIFT LEVER, LOWER IT SLOWLY AND ENGAGE IN LOWEST POSITION.
NOTE: Be sure mower side suspension arms (A) are pointing forward before sliding mower under tractor.
-
Slide mower under tractor until it is centered under tractor.
-
Slide mower out from under right side of tractor.

SERVICE AND ADJUSTMENTS
- ATTACH MOWER SIDE SUSPENSION ARMS (A) TO CHASSIS - Position hole in arm over pin (B) on outside of tractor chassis and secure with retainer spring.
- Repeat on opposite side of tractor.

FIG. 20
- ATTACH REAR LIFT LINKS (C) - Lift rear corner of mower and position slot in link assembly over pin (D) on rear mower bracket and secure with washer and retainer spring.

FIG. 21
-
ATTACH FRONT LINK (E) - Work from left side of tractor. Insert rod end of link assembly through front hole in tractor front suspension bracket (F).
-
Insert end of link (E) into hole in front mower bracket and secure with washer and retainer spring (J).

FIG. 22
- Hook end of clutch cable spring (Q) into hole in idler arm (R).
- Push clutch cable housing guide (P) into bracket, slide collar (L) onto guide and secure with retainer spring (K).
Install belt on engine pulley (M), in belt keepers (G).

FIG. 23
IMPORTANT: CHECK BELT FOR PROPER ROUTING IN ALL MOWER PULLEY GROOVES.
- Raise attachment lift lever to highest position.
- If necessary, adjust gauge wheels before operating mower as shown in the Operation section of this manual.

SERVICE AND ADJUSTMENTS
TO LEVEL MOWER
Make sure tires are properly inflated to the PSI shown on tires. If tires are over or under inflated, it may affect the appearance of your lawn and lead you to think the mower is not adjusted properly.
VISUAL SIDE-TO-SIDE ADJUSTMENT (See Fig. 25)
- With all tires properly inflated and if your lawn appears unevenly cut, determine which side of mower is cutting lower.
- With a 3/4'' or adjustable wrench, turn lift link adjustment nut (A) to the left to lower LH side of mower, or, to the right to raise LH side of mower.

FIG. 25
NOTE: Each full turn of adjustment nut will change mower height about 3 / 16" .
- Test your adjustment by mowing some uncut grass and visually checking the appearance. Readjust, if necessary, until you are satisfied with the results.
PRECISION SIDE-TO-SIDE ADJUSTMENT (See Fig. 26)
- With all tires properly inflated, park tractor on level ground or driveway.

CAUTION: Blades are sharp. Protect your hands with gloves and/or wrap blade with heavy cloth.
- Raise mower to its highest position.
- At both sides of mower, position blade at side and measure the distance (A) from bottom edge of blade to the ground. The distance should be the same on both sides.

FIG. 26
- If adjustment is necessary, see step in Visual Adjustment instructions above.
- Recheck measurements, adjust if necessary until both sides are equal.
FRONT-TO-BACK ADJUSTMENT (See Figs. 27 and 28)
IMPORTANT: Deck must be level side-to-side.
To obtain the best cutting results, the mower blades should be adjusted so the front tip is 1/8'' to 1/2'' lower than the rear tip when the mower is in its highest position.

CAUTION: Blades are sharp. Protect your hands with gloves and/or wrap blade with heavy cloth.
- Raise mower to highest position.
- Position blade so the tip is pointing straight forward. Measure distance (B) to the ground at front and rear tip of the blade.

FIG. 27
- If front tip of blade is not 1/8'' to 1/2'' lower than the rear tip, go to the front of tractor.
- With an 11 / 16'' or adjustable wrench, loosen jam nut A several turns to clear adjustment nut B.
- With a 3/4'' or adjustable wrench, turn front link adjustment nut (B) clockwise (ltighten) to raise the front of mower, or, counterclockwise (loosen) to lower the front mower.

FIG. 28
NOTE: Each full turn of the adjustment nut will change mower height about 1/8" .
- Recheck measurements, adjust if necessary until front tip of blade is 1 / 8'' to 1 / 2'' lower than the rear tip.
- Hold adjustment nut in position with wrench and tighten jam nut securely against adjustment nut.
SERVICE AND ADJUSTMENTS
TO REPLACE MOWER BLADE DRIVE BELT (See Fig. 29)
The mower blade drive belt may be replaced without tools. Park the tractor on level surface. Engage parking brake.
BELT REMOVAL -
- Remove mower from tractor (See "TO REMOVE MOWER" in this section of manual).
Work belt off both mandrel pulleys and idler pulleys.
Pull belt away from mower.
BELT INSTALLATION -
Work belt around both mandrel pulleys and idler pulleys.
- Make sure belt is in all pulley grooves and inside all belt guides.
- Install mower (See "To Install Mower" in this section of manual).

Fig. 29
TO CHECK BRAKE
If tractor requires more than five (5) feet to stop at highest speed in highest gear on a level, dry concrete or paved surface, then brake must be serviced.
You may also check brake by:
- Park tractor on a level, dry concrete or paved surface, depress brake pedal all the way down and engage parking brake.
- Place gear shift lever in neutral (N) position.
The rear wheels must lock and skid when you try to manually push the tractor forward. If the rear wheels rotate, then the brake needs to be serviced. Contact a qualified service center.
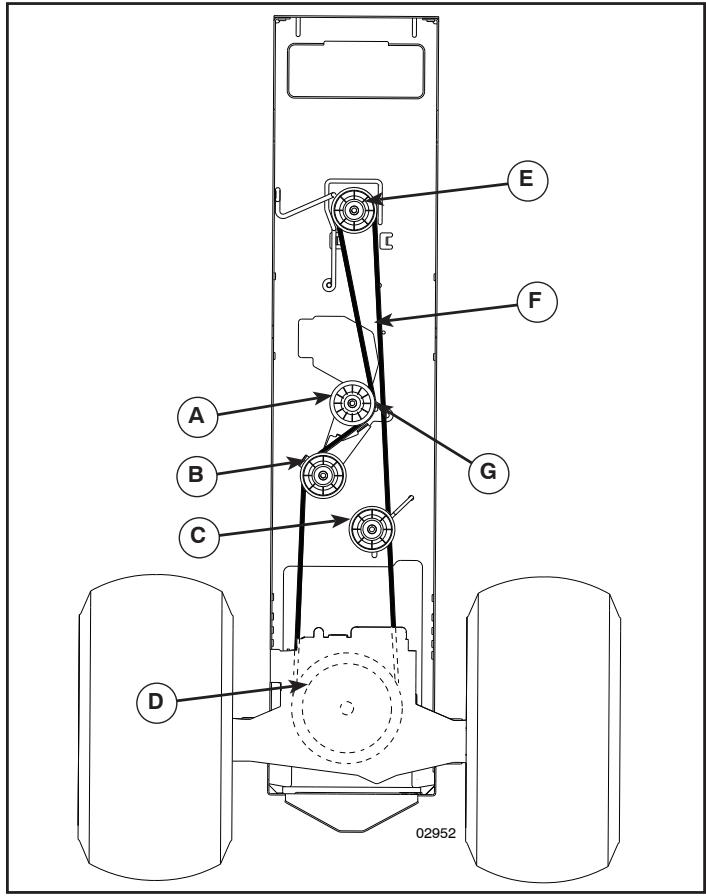
TO REPLACE MOTION BELT DRIVE (See Fig. 30)
Park the tractor on level surface. Engage parking brake. For assistance, there is a belt installation guide decal on bottom side of left footrest.
BELT REMOVAL
- Remove mower (See "TO REMOVE MOWER" in this section of manual).
NOTE: Observe entire motion drive belt and position of all belt guides and keepers.
- Remove belt from stationary idler (A) and clutching idler (B).
- Remove belt from centerspan idler (C).
- Pull belt slack toward rear of tractor. Carefully remove belt upwards from transmission input pulley and over cooling fan blades (D).
- Remove belt downward from engine pulley (E).
- Slide belt toward rear of tractor, off the steering plate (F) and remove from tractor.
BELT INSTALLATION -
Install new belt from tractor rear to front, over the steering plate (F) and above clutch brake pedal shaft (G).
Pull belt toward front of tractor and roll belt onto engine pulley (E).
Pull belt toward rear of tractor. Carefully work belt down around transmission cooling fan and onto the input pulley (D). Be sure belt is inside the belt keeper.
Install belt on centerspan idler (C).
- Install belt through stationary idler (A) and clutching idler (B).
- Make sure belt is in all pulley grooves and inside all belt guides and keepers.
- Install mower (See "TO INSTALL MOWER" in this section of manual).

Fig. 30
TRANSAXLE GEAR SHIFT LEVER NEUTRAL-ADJUSTMENT (See Fig. 31)
The transaxle should be in neutral when the gear shift lever is in neutral (N) (lock gate) position. The adjustment is preset at the factory; however, if adjustment is needed, proceed as follows:
Make sure transaxle is in neutral (N).
NOTE: When the tractor rear wheels move freely, the transaxle is in neutral.
- Loosen adjustment bolt in front of the right rear wheel.
- Position the gear shift lever in the neutral (N) position.
- Tighten adjustment bolt securely.
NOTE: If additional clearance is needed to get to adjustment bolt, move mower deck height to the lowest position.

Fig. 31
TO ADJUST STEERING WHEEL ALIGNMENT
If steering wheel crossbars are not horizontal (left to right) when wheels are positioned straight forward, remove steering wheel and reassemble per instructions in the Assembly section of this manual.
FRONT WHEEL TOE-IN/CAMBER
The front wheel toe-in and camber are not adjustable on your tractor. If damage has occurred to affect the front wheel toe-in or camber, contact your nearest authorized service center/department.
TO REMOVE WHEEL FOR REPAIRS (See Fig. 32)
- Block up axle securely.
- Remove axle cover, retaining ring and washers to allow wheel removal (rear wheel contains a square key - Do not lose).
Repair tire and reassemble. - On rear wheels only: align grooves in rear wheel hub and axle. Insert square key.
- Replace washers and snap retaining ring securely in axle groove.
- Replace axle cover.
NOTE: To seal tire punctures and prevent flat tires due to slow leaks, tire sealant may be purchased from your local parts dealer. Tire sealant also prevents tire dry rot and corrosion.

Fig. 32
TO START ENGINE WITH A WEAK BATTERY (See Fig. 33)

WARNING: Lead-acid batteries generate explosive gases. Keep sparks, flame and smoking materials away from batteries. Always wear eye protection when around batteries.
If your battery is too weak to start the engine, it should be recharged. (See "BATTERY" in the Maintenance section of this manual).
If "jumper cables" are used for emergency starting, follow this procedure:
IMPORTANT: YOUR TRACTOR IS EQUIPPED WITH A 12 VOLT SYSTEM. THE OTHER VEHICLE MUST ALSO BE A 12 VOLT SYSTEM. DO NOT USE YOUR TRACTOR BATTERY TO START OTHER VEHICLES.
TO ATTACH JUMPER CABLES -
- Connect one end of the RED cable to the POSITIVE (+) terminal of each battery(A-B), taking care not to short against tractor chassis.
- Connect one end of the BLACK cable to the NEGATIVE (-) terminal (C) of fully charged battery.
- Connect the other end of the BLACK cable (D) to good chassis ground, away from fuel tank and battery.
TO REMOVE CABLES, REVERSE ORDER -
- BLACK cable first from chassis and then from the fully charged battery.
- RED cable last from both batteries.

Fig. 33
SERVICE AND ADJUSTMENTS
REPLACING BATTERY (See Figs. 34)

WARNING: Do not short battery terminals by allowing a wrench or any other object to contact both terminals at the same time. Before connecting battery, remove metal bracelets, wristwatch bands, rings, etc. Positive terminal must be connected first to prevent sparking from accidental grounding.
- Lift seat pan to raised position.
- Disconnect BLACK battery cable first then RED battery cable and carefully remove battery from tractor.
- Install new battery with terminals in same position as old battery.
- First connect RED battery cable to positive (+) terminal with hex bolt and keps nut as shown. Tighten securely. Slide terminal cover over terminal.
- Connect BLACK grounding cable to negative (-) terminal with remaining hex bolt and keps nut. Tighten securely.

Fig. 34
TO REPLACE HEADLIGHT BULB
Raise hood.
Pull bulb holder out of the hole in the backside of the grill.
- Replace bulb in holder and push bulb holder securely back into the hole in the backside of the grill.
- Close hood.
INTERLOCKS AND RELAYS
Loose or damaged wiring may cause your tractor to run poorly, stop running, or prevent it from starting.
Check wiring.
TO REPLACE FUSE
Replace with 20 amp automotive-type plug-in fuse. The fuse holder is located behind the dash.
TO REMOVE HOOD AND GRILL ASSEMBLY (See Fig. 35)
- Raise hood.
Unsnap headlight wire connector. - Stand in front of tractor. Grasp hood at sides, tilt toward engine and lift off of tractor.
To replace, reverse above procedure.

Fig. 35
ENGINE
TO ADJUST THROTTLE CONTROL CABLE
The throttle control has been preset at the factory and adjustment should not be necessary. If adjustment is necessary, see engine manual.
TO ADJUST CARBURETOR
Your carburetor is not adjustable. If your engine does not operate properly due to suspected carburetor problems, take your tractor to an authorized service center for repair and/or adjustment.
STORAGE
Immediately prepare your tractor for storage at the end of the season or if the tractor will not be used for 30 days or more.

WARNING: Never store the tractor with gasoline in the tank inside a building where fumes may reach an open flame or spark. Allow the engine to cool before storing in any enclosure.
TRACTOR
Remove mower from tractor for winter storage. When mower is to be stored for a period of time, clean it thoroughly, remove all dirt, grease, leaves, etc. Store in a clean, dry area.
- Clean entire tractor (See "CLEANING" in the Maintenance section of this manual).
- Inspect and replace belts, if necessary (See belt replacement instructions in the Service and Adjustments section of this manual).
- Lubricate as shown in the Maintenance section of this manual.
- Be sure that all nuts, bolts and screws are securely fastened. Inspect moving parts for damage, breakage and wear. Replace if necessary.
- Touch up all rusted or chipped paint surfaces; sand lightly before painting.
BATTERY
Fully charge the battery for storage.
After a period of time in storage, battery may require recharging.
- To help prevent corrosion and power leakage during long periods of storage, battery cables should be disconnected and battery cleaned thoroughly (see "TO CLEAN BATTERY AND TERMINALS" in the Maintenance section of this manual).
- After cleaning, leave cables disconnected and place cables where they cannot come in contact with battery terminals.
- If battery is removed from tractor for storage, do not store battery directly on concrete or damp surfaces.
ENGINE
FUEL SYSTEM
IMPORTANT: IT IS IMPORTANT TO PREVENT GUM DEPOSITS FROM FORMING IN ESSENTIAL FUEL SYSTEM PARTS SUCH AS CARBURETOR, FUEL FILTER, FUEL HOSE, OR TANK DURING STORAGE. ALSO, EXPERIENCE INDICATES THAT ALCOHOL BLENDED FUELS (CALLLED GASOHOL OR USING ETHANOL OR METHANOL) CAN ATTRACT MOISTUREWHICH LEADS TO SEPARATION AND FORMATION OF ACIDS DURING STORAGE. ACIDIC GAS CAN DAMAGE THE FUEL SYSTEM OF AN ENGINE WHILE IN STORAGE.
- Empty the fuel tank by starting the engine and let it run until the fuel lines and carburetor are empty.
- Never use engine or carburetor cleaner products in the fuel tank or permanent damage may occur.
Use fresh fuel next season.
NOTE: Fuel stabilizer is an acceptable alternative in minimizing the formation of fuel gum deposits during storage. Add stabilizer to gasoline in fuel tank or storage container. Always follow the mix ratio found on stabilizer container. Run engine at least 10 minutes after adding stabilizer to allow the stabilizer to reach the carburetor. Do not empty the gas tank and carburetor if using fuel stabilizer.
ENGINE OIL
Drain oil (with engine warm) and replace with clean engine oil. (See "ENGINE" in the Maintenance section of this manual).
CYLINDER(S)
- Remove spark plug(s).
- Pour one ounce of oil through spark plug hole(s) into cylinder(s).
- Turn ignition key to "START" position for a few seconds to distribute oil.
- Replace with new spark plug(s).
OTHER
- Do not store gasoline from one season to another.
- Replace your gasoline can if your can starts to rust. Rust and/or dirt in your gasoline will cause problems.
If possible, store your tractor indoors and cover it to give protection from dust and dirt. - Cover your tractor with a suitable protective cover that does not retain moisture. Do not use plastic. Plastic cannot breathe which allows condensation to form and will cause your tractor to rust.
IMPORTANT: NEVER COVER TRACTOR WHILE ENGINE AND EXHAUST AREAS ARE STILL WARM.
TROUBLESHOOTING POINTS
| PROBLEM | CAUSE | CORRECTION |
| Will not start | 1. Out of fuel. 2. Engine not "CHoked" properly. 3. Engine flooded. 4. Bad spark plug. 5. Dirty air filter. 6. Dirty fuel filter. 7. Water in fuel. 8. Loose or damaged wiring. 9. Carburetor out of adjustment. 10. Engine valves out of adjustment. | 1. Fill fuel tank. 2. See "TO START ENGINE" in Operation section. 3. Wait several minutes before attempting to start. 4. Replace spark plug. 5. Clean/replace air filter. 6. Replace fuel filter. 7. Empty fuel tank and carburetor, refill tank with fresh gasoline and replace fuel filter. 8. Check all wiring. 9. See "To Adjust Carburetor" in Service Adjustments section. 10. Contact an authorized service center/department. |
| Hard to start | 1. Dirty air filter. 2. Bad spark plug. 3. Weak or dead battery. 4. Dirty fuel filter. 5. Stale or dirty fuel. 6. Loose or damaged wiring. 7. Carburetor out of adjustment. 8. Engine valves out of adjustment. | 1. Clean/replace air filter. 2. Replace spark plug. 3. Recharge or replace battery. 4. Replace fuel filter. 5. Empty fuel tank and refill tank with fresh, clean gasoline 6. Check all wiring. 7. See "To Adjust Carburetor" in Service Adjustments section. 8. Contact an authorized service center/department. |
| Engine will not turn over | 1. Clutch/brake pedal not depressed. 2. Attachment clutch is engaged. 3. Weak or dead battery. 4. Blown fuse. 5. Corroded battery terminals. 6. Loose or damaged wiring. 7. Faulty ignition switch. 8. Faulty solenoid or starter. 9. Faulty operator presence switch(es). | 1. Depress clutch/brake pedal. 2. Disengage attachment clutch. 3. Recharge or replace battery. 4. Replace fuse. 5. Clean battery terminals. 6. Check all wiring. 7. Check/replace ignition switch. 8. Check/replace solenoid or starter. 9. Contact an authorized service center/department. |
| Engine clicks but will not start | 1. Weak or dead battery. 2. Corroded battery terminals. 3. Loose or damaged wiring. 4. Faulty solenoid or starter. | 1. Recharge or replace battery. 2. Clean battery terminals. 3. Check all wiring. 4. Check/replace solenoid or starter. |
| Loss of power | 1. Cutting too much grass/too fast. 2. Throttle in "CHOKE" position. 3. Build-up of grass, leaves and trash under mower. 4. Dirty air filter. 5. Low oil level/dirty oil. 6. Faulty spark plug. 7. Dirty fuel filter. 8. Stale or dirty fuel. 9. Water in fuel. 10. Spark plug wire loose. 11. Dirty engine air screen/fins. 12. Dirty/clogged muffler. 13. Loose or damaged wiring. 14. Carburetor out of adjustment. 15. Engine valves out of adjustment. | 1. Raise cutting height/reduce speed. 2. Adjust throttle control. 3. Clean underside of mower housing. 4. Clean/replace air filter. 5. Check oil level/change oil. 6. Clean and regap or change spark plug. 7. Replace fuel filter. 8. Empty fuel tank and refill tank with fresh, clean gasoline 9. Empty fuel tank and carburetor, refill tank with fresh gasoline and replace fuel filter. 10. Connect and tighten spark plug wire. 11. Clean engine air screen/fins. 12. Clean/replace muffler. 13. Check all wiring. 14. See "To Adjust Carburetor" in Service Adjustments section. 15. Contact an authorized service center/department. |
| Excessive vibration | 1. Worn, bent or loose blade. 2. Bent blade mandrel. 3. Loose/damaged part(s). | 1. Replace blade. Tighten blade bolt. 2. Replace blade mandrel. 3. Tighten loose part(s). Replace damaged parts. |
TROUBLESHOOTING POINTS
| PROBLEM | CAUSE | CORRECTION |
| Engine dies when tractor is shifted into reverse | 1. Reverse operation system (ROS) is not "ON" while mower or other attachment is engaged. | 1. Turn ignition key to ROS "ON" position. See Operation section. |
| Engine continues to run when operator leaves seat with attachment clutch engaged | 1. Faulty operator-safety presence control system. | 1. Check wiring, switches and connections. If not corrected, contact an authorized service center/department. |
| Poor cut - uneven | 1. Worn, bent or loose blade.2. Mower deck not level.3. Buildup of grass, leaves, and trash under mower.4. Bent blade mandrel.5. Clogged mower deck vent holes from buildup of grass, leaves, and trash around mandrels. | 1. Replace blade. Tighten blade bolt.2. Level mower deck.3. Clean underside of mower housing.4. Replace blade mandrel.5. Clean around mandrels to open vent holes. |
| Mower blades will not rotate | 1. Obstruction in clutch mechanism.2. Worn/damaged mower drive belt.3. Frozen idler pulley.4. Frozen blade mandrel. | 1. Remove obstruction.2. Replace mower drive belt.3. Replace idler pulley.4. Replace blade mandrel. |
| Poor grass discharge | 1. Engine speed too slow.2. Travel speed too fast.3. Wet grass.4. Mower deck not level.5. Low/uneven tire air pressure.6. Worn, bent or loose blade.7. Buildup of grass, leaves and trash under mower.8. Mower drive belt worn.9. Blades improperly installed.10. Improper blades used.11. Clogged mower deck vent holes from buildup of grass, leaves, and trash around mandrels. | 1. Place throttle control in "FAST" position.2. Shift to slower speed.3. Allow grass to dry before mowing.4. Level mower deck.5. Check tires for proper air pressure.6. Replace/sharpen blade. Tighten blade bolt.7. Clean underside of mower housing.8. Replace mower drive belt.9. Reinstall blades sharp edge down.10. Replace with blades listed in this manual.11. Clean around mandrels to open vent holes. |
| Headlight(s) not working (if so equipped) | 1. Light switch is "OFF".2. Bulb(s) or lamp(s) burned out.3. Faulty light switch.4. Loose or damaged wiring.5. Blown fuse. | 1. Turn light switch "ON".2. Replace bulb(s) or lamp(s).3. Check/replace light switch.4. Check wiring and connections.5. Replace fuse. |
| Battery will not charge | 1. Bad battery cell(s).2. Poor cable connections.3. Faulty regulator (if so equipped).4. Faulty alternator. | 1. Replace battery.2. Check/clean all connections.3. Replace regulator.4. Replace alternator. |
| Engine "backfires" when turning engine "OFF" | 1. Engine throttle control not set between half and full speed (fast) position before stopping engine. | 1. Move throttle control between half and full speed (fast) position before stopping engine. |
SERVICE NOTES

NOI⊥∀RrE ∃S FERSEFTS 5NI⊥HDSFRFERSEFTS
EasyManual