PRO XT XT11530ES - Brush cutter POULAN - Free user manual and instructions
Find the device manual for free PRO XT XT11530ES POULAN in PDF.
Download the instructions for your Brush cutter in PDF format for free! Find your manual PRO XT XT11530ES - POULAN and take your electronic device back in hand. On this page are published all the documents necessary for the use of your device. PRO XT XT11530ES by POULAN.
USER MANUAL PRO XT XT11530ES POULAN
Read the Owner's Manual and follow allWarnings and Safety Instructions. Failure to do so can result in serious injury.
IMPORTANT
Safe Operation Practices for Walk-Behind Snow Throwers
This snow thrower is capable of amputating hands and feet and throwing objects.
Failure to observe the following safety instructions could result in serious injury.

Look for this symbol to point out important safety precautions. It means CAUTION!!! BECOME ALERT!!! YOUR SAFETY IS INVOLVED.

WARNING: Always remove safety ignition key and disconnect spark plug wire and place it where it cannot contact plug in order to prevent accidental starting when setting up, transporting, adjusting or making repairs.

WARNING: This snow thrower is for use on sidewalks, driveways and other ground level surfaces. Caution should be exercised while using on sloping surfaces. Do not use snow thrower on surfaces above ground level such as roofs of residences, garages, porches or other such structures or buildings.

WARNING: Snow throwers have exposed rotating parts, which can cause severe injury from contact, or from material thrown from the discharge chute. Keep the area of operation clear of all persons, small children and pets at all times including startup.

CAUTION: Muffler and other engine parts become extremely hot during operation and remain hot after engine has stopped. To avoid severe burns on contact, stay away from these areas.

WARNING: Engine exhaust, some of its constituents, and certain vehicle components contain or emit chemicals known to the State of California to cause cancer and birth defects or other reproductive harm.
Training
- Read, understand and follow all instructions on the machine and in the manual(s) before operating this unit. Be thoroughly familiar with the controls and the proper use of the equipment. Know how to stop the unit and disengage the controls quickly.
- Never allow children to operate the equipment. Never allow adults to operate the equipment without proper instruction.
- Keep the area of operation clear of all persons, particularly small children.
- Exercise caution to avoid slipping or falling, especially when operating the snow thrower in reverse.
Preparation
- Thoroughly inspect the area where the equipment is to be used and remove all doormats, sleds, boards, wires, and other foreign objects.
- Disengage all clutches and shift into neutral before starting the engine (motor).
- Do not operate the equipment without wearing adequate winter garments. Avoid loose fitting clothing that can get caught in moving parts. Wear footwear that will improve footing on slippery surfaces.
- Handle fuel with care; it is highly flammable
(a) Use an approved fuel container.
(b) Never add fuel to a running engine or hot engine.
(c) Fill fuel tank outdoors with extreme care. Never fill fuel tank indoors.
(d) Never fill containers inside a vehicle or on a truck or trailer bed with a plastic liner. Always place containers on the ground, away from your vehicle, before filling.
(e) When practical, remove gas-powered equipment from the truck or trailer and refuel it on the ground. If this is not possible, then refuel such equipment on a trailer with a portable container, rather than from a gasoline dispenser nozzle.
(f) Keep the nozzle in contact with the rim of the fuel tank or container opening at all times, until refueling is complete. Do not use a nozzle lock-open device.
(g) Replace gasoline cap securely and wipe up spilled fuel.
(h) If fuel is spilled on clothing, change clothing immediately.
- Use extension cords and receptacles as specified by the manufacturer for all units with electric drive motors or electric starting motors.
- Adjust the collector housing height to clear gravel or crushed rock surface.
- Never attempt to make any adjustments while the engine (motor) is running (except when specifically recommended by manufacturer).
- Always wear safety glasses or eye shields during operation or while performing an adjustment or repair to protect eyes from foreign objects that may be thrown from the machine.
Operation
- Do not put hands or feet near or under rotating parts. Keep clear of the discharge opening at all times.
- Exercise extreme caution when operating on or crossing gravel drives, walks, or roads. Stay alert for hidden hazards or traffic.
- After striking a foreign object, stop the engine (motor), remove the wire from the spark plug, disconnect the cord on electric motors, thoroughly inspect the snow thrower for any damage, and repair the damage before restarting and operating the snow thrower.
- If the unit should start to vibrate abnormally, stop the engine (motor) and check immediately for the cause. Vibration is generally a warning of trouble.
-
Stop the engine (motor) whenever you leave the operating position, before unclogging the collector/impeller housing or discharge chute, and when making any repairs, adjustments or inspections.
-
When cleaning, repairing or inspecting the snow thrower, stop the engine and make certain the collector/impeller and all moving parts have stopped. Disconnect the spark plug wire and keep the wire away from the plug to prevent someone from accidentally starting the engine.
- Do not run the engine indoors, except when starting the engine and for transporting the snow thrower in or out of the building. Open the outside doors; exhaust fumes are dangerous.
- Exercise extreme caution when operating on slopes.
- Never operate the snow thrower without proper guards, and other safety protective devices in place and working.
- Never direct the discharge toward people or areas where property damage can occur. Keep children and others away.
- Do not overload the machine capacity by attempting to clear snow at too fast a rate.
- Never operate the machine at high transport speeds on slippery surfaces. Look behind and use care when operating in reverse.
- Disengage power to the collector/impeller when snow thrower is transported or not in use.
- Use only attachments and accessories approved by the manufacturer of the snow thrower (such as wheel weights, counterweights, or cabs).
-
Never operate the snow thrower without good visibility or light. Always be sure of your footing, and keep a firm hold on the handles. Walk; never run.
-
Never touch a hot engine or muffler.
Clearing a Clogged Discharge Chute
Hand contact with the rotating impeller inside the discharge chute is the most common cause of injury associated with snow throwers. Never use your hand to clean out the discharge chute. To clear the chute:
- SHUT THE ENGINE OFF!
- Wait 10 seconds to be sure the impeller blades have stopped rotating.
- Always use a clean-out tool, not your hands.
Maintenance and Storage
- Check shear bolts and other bolts at frequent intervals for proper tightness to be sure the equipment is in safe working condition.
- Never store the machine with fuel in the fuel tank inside a building where ignition sources are present such as hot water heaters, space heaters, or clothes dryers. Allow the engine to cool before storing in any enclosure.
- Always refer to operator's manual for important details if the snow thrower is to be stored for an extended period.
- Maintain or replace safety and instruction labels, as necessary.
- Run the machine a few minutes after throwing snow to prevent freeze-up of the collector/impeller.
CONGRATULATIONS on your purchase of a new snow thrower. It has been designed, engineered and manufactured to give best possible dependability and performance.
Should you experience any problem you cannot easily remedy, please contact your nearest authorized service center. We have competent, well-trained technicians and the proper tools to service or repair this unit.
Please read and retain this manual. The instructions will enable you to assemble and maintain your snow thrower properly. Always observe the "SAFETY RULES".
SERIAL NUMBER:
DATE OF PURCHASE:
THE MODEL AND SERIAL NUMBERS WILL BE FOUND ON A DECAL ATTACHED TO THE REAR OF THE SNOW THROWER HOUSING.
YOU SHOULD RECORD BOTH SERIAL NUMBER AND DATE OF PURCHASE AND KEEP IN A SAFE PLACE FOR FUTURE REFERENCE.
PRODUCT SPECIFICATIONS
| Gasoline Capacity and Type: | 3.0 Quarts (2,83 Liters) Unleaded Regular only |
| Oil Type (API SG-SL): | SAE 5W-30 or 10W-30 Synthetic SAE 5W-30 |
| Oil Capacity: | 21 Ounces (0,6 Liters) |
| Spark Plug: | Champion QC12YC |
| Gap: | 0.030" (0,762 mm) |
CUSTOMER RESPONSIBILITIES
- Read and observe the safety rules.
- Follow a regular schedule in maintaining, caring for and using your snow thrower.
- Follow the instructions under "Maintenance" and "Storage" sections of this owner's manual.
TABLE OF CONTENTS
SAFETY RULES 2-3
PRODUCT SPECIFICATIONS 3
CUSTOMER RESPONSIBILITIES 3
ASSEMBLY / PRE-OPERATION 4-7
OPERATION 8-13
MAINTENANCE SCHEDULE 14
MAINTENANCE 14-15
SERVICE AND ADJUSTMENTS 16-18
STORAGE 19
TROUBLESHOOTING 20
REPAIR PARTS 22-40
WARRANTY BACK PAGE
PARTS PACKED SEPARATELY IN CARTON

(1) DISCHARGE CHUTE
(1) FUEL STABILIZER PACKET


SAFTEY IGNITION KEY(S) (193071)

(1) AUGER CONTROL ROD


(2) FLAT WASHERS

(2) CARRIAGE BOLTS 3/8-16 x 2.25

(2) HANDLE KNOBS

EXTRA SHEAR BOLTS AND NUTS
(2)SHOULDER
BOLT 1/4-20 x 1-3/4
(192090)

(2) LOCKNUTS
1/4-20
(73800400)

ROTATOR HEAD MOUNTING
(1) WASHER 3/8 (19131316)

(1) LOCKNUT 3/8 (73800600)
(3) RETAINER
SPRINGS
(169675)

CHUTE DEFLECTOR REMOTE CONTROL
(1) LOCKNUT 5/16-18 (751153)

1) CARRIAGE BOLT: 5/16-18 x 5/8 (72250505)

(1) LOCKNUT 1/4-20 (191730)

(1) SHOULDER BOLT 1/4-20 (179829)
(1) SPRING (184505)
Read these instructions and this manual in its entirety before you attempt to assemble or operate your new snow thrower. Reading the entire manual will familiarize you with the unit, which will assist you in assembly, operation and maintenance of the product.
Your new snow thrower has been assembled at the factory with the exception of those parts left unassembled for shipping purposes. All parts such as nuts, washers, bolts, etc., necessary to complete the assembly have been placed in the parts bag. To ensure safe and proper operation of your snow thrower, all parts and hardware you assemble must be tightened securely. Use the correct tools as necessary to ensure proper tightness.
REMOVE SNOW THROWER FROM CARTON
-
Remove all accessible loose parts and parts boxes from carton.
-
Cut down all four corners of carton and lay panels flat.
- Remove the two (2) screws securing the auger housing to the pallet.
- Remove all packing materials except plastic tie holding speed control rod to lower handle.
- Remove the two (2) plastic ties securing the upper handle to the pallet.
- Remove snow thrower from carton and check carton thoroughly for additional loose parts.
HOW TO SET UP YOUR SNOW THROWER
TOOL BOX (See Fig. 10)
A toolbox is provided on your snow thrower. The toolbox is located on top of the belt cover. Store the extra shear bolts, nuts and multi-wrench provided in parts bag in the toolbox.
NOTE: The multi-wrench may be used for assembly of the chute rotator head to snow thrower and making adjustments to the skid plates.
UNFOLD UPPER HANDLE
- Raise upper handle to the operating position and tighten handle knobs securely. Additional carriage bolts, washers and handle knobs are in bag of parts. Use to secure upper handle to lower handle. Install in lower holes in handles.
INSTALL SPEED CONTROL ROD (See Figs. 1 and 2)
- Remove plastic tie securing rod to lower handle.
- Insert rod into speed control bracket and secure with retainer spring.

FIG. 1

FIG. 2
INSTALL TRACTION DRIVE CONTROL ROD (See Figs. 3 and 4)
The traction drive control rod is installed on the snow thrower.
- Remove plastic tie securing rod to lower handle.
- With top end of rod positioned under left side of control panel, push rod down and insert top end of rod into hole in drive control bracket. Secure with retainer spring.

FIG. 3

FIG. 4
INSTALL AUGER CONTROL ROD (See Figs. 5 and 6)
- Retrieve vinyl sleeve and spring from bag of parts and retrieve the auger control rod from carton chute tray. Slide straight rod end through the small hole in the vinyl sleeve. Hook spring in hole in rod end.
- Hook end of spring into control arm with loop opening up as shown. (See Fig. 5)
- With top end of rod positioned under right side of control panel, push down on rod and insert end of rod into hole in auger control bracket. Secure with retainer spring.

FIG. 5

FIG. 6
INSTALL DISCHARGE CHUTE / CHUTE ROTATOR HEAD (See Fig. 7)
NOTE: The multi-wrench provided in your parts bag may be used to install the chute rotator head.
- Place discharge chute assembly on top of chute base with discharge opening toward front of snow thrower.
- Position chute rotator head over chute bracket. If necessary, rotate chute assembly to align square and pin on underside of chute rotator head with holes in chute bracket.
- With chute rotator head and chute bracket aligned, position chute rotator head on pin and threaded stud of mounting bracket.
- Install 3/8 washer and locknut on threaded stud and tighten securely.

FIG. 7
INSTALL CHUTE DEFLECTOR REMOTE CONTROL (See Figs. 8 and 9)
- Install remote cable bracket to discharge chute with 5/16-18 carriage bolt and 5/16-18 locknut as shown. Tighten securely.
- Install remote cable eyelet to chute deflector with 1/4-20 shoulder bolt and 1/4-20 locknut as shown. Tighten nut securely. Eyelet will be loose on shoulder bolt.
- Install spring hooks between hex nuts on chute rotater head and into hole in chute deflector as shown.

FIG. 8

FIG. 9
CHECK TIRE PRESSURE
The tires on your snow thrower were overinflated at the factory for shipping purposes. Correct and equal tire pressure is important for best snow throwing performance.
- Reduce tire pressure to 14-17 PSI.
OPERATION
KNOW YOUR SNOW THROWER
READ THIS OWNER'S MANUAL AND ALL SAFETY RULES BEFORE OPERATING YOUR SNOW THROWER. Compare the illustrations with your snow thrower to familiarize yourself with the location of various controls and adjustments. Save this manual for future reference.
These symbols may appear on your snow thrower or in literature supplied with the product. Learn and understand their meaning.

DANGER OR WARNING

ENGINE ON

ENGINE OFF

FAST

SLOW

CHOKE

PRIMER


FUEL

OIL

FORWARD

REVERSE
READ AND FOLLOW ALL SAFETY INFORMATION AND INSTRUCTIONS BEFORE USE OF THIS PRODUCT. KEEP THESE INSTRUCTIONS FOR FUTURE REFERENCE.

IGNITION KEY. INSERT TO START AND RUN, PULL OUT TO STOP.
DANGER

TO AVOID INJURY FROM ROTATING AUGER - KEEP HANDS,FEET AND CLOTHING AWAY.

DANGER
BLOCKAGES MUST NOT BE CLEARED OUT UNTIL THE ENGINE IS SHUT OFF, AND THE CLEAN OUT TOOL MUST BE USED. NEVER USE YOUR HAND TO CLEAN OUT THE CHUTE.


ENGAGED

DISENGAGED

TRACTION DRIVE CONTROL
DANGER

- READ AND FOLLOW OWNER'S MANUAL.
- NEVER ALLOW CHILDREN TO OPERATE SNOWTHROWERS.
- KEEP ALL SHIELDS AND GUARDS IN PLACE WHILE OPERATING.

- SHUT OFF ENGINE AND REMAIN BEHIND HANDLES UNTIL ALL MOVING PARTS HAVE STOPPED BEFORE UNCLOGGING OR SERVICING UNIT.

SNOW DISCHARGE
- TO AVOID THROWN OBJECT INJURIES NEVER DIRECT DISCHARGE AT BYSTANDERS. USE EXTRA CAUTION WHEN OPERATING ON GRAVEL SURFACES.
OPERATION

MEETS A.N.S.I. SAFETY REQUIREMENTS
Our snow throwers conform to the standards of the American National Standards Institute.
Toolbox - used to store spare shear bolts, locknuts and wrench.
Safety ignition key - must be inserted for the engine to start and run. Remove when snow thrower is not in use.
Electric start button - used for starting the engine.
Recoil (auxiliary) starter handle - used for starting the engine.
Primer - pumps additional fuel from the carburetor to the cylinder for use when starting a cold engine.
LH and RH turn triggers - used to steer the snow thrower.
Choke control - used for starting a cold engine.
ON / OFF switch - used to STOP the engine.
Traction drive control lever - used to engage powerpropelled forward or reverse motion of snow thrower.
Auger control lever - used to engage auger motion (throw snow).
Deflector remote control lever - used to change the distance the snow is thrown.
Discharge chute control lever - used to change the direction the snow is thrown.
Skid plate - used to adjust height of scraper bar from the ground.
OPERATION

The operation of any snow thrower can result in foreign objects thrown into the eyes, which can result in severe eye damage. Always wear safety glasses or eye shields while operating your snow thrower or performing any adjust-
ments or repairs. We recommend standard safety glasses or a wide vision safety mask worn over spectacles.
HOW TO USE YOUR SNOW THROWER
Know how to operate all controls before adding fuel or attempting to start the engine.
STOPPING
TRACTION DRIVE
- Release traction drive control lever to stop the forward or reverse movement of the snow thrower.
AUGER
- Release the auger control lever to stop throwing snow.
ENGINE
- Move ON / OFF switch to "OFF" position.
- Remove (do not turn) safety ignition key to prevent unauthorized use.
NOTE: Never use choke to stop engine.
TO USE CHOKE CONTROL (See Fig. 11)
The choke control is located on the engine. Use the choke control whenever you are starting a cold engine. Do not use to start a warm engine.
- To engage choke, turn knob counterclockwise. Slowly turn knob clockwise to disengage.

FIG. 11
TO CONTROL SNOW DISCHARGE (See Fig. 12)

WARNING: Snow throwers have exposed rotating parts, which can cause severe injury from contact, or from material thrown from the discharge chute. Keep the area of operation clear of all persons, small children and pets at all times including startup.

WARNING: If the discharge chute or auger become clogged, shut-off engine and wait for all moving parts to stop. Use the clean-out tool, NOT YOUR HANDS, to unclog the chute and/or auger.
The DIRECTION in which snow is to be thrown is controlled by the discharge chute control lever.
- To change the discharge chute position, press downward on discharge chute control lever and move lever left or right until chute is in desired position. Be sure lever springs back and locks into desired position.
The DISTANCE that snow is thrown is controlled by the position of the chute deflector. Set the deflector low to throw snow a short distance; set the deflector higher to throw snow farther.
- Press downward on chute deflector control lever and move lever forward to raise the deflector and increase the distance. Move lever back to lower the deflector and decrease the distance. Be sure lever springs back and locks into desired position.

FIG. 12
TO THROW SNOW (See Fig. 13)
The auger rotation is controlled by the auger control lever located on the right side handle.
- Squeeze auger control lever to handle to engage the auger and throw snow.
- Release the auger control lever to stop throwing snow.

FIG. 13
OPERATION
USING THE CLEAN-OUT TOOL (See Fig. 14)
In certain snow conditions, the discharge chute may become clogged with ice and snow. Use the clean-out tool to dislodge this blockage.
When cleaning, repairing, or inspecting, make certain all controls are disengaged and the auger/impeller and all moving parts have stopped. Disconnect the spark plug wire and keep the wire away from the spark plug to prevent accidental starting.
- Release the auger control lever and shut off the engine.
- Remove the clean-out tool from it's mounting clip. Grasp the tool firmly by the handle and push and twist the tool into the discharge chute to dislodge the blockage.
After the packed snow has been dislodged, return the clean-out tool to it's mounting clip by pushing it into the clip.
- Make sure the discharge chute is pointed in a safe direction (no vehicles, buildings, people, or other objects are in the direction of discharge) before restarting the engine.
- Restart the engine, then squeeze the auger control lever to the handle to clear snow from the auger housing and the discharge chute.

FIG. 14
TO MOVE FORWARD AND BACKWARD (See Fig. 15)
SELF-PROPELLING, forward and reverse movement of the snow thrower, is controlled by the traction drive control lever located on the left side handle.
- Squeeze traction drive control lever to handle to engage the drive system.
- Release traction drive control lever to stop the forward or reverse movement of the snow thrower.
SPEED and DIRECTION are controlled by the drive speed control lever.
- Press downward on the speed control lever and move lever to desired position BEFORE engaging the traction drive control lever. Be sure lever springs back and locks into desired position.
CAUTION: Do not move speed control lever when traction drive control lever is engaged. Damage to the snow thrower can result.
- Slower speeds are for heavier snow and faster speeds are for light snow and transporting the snow thrower. It is recommended that you use a slower speed until you are familiar with the operation of the snow thrower.
NOTE: When both traction drive and auger control levers are engaged, the traction drive control lever will lock the auger control lever in the engaged position. This will allow you to release your right hand from the handle and adjust the discharge chute direction without interrupting the snow throwing process.

FIG. 15
POWER STEERING OPERATION (See Fig. 16)
Steering triggers are used to assist in steering your snow thrower. The triggers are located on the underside of each handle. When a trigger is squeezed, it disengages the drive wheel on that side of snow thrower and allows it to turn in that direction.
To turn left - squeeze left side trigger.
To turn right - squeeze right side trigger.

FIG. 16
TO ADJUST SKID PLATES (See Fig. 17)
NOTE: The wrench provided in your parts bag may be used to adjust the skid plates.
Skid plates are located on each side of the auger housing and adjust the clearance between the scraper bar and the ground surface. Adjust skid plates evenly to proper height for current surface conditions. For removal of snow in normal conditions, such as a paved driveway or sidewalk, place skid plates in the highest position (lowest scraper clearance) to give a 1/8 clearance between the scraper bar and the ground. Use a middle position if the surface to be cleared is uneven.
NOTE: It is not recommended to operate the snow thrower over gravel or rocky surfaces. Objects such as gravel, rocks or other debris, can easily be picked up and thrown by the impeller, which can cause serious personal injury, property damage or damage to the snow thrower.
- If snow thrower must be operated over gravel surface, use extra caution and be sure skid plates are adjusted to lowest (highest scraper clearance) position.
- Shut off engine and wait for all moving parts to stop.
- Adjust skid plates by loosening the hex nuts, then moving skid plate to desired position. Be sure both plates are adjusted evenly. Tighten securely.

FIG. 17
SCRAPER BAR (See Fig. 17)
The scraper bar is not adjustable, but is reversible. After considerable use it may become worn. When it has worn almost to the edge of the housing, it can be reversed, providing additional service before requiring replacement. Replace a damaged or worn scraper bar.
BEFORE STARTING THE ENGINE
CHECK ENGINE OIL LEVEL (See Fig. 18)
The engine on your snow thrower has been shipped, from the factory, already filled with oil.
- Check engine oil with snow thrower on level ground.
- Remove oil fill cap/dipstick and wipe clean, reinsert the dipstick and screw tight, wait for a few seconds, remove and read oil level. If necessary, add oil until "FULL" mark on dipstick is reached. Do not overfill.
- To change engine oil, see "TO CHANGE ENGINE OIL" in the Maintenance section of this manual.
ADD GASOLINE (See Fig. 18)
- Fill fuel tank to bottom of tank filler neck. Do not overfill. Use fresh, clean, regular unleaded gasoline with a minimum of 87 octane. Do not mix oil with gasoline. Purchase fuel in quantities that can be used within 30 days to assure fuel freshness.

WARNING: Wipe off any spilled oil or fuel. Do not store, spill or use gasoline near an open flame.
CAUTION: Alcohol blended fuels (called gas-hol or using ethanol or methanol) can attract moisture which leads to separation and formation of acids during storage. Acidic gas can damage the fuel system of an engine while in storage. To avoid engine problems, the fuel system should be emptied before storage of 30 days or longer. Drain the gas tank, start the engine and let it run until the fuel lines and carburetor are empty. Use fresh fuel next season. See Storage Instructions for additional information. Never use engine or carburetor cleaner products in the fuel tank or permanent damage may occur.

FIG. 18
OPERATION
TO START ENGINE
Your snow thrower engine is equipped with both a 120 Volt A.C. electric starter and a recoil starter. The electric starter is equipped with a three-wire power cord and plug and is designed to operate on 120 Volt A.C. household current.
- Be sure your house is a 120 Volt A.C. three-wire grounded system. If you are uncertain, consult a licensed electrician.

WARNING: Do not use the electric starter if your house is not a 120 Volt A.C. three-wire grounded system. Serious personal injury or damage to your snow thrower could result.
COLD START - ELECTRIC STARTER
- Insert safety ignition key (tied to recoil start cord) into ignition slot until it clicks. DO NOT turn the key. Keep the extra safety ignition key in a safe place.
- Place ON / OFF switch in "ON" position.
- Rotate choke control to "FULL" position.
- Connect the power cord to the engine.
- Plug the other end of the power cord into a three-hole grounded 120 Volt A.C. receptacle.
NOTE: Do not use primer when starting engine with the electric starter.
- Push starter button until engine starts.
IMPORTANT: Do not crank engine more than five continuous seconds between each time you try to start. Wait 5 to 10 seconds between each attempt. - When the engine starts, release the starter button and slowly move the choke control to the "OFF" position.
- Disconnect the power cord from the receptacle first, then from the engine.
Allow the engine to warm up for a few minutes. Engine will not develop full power until it has reached normal operating temperature.
WARM START - ELECTRIC STARTER
Follow the steps above, keeping the choke control in the "OFF" position.
COLD START - RECOIL STARTER
- Insert safety ignition key (tied to recoil start cord) into ignition slot until it clicks. DO NOT turn the key. Keep the extra safety ignition key in a safe place.
- Place ON / OFF switch in "ON" position.
- Rotate choke control to "FULL" position.
- Push the primer four (4) times if the temperature is below 15^ , or two (2) times if temperature is between 15^ and 50^ . If temperature is above 50^ , priming is not necessary.
NOTE: Over priming may cause flooding, preventing the engine from starting. If you do flood the engine, wait a few minutes before attempting to start and DO NOT push the primer.
- Pull recoil starter handle quickly. Do not allow starter rope to snap back.
- When the engine starts, release the recoil starter handle and slowly move the choke control to the "OFF" position.
Allow the engine to warm up for a few minutes. Engine will not develop full power until it has reached normal operating temperature.
WARM START - RECOIL STARTER
Follow the steps above, keeping the choke in the “OFF” position. DO NOT push the primer.
BEFORE STOPPING
Run the engine for a few minutes to help dry off any moisture on the engine.
IF RECOIL STARTER HAS FROZEN
If the recoil starter has frozen and will not turn the engine, proceed as follows:
- Grasp the recoil starter handle and slowly pull as much rope out of the starter as possible.
- Release the recoil starter handle and let it snap back against the starter.
If the engine still fails to start, repeat the above steps or use the electric starter.
SNOW THROWING TIPS
- Go slower in deep, freezing or heavy wet snow. Use the drive speed control, NOT the ON / OFF switch, to adjust speed.
It is easier and more efficient to remove snow immediately after it falls. - The best time to remove snow is the early morning. At this time the snow is usually dry and has not been exposed to the direct sun and warming temperatures.
- Slightly overlap each successive path to ensure all snow will be removed.
- Throw snow downwind whenever possible.
- Adjust the skid plates to proper height for current snow conditions. See "TO ADJUST SKID PLATES" in this section of this manual.
- For extremely heavy snow, reduce the width of snow removal by overlapping previous path and moving slowly.
- Keep engine clean and clear of snow during use. This will help air flow and extend engine life.
After snow-throwing is completed, allow engine to run for a few minutes to melt snow and ice off the engine. - Clean the entire snow thrower thoroughly after each use and wipe dry so it is ready for next use.

WARNING: Do not operate snow thrower if weather conditions impair visibility. Throwing snow during a heavy, windy snowstorm can blind you and be hazardous to the safe operation of the snow thrower.
MAINTENANCE
| MAINTENANCE SCHEDULE FILL IN DATES AS YOU COMPLETE REGULAR SERVICE | |||||||||||
| THROwER | Check for Loose Fasteners | ✓ | ✓ | ||||||||
| Clean / Inspect Snow Thrower | ✓ | ✓ | |||||||||
| Check / Replace V-Belts | ✓ | ||||||||||
| Lubrication Chart | ✓ | ✓ | |||||||||
| ENGINE | Check Engine Oil Level | ✓ | |||||||||
| Change Engine Oil | ✓ | ||||||||||
| Inspect Muffler | ✓ | ||||||||||
| Check / Replace Spark Plug | ✓ | ||||||||||
| Empty Fuel Tank | ✓ | ||||||||||
GENERAL RECOMMENDATIONS
The warranty on this snow thrower does not cover items that have been subjected to operator abuse or negligence. To receive full value from the warranty, operator must maintain snow thrower as instructed in this manual. Some adjustments will need to be made periodically to properly maintain your snow thrower. All adjustments in the Service and Adjustments section of this manual should be checked at least once each season.
- Once a year, you should replace the spark plug and check belts for wear. A new spark plug will help your engine run better and last longer.
- Follow the maintenance schedule in this manual.
NOTE: Use only Original Equipment Manufacturer (OEM) parts to service this unit. Failure to do so can cause the unit to malfunction and pose a risk of injury to the operator.
BEFORE EACH USE
- Check engine oil level.
- Check for loose fasteners.
- Check controls to be sure they are functioning properly.
LUBRICATION
Keep your snow thrower well lubricated
(See "LUBRICATION CHART").
SNOW THROWER
Always observe the safety rules when performing any maintenance.
TIRES
- Maintain proper air pressure in both tires (14-17 P.S.I.).
- Keep tires free of gasoline and oil, which can harm rubber.
NOTE: To seal tire punctures and prevent flat tires due to slow leaks, tire sealant may be purchased from your local parts dealer. Tire sealant also prevents tire dry rot and corrosion.

LUBRICATION CHART
V-BELTS
Check V-belts for deterioration and wear after every 50 hours of operation and replace if necessary. The belts are not adjustable. Replace belts if they begin to slip from wear. (See "TO REMOVE BELT COVER" in the Service and Adjustments section of this manual).
The V-belts on your snow thrower are of special construction and should be replaced by original equipment manufacturer (OEM) belts available from your nearest dealer. Using other than OEM belts can cause personal injury or damage to
the snow thrower.
MAINTENANCE
AUGER GEAR CASE
- The gear case was filled with lubricant to the proper level at the factory. The only time the lubricant needs attention is if service has been performed on the gear case.
If lubricant is required, use only Ronex ED #1 grease.
DO NOT lubricate the drive components inside the snow thrower. The sprockets, hex shafts, drive disc and friction wheel require no lubrication. The bearings and bushings are lifetime lubricated and require no maintenance.
CAUTION: Any lubricating of the above components can cause contamination of the friction wheel and damage to the drive system of your snow thrower.
ENGINE
See engine manual.
LUBRICATION
Use only high quality detergent oil rated with API service classification SG-SL. Select the oil's SAE viscosity grade according to your expected operating temperature.
| SAE VISCOSITY GRADES | |||||
| 5W30 or 10W30 | |||||
| Synthetic | 5W30 or 10W30 | ||||
| °F | -20 | 0 | 30 | 32 | 40 |
| °C | -30 | -20 | -10 | 0 | 10 |
| TEMPERATURE RANGE ANTICIPATED BEFORE NEXT OIL CHANGE | |||||
NOTE: Although multi-viscosity oils (5W30, 10W30 etc.) improve starting in cold weather, these multi-viscosity oils will result in increased oil consumption when used above 32^ . Check your engine oil level more frequently to avoid possible engine damage from running low on oil.
Change the oil after every 25 hours of operation or at least once a year if the snow thrower is not used for 25 hours in one year.
Check the crankcase oil level before starting the engine and after each five (5) hours of continuous use. Tighten oil fill cap / dipstick securely each time you check the oil level.
TO CHANGE ENGINE OIL
Determine temperature range anticipated before next oil change. All oil must meet API service classification SG-SL.
- Be sure snow thrower is on level surface.
- Oil will drain more freely when warm.
Catch oil in a suitable container.
NOTE: The left side wheel may be removed from snow thrower for easier access to the oil drain plug and placement of a suitable container. The unit tilted, resting on the frame with the left wheel removed, will help drain any oil trapped inside the engine. (See "TO REMOVE WHEELS" in the Service and Adjustments section of this manual).
- Remove safety ignition key and disconnect spark plug wire from spark plug. Place wire where it cannot come in contact with plug.
- Clean area around drain plug.
- Remove drain plug and drain oil in a suitable container.
- Install drain plug and tighten securely.
- Wipe off any spilled oil from snow thrower and engine.
- Install left wheel (if removed for draining oil). Be sure to install klick pin into proper hole in wheel axle (See "TO REMOVE WHEELS" in the Service and Adjustments section of this manual).
- Remove oil fill cap/dipstick. Be careful not to allow dirt to enter the engine.
- Refill engine with oil through oil dipstick tube. Pour slowly. Do not overfill. For approximate capacity see "PRODUCT SPECIFICATIONS" section of this manual.
- Use gauge on oil fill cap/dipstick for checking level. Be sure dipstick cap is tightened securely for accurate reading. Keep oil at “FULL” line on dipstick.
- Wipe off any spilled oil.
MUFFLER
Inspect and replace corroded muffler as it could create a fire hazard and/or damage.
SPARK PLUG
Replace spark plug at the beginning of each season or after every 100 hours of operation, whichever occurs first. Spark plug type and gap setting are shown in the "PRODUCT SPECIFICATIONS" section of this manual.
CLEANING
IMPORTANT: For best performance, keep snow thrower housing free of any dirt or trash. Clean the outside of your snow thrower after each use.

WARNING: Remove safety ignition key and disconnect spark plug wire from spark plug. Place wire where it cannot come in contact with plug.
- Keep finished surfaces/wheels free of gasoline, oil, etc.
- We do not recommend using a garden hose to clean your snow thrower unless the electrical system, muffler and carburetor are covered to keep water out. Water in engine can result in shortened engine life.
SERVICE AND ADJUSTMENTS
WARNING: To avoid serious injury, before performing any service or adjustments:
- Be sure the on/off switch is in the OFF position.
- Remove safety ignition key.
- Make sure the augers and all moving parts have completely stopped.
- Disconnect spark plug wire from spark plug and place wire where it cannot come in contact with plug.
SNOW THROWER
TO ADJUST SNOW THROWER HEIGHT
See "TO ADJUST SKID PLATES" and "SCRAPER BAR" in the Operation section of this manual.
CHUTE DEFLECTOR
The chute deflector, attached to the top of the discharge chute, is provided to direct discharging snow away from the operator. If the deflector becomes damaged, it should be replaced.

WARNING: To avoid serious injury, never operate your snow thrower with the deflector removed or damaged.
- To change direction and/or distance snow is discharged, see "TO CONTROL SNOW DISCHARGE" in the Operation section of this manual.
SHEAR BOLTS (See Fig. 19)
AUGER SHEAR BOLTS
Both right and left-hand augers are secured to the auger shaft with a spacer, shear bolt and hex nut. Should a foreign object or ice become lodged in the augers, the shear bolts are designed to break, preventing damage to any other components. If one or both augers do not turn when auger control lever is engaged, check to see if one or both of the bolts have sheared. To replace the shear bolts:
- Disengage all controls and move throttle control to STOP position. Wait for all moving parts to stop.
- Remove safety ignition key and disconnect spark plug wire from spark plug. Place wire where it cannot come in contact with spark plug.
- Align hole in auger hub with hole in auger shaft and install a new 1/4 - 20 × 2 shear bolt. Install 1/4 - 20 lock nut and tighten securely.
CAUTION: Do not substitute. Use only original equipment shear bolts as supplied with your snow thrower.
- Insert safety ignition key and reconnect spark plug wire to spark plug.
IMPELLER SHEAR BOLTS
The impeller is secured to the impeller shaft with two (2) capscrew/shear bolts and hex nuts. Should a foreign object or ice become lodged in the impeller, the capscrews are designed to break, preventing damage to any other components. If impeller does not turn when auger control lever is engaged, check to see if the capscrews have sheared. To replace the capscrew/shear bolts:
-
Disengage all controls and move throttle control to STOP position. Wait for all moving parts to stop.
-
Remove safety ignition key and disconnect spark plug wire from spark plug. Place wire where it cannot come in contact with spark plug.
- Align holes in impeller hub with holes in impeller shaft and install two (2) new 1/4 - 20 × 1 - 5/8 capscrew/shear bolts. Install 1/4 - 20 locknuts and tighten securely.
CAUTION: Do not substitute. Use only original equipment capscrew/shear bolts as supplied with your snow thrower.
- Insert safety ignition key and reconnect spark plug wire to spark plug.

FIG. 19
TO REMOVE BELT COVER (See Fig. 20)
- Remove the two screws securing belt cover to frame.
- Remove belt cover.
- Replace belt cover by installing cover and screws and tighten securely.

FIG. 20
SERVICE AND ADJUSTMENTS
TO REPLACE BELTS (See Fig. 21)
The auger and traction drive belts are not adjustable. If the belts are damaged or begin to slip from wear, they should be replaced. It is recommended that the belt(s) be replaced by a service center/department.
NOTE: It is recommended that both the auger and traction drive belt be replaced at the same time.
The V-belts on your snow thrower are of special construction and should be replaced by original equipment manufacturer (OEM) belts available from your nearest service center/department. Using other than OEM belts can cause personal injury or damage to the snow thrower.

WARNING: Belt replacement requires separation of the snow thrower. While separating the auger housing from the frame assembly, it is important that an assistant stand in the operating position and hold the snow thrower handles. Serious personal injury and/ or damage to the unit could occur if the snow thrower should fall during the belt changing process.

- REMOVE GASOLINE FROM FUEL TANK - Drain gasoline from fuel tank into a suitable container, outdoors, away from fire or flame. Wipe up any spilled gasoline.
- REMOVE DISCHARGE CHUTE - Loosen locknut securing chute rotator head to mounting bracket only enough to allow chute rotator head to be raised and discharge chute to be removed from snow thrower.
- REMOVE BELT COVER - See "TO REMOVE BELT COVER" in this section of this manual.
- REMOVE ENGINE PULLEY - Remove bolt, flat washer securing pulley to engine crankshaft. Remove outside (auger) pulley only from crankshaft.
- SEPARATE SNOW THROWER - With your assistant standing in the operating position holding the handles, remove the two (2) bolts holding the auger housing and frame together.

WARNING: As the last bolt is removed, have your assistant carefully lower the handles down to the ground.
- REMOVE HAIRPIN FROM CLUTCH ROD and remove clutch rod from swing plate. Tip swing plate forward.
-
REMOVE AUGER BELT from around pulley.
-
RELIEVE TENSION ON TRACTION DRIVE BELT IDLER and remove traction drive belt from around pulleys.
HINT: Insert a 3/8 drive ratchet (in the "ON" position) into the square hole in idler arm and rotate ratchet clockwise to relieve tension. - With tension relieved on idler, install new traction drive belt around pulleys and inside belt keepers.
- Install clutch rod in swing plate; secure with hairpin.
- Place auger belt around and inside the groove of auger pulley only.
- While your assistant slowly raises handles to rejoin the auger housing and frame assembly, pull up on the auger belt and squeeze sides together above pulley so belt is fully seated in groove of pulley.
- Move idler arm so it does not hit impeller pulley as you bring snow thrower completely together and check carefully for proper routing of belts. If auger belt has become dislodged from the pulley (by catching the idler arm bracket while bringing snow thrower together), separate the snow thrower and repeat step 12. Belt must be fully seated in pulley groove when bringing the snow thrower together.
- Install the two (2) hex bolts and tighten securely.
- INSTALL ENGINE PULLEY - Place belt in pulley groove and slide pulley on crankshaft. Install flat washer, bolt and tighten securely (41-47 N-m torque). Make sure belt is inside belt keeper.
- INSTALL BELT COVER and two (2) screws. Tighten securely.
- INSTALL DISCHARGE CHUTE – See “INSTALL DISCHARGE CHUTE / CHUTE ROTATER HEAD” in the Assembly / Pre-Operation section of this manual.

FIG. 21
SERVICE AND ADJUSTMENTS
TO REMOVE WHEELS (See Fig. 22)
- Remove the klik pin and remove wheel from axle.
IMPORTANT: When installing wheel, be sure to use the axle hole closest to the end of the shaft – do not use the hole in the wheel hub (if equipped). Inner hole in axle and hole in wheel hub are not used for your model snowthrower.

FIG. 22
NOTE: To seal punctures or prevent flat tires due to slow leaks, tire sealant may be purchased from your local parts dealer. Tire sealant also prevents tire dry rot and corrosion.
TO ADJUST CABLE TENSION (See Fig. 23)
Adjust cable tension by turning the adjuster turn buckle, located on the right hand cable. Grasp the long section tightly and turn the short section to lengthen the adjuster. Adjust until cable is snug.

FIG. 23
ENGINE
See engine manual.
CARBURETOR
Your carburetor is not adjustable. Engine performance should not be affected at altitudes up to 7,000 feet (2,134 meters). If your engine does not operate properly due to suspected carburetor problems, take your snow thrower to a qualified service center.
ENGINE SPEED
Never tamper with the engine governor, which is factory set for proper engine speed. Overspeeding the engine above the factory high speed setting can be dangerous and will void the warranty. If you think the engine-governed high speed needs adjusting, contact a qualified service center, which has proper equipment and experience to make any necessary adjustments.
STORAGE
Immediately prepare your unit for storage at the end of the season or if the unit will not be used for 30 days or more.

WARNING: Never store the snow thrower with gasoline in the tank inside a building where fumes may reach an open flame, spark or pilot light as on a furnace, water heater, clothes dryer or gas appliance. Allow the engine to cool before storing in any enclosure.
SNOW THROWER
When snow thrower is to be stored for a period of time, clean it thoroughly, remove all dirt, grease, leaves, etc. Store in a clean, dry area.
- Clean entire snow thrower (See "CLEANING" in the Maintenance section of this manual).
- Inspect and replace belts, if necessary (See "TO REPLACE BELTS" in the Service and Adjustments section of this manual).
- Lubricate as shown in the Maintenance section of this manual.
- Be sure that all nuts, bolts, screws, and pins are securely fastened. Inspect moving parts for damage, breakage and wear. Replace if necessary.
- Touch up all rusted or chipped paint surfaces; sand lightly before painting.
ENGINE
See engine manual.
FUEL SYSTEM
IMPORTANT: It is important to prevent gum deposits from forming in essential fuel system parts such as carburetor, fuel hose, or tank during storage. Also, alcohol blended fuels (called gasohol or using ethanol or methanol) can attract moisture which leads to separation and formation of acids during storage. Acidic gas can damage the fuel system of an engine while in storage.
- Empty the fuel tank by starting the engine and letting it run until the fuel lines and carburetor are empty.
- Never use engine or carburetor cleaner products in the fuel tank or permanent damage may occur.
Use fresh fuel next season.
NOTE: Fuel stabilizer is an acceptable alternative in minimizing the formation of fuel gum deposits during storage. Add stabilizer to gasoline in fuel tank or storage container. Always follow the mix ratio found on stabilizer container. Run engine at least 10 minutes after adding stabilizer to allow the stabilizer to reach the carburetor. Do not drain the gas tank and carburetor if using fuel stabilizer.
ENGINE OIL
Drain oil (with engine warm) and replace with clean engine oil. (See "ENGINE" in the Maintenance section of this manual).
CYLINDER
- Remove spark plug.
- Pour one ounce (29 ml) of oil through spark plug hole into cylinder.
- Pull recoil starter handle slowly a few times to distribute oil.
- Replace with new spark plug.
OTHER
- Remove safety ignition key; store it in a safe place.
- Do not store gasoline from one season to another.
- Replace your gasoline can if your can starts to rust. Rust and/or dirt in your gasoline will cause problems.
If possible, store your snow thrower indoors and cover it to protect it from dust and dirt. - Cover your snow thrower with a suitable protective cover that does not retain moisture. Do not use plastic. Plastic cannot breathe, which allows condensation to form and will cause your snow thrower to rust.
IMPORTANT: Never cover snow thrower while engine/exhaust area is still warm.
TROUBLESHOOTING
See appropriate section in manual unless directed to an authorized service center/department.
| PROBLEM | CAUSE | CORRECTION |
| Does not start | 1. Fuel shut-off valve (if so equipped) in OFF position. 2. Safety ignition key is not inserted. 3. Out of fuel. 4. Throttle in STOP position (or ON/OFF switch is OFF). 5. Choke in OFF position. 6. Primer not depressed. 7. Engine is flooded. 8. Spark plug wire is disconnected. 9. Bad spark plug. 10. Stale fuel. 11. Water in fuel. | 1. Turn fuel shut-off valve to OPEN position. 2. Insert safety ignition key. 3. Fill fuel tank with fresh, clean gasoline. 4. Move throttle to FAST position (or ON/OFF switch to ON position). 5. Move to FULL position. 6. Prime as instructed in the Operation section of this manual. 7. Wait a few minutes before restarting, DO NOT prime. 8. Connect wire to spark plug. 9. Replace spark plug. 10. Empty fuel tank & carburetor, refill with fresh, clean gasoline. 11. Empty fuel tank & carburetor, refill with fresh, clean gasoline. |
| Loss of power | 1. Spark plug wire loose. 2. Throwing too much snow. 3. Fuel tank cap is covered with ice or snow. 4. Dirty or clogged muffler. | 1. Reconnect spark plug wire. 2. Reduce speed and width of swath. 3. Remove ice and snow on and around fuel tank cap. 4. Clean or replace muffler. |
| Engine idles or runs roughly | 1. Choke is in FULL position. 2. Blockage in fuel line. 3. Stale fuel. 4. Water in fuel. 5. Carburetor is in need of adjustment or overhaul. | 1. Move choke to OFF position. 2. Clean fuel line. 3. Empty fuel tank & carburetor, refill with fresh, clean gasoline. 4. Empty fuel tank & carburetor, refill with fresh, clean gasoline. 5. Contact an authorized service center/department. |
| Excessive vibration | 1. Loose parts or damaged augers or impeller. | 1. Tighten all fasteners. Replace damaged parts. If vibration remains, contact an authorized service center/department. |
| Recoil starter is hard to pull | 1. Frozen recoil starter. | 1. See “IF RECOIL STARTER HAS FROZEN” in the Operation section of this manual. |
| Loss of traction drive / slowing of drive speed | 1. Drive belt is worn. 2. Drive belt is off of pulley. 3. Friction drive wheel is worn. | 1. Check / replace drive belt. 2. Check / reinstall drive belt. 3. Contact an authorized service center/department. |
| Loss of snow discharge or slowing of snow discharge | 1. Auger belt is off of pulley. 2. Auger belt is worn. 3. Clogged discharge chute. 4. Augers / impeller jammed. | 1. Check / reinstall auger belt. 2. Check / replace auger belt. 3. Clean snow chute. 4. Remove debris or foreign object from augers / impeller. |

| KEY NO. | PART NO. | DESCRIPTION |
| 1 | 175321X479 | IMPELLER |
| 2 | 427148 | GEARBOX ASSEMBLY |
| 3 | 188909 | BEARING |
| 4 | 427146 | IMPELLER PULSEY |
| 5 | 175322 | DISCHARGE BASE |
| 6 | 178675X008 | CORNER BRACKET |
| 7 | 192199 | CLEAN OUT TOOL |
| 8 | 405400 | TOOL CLIP |
| 9 | 73800400 | NUT 1/4-20 |
| 10 | 74780426 | SCREW 1/4-20 X .625 |
| 11 | 427942 | NUT 5/16-18 |
| 12 | 163183 | SCREW 5/16-18 X .625 |
| 13 | 427145 | IMPELLER HUB |
| 14 | 427154 | IMPELLER SLEEVE |
| 15 | 73900600 | NUT 3/8-16 |
| 16 | 180355 | CARRIAGE BOLT |
| 17 | 194189 | SCREW 13-16 X .625 |
| 18 | 407760 | PLUG |
| 19 | 427302 | GEARBOX COVER RH |
| 20 | 427345 | GASKET |
| 21 | 407770 | SEAL |
| 22 | 407762 | BEARING |
| 23 | 174697 | THRUST WASHER 1.00 |
| 24 | 407763 | WORM GEAR |
| 25 | 407764 | AUGER SHAFT |
| 26 | 189282 | SQUARE KEY |
| 27 | 407758 | BEARING |
| 28 | 174683 | THRUST WASHER |
| 29 | 427147 | IMPELLER SHAFT |
| 30 | 7836M | ROLL PIN |
| 31 | 174681 | THRUST WASHER |
| 32 | 174684 | THRUST BEARING |
| 33 | 407769 | BEARING |
| 34 | 407768 | O-RING |
| 35 | 407767 | SCREW 5/16-18 X .750 |
| 36 | 427317 | GEARBOX COVER LH |
| 37 | 192090 | SHEAR BOLT |

KEY PART NO. NO.
1 404930X505
2 404933X479
3 72270505
4 155377
DESCRIPTION
AUGER HOUSING
SCRAPPER BAR
CARRIAGE BOLT5/16-18X.625
NUT 5/16-18

KEY PART NO. NO.
1 420497X479
2 420498X479
DESCRIPTION
AUGER ASSEMBLY 30 LH
AUGER ASSEMBLY 30 RH



KEY PART NO. NO.
1 174762X479
2 178777X479
3 72270506
4 751153
DESCRIPTION
SKID PLATE LH
SKID PLATE RH
CARRIAGE BOLT 5/16-18 X .75
NUT 5/16-18

NOTE:
- ALL ITEMS INDICATED WITH AN * ARE PROVIDED IN THE BAG OF ITEMS SHIPPED LOOSE WITH PRODUCT. 2. ITEMS 13 AND 14 ARE SERVICE PART NUMBERS TO ALLOW PURCHASE OF INDIVIDUAL ITEMS IF NECESSARY.

KEY PART
NO. NO.
DESCRIPTION
1 428272
LEVER/CABLE ROTATOR ASSEMBLY
2 17501010
SCREW 10-24 X .625
*3 420678
ROTATOR HEAD
*4 405932
ROTATOR PIVOT BRACKET
*5 420675
PULLEY PIVOT
*6 428273
CABLE ASSEMBLY ADJUSTABLE
*7 428310
CABLE ASSEMBLY HEAT SHIELD
NOTES:
- ITEMS INDICATED WITH AN * ARE LISTED AS REFERENCE FOR SERVICE PARTS ONLY.

KEY PART
NO. NO.
DESCRIPTION
1 421249
STEER CABLE
2 74041024
SCREW 10-24 X 1.50

KEY PART
NO. NO.
1 419798X479 LOOP HANDLE LH
2 419799X479 LOOP HANDLE RH
3 74780524 SCREW 5/16-18 X 1.50
4 751153 NUT 5/16-18
LOOP HANDLE LH
LOOP HANDLE RH
SCREW 5/16-18 X 1.50
NUT 5/16-18

KEY PART
NO. NO.
1 419797X479 LOWER TUBE
2 418313X479 PIVOT SUPPORT
3 428867 BOLT 5/16-18 X .750
4 17000616 SCREW3/8-16X1.00
DESCRIPTION

KEY PART NO. NO.
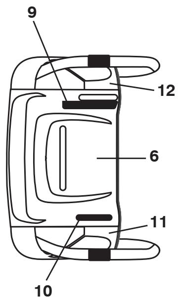
1 180480
2 405740
3 180445
4 187716
5 180447
6 178669
7 180926
8 72270505
9 155377
10 169675
DESCRIPTION
IMPELLER ROD
TRACTION ROD
SHIFTER ROD TOP
SHIFTER ROD BOTTOM
SPRING SLEEVE
IMPELLER SPRING
TRACTION SPRING
CARRIAGE BOLT 5/16-18 X .625
NUT 5/16-18
RETAINER

KEY PART
NO. NO.
DESCRIPTION
1 412683X479 CONTROL PANEL
2 424517X479 CONTROL LEVER LH
3 424516X479 CONTROL LEVER RH
4 426917X008 TRACTION ROD ARM
5 426918X008 IMPELLER ROD ARM
6 412677 INTERLOCK BAIL
7 421613 SPACER
8 169675 RETAINER
9 17060410 SCREW 1/4-20 X .62
10 414280 KNOB BLACK
11 414281 KNOB RED
12 178899 HANDLE KNOB
13 19131316 WASHER 3/8
14 72120618 CARRIAGE BOLT 3/8-16 X 2.25


01.08.007-B
| KEY NO. | PART NO. | DESCRIPTION |
| 1 | 412675X004 | INTERLOCK SPRING |
| 2 | 414572 | INTERLOCK CAM |
| 3 | 178831 | TORSION SPRING |
| 4 | 169675 | RETainer |
| 5 | 17060410 | SCREW 1/4-20 X .625 |
| 6 | 421252X004 | INTERLOCK STOP |

| KEY NO. | PART NO. | DESCRIPTION |
| 1 | 182906 | CONSOLE PANEL |
| 2 | 178668 | HEADLIGHT BEZEL |
| 3 | 180927 | FLOOD HEADLIGHT |
| 4 | 184471 | SHOULDERSCREW10-24X.625 |
| 5 | 175262 | SCREW 10-24 X 1.25 |
| 6 | 178770 | WIRE HARNESS |
| 7 | 183784 | BULB |

| KEY NO. | PART NO. | DESCRIPTION | KEY NO. | PART NO. | DESCRIPTION |
| 1 | 198875 | SPEED SELECTOR | 27 | 179831 | RUBBER RING |
| ASSEMBLY | 28 | 175344 | BEARING | ||
| 2 | 17501010 | SCREW 10-24 X .625 | 29 | 178613 | WHEEL HUB |
| 3 | 402685X505 | END PLATE | 30 | 74760514 | SCREW 5/16-18-.875 |
| 4 | 17490508 | SCREW 5/16-18 X .50 | 31 | 12000012 | RETainer RING |
| 5 | 57079 | WASHER | 32 | 402187 | SPROCKET SHAFT |
| 6 | 405485 | CONTROL ARM | 33 | 401619 | CHAIN |
| 7 | 198580 | CLEVIS PIN | 34 | 417234 | SPROCKET WELDMENT |
| 8 | 403097X004 | SHIFTER PLATE | 35 | 401984X479 | SHIFTER BRACKET |
| 9 | 402881 | SHOULDER BOLT | 36 | 180135 | SPRING |
| 10 | 403096X004 | SHIFTER BRACKET | 37 | 402652 | PLATE PIVOT ROD |
| 11 | 191730 | NUT 1/4-20 | 38 | 428288 | E-RING .375 |
| 12 | 402856X004 | CLUTCH PLATE | 39 | 184471 | SHOULDER SCREW |
| 13 | 416717X004 | CLUTCH BRACKET | 40 | 410877 | BOTTOM PAN |
| 14 | 187101 | SHIFTER LINK | 41 | 413429X479 | SPRING BRACKET |
| 15 | 700279 | RETainer | 42 | 402689 | DRIVE PLATE ASSEMBLY |
| 16 | 427542 | CONTROL SHAFT | 43 | 414557 | IDLER SPRING |
| 17 | 402568 | CLUTCH ROD | 44 | 178828 | IDLER SPRING |
| 18 | 169675 | RETainer | 45 | 402504X008 | PULLEY SHAFT |
| 19 | 401732 | SHIFTER YOKE | 46 | 401820 | DRIVE PLATE |
| 20 | 402310 | PIVOT ROD | 47 | 198791 | BEARING |
| 21 | 12000036 | RETainer | 48 | 402393 | PULLEY HALF |
| 22 | 402878 | RETURN SPRING | 49 | 17541008 | SCREW 10-24 X .50 |
| 23 | 751153 | NUT 5/16-18 | 50 | 402511 | SPACER BEARING |
| 24 | 408981 | BEARING | 51 | 418894X479 | SWING PLATE |
| 25 | 73930500 | NUT 5/16-18 | 52 | 132010 | NUT 3/8-16 |
| 26 | 198176X479 | RUBBER WHEEL PLATE | 53 | 428867 | SCREW 5/16-18 X .750 |

KEY PART NO. NO.
| 1 | 404923 | AXLE ASSEMBLY (assy of 1a,1b) |
| 1a | 404307 | AXLE SHAFT |
| 1b | 9456M1 | ROLL PIN 3/16 X 1.50 |
| 2 | 402691 | SPROCKET |
| 3 | 174697 | THrust WASHER |
| 4 | 179830 | BEARING |
| 5 | 146315 | SCREW 5/16-18 X .625 |
| 6 | 17490508 | SCREW 5/16-18 X .500 |
| 7 | 155443 | KLIK PIN 1/4 X 1.50 |
| 8 | 189282 | SQUARE KEY |


KEY PART
NO. NO.
1 418694X505
2 150406
3 428867
DESCRIPTION
B&S ENGINE MODEL
15C114-8240-E8
FRAME
BOLT 3/8-16
SCREW 5/16-18 X .750

KEY PART
NO. NO.
1 423185X505
DESCRIPTION
ENGINE MOUNTING PLATE

KEY PART NO. NO.
1 408007 IMPELLER BELT
2 419744 TRACTION BELT
3 423723X479 IDLER ARM BRACKET
4 180523 IDLER PULSEY
5 426589 NUT 5/16-18
6 74780524 SCREW 5/16-18 X 1 .50
7 423990X479 IDLER BRACKET
8 428867 SCREW 5/16-18 X .625
9 424297 SHOULDER BOLT 5/16-18 X .500
10 751153 NUT 5/16-18 NYLOCK
11 187786 TRACTION IDLER ARM
12 180522 TRACTION PULSEY
13 74780520 SCREW 5/16-18 X 1 .00
14 59289 WASHER
15 73800500 NUT 5/16-18
16 851084 SCREW 3/8-24 X 1.375
17 400026 WASHER
18 426491 PULLEY ENG IMPELLER
19 426490 PULLEY ENG TRACTION
20 74610516 SCREW 5/16-18 X 1.00
21 10040500 LOCKWASHER 5/16
22 155452 BELT GUIDE
23 11050500 LOCKWASHER 5/16
24 175331 IDLER BUSHING

KEY PART NO. NO.
1 428684 COVER ASSEMBLY
DESCRIPTION

KEY PART NO. NO.
1 405161
2 184471
3 12000045
4 192126
5 182466
6 187622
7 194941
8 179139
9 189282
10 194940
11 174697
12 193506X479
13 179148X479
14 17490508
15 194943X008
16 194944X008
17 181847
18 17600406
19 405077
20 700279
21 85179
22 193885
23 182015
24 194939X008
DESCRIPTION
COVER
SHOULDER SCREW
RETAINER RING
WHEEL DRIVER
RETAINER RING
WHEEL LOBE
CLUTCH SLIDE
SPRING
SQUARE KEY
AXLE LOBE
THRUST WASHER
STEERING YOKE
STEERING BRACKET
SCREW 5/16-18 X .50
PIVOT BRACKET
BELLCRANK
BELLCRANK PIN
SCREW 1/4-20 X .375
STEERING LINK
RETAINER
RETAINER
SPRING
LEVER PIN
PIVOT BRACKET



KEY PART NO. NO.
1 410293
2 410294
3 17060410
DESCRIPTION
CABLE BRACKET LH
CABLE BRACKET RH
SCREW 1/4-20 X .625
REPAIR PARTS WHEELS
SNOW THROWER - MODEL XT11530ES (96192003501)


KEY NO.
PART NO.
1
192092X428
192093X428
DESCRIPTION
WHEEL 16X4.80XLH
WHEEL 16 X 4.80 X RH


KEY PART NO. NO.
1 198563 POWER CORD
2 169675 RETAINER PIN
3 180684X008 WRENCH
4 184505
5 179829 SHOULDBOLT 1/4-20
6 191730 LOCKNUT 1/4-20
7 72250505 CARRIAGE BOLT 5/16-18 X 5/8
8 751153 LOCKNUT 5/16-18
9 73800600 LOCKNUT 3/8-16
10 19131316 WASHER 3/8
11 192090 SHEAR BOLT 1/4-20 X 1-13/16
12 73800400 LOCKNUT 1/4-20

01.14.007-A
KEY PART
NO. NO.
1 193071
DESCRIPTION
SAFETY IGNITION KEY


KEY PART NO. NO.
1 180445 SHIFTER ROD TOP
2 187716 SHIFTER ROD BOTTOM
3 72270505 CARRIAGE BOLT 5/16-18 X.75
4 155377 NUT 5/16-18


KEY PART NO. NO.
1 181037
3 181035
4 181042
6 181033
9 415475
10 183730
11 415399
12 415398
429884
429885
DESCRIPTION
DECAL, DANGER
DECAL, DANGER, DEFLECTOR
DECAL, DANGER
DECAL, INSTRUC.
DECAL, REMOTE DEFLEC. CONTROL
DECAL, REMOTE DEFECTOR CONTROL
DECAL, TRIGGER LH
DECAL, TRIGGER RH
OWNER'S MANUAL, ENGLISH
OWNER'S MANUAL, FRENCH
SERVICE NOTES
LIMITED WARRANTY
The Manufacturer warrants to the original consumer purchaser that this product as manufactured is free from defects in materials and workmanship. For a period of two (2) years from date of purchase by the original consumer purchaser, we will repair or replace, at our option, without charge for parts or labor incurred in replacing parts, any part which we find to be defective due to materials or workmanship. This Warranty is subject to the following limitations and exclusions.
- This warranty does not apply to the engine or components parts thereof. Please refer to the applicable manufacturer's warranty on these items.
- Transportation charges for the movement of any power equipment unit or attachment are the responsibility of the purchaser. Transportation charges for any parts submitted for replacement under this warranty must be paid by the purchaser unless such return is requested by the manufacturer.
- The Warranty period for any products used for rental or commercial purposes is limited to 90 days from the date of original purchase.
- This Warranty applies only to products which have been properly assembled, adjusted, operated, and maintained in accordance with the instructions furnished. This Warranty does not apply to any product which has been subjected to alteration, misuse, abuse, improper assembly or installation, delivery damage, or to normal wear of the product.
- Exclusions: Excluded from this Warranty are belts, shear pins, normal wear, normal adjustments, standard hardware and normal maintenance.
- In the event you have a claim under this Warranty, you must return the product to an authorized service dealer. Should you have any unanswered questions concerning this Warranty, please contact:
Poulan Pro
Customer Service Department
1030 Stevens Creek Road
Augusta, GA 30907 USA
In Canada contact:
Poulan, Customer Service Department
5855 Terry Fox Way
Mississauga, Ontario
L5V 3E4
giving the complete mfg. ID#, serial number and date of purchase of your product and the name and address of the authorized dealer from whom it was purchased.
THIS WARRANTY DOES NOT APPLY TO INCIDENTAL OR CONSEQUENTIAL DAMAGES AND ANY IMPLIED WARRANTY ARE LIMITED TO THE SAME TIME PERIODS STATED HEREIN FOR OUR EXPRESSED WARRANTY. Some areas do not allow the limitation of consequential damages or limitations of how long an implied Warranty may last, so the above limitations or exclusions may not apply to you. This Warranty gives you specific legal rights, and you may have other rights which vary from locale to locale.
This is a limited Warranty within the meaning of that term as defined in the Magnuson-Moss Act of 1975.
EasyManual