ACCESS SUBWOOFERS - Subwoofers FOCAL - Free user manual and instructions
Find the device manual for free ACCESS SUBWOOFERS FOCAL in PDF.
User questions about ACCESS SUBWOOFERS FOCAL
0 question about this device. Answer the ones you know or ask your own.
Ask a new question about this device
Download the instructions for your Subwoofers in PDF format for free! Find your manual ACCESS SUBWOOFERS - FOCAL and take your electronic device back in hand. On this page are published all the documents necessary for the use of your device. ACCESS SUBWOOFERS by FOCAL.
USER MANUAL ACCESS SUBWOOFERS FOCAL
Congratulations on choosing Focal automobile vented box. To gain the best results from your speaker, please ensure you follow these recommendations, and keep carefully this user manual so that you can consult it later. If not followed correctly any fault observed may not be covered by the guarantee.
Cables
For optimum performance the use of OFC cable (Oxygen Free Cable), to a sufficient thickness (2.5mm^2) is highly recommended. This is particularly important in the case of long cable lengths being used in the installation. We recommend the use of Focal cables FC500 or FC700. Check with your local Focal dealer for further advice.
Connecting up
Always check the polarity to the subwoofer, and that of the other speakers used in your installation. The polarity is important to ensure the phase characteristics remain correct, otherwise a "loss" of performance can result. The spring action input terminals are clearly marked red spot = positive (+) and black spot = negative (-). These subwooers can be mounted in the traditional sense with the membrane on view externally, or inverted mounting with the motor unit and its chrome back plate on display. Inverted mounting helps increasing the volume for the given space available. When choosing inverted mounting the phase must be inverted (thus swap the positive / to negative connections) so that the polarity is correctly observed.

Warning
The 30 A1 DB subwoofer uses two voice coils of 4 Ohms each. Please refer to page 3 to connect this product.
Multi-subwoofer installations
To obtain a more powerful acoustic presence, we recommend the introduction of multiple subwoofoers for your chosen installation. Using multiple subwoofoers, various series or parallel or combinations of both can be used, but always check the specifications of the power source (amplifier) before attempting any installation. It is worth remembering if low impedance of 2 or even 1 ohm is chosen an amplifier of high quality should always be used for such installation.
Connections in parallel
Normally the terminal positive (+) on the subwoofer will be connected to the equally marked positive (+) on the amplifier, and the terminal negative (-) on the subwoofer to the equally marked negative (-) on the amplifier.
Calculation of the impedance is (Z), for the given impedance value nominal (R), is 4 ohms.
- 2 subwoofoers: 1 / Z = 1 / R1 + 1 / R2
- 3 subwoofoers: 1 / Z = 1 / R1 + 1 / R2 + 1 / R3
Z=2Ω
Z = 1,33
THE FOCAL GUARantee ONLY APPLIES IF PAGE 31 IS RETURNED TO US WITHIN 10 DAYS OF PURCHASE.
C E
Focal® is a trademark of Focal-JMlab® - BP 374 - 108, rue de l'Avenir - 42353 La Talaudière cedex - France - Tel. [+33] 04 77 43 57 00 - Fax [+33] 04 77 43 57 04 - www.focal-fr.com
Z = 1,33



Connections in series
Using multiples of subwoofoers for such comprehensive installations, it is sometimes better to connect them together in a series circuit. Using a low impedance load to the amplifier effectively ensures it will work less hard. For connecting the subwoofoers, they are effectively looped together in any series circuit.
Thus the positive (+) of 1st subwoofer will be connected to the positive (+) of the amplifier.
The negative (-) of the 1st subwoofer will be connected to the positive (+) of the 2nd subwoofer.
Then depending on how many subwoofoers are to be included this looping will continue, until the last (in this basic case the 2nd subwoofer), will have its negative (-) connected to the negative (-) of the amplifier.
Calculation of the impedance is (Z), for the given impedance value nominal (R), is 4 ohms.
- 2 subwoofoers: Z = R1 + R2
Z = 4 +4
Z = 8
Connections series and parallel, combined
Depending on your installation amplifier(s), subwoofer(s), various combinations of series and parallel circuits can be used. The real advantage of doing this is to have a system with available power, but at the same time to ensure the system impedance load is optimum for the amplifier(s) used.
Connection diagrams for the 25 A1 and 30 A1

Examples and configurations for various multiples of subwoofoers:

2 subwoofoers 25 A1 or 30 A1 in parallel. Z = 2

3 subwoofoers 25 A1 or 30 A1 in parallel. Z = 1,33
Connection diagrams for the 30 A1 DB
Four examples:

Connect in parallel the 2 voice coils Z = 2

Connect in series the 2 voice coils Z = 8

Connection using 2 amplifiers (mono)

Connection using 1 amplifier (stereo)
Examples and configurations for various multiples of subwoofoers:

2 subwoofoers both in parallel. Z = 1

2 subwoofoers connected in series / parallel. Z = 4

3 subwoofoers connected in series / parallel. Z = 2,66
ACCESS SUBWOOFERS
User Manual
4
Adjustment of low cut off frequency
The cut off frequency of a subwoofer is normally in the region of 60 to 100Hz . This is always dependent on the particular installation and listening position. A frequency of 80Hz is a good compromise for effective bass compared to listening quality.
Enclosures
Access subwoofoers were developed for vented or sealed box according to the reference of the product.

Warning
The 25 A1 and 30 A1 must only be used in a vented box. Please refer to pages 6 and 7 for more information.

Warning
The 30 A1 DB must only be used in a sealed box. Please refer to page 8 for more information.
Building an enclosure
The construction should always remain strong and rigid, to eliminate any unwanted resonances.
A good material such as MDF (Medium Density Fibreboard) will effectively ensure this is possible. Choosing the correct thickness of MDF compared to the surface area decided, is also critical to ensure the enclosure does not vibrate. For this reason the general thickness recommended is 19mm MDF. Any loose components such as the internal connections and cables should always be fixed securely inside. Damping material (foam etc) covering all the internal walls of the enclosure, will further ensure it is free from unwanted resonances. It is imperative that your custom designed subwoofer enclosure remains securely mounted at all times to the vehicle.

Warning!
The improved power handling has allowed Focal subwoofoers to play at very loud sound volumes. For this reason, we recommend caution be wisely applied, especially during long listening periods. Excessive volume levels of more than 110dB can cause permanent hearing damage.
Recommended power ratings
Access subwoofoers are already highly efficient, with improved sensitivity. Therefore, their use with amplifiers will produce comfortable listening pleasure.
However used in a more high-end system, with more powerful amplification, the audio quality will be greatly improved. It is very important to check that rated power of the amplifier is suitable to the subwoofoers. Otherwise they may distort, or possible damage could occur.
Always consult the owners manual of the principal source (head unit/amplifier), to ensure the power rating is compatible. A safe guide is to ensure the maximum power of the amplifier is not greater than the nominal power of the speakers.
ACCESS SUBWOOFERS
User Manual
Technical characteristics
| 25 A1 | 30 A1 | 30 A1 DB | |
| Impedance | 4 Ω | 4 Ω | 2 x 4 Ω |
| Nominal power handling | 200W | 250W | 250W |
| Maximum power handling | 400W | 500W | 500W |
| Sensitivity (2.83 V / 1m) | 92dB | 94dB | 91dB |
| Fitting diameter | 9-1/8" (232mm) | 10-13/16" (275mm) | 10-3/4" (273mm) |
| Mounting depth | 4-1/16" (103mm) | 4-11/16" (119mm) | 5-15/16" (151mm) |
Parameters
| 25 A1 | 30 A1 | 30 A1 DB | |
| Sd | 339.79cm2 | 510.71cm2 | 510.71cm2 |
| Xmax | 5.5mm | 5.5mm | 5.5mm |
| Fs | 40.61Hz | 37.4Hz | 36.84Hz |
| Qes | 0.4 | 0.45 | 0.67 |
| Qms | 8.65 | 6.37 | 7.38 |
| Qts | 0.382 | 0.42 | 0.62 |
| Vas | 24.34 litres | 52.97 litres | 52.5 litres |
| Re | 3.35 Ω | 3.2 Ω | 1.84 Ω |
| Mms | 102.35g | 125.24g | 130.23g |
| BI | 14.79N/A | 14.47N/A | 9.07N/A |
| Le | 1.07mH | 1.04mH | 1.13mH |
Guarantee
All Focal loudspeakers are covered by guarantee drawn up by the official Focal distributor in your country. Your distributor can provide all details concerning the conditions of guarantee. Guarantee cover extends at least to that granted by the legal guarantee in force in the country where the original purchase invoice was issued.

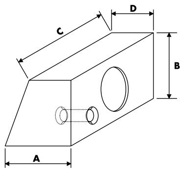
25 A1 - Vented enclosure Frequency response
20 litres (0.70 cu.ft)
Fast and tight bass
25 litres (0.88 cu.ft)
Punchy and dynamic bass (best compromise)
30 litres (1.06 cu.ft)
Deep and articulate bass
| 20l | 25l | 30l | 35l | 40l | |
| F-3 | 48Hz | 42Hz | 38Hz | 38Hz | 37Hz |
| Fb | 53Hz | 46Hz | 46Hz | 43Hz | 42Hz |
| Boost max. | 2.5dB/65Hz | 1dB/55Hz | - | 1.5dB/47Hz | 1.5dB/46Hz |
Calculating the internal volume

Internal volume calculation:
Vb=BxC×{D+(A-D)/2}
| Internal volume1 | 20l | 25l | 30l | 35l | 40l |
| A | 300 | 330 | 370 | 370 | 370 |
| 11.81" | 13" | 14.57" | 14.57" | 14.57" | |
| B | 300 | 330 | 370 | 370 | 370 |
| 11.81" | 13" | 14.57" | 14.57" | 14.57" | |
| C | 410 | 390 | 380 | 435 | 490 |
| 16.14" | 13.35" | 14.96" | 17.13" | 19.29" | |
| D | 190 | 210 | 237 | 237 | 237 |
| 7.48" | 8.27" | 9.33" | 9.33" | 9.33" | |
| 25 A1 vents2 | 9 x 27 | 8x23 | 8x25 | 8 x 17 | 8 x 15 |
| 3.5x10.6" (angled) | 3.1x9" | 3.1x9.8" | 3.1x6.7" | 3.1x5.9" |
1 - External sizes in inches and millimetres with sides of 19 mm thickness
2 - (0 x L) in cm

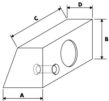
30 A1 - Vented enclosure Frequency response
30 litres (1.06 cu.ft)
Fast and tight bass
35 litres (1.24 cu.ft)
Punchy and dynamic bass (best compromise)
40 litres (1.41 cu.ft)
Deep and articulate bass
| 30l | 35l | 40l | 50l | 60l | |
| F-3 | 46Hz | 43Hz | 41Hz | 38Hz | 35Hz |
| Fb | 47Hz | 42Hz | 37Hz | 42Hz | 39Hz |
| Boost max. | 2dB/73Hz | 1dB/70Hz | - | 1.5dB/63Hz | 1dB/50Hz |
Calculating the internal volume

Internal volume calculation:
Vb = B× C× D + (A - D) / 2
| Internal volume1 | 30l | 35l | 40l | 50l | 60l |
| A | 370 | 370 | 370 | 450 | 450 |
| 14.57" | 14.57" | 14.57" | 17.72" | 17.72" | |
| B | 370 | 370 | 370 | 440 | 440 |
| 14.57" | 14.57" | 14.57" | 17.32" | 17.32" | |
| C | 380 | 435 | 490 | 440 | 530 |
| 14.96" | 17.13" | 19.29" | 17.32" | 20.87" | |
| D | 237 | 237 | 237 | 260 | 260 |
| 9.33" | 9.33" | 9.33" | 10.24" | 10.24" | |
| 30 A1 vents2 | 8x17 | 9x25 | 10x35 | 8 x 11 | 8 x 11 |
| 3.1x6.7" | 3.5x9.8" | 3.9x13.8" (angled) | 3.1x4.3" | 3.1x4.3" |
1 - External sizes in inches and millimetres with sides of 19 mm thickness
2-(BxL)in cm

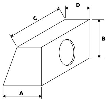
30 A1 DB - Sealed enclosure Frequency response
30 litres (1.06 cu.ft)
Fast and tight bass
40 litres (1.41 cu.ft)
Punchy and dynamic bass (best compromise)
50 litres (1.76 cu.ft)
Deep and articulate bass
| 25i | 30i | 35i | 40i | 50i | |
| F-3 | 49Hz | 47Hz | 46Hz | 45Hz | 44Hz |
| Boost max. | 2dB/80Hz | 1.5dB/75Hz | 1dB/70Hz | 1dB/70Hz | - |
Calculating the internal volume

Internal volume calculation:
Vb = B× C× D + (A - D) / 2
| Internal volume1 | 25l | 30l | 35l | 40l | 50l |
| A | 335 | 370 | 370 | 370 | 450 |
| 13.19a | 14.57a | 14.57a | 14.57a | 17.72a | |
| B | 335 | 370 | 370 | 370 | 440 |
| 13.19a | 14.57a | 14.57a | 14.57a | 17.32a | |
| C | 400 | 380 | 435 | 490 | 440 |
| 15.75a | 14.96a | 17.13a | 19.29a | 17.32a | |
| D | 210 | 237 | 237 | 237 | 260 |
| 8.25a | 9.33a | 9.33a | 9.33a | 10.24a |
1 - External sizes in inches and millimetres with sides of 19 mm thickness

3 subwoofoers 25 A1 or 30 A1 in parallel. Z = 1,33
Raccordements du subwoofer 30 A1 DB
For the validation of the Focal guarantee, send back this sheet within 10 days to the following address:
Your e-mail address:
Your hobbies:
At home, do you own Hi-Fi loudspeakers?
□-Yes □-No
If yes, specify the brand:
Do you read the press?
□-Yes □-No
If yes, which magazine(s)?
Your audio/video equipment (brands and models) before the acquisition of Focal products:
CD player/tuner:
Multimedia player:
Navigation system:
Amplifier:
Speakers:
Enclosure/subwoofer:
Other elements:
Your choice for the purchase of this Focal model was made according to:
Dealer's advice
-
Friend's or family's advice
-
Visiting an exhibition/a show
-
Quality-price ratio
-
Sound quality/listening room
-
- Already own Focal products
-
Reliability/manufacturing quality
-
Catalogues
-
Design/Finish
-
French product
□ - Article in the press (if yes, specify the title of the magazine)
□-Other:
Your Focal product:
Model:
Serial number:
Dealer's name:
City:
Date of your purchase:
Price of your purchase:
Did you leave the product installation to your dealer's care?
-Yes
If not, why?

the Spirit of Sound
Focal® is a registered trademark of Focal-JMlab® - www.focal-fr.com
EasyManual