CH 50K100 - Waagen Kern - Kostenlose Bedienungsanleitung
Finden Sie kostenlos die Bedienungsanleitung des Geräts CH 50K100 Kern als PDF.
Benutzerfragen zu CH 50K100 Kern
0 Frage zu diesem Gerät. Beantworten Sie die, die Sie kennen, oder stellen Sie Ihre eigene.
Eine neue Frage zu diesem Gerät stellen
Laden Sie die Anleitung für Ihr Waagen kostenlos im PDF-Format! Finden Sie Ihr Handbuch CH 50K100 - Kern und nehmen Sie Ihr elektronisches Gerät wieder in die Hand. Auf dieser Seite sind alle Dokumente veröffentlicht, die für die Verwendung Ihres Geräts notwendig sind. CH 50K100 von der Marke Kern.
BEDIENUNGSANLEITUNG CH 50K100 Kern
Betriebsanleitung / Logbuch | Operating instructions / Logbook | Notice d'emploi / journal
Version 4.0
2024-01
de|en|fr
CH-BA-def-2440
de
Weitere Sprachversionen
finden Sie online unter
www.kernsohn.com/manuals
fr
Elektronische Hängewaage
Betriebsanleitung / Logbuch
Version 4.0
2024-01
Originalfassung
Inhalt
1 Einführung. 4
1.1 Allgemeine Hinweise zu dieser Anleitung 4
1.2 Darstellungskonventionen 4
2 Beschreibung des Gerätes 6
2.1 Beschreibung des Gerätes 6
2.2 Bestimmungsgemäß Verwendung 6
2.3 Technische Daten 7
2.4 Typenschild 8
2.5 Abmessungen 9
3 Allgemeine Sicherheitsinformationen 10
3.1 Kontrolle bei Übernahme 10
3.2 Betriebsanleitung beachten und aufbewahrenen 10
3.3 Allgemeine Informationen zu Warnhinweisen 10
3.4 Sachwidrige Verwendung 12
3.5 Pflichtendes Betreibers 13
3.6 Qualification der Anwender 13
3.7 Organisatorische Maßnahmen 13
3.8 Umgebungsbedingungen 14
3.9 Akkus und Batterien 14
3.10 Sicherheitsbewusstes Arbeitsen 15
4 Übersicht über das Gerät 16
4.1 Komponenten 16
4.2 Tastatur 17
4.3 Anzeige 17
4.4 Symbole auf dem Gerät 18
5 Transport, Handhabung und Lagerung 19
5.1 Rucktransport / Retoure 19
5.2 Außerbetriebnahme und Lagerung 19
6 Montage, Installation und Inbetriebnahme 20
6.1 Auspacken und Prufen 20
6.2 Lieferumfang 20
6.3 Original-Abmessungen 20
6.4 Akku-/ Batteriebetrieb 21
6.5 Erstinbetriebnahme 22
7 Justierung 23
8 Betrieb 25
8.1 Sicherheitshinweise fur den Betrieb 25
8.2 Waage beladen 26
8.3 Einsatzen/Ausschalten 27
8.4 Tarieren 28
8.5 Einfaches Wagen 29
8.6 Wägeinheit umschalten 30
8.7 Data-Hold Funktion 30
8.8 Tierwagefunktion 31
8.9 Spitzenwertfungtion 32
8.10 Weitere Funktionen 33
9 Menu 34
9.1 Navigation im Menu 34
9.2 Übersicht über das Funktionsmenu 35
9.3 Übersicht über das Setup-Menu 36
10 Reinigung, Wartung und Instandhaltung 37
10.1 Reinigung 37
10.2 Wartung und Instandhaltung 38
11 Entsorgung 40
12 Gewährleistung 42
13 Fehler und Störungen 43
13.1 Fehlermeldungen 43
13.2 Störungen 43
A1 Zeichnungen fur die Wartung 44
A2 Checklste „Regelmäßige Wartung" 45
A3 Ersatzteile und Reparaturen 47
A4 Konformitätserklarung 48
1 Einführung
1.1 Allgemeine Hinweise zu dieser Anleitung
INFORMATION
! Lesen Sie die Betriebsanleitung vollständig durch, bevor Sie das Gerät verwenden. Verwenden Sie das Gerät nur unter den in dieser Betriebsanleitung beschrieben Vorgaben. Dies dient dem Schutz vor Personen- und Sachschäden.
In dieser Betriebsanleitung finden Sie die notwendigen Informationen zur bestimmungsgemäßen Verwendung Ihres Gerätes.
Bei dieser Betriebsanleitung handelt es sich um die deutsche Originalfassung.
1.2 Darstellungskonventionen
1.2.1 Darstellungen des Textes
| Text | Bezeichnung |
| • | Aufzahlung |
| ⇒ | Handlungsanweisung |
| 1. | Schritte bei Montage- / Installationsanweisungen, deren Reihenfolge eingehalten werden muss |
| 2. | |
| ... | |
| [ ] | Eckige Klammern dienen der Darstellung von Tasten Beispiel: [X]-Taste |
| < > | Winkelklammern dienen der Darstellung von Inhalten, die auf dem Display des Geräts angezeigt werden (z.B. Menüpunkte, Parameter, Benachrichtigungen, ...) Beispiel: <MENU> |
1.2.2 Darstellungen der Gerätebedienung
| Symbol | Bedeutung |
| Kurzer Tastendruck | |
| Langer Tastendruck / Taste gedrückt halten | |
| N lb kg | Anzeige auf der Waage (Abbildungsbeispel) |
1.2.3 Verbindliche Informationen
Wichtige und verbindliche Informationen beschreibenbesonders hervorzuhebende Sachverhalte, die Sie zur Kenntnis nehmen müssen und die immer gultig sind (z.B. gesetzliche Bestimmungen oder Geschäftsbedingungen).
INFORMATION

Hier stehen wichtige verbindliche Informationen
1.2.4 Ergänzende Informationen, Tipps und Empfehlungen

Hier stehen ergänzende Informationen, Tipps oder Empfehlungen
2 Beschreibung des Gerätes
2.1 Beschreibung des Gerätes
These Waage ist eine Hangewaage. Hangewaagen werden z.B. für Kontrollwiegungen im Warenein- und -ausgang oder zur Gewichtsbestimmung von z.B. Koffern, Früchten oder Wild verwendet.
2.2 Bestimmungsgemäß Verwendung
Waage:
Die von Ihnen erworbene Waage dient zum Bestimm den Wägewertes von Wäge gut. Sie ist zur Verwendung als „nicht selbstätige Waage" vorgesehen, d.h. das Wäge gut wird manuell, vertikal und ruckfrei an den Haken der Waage angehängt.
Die Waagearf ausschließlich zum Hebenn und Wiegen von frei beweglichen Lasteneingesetzt werden.
Nach Erreichen eines stabilen Wägewertes kann der Wägewert abgelesen werden.
Handgriff:
Der Handgriff der Waage ist für das Halten mit der Hand vorgesehen. Der Handgriff darf nicht mit Lastanschlagmitteln verbunden werden.
2.3 Technische Daten
| KERN | CH 15K20 | CH 50K50 | CH 50K100 |
| Artikelnummer / Typ | CH 15K20 | CH 50K50 | CH 50K100 |
| Ablesbarkeit (d) | 20 g | 50 g | 100 g |
| Wägebereich (Max.) | 15 kg | 50 kg | 50 kg |
| Tarierbereich (subtraktiv) | 15 kg | 50 kg | 50 kg |
| Reproduzierbarkeit | 20 g | 50 g | 100 g |
| Linearität | ±40 g | ±100 g | ±200 g |
| Empfohlenes Justerge-wicht, nicht beigegeben,(Klasse) | 10 kg (M3) | 20 kg (M3) | 20 kg (M3) |
| Einschwungzeit (typisch) | 2 s | ||
| Präzision | 0.5% von Max. | ||
| Anwärmzeit | 10 min | ||
| Wägebinheiten | kg, lb, N | ||
| Luftfeuchtigkeit | max. 80% rel. (nicht kondensierend) | ||
| Zulässige Umgebungs-temperatur | 5 °C ... +35 °C | ||
| Auto off | 3,5 min | ||
| Anzeige | LCD | ||
| Ziffernhöhe (Große Zeichen) 11 mm | |||
| Material Lastaufnahme | Haken: Stahl | ||
| Material Aufhängung | Gehäuse: KunststoffHandgriff: Kunststoff | ||
| Nettogewicht | 350 g | ||
| Batterie | 9 V Block | ||
| Alkali (-Mangan) | |||
| Betriebsdauer 20 h | |||
2.4 Typenschild
Beispiel (tatsächliches Typenschild kann abweichen):

| Pos. | Bezeichnung |
| 1 | KERN-Logo |
| 2 | Modellbezeichnung |
| 3 | Datum zur Stromversorgung |
| 4 | Typ / Artikelnummer |
| 5 | Seriennummer |
| 6 | Wärebereich [Max] |
| 7 | Firmenanschrift |
| 8 | Ablesbarkeit [d] |
| 9 | Entsorgungszeichen |
| 10 | Herstellungsdatum |
| 11 | UKCA-Zeichen |
| 12 | Importeur-Anschrift UK |
2.5 Abmessungen

MaBe in mm

3 Allgemeine Sicherheitsinformationen
INFORMATION

Lesen Sie die Betriebsanleitung vollständig durch, bevor Sie das Gerät verwenden. Verwenden Sie das Gerät nur unter den in dieser Betriebsanleitung beschrieben Vorgaben. Dies dient dem Schutz vor Personen- und Sachschäden.
3.1 Kontrolle bei Übernahme
Überprüfen Sieitte die Verpackung sofort beim Eingang sowie das Gerät beim Auspacken auf eventuell sightbare äußere Beschädigungen.
3.2 Betriebsanleitung beachten und aufbewahren
Die Betriebsanleitung enthalt wichtige Hinweise für einen sicheren Umgang mit dem Gerät. Sie ist von allen Personen zu beachten, die das Gerät verwenden.
Die Betriebsanleitung muss immer zur Verfügung stehen, wenn das Gerät verwendet wird und ist für die gesamte Lebensdauer des Gerätes aufzubewahren.
3.3 Allgemeine Informationen zu Warnhinweisen
In dieser Betriebsanleitung werden Warnhinweise verwendet, um Sie vor möglichen Personen- oder Sachsäden in bestimmten Situationen zu warnen.
| Signalwort | Beschreibung |
| GEFAHR | Eine Nichtbeachtung des Hinweises führt unmittelbar zu schweren Verletzungen, dauerhaften Beeinträchtigungen (z.B. Verlust einer Gliedmaße) oder zum Tod des Anwenders oder Dritter |
| WARNUNG | Eine Nichtbeachtung des Hinweises kann zu schweren Verletzungen, dauerhaften Beeinträchtigungen (z.B. Verlust einer Gliedmaße) oder zum Tod des Anwenders oder Dritter führen |
| VORSICHT | Eine Nichtbeachtung des Hinweises kann zu leichten Verletzungen oder vorübergehenden Beeinträchtigungen des Anwenders oder Drit-ter führen (z.B. leichte Schnittverletzung) |
| HINWEIS | Bei Nichtbeachtung des Hinweises drohen Sachschäden |
Warning vor Personenschäden:
SIGNALWORT

Symbol
Art und Quelle(n) der Gefährung
Mögliche Folge(n) der Gefährung
Maßnahmen zur Vermeidung der Gefährdung
Warning vor Sachschäden:
HINWEIS

Maßnahmen zur Vermeidung eines Sachschadens
Symbole in Warnhinweisen:
| Symbol | Bedeutung |
| Warnzeichen | Warnzeichen warnen Sie vor Gefahren, welche möglicherweise zu Personenschäden führen. Das Symbol kennzeichnet die Art der Ge-fährung. |
| Weist auf allgemeine Gefahren oder eine Gefahrenstelle hin | |
| Warnung vor elektrischer Spannung | |
| Warnung vor feuergeführlichen Stoffen | |
| Warnung vor explosionsgeführlichen Stoffen | |
| Warnung vor schwebender Last | |
| Warnung vor herabfallenden Lasten | |
| Gebotszeichen | Gebotszeichen schreiben Maßnahmen vor, die Sie treffen müssen, um Personenschäden oder Sachschäden zu vermeiden. Das Symbol kennzeichnet die notwenigen Handlungen oder Gegenstände zur Schadensvermeidung. |
| Kennzeichnet eine vorgeschriebene Aktion |
3.4 Sachwidrige Verwendung
- Unsere Waagen sind nicht selbsttätige Waagen und nicht für den Einsatz in dynamischen Wageprozessen vorgesehen. Die Waagen können jedoch nach Überprüfung des individuellen Einsatzbereiches und hier speziell den Genauigkeitsanforderungen der Anwendung auch für dynamische Wageprozesse eingesetzt werden.
- Keine Dauerlast am Haken belassen. Diese kann das Messwerk, sowie Sicherheitsrelevante Teile beschädigen.
- Ruckartiges Ziehen und Überlastungen an der Waage, des Krans oder jeder Art von Lastanschlagmitteln über die angegebene Höchstlast (Max.), abzüglich einer eventuell bereits vorhandenen Taralast, unbedingt vermeiden. Die Waage, der Kran oder das Lastanschlagmittel konnte hierdurch beschädigt werden.
- Die Waage, der Kran oder jeder Art von Lastanschlagmitteln)dürfen nicht konstruktiv verändert werden. Dies kann zu falschen Wageergebnissen, Sicherheitstechnischen Mangeln sowie der Zerstörung der Waage, des Krans oder des Lastanschlagmittels führen.
- Die Waage darf niemals zur Beförderung von Personen verwendet werden.
Die Waage darf niemals zum Schragziehen von Lasten verwendet werden. - Die Waage darf niemals zum Losreißen, Ziehen oder Schleppen von Lasten verwendet werden.
- Es dürfen sich niemals Personen oder Gegenstände unter der Last befinden, da diese verletzt oder beschädigt werden konnten.
- Waage niemals in explosionsgefahrdeten Räumen betreiben.
- Die Waagearf nur gemäß den beschriebenen Vorgaben eingesetzt werden. Abweichende Einsatzbereiche/Anwendungsgebiete sind von KERN schriftlich freizugegeben.
- Die Waagearf nicht zum Wiegen von Menschen verwendet werden.
- Diese Waage entspricht nicht dem Medizinproduktegesetz (MPG) und ist nicht für medizinische Zwecke vorgesehen.
- Waage nicht an Lastanschlagmittel hängen. Die Waage muss mit der Hand gehalten werden.
3.5 Pflichtenden Betreibers
Der Betreiber verpflichtet sich:
- die nationalen Unfallverhütungsvorschriften sowie die Arbeits-, Betriebs- und Sicherheitsvorschriften zu beachten.
- das Gerät nur gemäß der in dieser Betriebsanleitung beschriebenen Vorgaben zu verwenden und alle in dieser Betriebsanleitung beschriebenen Sicherheitsinformationen und Hinweise zu beachten. jeder Art von Verwendung, die nicht in dieser Betriebsanleitung beschreiben ist, wird als sachwidrige Verwendung betrachtet. Für Sach- und Personenenschäden, die aus einer solchen, sachwidrigen Verwendung resultieren, ist der Betreiber verantwortlich. Die Firma KERN & SOHN kann nicht haftbar gemacht werden, wenn das Gerät sachwidrig verwendet wird und hieraus Schäden entstehen.
- Hangewaage und Lastaufnahmelemittel regelmäßig warten und Instand halten zu halten (mehr Informationen finden Sie im Kapitel „Reinigung, Wartung und Instandhaltung").
- alle Prüfungsergebnisse zu protokollieren und im Logbuch aufzubewahren.
- sicherzustellen, dass die Betriebsanleitung am Einsatzort des Gerätes jederzeit zur Verfügung besteht.
- nur ausreichend qualifizierte Personen das Gerät verwenden zu halten.
3.6 Qualification der Anwender
Der Betreiber muss sicherstellen, dass das Gerät nur von ausreichend qualifizierten Personen verwendet wird.
- Montage, Inbetriebnahme, Wartung und Instandhaltung * dürfen nur durch geschultes Fachpersonal ausgeführrt werden.
- Es dürfen nur geschalte und unterwiesene Personen mit der Bedienung beauftragt werden.
- Reparaturen dürfen nur durch geschultes Fachpersonal ausgeführrt werden.
3.7 Organisatorische Maßnahmen
- Alle Wartungen müssen dokumentiert werden (siehe „Checkliste „Regelmäßige Wartung").
- Ersatzteile sind zu Dokumentieren. (siehe „Ersatzteile und Reparaturen").
- Es dürfen nur Original-Ersatzteile verwendet werden.
- Lastragende Bauteile)durfen nicht getauscht werden.
3.8 Umgebungsbedingungen
Die in der Betriebsanleitung beschriebenen Umgebungsbedingungen sind einzuhalten. Beachten Sie hierzu die technischen Daten in der Geräteübersicht.
- Waage nicht in korrosionsgefahrdeter Umgebung verwenden.
- Waage vor hoher Luftfeuchtigkeit, Dämpfen, Flüssigkeiten und Staub schützen.
- Extreme Wärme sowie Temperaturschwankungen z.B. durch direkte Sonneneinstrahlung vermeiden
- Beim Auftreten von elektromagnetischen Feldern (z. B. durch Mobiltelefone oder Funkgeräte), bei statischen Aufladungen sowie bei instabiler Stromversorgung sind große Anzeigeabweichungen (falsche Wägeergebnisse) möglich. Der Standort muss dann gewechselt oder die Störquelle beseitigt werden.
3.9 Akkus und Batterien
Allgemein:
Eine sachwidrige Verwendung von Akkus oder Batterien kann dazu führen, dass diese in Brand geraten, explodieren, giftinge Dämpfe ausstoßen oder atzende Flüssigkeit absondere. Daher gilt für Akkus und Batterien grundsätzlich:
Vor Feuer und Hitze schützen.
- Niemals hohem Druck oder Mikrowellen aussetzen.
- Nicht in Kontakt mit Flüssigkeiten oder Chemikalien bringen.
Die elektrischen Kontakte von Akkus und Batterien niemals mit metallischen Gegenständen in Berührung bringen und kurzschreiben.
- Akkus. Batterien und Ladegeräte niemals modifizieren.
- Batterien dürfen niemals aufgeladen werden.
- Niemals einen defekten, beschädigten oder deformierten Akku verwenden oder laden.
Einlagen, Austauschen und Lagerung:
Achten Sie beim Einlagen von Akkus und Batterien auf die korrekte Polarität (siehe Angabe von + / - , im Akku- bzw. Batteriefach).
Ersetzen Sie Akkus und Batterien nur durch vom Hersteller empfohlene Typen.
Wenn möglich, Akkus und Batterien Herausnahmen und getrennt (vor Kurzschluss geschützt) aufbewahren, wenn die Waage über einen längeren Zeitraum nicht genutzt wird. Auslaufen von Batterieflüssigkeit könnte die Waage beschädigen.
Bei Austritt von Batterieflüssigkeit:
Aus beschädigten Akkus und Batterien kann Flüssigkeit austreten. Beachten Sie daher folgenden:
- Vermeiden Sie den Kontakt zwischen auslaufender Flüssigkeit und ihrer Haut, Augen oder Kleidung.
- Tragen Sie Schutzkleidung / -ausrüstung, wenn Sie einen defekten Akku oder eine defekte Batterie berühren und entfernen wollen.
- Reinigen Sie mit Batterieflüssigkeit in Kontakt gekommene Haut- oder Kleidungsstellen gründlich mit einer Seitenlauge und spulen Sie die betroffenen Stellen anschließend gründlich mit klarem Wasser.
- Falls Sie Batterieflüssigkeit in die Augen besteht, spulen Sie ihre Augen umgehend mit klarem Wasser aus. Suchen Sie danach sofort einen Arzt auf.
3.10 Sicherheitsbewusstes Arbeitsen
FürArbeitenmitHängewaagengiltgrundsatzlich:
- Immer mit großer Sorgfalt arbeiten, entsprechend den allgemeinen Regel für die Bedienung eines Krans.
- Alle Teile (Haken, Öse, Ringe, Seile, Schlingen, Kabel, Ketten, ...) auf übermäßig Abnutzung und Schäden überprüfen.
- Arbeitsen Sie nur mit angepasster Geschwindigkeit.
- Waage niemals zum Transport von Lasten verwenden.
- Nicht unter hängenden Lasten stehen oder gehen.
- Hangende Last immer beobachten.
- Nicht im Baustellenbereich verwenden.
- Niemals die Nennlast der Hängewaage oder jeder Art von Lastanschlagmittel an der Hängewaage überschreiben.
- Schwingungen und horizontale Kräfte unbedingt vermeiden.
- Stöße, Verwindungen (Torsion) und Pendeln (z.B. durch schräges Anhängen) jeglicher Art verhindern.
- Last immer nur so welt anheben wie nötig.
4 Übersicht über das Gerät
4.1 Komponenten

Waage (Vorderansicht)

Waage (Rückansicht)
Pos. Bezeichnung
| Pos. | Bezeichnung |
| 1 | Anzeige |
| 2 | Tastatur |
| 3 | Maßband |
| 4 | Haken |
5 Batteriefach
4.2 Tastatur

| Taste | Bezeichnung | Funktion |
| ON/OFF TARE | ON/OFF | ➢Einschalten➢Ausschalten (langer Tastendruck)➢Tarieren➢Im Menu vorwärtsblättern |
| UNIT | UNIT | ➢Wägeinheit umschalten |
| HOLD | HOLD | ➢Gewichtsanzeige fixieren➢Mittelwert beim Tierwären anzeigen➢Menüinstellung bestätigten |
4.3 Anzeige
| Anzeige | Beschreibung |
| \( \triangleright_{kg} \) | die aktuelle Wägeinheit ist Kilogramm |
| \( \triangleright_{lb} \) | die aktuelle Wägeinheit ist Pfund |
| \( \triangleright_{N} \) | die aktuelle Wägeinheit ist Newton |
| \( \triangle \) | Kennzeichnet den Wägewert abhängig von der aktiven Einstellung H I - H G (s. Kap. 9.2). |
4.4 Symbole auf dem Gerät
| Symbol | Beschreibung | |
| ACHTUNG! ATTENTION! ATTENZIONE! | ||
| Nicht unter hängenden Lasten stehen oder gehen. | ||
| Nicht im Baustellenbereich verwenden. | ||
| Hängende Last immer beobachten. | ||
| (Abbildungsbeispel) | Höchstlast (Max.) der Waage nicht überschreiben (In diesen Beispiel 50 kg) Angabe auf tatsächlichem Aufkleber beachten | |
| (TUV SUD GEprüfte Sicherheit) | Das Produkt entspricht den Anforderungen des deutschen Produktshaierheitsgesetzes. | |
| CE | Das Produkt entspricht den geltenden europäischen Anforderungen. | |
| UK CA | Das Produkt entspricht den geltenden Anforderungen in England, Schottland und Wales. | |
5 Transport, Handhabung und Lagerung
HINWEIS

Entfernen Sie anhangende Lasten vor dem Transport der Waage.
Halten Sie die Waage beim Transport niemals am Haken, da this zu Beschädigungen der Waage führen kann.
Halten Sie die Waage beim Transport am Gehäuse, Schäkel oder ggf. Haltegriff.
5.1 Rücktransport / Retoure
INFORMATION
Eine Retoure ist nur innerhalb der Grenzen der allgemeinen Geschäftsbedingungen möglich.
Für eine Retoure ist die Originalverpackung zu verwenden.
Hängewaagen mit Gebrauchsspuren können nicht returniert werden.
Hängewaagen, die verwendet wurden und damit Gebrauchsspuren aufweisen, können nicht mehr returniert werden.
Hängewaagen sind von KERN & SOHN versiegelt.
Die Entnahme aus der Verpackung ist durch ein Klebeband versiegelt
Die Verletzung des Siegels wird als Gebrauchsspur gewertet und verpflichtet zum Kauf. Retouren sind dann nur noch möglich, wenn Sie Mängel feststellen und den Mangelanspruch gemäß den allgemeinen Geschäftsbedingungen geltend machen.
KERN
Abbildungsbeispel für Siegel
Vorgehen bei Rücktransport:
- Stellen Sie sicher, dass alle Teile des Lieferumfangs vollständig vorhanden sind
- Verpacken Sie alle Teile in der Originalverpackung
5.2 Außerbetriebnahme und Lagerung
- Hängewaage ausschalten und Batterien herausnehmer.
- Hängewaage in der Originalverpackung lagern.
Waage nicht im Freien lagern.
6 Montage, Installation und Inbetriebnahme
6.1 Auspacken und Prüfen
INFORMATION
Beachten Sie für den Fall einer Retoure die Hinweise im Kapitel „Rücktransport / Retoure"
Entnahmen Sie alle Teile des Lieferumfangs aus der Verpackung und entfernen Sie die Verpackungsmaterialien. Überprüfen Sie anschließend, ob alle Teile des Lieferumfangs vorhanden und unbeschädigt sind.
6.2 Lieferumfang
Waage
- Batterie
- Betriebsanleitung / Logbuch
6.3 Original-Abmessungen
Prüfen Sie vor dem ersten Gebrauch die Abmessungen gemäß den im Anhang aufgeführten „Zeichnungen für die Wartung". Tragen Sie die gemessenen Werte in die Checkliste „Regelmäßige Wartung" im Anhang ein. Verwenden Sie zur Prüfung der Abmessungen immer dasselbe Messprinzip und geeignete Prüfmittel.
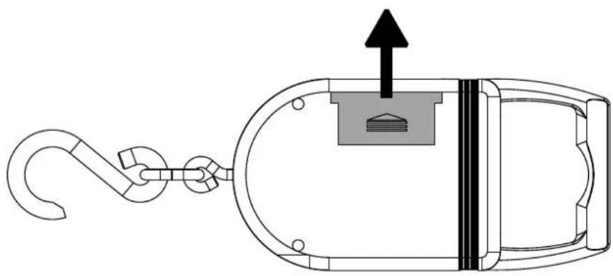
6.4 Akku-/ Batteriebetrieb
WARNING

Brand- und Explosionsgefahr durch falsche Handhabung von Akkus und Batterien
Brand oder Explosion kann zu schweren Verletzungen führen
Beachten Sie unbedingt die Hinweise zu Akkus und Batterien im Kapitel „Allgemeine Sicherheitsinformationen“
Laden Sie Batterien niemals auf. Nur Akkus sind zur Wiederaufladung geeignet.
6.4.1 Einlagen, Austauschen und Lagerung
HINWEIS

Achten Sie beim Einlagen von Akkus und Batterien auf die korrekte Polarität (siehe Angabe von , + / - , im Akku- bzw. Batteriefach).
Ersetzen Sie den Akkus und Batterien nur durch denselben oder durch einen vom Hersteller empfohlenen Typ.
Akkus und Batterien Herausnahmen und getrennt (vor Kurzschluss geschützt) aufbewahren, wenn die Waage eine langere Zeit nicht benutzt wird. Auslaufen von Batterieflüssigkeit können die Waage beschädigen.
Batterien einlagen:
- Batteriefachdeckel auf der Rückseite in Pfeilrichtung herausschieben.

- Blockbatterie mit den Druckknöpfen an den Batteriekontakt-Clip anschließen und in das Batteriefach legen.

- Batteriefachdeckel wieder einschieben.
6.5 Erstinbetriebnahme
Prufen Sie vor der Erstinbetriebnahme die Original-Abmessungen.
Um bei elektronischen Waagen genaue Wägeergebnisse zu erhalten, muss die Waage ihre Betriebstemperatur (siehe Anwärmzeit im Kapitel „Technische Daten“) erreicht haben. Die Waage muss für diese Anwärmzeit an die Stromversorgung (Netzanschluss, Akku oder Batterie) angeschlossen sein.
Die Genauigkeit der Waage ist abhängig von der örtlichen Fallbeschleunigung. Unbedingt die Hinweise im Kapitel „Justierung" beachten.
7 Justierung
Da der Wert der Erdbeschleunigung nicht an jedem Ort der Erde gleich ist, muss jeder Waage - gemäß dem zugrunde liegenden physikalien Wägeprinzip - am Aufstellort auf die Dort herrschende Erdbeschleunigung abgestimmt werden (nur wenn die Waage nicht bereits im Werk auf den Aufstellort justiert wurde). Dieser Justiervorgang muss bei der ersten Inbetriebnahme, nach jedem Standortwechsel sowie bei Schwankungen der Umgebungstemperatur durchgeführt werden. Um genaue Messwerte zu erhalten, empfeht es sich zudem, die Waage auch im Wägebetrieb periodisch zu justieren.
INFORMATION

- In den technischen Daten finden Sie Angaben zu den von KERN & SOHN empfohlenen Justiergewichten.
- Justiergewichte anderer Toleranzklassen sind möglich, aber nicht optimal. Die Genaugkeit des Justiergewichts muss mindestens der Ablesbarkeit [d] der Waage entsprechen oder better sein.
Die Höchstlast der Waagearf bei der Justierung nicht übersritten werden.
-Infos zu Prüfgewichten finden Sie im Internet unter: http://www.kern-sohn.com - Wenn der Wert des Justiergewichts im Menu ihrer Waage fest vorgegeben ist, müssen Sie ein solches Gewicht zur Justierung verwenden.
HINWEIS

Stellen Sie zur Justage sicher, dass die Umgebungsbedingungen stabil sind (z.B. Vibrationen oder Luftströme vermeiden).
Beachten Sie, dass zur Justage eine Anwärmzeit erforderlich ist, damit die Waage selbst stabilisiert ist. Die Anwärmzeit finds Sie in den technischen Daten.
Stellen Sie sicher, dass bei der Justage nur das Justiergewicht am Haken hangt und keine weitere Last.
Bei einem Justierfehler oder falschem Justiergewicht wird eine Fehlermeldung angezeigt. Wiederholen Sie in dieser Fall den Justiervorgang.

Durchführung:
Waage einschalten
[UNIT] drucken und gedrückt halten
[UNIT] loslassen
Warten, bis das erforderliche Justiergewicht angezeigt wird
Justiergewicht anhängen
F wird angezeigt
Wenn eane andere Meldung auf der Anzeige.
erscheint, liegt mogerweise ein Fehler vor (siehe Kapitel ,Fehlermeldungen").
Nach erfolgter Justierung kehrt die Waage in den Wagemodus darüber
8 Betrieb
8.1 Sicherheitshinweise für den Betrieb
WARNING

Herabfallende Lasten durch Bruch des Lastaufnahmemittels oder Fehlanwendung

Schwere Verletzungen oder Tod möglich, wenn Personen von herabfallenden Lasten getroffen werden
Beachten Sie unbedingt die Hinweise im Kapitel „Allgemeine Sicherheitsinformationen“
Beachten Sie bei der Bedienung insbesondere die in den Sicherheitsinformationen aufgeführten Hinweise unter „Sicherheitsbewusstes Arbeitsen“
Kontrollieren Sie die Waage vor jeder Verwendung auf Schadenfreiheit und einwandfrei Funktion.
Überschreiben Sie niemals die angegebene Höchstlast (Max.) der Waage.
WARNING

Gefährung durch Hebenschwerer Lasten
Heben schwerer Lasten kann zu Verletzungen und dauerhaften Beeinträchtigungen führen (z.B. Schädigungen der Wirbelsäule)
Achten Sie beim Anheiten von schweren Lasten auf die richtige Körperhaltung (Rücken gerade, Anheiten aus den Knien)
Gehen Sie in die Hocke, wenn Sie die Last wieder abstellen möchten.
Fragen Sie eine andere Person um Hilfe, wenn Ihnen die Last zu schwer ist.
8.2 Waage beladen
Für gute Wägeergebnisse folgenden beachten, Abbildungen siehe{nachste Seite:
- Waage nicht an Lastanschlagmittel hängen. Die Waage muss mit der Hand gehalten werden.
- Nicht an der Last oder an der beladenen Waageziehen oder schieben.
- Nicht waagerecht am Hakenziehen.
Waage beladen:
- Den Haken der Waage über der Last positionieren.
- Last an den Haken anhängen.
- Die Waage mit der Last langsam anheben.

Waage nur mit der Hand halten

Nicht ziehen oder schiebern
8.3 Einsatzen / Ausschalten
Einschalten:

[ON/OFF/TARE] drucken
Die Anzeige leuchtet auf und die Waage führt einen Selfsttest durch
Warten, bis die Gewichtsanzeige erscheint
Die Waage ist jetzt wägebereit
[ON/OFF/TARE] gedrückt halten
Die Anzeige schaltet sich aus
Ausschalten:

8.4 Tarieren
Tarieren:


- Nach Abnahmen des Behalters entscheidt das Gewicht des Behalters als negativer Wert (Minus)
- Zum Löschen des Tarawertes die Hangewaage entlasten und [ON/OFF/TARE] drucken
8.5 Einfaches Wägen
HINWEIS

Überlastungen der Waage über die angegebene Höchstlast (Max.), abzüglich einer eventuell bereits vorhandenen Taralast, unbedingt vermeiden. Die Waage konnte hierdurch beschädigt werden.
Die Überschreitung der Höchstlast wird mit der Anzeige < E> angezeigt. Waage in thisem Fall entlasten bzw. Vorlast verringern.

Wägegut an den Haken hangen
Das Wägeergebnis wird angezeigt
8.6 Wageeinheit umschalten

Wägegut an den Haken hangen
Das Gewicht wird angezeigt
[UNIT] drucken
Das Gewicht wird in der{nachsten Wägeinheit angezeigt

- Mit jedem Druck von [UNIT] wird die{nachste Wägeinheit angezeigt.
- Der Indikator < > zeit die aktive Wägeinheit an.
8.7 Data-Hold Funktion

Die verschiedene Data-Hold Funktionen sind im Funktionmenü aufgeführrt (siehe „Übersicht über das Funktionmenü").
BeispielfdieEinstellung

Gewünschte Data-Hold Funktion im Funktionsmenu auswahlen (siehe Kapitel 9.2)
Auf der Anzeige erscheint die Nullanzeige

Wägegut an den Haken hangen
Sobald ein stabiler Gewichtswert gemessen wird, wird dieser eingefroren
< > symbolisiert, dass der Wert eingefroren ist
[HOLD] drucken, um in den Wagemodus zurückzukehren
8.8 Tierwagefunktion
Die Tierwagefunktion ermitteligt Ihnen die Messung von Tieren oder Proben, die sich während der Messung bewegen.

- Falls Sie einen Wagebehalter verwenden, sollte vor dem Wiegen tariert werden (siehe Kapitel 8.4)
Das Ergebnis ist ein Mittelwert aus 16 Messungen

Tierwagefunktion im Funktionsmenu auswahlen (siehe Kapitel 9.2)
Wägegut an den Haken hangen

[HOLD] drucken
Wahrend der Messung erscheint auf der Anzeige ein Countdown und < > beginnt zu blinken
Nach Ende der Messung werden < > und das Wägeergebnis angezeigt
Durch Drücken einer beliebigen Taste kann die Anzeige wieder verlassen werden
8.9 Spitzenwertfunktion
Die Spitzenwertfunktion zeigt den hochsten Lastwert (Spitzenwert) einer Wägung an. Die Messfrequenz beträgt 200 ms.

Spitzenwertfunktion im Funktionsmenu auswahlen (siehe Kapitel 9.2)
Wägegut an den Haken hangen
Der Spitzenwert wird durch ein < > links oben in der Anzeige symbolisiert
Der Spitzenwert wird für ca. 5 Sekunden angezeigt. Wird während der Anzeige ein größerer Spitzenwert gemessen, wird der neue Wert automatisch angezeigt.
8.10 Weitere Funktionen
8.10.1 Zero-Tracking
Das Zero-TrackingGLEichtkleineÄnderungen desGewichts,z.B. durch Verschmutzungen oder Temperaturänderungen,automatisch aus.Die Waage zeigt dannweiterhin0an.
Wenn keine Mengen der Last entnommen oder zugeführrt werden, kann durch diese Funktion jedoch ein falsches Wägeergebnis angezeigt werden (z.B. langsam herausflieBende Flüssigkeiten). In thisem Fall sollte die Funktion deaktiviert werden.

Das Zero-Tracking kann im Setup-MENU aktiviert und deaktiviert werden. Informationen zum Offnen des Menü und der Bedienung finden Sie im Kapitel „Menu".
8.10.2 Automatische Abschaltfunktion
Bei aktivierter Abschaltfunktion: Die Waage schaltet sich aus, wenn die Tastatur nicht betätigt wird und wenn in den letzten 3,5 Minuten keine Gewichtsänderung gemessen wurde.
Die Waage muss zur Benutzung wieder eingeschalten werden.

Die automatische Abschaltfunktion kann im Setup-MENU aktiviert und deaktiviert werden. Informationen zum Offnen des Menus und der Bedienung finden Sie im Kapitel „Menü".
9 Menu

Wenn in den Menüs kein Tastendruck erfolgt, wechselt die Waage nach einiger Zeit automatisch in den Wagemodus.
9.1 Navigation im Menu
9.1.1 FunktionsmENU aufrufen

[HOLD] drücken und gedrückt halten
Auf der Anzeige erscheint die zuletzt gewählte Funktion (in dieser Beispiel < H I> )
[HOLD] loslassen
9.1.2 Setup-MENU aufrufen

Waage ausschalten
Zuerst [HOLD] drucken und gedrückt halten
Zusätzlich [ON/OFF/TARE] drucken und gedrückt halten
[HOLD] loslassen

Erneut [HOLD] drücken und gedrückt halten
Anzeige 上 erscheint [HOLD] und [ON/OFF/TARE] loslassen
9.1.3 Parameter einstellen und auswahlen
| Taste | Funktion |
| ON/OFF TARE | Menüpunkte durchblättern |
| HOLD | Menüpunkt aktivieren / Auswahl bestätigten |
9.2 Übersicht über das FunktionsmENU
Übersicht über das FunktionsmENU:
| Einstellung | Funktion | Beschreibung | Kapitel |
| H1 | Data-Hold Funktion 1 | Wägewert wird nach Drücken von [HOLD] für 5 Sekunden eingefroren | 8.7 |
| H2 | Data-Hold Funktion 2 | Wägewert wird nach Drücken von [HOLD] so lange eingefroren, bis eine erneute Taste gedrückt wird | |
| H3 | Data-Hold Funktion 3 | Wägewert wird nach Erreichen eines stabilen Wertes automatisch für 5 Sekunden eingefroren | |
| H4 | Data-Hold Funktion 4 | Wägewert wird nach Erreichen eines stabilen Wertes automatisch eingefroren, bis eine erneute Taste gedrückt wird | |
| H5 | Tierwägefunktion | Funktion zum Wiegen von unruhigen Lasten | 8.8 |
| H6 | Spitzenwertfung | Funktion zum Erfassen des Höchsten Lastwertes | 8.9 |
9.3 Übersicht über das Setup-MENU

Standardstellungen sind mit einem markiert.
| Einstellung | Funktion | Beschreibung | |
| Er | Zero-Tracking | Nullnachführung | |
| ON * | Aktiviert | ||
| OFF | Deaktiviert | ||
| RF | Auto-Off | Automatische Abschaltfunktion | |
| ON * | Aktiviert | ||
| OFF | Deaktiviert | ||
| rSt | Reset | Werkseinstellungen wiederherstellen | |
| NO | Nein | ||
| YES | Ja | ||
10 Reinigung, Wartung und Instandhaltung
10.1 Reinigung
WARNING

Kurzschluss durch eindringende Flüssigkeiten in das Geräteinnere

Kurzschluss kann zu Brand und schweren Verletzungen führen
Öffnen Sie das Gerät nicht. Im Inneren des Gerätes befinden sich keine zu reinigenden Teile.
Achten Sie darauf, dass Akkus oder Batterien nicht mit Flüssigkeiten in Berührung kommt.
HINWEIS

Verwenden Sie keine aggressiven Reinigungsmittel (z.B. Lösungsmittel), da dies zu Reaktionen mit den Materialien führt und diese beschädigt.
Verwenden Sie keine Metallbürsten oder Putzschwämme aus Stahlwolle, da dies zu Beschädigungen der Oberfläche führt.
Achten Sie daraufuf, dass keine Flüssigkeit in das Gerät eindringt.
Empfohlene Reinigung:
Verwenden Sie zur Reinigung des Gerätes ein mildes Reinigungsmittel wie z.B. handelsüblichen Fensterreiniger und einen weichen Lappen.
10.2 Wartung und Instandhaltung
INFORMATION

Wartung und Instandhaltung)dürfen nur durch geschultes Fachpersonal ausgeführrt werden.
WARNING

Mangelhafte Wartung kann zu Bruch des Lastaufnahmemittels und herabfallenden Lasten führen
Herabfallende Lasten können zu schweren Verletzungen oder Tod führen
Lassen Sie die Waage regelmäßig von geschultem Fachpersonal mit fundierten Kenntnissen im Umgang mit Hangewaagen warten.
Berücksichtigten Sie die Wartungsarbeiten gemäß Kapitel „Wartungstabelle".
Berücksichtigten Sie die nationalen Unfallverhütungsvorschriften sowie die Arbeits-, Betriebs- und Sicherheitsvorschriften des Betreibers.
Nehmen Sie die Waage sofort außer Betrieb, wenn Sie Sicherheitsmängel und Unstimmigkeiten mit den Checklisten feststellen.
Austausch von Teilen nur von geschultem Fachpersonal durchführten halten. Reparieren Sie die Waage nicht selbst.
Die Wartungen sind gemäß Kapitel „Wartungstabelle“ durchzuführen.
- Die Wartungen * dürfen nur von geschultem Fachpersonal mit fundierten Kenntnissen im Umgang mit Hangewaagen durchgeführt werden. Dabei sind die nationalen Unfallverhütungsvorschriften sowie die Arbeits-, Betriebs- und Sicherheitsvorschriften des Betreibers zu beachten.
- Zur Überprüfung der Abmessungen nur geeignete Prüfmittel / Fuhllehren verwenden.
- Die Ergebnisse der regelmäßigen Wartung sind in die Liste „Checkliste „Regelmäßige Wartung““ einzutragen.
Die Lastaufnahmeitel sind vor der Prüfung zu reinigen.
- Ersetzte Teile sind in die Liste „Ersatzteile und Reparaturen" einzutragen.
10.2.1 Prüfmittelüberwachung
Im Rahmen der Qualitätssicherung mussen die messtechnischen Eigenschaften der Waage und eines eventuell vorhandenen Prüfgewichtes in regelmäßigen Abständen überprüft werden. Der verantwortliche Benutzer hat hierfür ein geeignetes Intervall sowie die Art und den Umfang dieser Prüfung zu definieren. Informationen bezüglich
der Prüfmittelüberwachung von Waagen sowie der hierfür notwendigen Prüfgewichte sind auf der KERN- Homepage (www.kern-sohn.com) verfügbar. In seinem akkreditierten Kalibrierlaboratorium konnen bei KERN schnell und kostengünstig Prüfgewichte und Waagen kalibriert werden (Rückführung auf das nationale Normal).
10.2.2 Wartungstabelle
Regelmäßige Wartung:
| Interval | Wartung |
| Vor jeder Nutzung | Einwandfrei Funktion der Anschlagmittel überprüfen |
| Erstinbetriebnahme, dann alle 3 Monate | Alle Abmessungen prüfen und in die Checkliste „Regelmäßige Wartung“ eintragenWaage und Anschlagmittel (z.B. Haken, Handgriff) auf Abnutzung überprüfen, wie z. B. plastische Deformation, mechanische Schäden (Unebenheiten), Kerben, Rillen, Risse, Korrosion, Gewindeschädien und Verdrehungen.Falls eine Abmessung die zulässige Abweichung von der ursprünglichen Abmessung (siehe Checkliste „Regelmäßige Wartung“) überschreitet oder sonstige Unstimmigkeiten festgestellt werden, muss die Waage sofort außer Betrieb genommen werden.Die Waage darf nur von geschultem Fachpersonal repariert werden. Auf keinen Fall selbst reparieren.Alle Reparaturen und Ersatzteile müssen von geschultem Fachpersonal in der(Liste „Ersatzteile und Reparaturen“ dokumentiert werden. |
| Hinweis:Bei der Wartung und Prüfung auf Abnutzung sind die im Anhang aufgeführten „Zeichnungen für die Wartung" zu beachten.Lastaufnahmemittel dürfen in folgenden Fällen auf keinen Fall mehr verwendet werden:Wenn bei den in der Wartung definierten Prüfungen Abweichungen festgestellt werden.Wenn das Typenschild feht.Wenn die Höchstlast (Max.) nicht erkenntlich ist.Wenn bei Lastaufnahmemitteln Überlastungen oder sonstige Schädigende Einflüsse besteht sind. Die Lastaufnahmemittel musten in thisem Fall außer Betrieb genommen werden und dürfen erst nach einer erfolgreichen Prüfung wieder verwendent werden. | |
11 Entsorgung

Altgeräte sowie Zubehör gehören nicht in den Hausmüll.
Die Entsorgung von Verpackung und Gerät ist vom Betreiber nach gültigem nationalen oder regionalen Recht des Benutzerortes durchzuführen.
Das Gerät besteht aus verschiedene Komponenten und Materialien, wie zum Beispiel:
- Elektronische Komponenten (Platinen, elektrische Leitungen)
Kunststoff (Gehäuse) - Metall (Haken)
Eine nicht fachgerechte Entsorgung des Gerätes kann schädliche Auswirkungen auf den Menschen und die Umwelt zur Folge haben.
Durch eine fach- und umweltgerechte Entsorgung konnen schädliche Auswirkungen vermieden und Rohstoffe wiedergewonnen werden.
Entsorgung von Akkus und Batterien:

Akkus und Batterien gehoren nicht in den Hausmull.
Die Entsorgung von Akkus und Batterien ist vom Betreiber nach gültigem nationalem oder regionalem Recht des Benutzerortes durchzuführen.
INFORMATION
Die nachfolgenden Informationen sind gültig für Deutschland.
Im Zusammenhang mit dem Vertrieb von Batterien und Akkus sind wir als Händler gemäß Batteriegesetz verpflichtet, Endverbraucher auf folgenden hinzuweisen:
- Endverbraucher sind zur Rückgabe gebrauchter Batterien und Akkus gesetzlich verpflichtet.
- Batterien und Akkus konnen nach Gebrauch unentgeltlich in communalen Sammelstellen oder im Handel zurückgegeben werden. Dabei muss das übliche Gebrauchsende der Batterien/Akkus erreicht sein, ansonsten muss Vorsorge gegen Kurzschluss getroffen werden.
- Die Rückgabemöglichkeit beschrankt sich auf Batterien und Akkus der Art, die wir in unserem Sortiment führen oder geführt haben, sowie auf die Menge, deren sich Endverbraucher üblicherweise entledigen.
- Eine durchgestrichene Mülltonne bedeutet, dass Sie die Batterien oder Akkus auf keinen Fall im Hausmüll entsorgen)dürfen. Alte Batterien oder Akkus konnen Schadstoffe enthalten, welche bei nicht fachgerechtert Entsorgung, Menschen und Umwelt schädigen konnen.

12 Gewährleistung
Die Gewährleistung erlischt bei
- Nichtbeachten unserer Vorgaben in der Betriebsanleitung
- Verwendung außerhalb der beschriebenen Anwendungen
- Sachwidriger Verwendung
- Veränderung oder Öffnen des Gerätes
- Mechanische Beschädigung und Beschädigung durch Medien / Flüssigkeiten
- Naturlichem Verschleiß und Abnutzung
- Nicht sachgemäß Aufstellung oder elektrische Installation
- Überlastung des Messwerkes
- Fallenlassen der Waage
13 Fehler und Störungen
13.1 Fehlermeldungen
| Fehlermeldung | Erläuterung |
| Lö | Kapazität der Batterien erschöpft |
| E | Nach dem Einsatz: Wägezelle defektWährend eines Wägevorgangs: ÜberlastWährend der Justierung: Fehlerhafte Justierung (Justiergewicht unter-oder übersritten) |
13.2 Störungen
Bei einer Störung im Programmablauf sollen die Waage kurz ausgeschelt und von der Betriebsspannung getrennt werden. Der Wägevorgang muss dann wieder von vorne begonnen werden.
| Störung | Mögliche Ursache |
| Die Anzeige leuchtet nicht | Die Waage ist nicht eingeschaltet.Die Batterie wurde nicht eingesteckt.Die Batterie ist leer. |
| Die Waage{lösst sich nicht einschalten | Batterie leer oder defekt[ON/OFF/TARE]defekt[ON/OFF/TARE] nicht korrekt betägt |
| Die Anzeige reagiert nicht auf Laständerungen | Lastzelle defektLastzellen-Verkabelung defekt |
| Die Gewichtsanzeige ändert sich fortwährend | Luftzug/LuftbewegungenVibrationen am HakenAngehängte Last bewegt sichDer Haken hat Berührung mit FremdkörpernElektromagnetische Felder/ Statische Aufladung (anderen Aufstellort wahren/ falls möglich störendes Gerätausschalten)Lastzelle defekt |
| Das Wägeergebnis ist offensichtlich falsch | Die Waagenanzeige steht nicht auf Null bei entlasteterWaageDie Justierung wurde mit falschem oder ungenauemJustiergewicht vorgenommenFalsche Wägeeinheit gewähltElektromagnetische Felder / Statische Aufladung (anderen Aufstellort wahren / falls möglich, störendes Gerätausschalten) |
A1 Zeichnungen für die Wartung
| Gesamtlänge | Kettenglied | Haken | ||||
| d | 1 | e | f | g | h | i |
| 283.0 ± 2.0 | < 0.7 | 75.0 ± 1.0 | 1.0 ± 1.0 | 24.0 ± 1.0 | 8.0 ± 0.2 | 8.0 ± 0.2 |


A2 Checkliste „Regelmäßige Wartung“
Hängewaage
Modell:
Serien-NQ:
| Waage gesamt | Haken | Optische Prüfung | Prüfung | |||||||||
| d | e | f | g | h | i | Keine Verformungen, Abnutzung oder Risse | Datum | Prüfer | ||||
| Max. zulässige Abweichung von der ersten Messung | ||||||||||||
| 1 % | 1 % | 5 % | 5 % | 5 % | 5 % | Griff | Haken | Kettenglied | Sonstige Teile | |||
| Vor erstem Gebrauch | ||||||||||||
| 3 Monate | ||||||||||||
| 6 Monate | ||||||||||||
| 9 Monate | ||||||||||||
| 12 Monate | ||||||||||||
| 15 Monate | ||||||||||||
| 18 Monate | ||||||||||||
| 21 Monate | ||||||||||||
| 24 Monate | ||||||||||||
Checklist „Regelmäßige Wartung“
Zur Kopie
Hängewaage
Modell:
Serien-NO:
| Waage gesamt | Haken | Optische Prüfung | Prüfung | |||||||||
| d | e | f | g | h | i | Keine Verformungen, Abnutzung oder Risse | Datum | Prüfer | ||||
| Max. zulässige Abweichung von der ersten Messung | ||||||||||||
| 1 % | 1 % | 5 % | 5 % | 5 % | 5 % | Griff | Haken | Kettenglied | Sonstige Teile | |||
| Vor erstem Gebrauch | ||||||||||||
Ersatzteile und Reparaturen
A3 Ersatzteile und Reparaturen
| Hängewaage | Modell | Serien-№ |
| Teil | Maßnahme | Datum | Name | Unterschrift |
A4 Konformitätserklarung
INFORMATION

- Weitere Sprachen der aktuellen EG/EU Konformitätserklung finden Sie online unter: www.kern-sohn.com/ce
- Bei geeichen Waagen (= konformitätsbewerteten Waagen) ist die Konformitätsbewertung im Lieferumfang enthalten.

KERN & SOHN GmbH
Ziegelei 1
72336 Balingen-Frommem
Germany
www.kern-sohn.com
+0049-[0]7433-9933-0
04 +0049-[0]7433-9933-149
info@kern-sohn.com
Déclaration de conformité UE | EU Declaration of Conformity | EU-Konformitäserklarung
FR Nous declarons par la presente sous notre entiere responsabilitie que le produit concerne par cette déclaration respecte les exigences des directives mentionnées ci-apres. L'objet de la déclaration précrit ci-dessous est conforme à la législation d'harmonisation de l'Union applicable. Le produit a eté fabriqué conformément aux normes enumeratedes ci-dessous et est conforme aux directives mentionnées.
EN We hereby declare under our sole responsibility that the product to which this declaration relates complies with the directives listed below. The product complies with the relevant Union harmonization legislation. The product was manufactured by applying the standards below and corresponds to the directives mentioned.
DE Wir erklaren hiermit unter alleiniger Verantwortung, dass das Produkt, auf das sich diese Erklarung bezieht, mit den nachstehenden Richtlinien übereinstimmt. Das Produkt erfüllt die einschlagigen Harmonisierungsrichtsvorschriften der Union. Das Produkt wurde unter Berücksichtigung unterstehender Normen gefertigt und entspricht den genannten Richtlinien.

Type | Type | Typ
Ort der Ausstellung:

Albert Sauter
KERN & SOHN GmbH
Signature: Directeur Executif
Signature: Managing director
Signatur: Geschäftsführer

KERN & SOHN GmbH
Ziegelei 1
72336 Balingen-Frommem
Germany
www.kern-sohn.com
+0049-[0]7433-9933-0
+0049-[0]7433-9933-149
info@kern-sohn.com
UKCA-Konformitätserklarung | UKCA Declaration of Conformity
DE Wir erklaren hiermit unter alleiniger Verantwortung, dass das Produkt, auf das sich diese Erklärung bezieht, mit den nachstehenden Vorschriften übereinstimmt. Das Produkt wurde unter Berücksichtigung untenstehender designierten Normen gefertigt und entspricht den genannten Vorschriften.
Ort der Ausstellung: 72336 Balingen, Place of issue: Germany

Signature: Geschäftsführer Managing director
English
KERN CH
Ort der Ausstellung:

Signature: Directeur Executif
Signature: Managing director
Signature: Geschäftsführer

KERN & SOHN GmbH
Ziegelei 1
72336 Balingen-Frommem
Germany
www.kern-sohn.com +0049-[0]7433-9933-0 +0049-[0]7433-9933-149 info@kern-sohn.com
UKCA-Konformitäserklarung | UKCA Declaration of Conformity
DE Wir erklaren hiermit unter alleiniger Verantwortung, dass das Produkt, auf das sich diese Erklärung bezieht, mit den nachstehenden Vorschriften übereinstimmt. Das Produkt wurde unter Berücksichtigung untenstehender designierten Normen gefertigt und entspricht den genommen Vorschriften.
Ort der Ausstellung: 72336 Balingen, Place of issue: Germany
Signature:
Geschäftsführer Managing director
Français
KERN CH
DE Wir erklaren hiermit unter alleiniger Verantwortung, dass das Produkt, auf das sich diese Erklärung bezieht, mit den nachstehenden Vorschriften übereinstimmt. Das Produkt wurde unter Berücksichtigung untenstehender designierten Normen gefertigt und entspricht den genannten Vorschriften.
Ort der Ausstellung: 72336 Balingen, Place of issue: Germany

Signature: Geschäftsführer Managing director
EinfachAnleitung