Magnifica - Wasserpumpe Pedrollo - Kostenlose Bedienungsanleitung
Finden Sie kostenlos die Bedienungsanleitung des Geräts Magnifica Pedrollo als PDF.
Benutzerfragen zu Magnifica Pedrollo
0 Frage zu diesem Gerät. Beantworten Sie die, die Sie kennen, oder stellen Sie Ihre eigene.
Eine neue Frage zu diesem Gerät stellen
Laden Sie die Anleitung für Ihr Wasserpumpe kostenlos im PDF-Format! Finden Sie Ihr Handbuch Magnifica - Pedrollo und nehmen Sie Ihr elektronisches Gerät wieder in die Hand. Auf dieser Seite sind alle Dokumente veröffentlicht, die für die Verwendung Ihres Geräts notwendig sind. Magnifica von der Marke Pedrollo.
BEDIENUNGSANLEITUNG Magnifica Pedrollo
DE ORIGINAL-BETRIEBSANLEITUNG DEUTSCH
RISCHIO DI SCOSSE ELETTRICHE
SICHERHEITSREGELN 35
SYMBOLE 35
GRUNDNORMEN 35
SICHERHEITSVORRICHTUNGEN 36
RESTRISIKEN 36
PERSONLiche SCHUTZAUSRUSTUNG 37
TRANSPORT UND HANDHABUNG 37
HANDHABUNG 37
TECHNISCHE BESCHREIBUNG 38
VORGESEHENE VERWENDUNG 38
MÖGLICHE FALSCHE VERWENDUNG 38
TECHNISCHE EIGENSCHAFTEN 38
TECHNISCHE DATEN 38
ABMESSUNGEN, ABSTÄNE UND BEFESTIGUNGSLÖCHER 39
LISTEDERTEILE 39
INSTALLATION 40
ALLGEMEINE INFORMATIONEN 40
ROHRLEITUNGEN 40
ELEKTRISCHER ANSCHLUSS 42
INBETRIEBNAHME, GEBRAUCH UND ABSCHALTEN 42
PRUFGENVOR DEM EINSCHALTEN 42
ERSTER START 42
NACHFULLEN 43
SELBSTANSAUGUNG 43
AUSSCHALTEN 43
WARTUNG 44
Gewöhnliche WARTUNG (VOM NUTZER AUSZUFUHREN) 44
AUSSEERORDENTLICHE WARTUNG 44
FEHLERSUCHE 46
ENTSORGUNG 48
KONFORMITÄTSERKLÄRUNG 48
ALLGEMEINE INFORMATIONEN
- These Anleitung muss immer dem Gerät beiliegen, auf das sie sich bezieht, und muss an einem Ort aufbewahrt werden, der den für die Nutzung und Wartung des Systems verantwortlichen Personen zugänglich ist und von ihren eingesehen werden kann.
- Es wird empfohlen, dass der Installateur/Bediener die in dieser Anleitung enthaltenen Vorschriften und Informationen vor der Verwendung des Produkts sorgfältig durchliest, um Schäden, unsachgemäß Verwendung des Geräts oder den Verlust der Garantie zu vermeiden.
- Dieses Produkt darf nicht von Kindern oder Personen mit eingeschrankten physischen, sensorischen oder geistigen Fähigkeiten oder mangelnder Erfahrung und Kenntnis benutzt werden, es sei dess, sie werden beaufsichtigt und erhielten eine Einweisung. Kinder muss beobachtet werden, um sicherzustellen, dass sie nicht mit dem Gerät speien.
- Der Hersteller leht eine Verantwortung im Falle eines Unfalls oder einer Beschädigung aufgrund von Fahrlässigkeit oder Nichtbeachtung der in dieser Anleitung beschriebenen Anweisungen oder unter anderen als den auf dem Typenschild angegebenen Bedingungen ab. Er leht auch eine Verantwortung für Schäden ab, die durch unsachgemäßigen Gebrauch des Geräts entstehen. Stapeln Sie keine Gewichte oder andere Kartons auf die Verpackung.
- Prufen Sie nach Erhalt der Ware sofort, ob das Gerät während des Transports beschädigt worden ist. Im Falle von Anomalien wird empfohlen, diese umgehend, spätestens 5 Tage nach Erhalt, unserem Handler oder, im Falle eines Direktkaufs, dem Pedrollo-Kundendienst zu melden.
SICHERHEITSREGELN
SYMBOLE
In dieser Anleitung werden Symbole verwendet, die die folgenden Bedeutungen haben.

GEFAHR EINES STROMSCHLAGS
Dieses Symbol warnt vor der Gefahr eines Stromschlags bei Nichtbeachtung der Vorschriften.

GEFAHR DER BESCHÄDIGUNG VON PERSONEN ODER GEGENSTÄNDEN
Dieses Symbol warnt davor, dass eine Nichtbeachtung der Vorschriften zu Personen- oder Sachschäden führen kann.
GRUNDNORMEN
- Bevor Sie das Produkt installmenten und verwenden,lesen Sie diese Anleitung sorgfältig in allen ihren Teilen.
- Vor der Verwendung des Produkts ist es notwendig, alle Sicherheitsinformationen zu kennen und alle Anweisungen vom Transport bis zur Entsorgung zu befolgen. Qualifiziertes Fachpersonal muss die Vorschriften, Normen und Gesetze des Landes einhalten, in dem die Pumpe installiert wird.
- Das Gerät entspricht den aktuellen Sicherheitsstandards; durch unsachgemäß Verwendung können jeder Personen, Gegenstände oder Tiere Schäden erleiden.
- Prufen Sie, ob die Typenschilddaten wie gewünscht und für die Anlage geeignet sind.
- Angebrachte Schilder)durfen nicht entfernt oder verändert werden
- Die Installation und Wartung muss von qualifiziertem Personal durchgeführt werden, das für die Herstellung der elektrischen Anschlüsse gemäß den nationalen Installationsvorschriften verantwortlich ist.
- Das Produkt darf nur für den Zweck und den Betrieb verwendet werden, für den es konstruiert wurde. Jedi andere Verwendung und Nutzung gilt als unsachgemäß und gefährlich.
- Sollte es am oder in der Nähe des Installationsortes zu einem Brand kommt, vermeiden Sie den Einsatz von Wasserstrahlen und verwenden Sie geeignete Löschmittel (Pulver, Schaum, Kohlendioxid).
-
Installieren Sie das Gerät entwickert von Wärmequellen und an einem trockenen und geschützten Ort unter Einhaltung der angegebenen Schutzart (IP).
-
Alle Installations- und/oder Wartungsarbeiten müssen von einem spezialisierten Techniker durchgeführt werden, der mit den geltenden Sicherheitsvorschriften vertraut ist.
- Es wird empfohlen, die empfohlene regelmäßige Wartung durchzuführen und beschädigte oder verschlissene Komponenten umgehend zu ersetzen. Nur Original-Ersatzteile von Pedrollo verwenden, die von einem autorisierten Handler oder vom Unternehmen selbst geliefert werden
- Die Verwendung von Nicht-Original-Ersatzteilen, Manipulationen oder unsachgemäß Verwendung führen zum Erlösen der Produktgarantie.
- Der Hersteller leht eine Verantwortung für Schäden ab, die durch unsachgemäßigen Gebrauch des Produkts entstehen, und haftet nicht für Schäden, die durch Wartung oder Reparaturen verursicht werden, die von unqualifiziertem Personal und/oder mit Nicht-Original-Ersatzteilen durchgeführt wurden.

Stellen Sie bei der Erstinstallation und im Wartungsfall sicher, dass
- am Stromnetz KEINE SPANNUNG ANLIEGT;
- das Stromversorgungsnetz mit Schutzvorrichtungen und insbesondere mit einem hochempfindlichen Differenzialschafter (≤ 30mA in Klasse A) ausgestattet ist, der zum Schutz gegen wechselnde, unipolare, pulsierende, kontinuierliche und hochfrequente Fehlerströme geeignet ist. Prufen Sie auch, dass die Erdung den Normen entspricht;
- Nachdem Sie den elektrischen Anschluss der Anlage durchgeführt haben, überprüfen Sie die Einstellungen der elektrischen Schaltanlage, da die Elektropumpe automatisch starten können;
die Anlage NICTT UNDER DRUCK STEHT
Die Norm EN 60335-2-41 sieht folgenden vor:
Die Elektropumpe muss über einen Differenzialschalter versorgt werden, dessen Bemessungsdifferenzstrom 30mA nicht überschreitet.
Die Elektropumpe muss mit einem nicht leichteren Gummikabel als „H07 RN-F" (Bezeichnung 245 IEC 66) ausgestellt sein.

Dieses Gerätarf nicht von Kindern oder Personen mit eingeschränkten physischen, sensorischen oder geistigen Fähigkeiten oder mangelnder Erfahrung und Kenntnis benutzt werden, es sei dess, sie werden beaufsichtigt und erhielten eine Einweisung.
Kinder mussen beobachtet werden, um sicherzustellen, dass sie nicht mit dem Gerät spielten.
SICHERHEITSVORRICHTUNGEN
Der Kontakt mit beweglichen Teilen und spannungsführenden Elementen wird durch den Aufbau des Gerätes selbst verhindert.
RESTRISIKEN

Fall des Gerätes
Die Pumpe kann manuell und ohne Werkzeug angehoben werden. Es muss auf die Möglichkeit von Brücken oder Verletzungen durch Herabfallen des Gerätes geachtet werden. Es wird empfohlen, die Pumpenhandhabung mit geeignetem Schuhwerk zu betreiben.

Rotierende Teile in Bewegung
Während des normalen Betriebs sind die rotierenden Teile alle gegen ungewolte oder versehentliche Berührung geschützt; Es ist jeder möglich, diese Schutzvorrichtungen (z.B. Lüfterabdeckung) zu entfernen.
Es wird empfohlen:
-
Alle Wartungsarbeiten bei ausgeschaltetem System durchführren und es vor einem möglichen automatischen Neustart schätzen.
-
Am Ende der Arbeiten alle vorgesehenen Schutzvorrichtungen vollständig wieder anbringen.

Stromschlag
Im Normalbetrieb sind die elektrischen Kontakte durch mechanische Barriers geschützt; Sie können jedoch entfernt werden. Die Gefahr eines Stromschlags wird durch das Vorhandensein einer feuchten Umgebung verstärkt. Es wird empfohlen:
- Elektrische Anschlüsse nur von qualifiziertem Personal in Übereinstimmung mit den örtlichen Gesetzen vornehmen lasen.
- Immer prüfen, dass das Gerät während der Eingriffe nicht unter Spannung stehen.

Verbrennungsgefahr
Im Normalbetrieb kann der Elektromotor Temperatoren erreichen, die zu Verbrennungen an Personen führen können, der versehentlich mit dem Motor in Berührung kommt. Es wird empfohlen:
- Den laufenden Motor nicht berühren.
- Den Motor vor allen Arbeiten ausreichend abkühlen setzen.

Verschüttungen
Die Pumpe wurde für Schwimmbadanwendungen und ähnliches konzipiert,ecause ist die Verwendung von gechlortem oder chemisch modifiziertem Wasser vorgesehen. Es wird empfohlen:
- Alle gefährlichen Stoffe in Übereinstimmung mit den örtlichen Gesetzen entsorgen.
Die Pumpe vor längerer Nichtbenutzung entleeren. - Keine Chemikalien für das Schwimmbad direkt in die Pumpe geben, sondern die Anweisungen der Produkte selbst befolgen.

Ansaugung
Während des normalen Betriebs saugt die Pumpe Flüssigkeit an, davon wird Folgendes empfohlen:
- Die Öffnungen im Tank fachmännisch dimensionieren und für ausreichenden Schutz sorgen.
- Sich nicht den Öffnungen der laufenden Pumpe mit Gegenständen erhorn, die sich verfangen oder eingesaugt werden können (z.B. Ketten, lange Haare, Krawatten).
PERSONLICHE SCHUTZAUSRUSTUNG

Bei außerordentlich und gewöhnlichen Wartungsarbeiten ist die Verwendung von Handschuhen zum Schutz der Hände (chemisches, thermisches und mechanisches Risiko) erforderlich.
Zur Handhabung wird die Verwendung von Sicherheitsschufen oder in jeder Fall Schutzschufen für den Fußempfohlen.
TRANSPORT UND HANDHABUNG

Es vermeiden, übermäßig Gewichtete übereinander zu legen. Sicherstellen, dass die Kiste während des Transports verschlossen ist. Zum Transportieren und Verschieben des Produkts sind keine besonderen Mittel erforderlich, ggf. die Gesamtabmessungen beachten.
HANDHABUNG

Darauf achten, dass die Elektropumpe keinen Stößen ausgesetzt wird, und kein Material überlappen, das die Pumpe beschädigten können.
Übersteigt das Gewicht 25 kg, muss die Verpackung von zwei Personen bewegt werden.
TECHNISCHE BESCHREIBUNG
Selbstansaugende Elektropumpe für Schwimmbäder mit eingebautem Vorfilter und vom Wasser isoliertem Motor. Die Pumpe wird aus folgenden Materialien gebaut:
| Komponente Material |
| Pumpengehäuse PP+30%GF |
| Laufrad Noryl+20%GF |
| Diffusor Noryl+20%GF |
| Dichtungshaltereinsatz PP+30%GF |
| Welle Edelstahl AISI 431 |
| Dichtung AISI316-Graphit-Aluminiumoxid |
| Deckel PC |
| Vorfilter PP+40%M |
| Basis PP+40%M |
VORGESEHENE VERWENDUNG
- Sauberes oder weniger verschmutztes Wasser mit Schwebstoffen, mit einer maximalen Temperatur von 40^ .
- Geeignet für die Installation an belufteten Orten, die vor Witterungseinflüssen geschützt sind, mit einer maximalen Umgebungstemperatur von 50^ .

Es ist absolut verboten, das Gerät für unsachgemäß Verwendungen und Methoden zu verwenden, die nicht in thisem Handbuch vorgesehen sind. Unsachgemäß Gebrauch verschlechtert die Sicherheits- und Leistungsmerkmale der Pumpe; Der Hersteller kann nicht für Ausfälle oder Verletzungen haftbar gemacht werden, die auf die Nichteinhaltung der Empfehlungen in thisem Handbuch zusückzuführn sind.
MÖGLICHE FALSCHE VERWENDUNG
- Montage der Pumpe oder Anlage mit Rohrleitungen, die Spannungen oder anderen mechanischen Belastungen ausgesetzt sind.
- Betrieb der Pumpe außerhalb des Arbeitsbereichs oder mit zu hohen Drücken.
- Installation oder Reparatur der Pumpe und der Anlage durch nicht qualifiziertes Personal.
TECHNISCHE EIGENSCHAFTEN
TECHNISCHE DATEN
| Versorgungsspannung und Frequenz | Einphasig bis 240 V - 50/60Hz Dreiphasig bis 480 V - 50/60 Hz |
| Schalldruck | ≤70 dBA (Magnifica 5); ≤65 dBA (Magnifica 1-2-3-4) |
| Max Starts/Stunde | 30 in regelmäßigen Abständen |
| Maximal zulässiger Druck im Pumpenkörper | 2.5 bar |
| Maximale Menge an Chloriden | 0.5% |
| pH-Wert | 6.8 - 8.4 |
| Schutzgrad | IP 55 |
ABMESSAGENGEN, ABSTÄNDE UND BEFESTIGUNGSLOCHER



MAGNIFICA 3-4-5 M

| TYP ÖFFNUNGEN ABMESSAGENGEN mm kg Einphasig Dreiphasig DN1 DN2 a f h1 h2 h3 n2 w s t | ||||||||||||||
| MAGNIFICA - 1m | MAGNIFICA - 1T | 2" | 2" | 294 | 583 | 240 | 113 | 353 | 155 | 4,3 | 10,5 | 235 | 10,8 | 10,3 |
| MAGNIFICA - 2m | MAGNIFICA - 2T | 12,0 | 11,5 | |||||||||||
| MAGNIFICA - 3m | MAGNIFICA - 3T | 294 | 657 | 240 | 113 | 353 | 155 | 15,8 | 10,5 | 235 | 16,5 | 16,3 | ||
| MAGNIFICA - 4m | MAGNIFICA - 4T | 18,0 | 17,8 | |||||||||||
| - MAGNIFICA - 5T | 677 | - | 21,0 | |||||||||||
LISTEDERTEILE
- Pumpengehause
- Saugöffnung
- Drucköffnung
- Vorfilterdeckel
- DeckelschlieBknopfe
- Vorfilter
- Ablassstopfen
- Elektromotor
- Basis
Auf Anfrage
Anschlussstutzen 63mm
Anschlussstutzen 2^ BS
Gewindeanschluss 2"NPT

INSTALLATION
ALLGEMEINE INFORMATIONEN

Die Installation muss an einem belufteten Ort, vor Witterungseinflüssen geschützt, mit waagrechter Pumpenachse und nach unter gerichteter Basis erfolgen. Die Installation in einer explosionsgefahrdeten Atmosphäre ist absolut verboten.
- Um die Pumpe ausreichend Freiraum zur Verfugung stellen, um die Belüftung des Motors zu gewährleisten, um den freien Lauf des Motors mit einem Schraubendreher und die Drehrichtung (nur in Dreiphase) zu prufen, zum Abziehen des Vorfilters, zum Befüllen und Entleerung des Pumpenkörpers.

- Bei einem festen Becken die Elektropumpe mindestens 3 m vom Beckenrand entfernt installieren.
- Bei Verwendung als tragbare Pumpe für ausreichenden Schutz sorgen und die Pumpe auf einer isolierenden Unterland von mindestens 100 mm montieren.
ROHRLEITUNGEN
- Die Rohrleitungen so dimensionieren, dass die Flüssigkeitsgeschwindigkeit beim Ansaugen weniger als 1,5m / s und bei Druck 3 m/s beträgt.
- Vor dem Anschlieben der Rohrleitungen sicherstellen, dass diese sauber sind. Sand- oder Schmutzpartikel mit einer Grübe von ca. 1 mm können zu vorzeitigem Verschleiß und Leistungsverlust führen.
- Im Falle einer Dichteitsprüfung der Rohrleitungen bei einem Druck von mehr als 2,5 bar die Pumpe absperren und die vor- und nachgeschalteten Ein-Aus-Ventile schreiben.
- Kunststoffrohrde oder -anschlüsse verwenden.
- Übermäßiges Anziehen vermeiden (nur die Dichtigkeit gewährleisten) und die Rohrleitungen an ihren Halterungen verankern, um die Pumpe nicht mit Gewicht und Vibrationen zu belasten.
- Die Verwendung von Absperventilen mit nicht einstellbarem Verschluss vermeiden, um Wasserschlage zu begrenzen. Es wird empfohlen, Dämpfer in die Rohrleitungen einzubauen, um zu verhindern, dass Wasserschlage die (Kunststoff-) Struktur der Pumpe belasten.
Saugrohre
Die Saugrohre müssen perfect abgedachtet sein, um das Eindringen von Luft in das System zu verhindern. Bei Installation unter dem Wasserstand (unterhalb des Wasserspiegels) an der Saug- und Druckstelle einen Absperschieber einsetzen, um die Pumpe vom System zu isolieren, möglichst nahe an der Pumpe.
- Bei Installation über dem Wasserstand (Pumpe über dem Wasserspiegel) mit mehreren Saugleitungen (z.B. für Skimmer, Bodenablauf, Reinigeranschluss) alle Leitungen an einen Verteiler mit eigenen Absperschieber anschließen und nur ein vertikales Rohr an die Pumpe anschließen.
- Der Verteiler muss sich unterhalb des Wasserspiegels befinden.
- Bei Verwendung von Schläuchen saugseitig Verständungsspiralen montieren, um Querschnittsverkurzungen im Rohr durch Saugunterdruck zu vermeiden.
- Dafür sorgen, dass alle Saurohre ein leichtes Gefälle haben, um Lufteinschlüsse zu vermeiden.

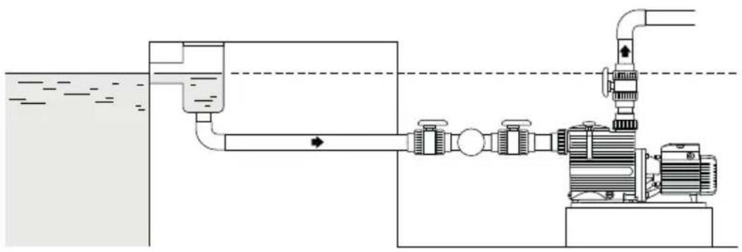
Pumpe über dem Wasserspiegel (Saugbetrieb)
Pumpe unterhalb des Wasserspiegels (Installation unter dem Wasserstand)

Druckleitungen
Immer einen Absperschieber zur Regulierung der Durchflussmenge und der Forderhöhe installieren. Auch den Einbau eines Druckmessgerats zum Ablesen des Drucks vorsehen.
ELEKTRISCHER ANSCHLUSS
Der elektrische Anschluss muss von qualifiziertem Personal unter Beachtung der ortlichen Vorschriften durchgefuhrt werden.
Der Schutzleiter (Erdung") muss an die mit dem Erdungssymbol gekennzeichne Klemme angeschlossen werden. Für den Einsatz in Schwimmbadern, Wannen oder ähnlichem muss ein Differenzialschalter mit Fehlerstrom (I_ N) ≤ 30 ~mA in den Versorgungsstromkreis eingefegt werden. Eine Netztretneinrichtung mit einem Kontaktöffnungsbstand von mindestens 3 ~mm installieren.
Wenn das Stromversorgungskabel beschädigt ist, muss es vom Hersteller oder seinem technischen Kundendienst oder auf jeder Fall von qualifiziertem Personal ersetzt werden.
Die Elektropumpe muss mit einem nicht leichterem Gummikabel als Typ H07 RN-F (245 IEC 66) ausgestellt sein.
INBETRIEBNAHME, GEBRAUCH UND ABSCHALTEN
PRÜFUNGEN VOR DEM EINSCHALTEN
- Bei beschädigten Teilenarf die Elektropumpe nicht gestartet werden.
ERSTER START
Die freie Drehung der Motorwelle mit einem Schraubendreher prufen, der in den entsprchenden Schlitz an der Welle auf der Lüfterseite eingeführt wird. Von Hand nur in der auf der Lüfterabdeckung angegebenen Pfeilrichtung drehen. Die Pumpe nicht starten, wenn die Welle blockiert ist.
- Nur bei dreiphasigen Versionen: Die Drehrichtigung (im Uhrzeigersinn auf die Pumpe von der Lüfterseite aus gesehen) prüfen, indem die Pumpe eine Sekunden lang gestartet wird. Wenn nicht, die Stromversorgung trennen und die Anschlüsse der beiden Phasen vertauschen.

Achtung: Wenn die Welle rückwärts dreht, kann sich das Laufrad bei Blockierung losen. In thisem Fall muss sie wie im Abschnitt „Demontage der Pumpe" beschrieben neu positioniert werden.
NACHFULLEN
- Bei Installation unter dem Wasserstand (Pumpe unterhalb des Wasserspiegels) die Pumpe durch langsames Öffnen des Absperschiebers auf der Saugseite befüllen, während der Druckverschluss zum Ablassen der Luft geöffnet bleibt.
- Bei Installation über dem Wasserstand (Pumpe über dem Wasserspiegel) die Knöpfe abschrauben und den Deckel abnehmer; Den Pumpenkörper bis zur Höhe der Saugöffnung mit Wasser fällen (siehe Abbildung).
- Nach dem Start die Pumpe durch Einwirken auf den Druckschieber so einstellen, dass sichergestellt wird, dass die Pumpe in dem auf dem Schild angegebenen Bereich arbeitet und dass die aufgenommene Stromstände nicht übersritten wird.
- Den Betrieb in Innenräumen (Druckschieber vollständig geschlossen) für längerere Zeit vermeiden.

Pumpe uber dem Wasserspiegel (uber dem Wasserstand)
SELBSTANSAUGUNG
Die Selfstansaugung ist die Fähigkeit der Pumpe, wenn sie oberhalb des Wasserspiegels installiert ist, die in der Saugleitung vorhandene Luft anzusaugen und nach einer Zeit, die bis zu 10 Minuten betragen kann, mit dem Pumpen von Wasser zu beginnen.

Achtung: Die Höhe vom Wasserspiegel bis zur Pumpensaugöffnung damit 4 Meter nicht überschreiben.
Bei einer Saughöhe über 1,5 m ein Rückschlagventil in die Saugleitung einbauen. Dadurch entleert sich die Saugleitung nicht bei einem Stopp (z.B. zum Reinigen des Vorfilters) und die Wiederanlaufzeit der Pumpe bleibt kürzer.
Es wird empfohlen, die Länge der Saugleitungen so welt wie möglich zu reduzieren, um die Ansaugzeiten zu verkürzen.
Bedingungen für die Selfstansaugung:
- Pumpenkörper bis zur Saugöffnung mit kaltem Wasser gefüllt.
- Rückschlagventil an der Saugleitung installiert.
- Saug- und Druckschieber vollständig geöffnet.
Vorfilter nicht verstopft. - Saugleitung perfect abgedichtet und in Wasser eingetaucht.
- Perfekte Abdichtung der O-Ringe und Gleitringdichtung der Pumpe.
- Von Hand angezogene Deckelknöpfe und Wasserablassstopfen.
- Druckleitung ohne Rückschlagventil und mit mind. 80~cm geradem Abschnitt nach der Druckleitungsoffnung (bei geringer Saughöhe kann die Länge des geraden Abschnitts verkürzt werden; bei der Installation zu prufen).
Wenn nach 10 Minuten keine Ansaugung erfolgt ist (durch den transparenten Deckel prufen), obige Bedingungen überprüfen und ggf. wiederherstellen.
Bei Absinken des Wasserspiegels unter den Skimmern oder anderen Ansaugöffnungen (z.B. Entleeren des Tanks) nur den Absperschieber an der Ansaugleitung geöffnet setzen.
AUSSCHALTEN
- Das Produkt ist für den Dauerbetrieb ausgelegt, die Abschaltung erfolgt nur durch Unterbrechung der Stromversorgung.
GEWÖHNLICHE WARTUNG (VOM NUTZER AUSZUFUHREN)

Vor allen Wartungsarbeiten sicherstellen, dass die Stromversorgung unterbrochen ist und die Pumpe auch nicht aus Versehen eingeschaltet werden kann.
Reinigung des Vorfilters
- Bei Installation unter dem Wasserstand (unterhalb des Wasserspiegels) vor der Demontage Saug- und Druckschieber schreiben.
- Den Vorfilter je nach Nutzungshäufigkeit und Vorhandensein von Verunreinigungen im Wasser (z.B. Blätter) reinigen:
-VerschlussknöpfedesDeckelsabschrauben
- Abdeckung und Hebel an den entsprechenden Sitzen mit einem Schraubendreher entfernen
- Den Vorfilter entfernen und reinigen, indem die Körper entfernt werden, die die Wasserdurchlassöffnungen verstopfen.
- Bei Bedarf auch die transparente Abdeckung nur mit Wasser und milder Seite reinigen. Keine Lösungsmittel verwenden. Den O-Ring des Deckels nicht mit Öl schmieren.
- Am Ende der Reinigung den Vorfilter neu positionieren und den Deckel schließen, indem die Knöpfe von Hand bis zum Anschlag festgeschraubt werden. Nicht mit Zangen oder anderen Werkzeugen anschrauben.
Entleeren des Pumpenkörpers
- In Erwartung längerer Inaktivität oder möglichem Frost muss der Pumpenkörper von eventuell im Inneren verbliebenen Wasser entleert werden. Einfach die abgebildeten Ablass-schrauben heraussschrauben.

Ausbau Vorfilter und Reinigung

Pumpenkörper ablassen
AUSSERORDENTLICHE WARTUNG
Außerordentliche Wartungen müssen von qualifiziertem Personal durchgeführt werden, da sie den Einsatz von Werkzeugen erfordern und vertiefte Kenntnisse der Ausrüstung erfordern. Die Demontage der Pumpe und der Austausch der Gleitringdichtung werden beschrieben.
Für die Reihenfolge der Demontage und erneuter Montage der Teile siehe die Explosionszeichnung auf der PEDROLLO Ersatzteilseite.
Demontage der Pumpe
- Das Netzkabel der Pumpe vom Stromnetz trennen.
Die Druck- und Saugschieber schlieben.
Die Pumpe von den Saug- und Druckleitungen trennen. - Den Pumpenkörper entleeren (siehe Kapitel Entleeren des Pumpenkörpers).
- Die Befestigungsschrauben Körper-Basis lösen und entfernen.
Die Schrauben Körper-Motorhalterung offen und entfernen. - An dieser Stelle ist es möglich, den Pumpenkörper vom Rest der Struktur zu loseen.
Austausch der Gleitringdichtung
- Um die Gleitringdichtung auszutauschen, muss das Laufrad ausgebaut werden.
- Einen Schlitzschraubendreher in den Schlitz an der Motorwelle auf der Lüfterseite einsetzen (ggf. die Lüfterabdeckung entfernen).
- Das Laufrad mit der Hand blockieren und abschrauben, indem die Welle mit dem Schraubendreher gegen den Uhrzeigersinn gedreht wird.
(Bei Bedarf ist es auch möglich, Lüfterabdeckung und Lüfter abzunehmen und das Wellenende mit einem Schraubstock oder einem anderen geeigneten Werkzeug zu blockieren).

Das Laufrad entfernen. Zusammen mit dem Laufrad wird auch der rotierende Teil der Gleitringdichtung entfern.
Den rotierenden Teil der Dichtung entfern.
- Den festen Teil der Dichtung aus ihrem Gehäuse entfernen.
Erneute Montage der Gleitringdichtung
- Nach dem Austausch der Dichtung den rotierenden Teil wieder auf dem Laufradsitz montieren, indem er bis zum Anschlag und der feste Teil auf den Deckelsitz geschoben wird.
Die Dichtung mit Alkohol oder Wasser schmieren. - Das Laufrad wieder auf der Welle montieren, indem es mit einer Hand festgehalten und die Welle mit einem Schraubendreher im Uhrzeigersinn festgeschraubt wird, bis das Laufrad am Anschlag blockiert ist.
- Nur bei dreiphasigen Versionen: Um ein Abschrauben des Laufrades bei Phasenumkehr zu vermeiden, das Gewindeende der Welle reinigen und eine schwache Schraubensicherung (z.B. Loctite 222) auftragen. Bei fehlender Schraubensicherung die Drehrichtigung prufen, bevor Wasser in die Pumpe gegosen wird.
Die erneute Montage abschreiben, indem die Montageschritte in umgekehrter Reihenfolge ausgufht werden.

Die Verschlusssschrauben der Körper-Motorhalterung mit abwechselnden Kreuzbewegungen an diametral gegenüberliegenden Positionen mit einem Anzugsdrehmoment von 7 Nm anschrauben.

Die Befestigungsschrauben Körper-Basis mit einem maximalen Anzugsdrehmoment von 3 Nm anschrauben.
FEHLERSUCHE
| PROBLEM MÖGLICHE URSACHE MÖGLICHE ABHILFE | |||
| Kein Start des Motors | Ungeeignete Versorgung Prüfen, ob Frequenz und Netzspannung mit den Angaben auf dem Typenschild der Pumpe übereinstimmen. | ||
| Falsche Anschlüsse Das Netzkabel richtig anschließen; Überprüfen, ob der Thermoschutz richtig eingestellt ist; Prüfen, ob der Anschluss der Schalttafel vor dem Motor korrekt ist. | |||
| Eingriff des Überlastschutzes Die Stromversorgung prüfen und ob sich die Welle frei dreht. Prüfen, ob der Thermoschutz richtig eingestellt ist. | |||
| Welle blockiert Die Ursachen der Verstopfung beseitigen (siehe „Pumpe blockiert") | |||
| Motorschaden Den Motor reparieren oder ersetzen, indem ein autorisiertes Kundendienstzentrum kontaktiert wird. | |||
| Pumpe blockiert Lange Inaktivität und Bildung von Oxiden in der Pumpe. | Bei klinen Pumpen kann die Welle mit einem Schraubendreher durch Einwirken auf den entspruchenden Schlitz an der Welle auf der Lüfterseite gedreht werden (evtl. Lüfterabdeckung öffnen). Daran decken, diesen Vorgang bei vom Netz getrennter Pumpe durchzuführen. Bei größeren Pumpen kann die Welle direkt durch Entfernen des Lüften gedreht werden oder sich an ein autorisiertes Zentrum wenden. | ||
| Eintritt von Feststoffen in das Pumpenlaufrad | Bei ausreichenden handwerklichen Fähigkeiten, kann der Pumpenkörper demontiert (siehe Abschnitt 7.2.1) und die Fremdkörper beseitigt werden. Anderfalls ein autorisiertes Zentrum kontaktieren | ||
| Lager blockiert Die Lager austauschen, indem ein autorisiertes Kundendienstzentrum kontaktiert wird. | |||
| Pumpe lauft, fündig aber kein Wasser | Lufteinlass aus Saugrohren oder -anschlüssen. | Prüfen, wo Luft eindringt (z.B. Seifenblasen) und richtig festziehen. Auch den Deckel und die Ablassschrauben prüfen. | |
| Absperventil verstopft oder Saugrohr nicht vollständig in Flüssigkeit eingetaucht. | Absperventil reinigen oder ersetzen; geeignetes Saugrohr verwenden. | ||
| Vorfilter verstopft. Den Vorfilter reinigen | |||
| PROBLEM MÖGliche URSACHE MÖGILiche ABHILFE | |||
| Unzureichender Durchfluss | Rohre oder Ventile mit zu keinem Durchmesser, die die Druckverluste erhöhen. | Geeignete Rohrleitungen und Ventile verwenden. | |
| Vorhandsein von Verstopfungen in den Rohren oder im Laufrad. | Das Laufrad reinigen und daran denken, immer den Vorder filter zu verwenden. | ||
| Laufrad verschlucht. Das Laufrad ausstauschen, indem ein autorisiertes Kundendienstzentrum kontaktiert wird. | Kundendienstzentrum kontaktiert wird. | ||
| Unterlegscheiben abgenutzt. Laufrad und Diffusor austrauschen, indem ein autorisiertes Kundendienstzentrum kontaktiert wird. | Kundendienstzentrum kontaktiert wird. | ||
| Zu hohe Viskosität der Föderflüssigkeit (falls nicht Wasser). | Pumpe nicht für Service geeignet. | ||
| Falsche Drehrichtung (nur dreiphasig). | Zwei Phasen in der Klemmleiste oder im Schaltschrank vertauschen. | ||
| Übermäßig Saughöhe. Den Druckschieber teilweise schreiben oder den Saughöhenunterschied zwischen Pumpe und Tank verringern. | Zu langte Saugleitung. Den Abstand zwischen Pumpe und Tank so welt wie möglich verringern, ggf. Rohre mit früherem Durchmesser auf der Saugseite verwenden. | ||
| Zu langte Saugleitung. Den Abstand zwischen Pumpe und Tank so welt wie möglich verringern, ggf. Rohre mit früherem Durchmesser auf der Saugseite verwenden. | Unwucht des rotierenden Teils. Sicherstellen, dass sich im Laufrad keine Festkörper befinden. | ||
| Zu hoher Geraschpegel | Abgenutzte Lager. Die Lager austrauschen. | Die Pumpe und die Rohrleitungen ordnungsgemäß an ihren Halterungen befestigen. | |
| Zu hoher Durchfluss für den Durchmesser der Druckleitungen. | Größere Rohre verwenden oder den Druckschieber schreiben, um die Durchflussmenge zu reduzieren. | ||
| Hohlaumbildung. Den Druckschieber schreiben und/oder Rohre mit früherem Innendurchmesser verwenden. | Innendurchmesser verwenden. | ||
| Unsymmetrische Stromversorgung. Prüfen, dass die Netzspannung geeignet ist. | Unsymmetrische Stromversorgung. Prüfen, dass die Netzspannung geeignet ist. | ||
| Leck an der Gleitringdichtung | Verklebe Dichtung Die Dichtung ausauschen, indem ein autorisiertes Kundendienstzentrum kontaktiert wird. | Kundendienstzentrum kontaktiert wird. | |
| Verkratze Dichtung Die Dichtung ausauschen, indem ein autorisiertes Kundendienstzentrum kontaktiert wird. | Kundendienstzentrum kontaktiert wird. | ||
| Falsche Dichtung Die Dichtung ausauschen, indem ein autorisiertes Kundendienstzentrum kontaktiert wird. | Kundendienstzentrum kontaktiert wird. | ||
| Nachtropfen bei erstem Start oder beim Befüssen | Warten, bis die Dichtung eingelaufen ist; Wenn das Phänomen weiterhin besteht, die Dichtung austrauschen, indem ein autorisiertes Kundendienstzentrum kontaktiert wird. | ||
ENTSORGUNG
- Bei der Entsorgung der Teile, aus denen die Pumpe besteht, die geltenden Normen und Gesetze in den Ländern beachten, in denen das Gerät verwendet wird. Entsorgen Sie verunreinigende Teile nicht in der Umwelt.
- Schädliche Flüssigkeiten müssen in Übereinstimmung mit den geltenden lokalen Gesetzen entsorgt werden.
- Eine Entsorgung über den Hausmüll ist NICHT erlaubt.
- Der Kunststoff der Komponenten, aus denen die Pumpe besteht, kann recycliert werden (nicht als Hausmüll).
- Das Verpackungsmaterial kann über den Hausmüll entsorgt werden.

Korrekte Entsorgung gemäß WEEE (RICHTLINIE 2012/19/EU)
KONFORMITÄTSERKLÄRUNG
Wir erklären in alleiniger Verantwortung, dass das betreffende Produkt den Bestimmungen der folgenden Gemeinschaftsrichtlinien, einschließlich der neuesten Änderungen, und den entsprechenden nationalen Rechtsvorschriften zur Umsetzung entspricht: 2006/42/EU, 2014/35/EU, 2014/30/EU, 2009/125/EU, 547/2012/EU, 2011/65/EU, 2015/863/EU
San Bonifacio, 08/06/2021
Pedrollo S.p.A.
Der Präsident
Silvano Pedrillo
EinfachAnleitung