HQPE10006 - Laserpointer HQ Power - Kostenlose Bedienungsanleitung
Finden Sie kostenlos die Bedienungsanleitung des Geräts HQPE10006 HQ Power als PDF.
Benutzerfragen zu HQPE10006 HQ Power
0 Frage zu diesem Gerät. Beantworten Sie die, die Sie kennen, oder stellen Sie Ihre eigene.
Eine neue Frage zu diesem Gerät stellen
Laden Sie die Anleitung für Ihr Laserpointer kostenlos im PDF-Format! Finden Sie Ihr Handbuch HQPE10006 - HQ Power und nehmen Sie Ihr elektronisches Gerät wieder in die Hand. Auf dieser Seite sind alle Dokumente veröffentlicht, die für die Verwendung Ihres Geräts notwendig sind. HQPE10006 von der Marke HQ Power.
BEDIENUNGSANLEITUNG HQPE10006 HQ Power
BEDIENUNGSCANLEITUNG 18
INSTRUKCJA OBSLUGI 22
MANUAL DO UTILIZADOR 27
USER MANUAL
1. Introduction
An alle Einwohner der Europäischen Union
Wichtige Umweltinformationen über these Produkt
Dieses Symbol auf dem Produkt oder der Verpackung zeigt an, dass die Entsorgung these Produkte nach seinem Lebenszyklus der Umwelt Schaden zufugen kann. Entsorgen Sie die Einheit (oder verwendeten Batterien) nicht als unsortierter Hausmull; die Einheit oder verwendeten Batterien müssen von einer spezialisierten Firma zwecks Recycling entsorgt werden. Diese
Einheit muss an den Handler oder ein örtliches Recycling-Unternehmen returniert werden. Respektieren Sie die örtlichen Umweltvorschriften.
Falls Zweifel bestehen, wenden Sie sich für Entsorgungsrichtlinien an ihre örtliche Behörde.
Vielen Dank, dass Sie sich für HQPower™ entschieden haben! Lesen Sie diese Bedienungsanleitung vor Inbetriebnahme sorgfältig durch. Überprüfen Sie, ob Transportschäden vorliegen. Sollte dies der Fall sein, verwenden Sie das Gerät nicht und wenden Sie sich an ihren Handler.
2. Sicherheitshinweise

- Dieses Gerät kann von Kindern ab 3 Jahren und darüber sowie von Personen mit verringerten physischen, sensorischen oder mentalen Fähigkeiten oder Mangel an Erfahrung und Wissen benutzt werden, wenn sie beaufsichtigt oder bezüglich des sicheren Gebrauchs des Gerätes unterwiesen wurden und die daraus resultierenden Gefahren verstehen. Kinder sollenn nicht mit dem Gerät speiten. Beachten Sie, dass Kinder das Gerät nicht reinigen oder bedieren.
- Demontieren oder öffnen Sie niemals das Gerät. Es gibt keine zu wartenden Teile. Bestellen Sie eventuelle Ersatzteile bei Ihrem Fachhändler.
- Verwenden Sie den Netzstecker oder eine Mehrfach-Steckdosenleiste, um das Gerät vom Netz zu trennen, beachten Sie dann, dass diese immer leicht zugänglich sind.
- Ist das Netzkabel beschädigt, so muss es durch den Hersteller oder seinen Kundendienst ausgetauscht werden.
- Bei Anwendung kann das Gehäuse aufheizen. Sorgen Sie davon, dass es für eine gute Luftung genügend Raum rund dem Gerät gibt.
- Eignet sich nicht zur Raumbeleuchtung.

- Blichen Sie nicht direkt in die Lichtquelle, um Folgendes zu vermeiden:
epileptische Anfälle bei empfindlichen Menschen
zeitliche Blindheit (Blitzblindheit)
○ permanente und unwiderrufliche Augenschäden

Warning: Laser Klasse 2
Maximale Leistung: 0.516 mW
Emissions-Wellenlängen: 533 nm, 665 nm
Nicht in den Laserstrahl blichen
| IEC 60825-1 und/oder EN 60825-1 | |||
| Gemessener Abstand | Wellenlange | Zugängliche Emissions-grenzwerte | |
| Normale Anwendung für grün | 100 mm | 533 | 0.269 mW |
| Normale Anwendung für rot | 100 mm | 665 | 0.137 mW |
| Normale Anwendung für grün + rot | 100 mm | - | 0.516 mW |
3. Allgemeine Richtlinien
Siehe Velleman® Service- und Qualitätsgarantie am Ende dieser
Bedienungsanleitung.
4. Verhältnis Abstand-Oberfläche
| Bereich | für Oberfläche bis |
| 3 m | 20 m2 |
| 6 m | 90 m2 |
| 8 m | 140 m2 |
| 10 m | 200 m2 |
| 12 m | 280 m2 |
| 14 m | 360 m2 |
5. Anwendung
5.1 Anwendung im Innebereich
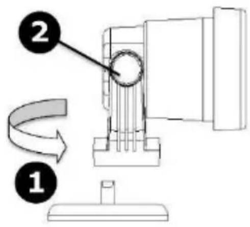
- Befestigen Sie den Scheinwerfer am Standfuß [1] und drehen Sie im Uhrzeigersinn, um zu fixieren.
- Verbinden Sie den 2-pol. Stecker polungsrichtig mit dem Eingang. Für eine gute Wasserdichtheit, drehen Sie die Kappe gut fest.
- Stecken Sie das Steckernetzteil in eine ordnungsgemäß Netzsteckdose.
- Stellen Sie den gewünschten Winkel ein [2].
5.2 Anwendung im Außenbereich
- Befestigen Sie den Scheinwerfer am Standfuß [1] und drehen Sie im Uhrzeigersinn, um zu fixieren.
- Verbinden Sie den 2-pol. Stecker polungsrichtig mit dem Eingang. Für eine gute Wasserdichtheit, drehen Sie die Kappe gut fest.
- Stecken Sie das Steckernetzteil in eine ordnungsgemäß Netzsteckdose.
- Stellen Sie den gewünschten Winkel ein [2].


6. Reinigung und Wartung
Reinigen Sie das Gerät ab und zu mit einem feuchten Tuch. Verwenden Sie keine aggressiven Chemikalien, Lösungsmittel oder starke Reinigungsmittel.
7. Technische Daten
Stromversorgung 5 VDC, 1000 mA (Netzteil mitgeliefert)
Laserklasse 2B
IP-Schutzart. IP44
Abstand (Projektion) 10 m
Leistung Laser
grun 20 mW (533 nm)
rot 100 mW (665 nm)
grun ^+ rot. 0.516 mW
Abmessungen. 400 x 104 mm
Gewicht 550g
Verwenden Sie these Gerät nur mit originellen Zubehörteilen. Velleman NV übernimmt keine Haftung für Schaden oder Verletzungen bei (falscher) Anwendung these Gerätes. Für mehr Informationen zu dieser Produkt und die neueste Version dieser Bedienungsanleitung, siehe www.hqpower.eu. Alle Änderungen ohne vorherige Ankündigung vorbehalten.
URHEBERRECHT
Velleman NV besitzt das Urheberrecht für diese
Bedienungsanleitung. Alle weltweiten Rechte vorbehalten. Ohne vorherige schriftliche Genehmigung des Urhebers ist es nicht gestattet, diese Bedienungsanleitung ganz oder in Teilen zu reproduzieren, zu kopieren, zu übersetzen, zu bearbeiten oder zu speichern.
INSTRUKCJA OBSŁUGI
1. Wstep
Velleman® Service- und Qualitätsgarantie
Seit der Gründung in 1972 hat Velleman® sehr viel Erfahrung als Verteiler in der Elektronikwelt in über 85 Ländern aufgebaut. Alle Produkte entsprechen den strengen Qualitätforderungen und gesetzlichen Anforderungen in der EU. Um die Qualität zu gewährleisten werden unsere Produkte regelmäßiger einer zusätzlichen Qualitätkontrolle unterworfen, sowohl von unserer eigenen Qualitätsbeteiligung als auch von externen spezialisierten Organisationen. Sollten, trotz aller Vorsichtsmaßnahmen, Probleme auftreten, behmen Sieitte die Garantie in Anspruch (siehe Garantiebedingungen).
Allgemeine Garantiebedingungen in Bezug auf Konsumgüter (für die Europäische Union):
-
Alle Produkte haben für Material- oder Herstellungsfehler eine Garantiepiode von 24 Monaten ab Verkaufsdatum.
-
Wenn die Klage berechtigt ist und falls eine kostenlose Reparatur oder ein Austausch des Gerätes unwilling ist, oder wenn die Kosten darauf unverhältnismäßig sind, kann Velleman® sich darüber entscheiden, diese Produkte durch ein gleiches Produkt zu ersetzen oder die Kaufsumme ganzt oder teilweise zurückzuzahlen. In diesen Fall erhalten Sie ein Ersatzprodukt oder eine Rückzahlung im Werte von 100% der Kaufsumme im Falle eines Defektes bis zu 1 Jahr nach Kauf oder Lieferung, oder Sie bereits ein Ersatzprodukt im Werte von 50% der Kaufsumme oder eine Rückzahlung im Werte von 50% im Falle eines Defektes im zweiten Jahr.
- Von der Garantie ausgeschlossen sind:
-
alle direkten oder indirekten Schäden, die nach Lieferung am Gerät und durch das Gerät verursacht werden (z.B. Oxidation, Stöße, Fall, Staub, Schmutz, Feuchtigkeit, ...), sowie auch der Inhalt (z.B. Datenverlust), Entscheidigung für eventuellen Gewinnausfall.
-
Verbrauchsgüter, Teile oder Zubehörteile, die durch normalen Gebrauch dem Verschleiß ausgesetzt sind, wie z.B. Batterien (nicht nur aufladbare, sondern auch nicht aufladbare, eingebaute oder ersetzbare), Lampen, Gummiteile, Treibriemen, uw. (unbeschrankte Seite).
-
Schaden verursacht durch Brandschaden, Wasserschaden, Blitz, Unfälle, Naturkatastrophen, usw.
-
Schäden verursacht durch absichtliche, nachlüssige oder unsachgemäß Anwendung, schlechte Wartung, zweckentfremdete Anwendung oder Nichtbeachtung von Benutzerhinweisen in der Bedienungsanleitung.
-
Schaden infolge einer kommerziellen, professionellen oder kollektiven Anwendung des Gerätes (bei gewerblicher Anwendung wird die Garantiepiode auf 6 Monate bzw. zureckgeführt).
-
Schaden verursacht durch eine unsachgemäße Verpackung und unsachgemäßen Transport des Gerätes.
-
alle Schäden verursacht durch unautorisierte Änderungen, Reparaturen oder Modifikationen, die von einem Dritten ohne Erlaubnis von Velleman® vorgenommen werden.
-
Im Fall einer Reparatur, wenden Sie sich an ihren Velleman®-Verteiler. Legen Sie das Produkt ordnungsgemäß verpackt (vorzugsweise die Originalverpackung) und mit dem Original-Kaufbeleg vor. Fügen Sie eine deutliche Fehlerbeschreibung hinzu.
-
Hinweis: Um Kosten und Zeit zu sparen,lesen Sie die Bedienungsanleitung nochmals und überprüfen Sie, ob es
keinen auf de Hand liegenden Grund gibt, ehe Sie das Gerät zur Reparatur zusckschicken. Stellt sich bei der Überprüfung des Gerätes hersaus, dass kein Geräteschaden vorliegt, konnte dem Kunden eine Untersuchungspauschale berechnet. Für Reparaturen nach Ablauf der Garantiefrist werden Transportkosten berechnet.
- Jede komerzelle Garantie lasst diese Rechte unberuht. Die oben stehende Aufzahlung kann eventuell angepasst werden gemäß der Art des Produktes (siehe Bedienungsanleitung des Gerätes).
EinfachAnleitung