VEKS3025 - Kühlschrank VESTEL - Kostenlose Bedienungsanleitung
Finden Sie kostenlos die Bedienungsanleitung des Geräts VEKS3025 VESTEL als PDF.
Questions des utilisateurs sur VEKS3025 VESTEL
0 question sur cet appareil. Repondez a celles que vous connaissez ou posez la votre.
Poser une nouvelle question sur cet appareil
Laden Sie die Anleitung für Ihr Kühlschrank kostenlos im PDF-Format! Finden Sie Ihr Handbuch VEKS3025 - VESTEL und nehmen Sie Ihr elektronisches Gerät wieder in die Hand. Auf dieser Seite sind alle Dokumente veröffentlicht, die für die Verwendung Ihres Geräts notwendig sind. VEKS3025 von der Marke VESTEL.
BEDIENUNGSANLEITUNG VEKS3025 VESTEL
Allgemeine Warnungen 2
Sicherheits Information 4
Hinweise 4
Installation und Anschluss des Gerätes 5
Vor Inbetriebnahme 5
Warnhinweise zu den Temperatureinstellungen 6
FUNKTIONEN 6
Temperaturregelung 6
AUFBEWAHRUNG VON LEBENMITTEL 7
REINIGUNG UND PFLEGE 7
Abtauen 8
Wechseln der Gluhlampe 8
TRANSPORT UND STANDORTÄNDERUNG 9
BEVOR SIE DEN KUNDENDIENST RUFEN 9
Tipps zum Energiesparen 10
BAUTEILE UND VORRATSFACHER 11
Lieferumfang 12
Datumblatt fur kuhlgeräte 12
Allgemeine Warnungen
WARNING: Belüftungsöffnungen in der Geräteverkleidung oder in der integrierten Struktur, frei von Hindernissen halten.
WARNING: Verwenden Sie keine mechanischen Werkzeuge oder andere Mittel als vom Hersteller vorgeschlagen, um den Abtauvorgang zu beschleunigen.
WARNING: Verwenden Sie keine elektrischen Geräte innerhalb der Kühlfächer des Gerätes, sofern sie nicht vom Hersteller empfohlenen sind.
WARNING: Achten Sie darauf, die Kältemittelkreise des Kuhlgeräts nicht zu beschädigen.
WARNING: Um eine Gefahr aufgrund der Instabilität des Gerätes zu vermeiden, muss es in Übereinstimmung mit den Anweisungen fixiert werden.
Die Geräte mit dem Kühlgas R600a, sind sehr umweltfreundlich, aber auch leicht entzündlich. Wahrend des Transportes und der Installation ist mit größter Sorgfalt darauf zu achten, daß der Kühlkreislauf nicht beschädigt wird. Falls es noch zu einer Beschädigung kommt, mussen offene Flammen vermieden werden. Den Raum, in dem das Gerät stehen, für eine Minute gut lüften.
-
Benutzen Sie keine mechanischen Vorrichtungen oder künstlichen Mittel, um den Gefrierprozess zu beschleunigen.
-
Lagern Sie in thisem Gerät keine explosiven Stoffe wie Spraydosen mit brennbarem Treibmittel.
-
Das Gerät soll im Haushalt und in ähnliche Anwendungen wie folgt verwendet werden;
-
Personal Kuchenbereich in Läden, Büros und anderen Arbeitsumgebungen
-
Bauernhausern und von Kunden in Hotels, Motels und anderen Unterkünften
-
Bett and Fruhstück-Typ-Umgebungen;
-
Gastronomie und ähnliche Non-Retail-Anwendungen
-
Wenn die Steckdose nicht mit dem Kühlschrank Stecker zusammenpasst, muss es, um Gefahren zu vermeiden durch den Hersteller, dessen Kundendienst oder einer ähnlich qualifizierten Personen ersetzt werden.
- Dieses Gerät ist nicht zur Verwendung durch Personen (einschließlich Kinder) mit eingeschränkten physischen, sensorischen oder geistigen Fähigkeiten oder mangelnder Erfahrung und Wissen bestimmt, es sei dann sie stehen unter Aufsicht oder ausfuhrlicher Anleitung zur Benutzung des Gerätes durch eine verantwortliche Person, für ihre Sicherheit. Kinder sollen den daran gehindert werden, mit dem Gerät zu speiten.
- Das Netzkabel des Kühlschranks ist mit einem geerdeten Netzstecker ausgestattet. Diese Netzstecker muss in eine geerdete, mit mindestens 16 Ampere gesicherte Steckdose gesteckt werden. Wenn Sie keine geeignete Steckdose haben, halten Sie eine solche von einem qualifizierten Elektriker installmenten.
- Dieses Gerät kann von Kindern ab 8 Jahren und äther und Personen mit eingeschränkten physischen, sensorischen oder geistigen Fähigkeiten oder mangelnder Erfahrung und Wissen verwendet werden, wenn sie unter Aufsicht oder ausfuhrlicher Anleitung zur Benutzung des Gerätes durch eine verantwortliche Person stehen und den Gefahren bewusst sind. Kinder dürfen mit dem Gerät nichtizen. Reinigung und Wartung darf nicht von Kindern ohne Aufsicht durchgeführt werden.
- Wenn das Netzkabel beschädigt ist, muss es, um Gefahren zu vermeiden durch den Hersteller, seinen Kundendienst oder einerähnlich qualifizierten Person ersetzt werden.
- Dieses Gerät ist nicht für den Einsatz auf Höhen über 2000 m vorgesehen.
Sicherheits Information
- In dem Kühlschrank dürfen keine elektrischen Geräte benutzt werden.
- Falls das Gerät einen alten Kühlschrank ersetzen soll, empfehlen wir als Sicherheitsvorkehrung, das Türschloß des alten Gerätes zu zerstären oder zu entfernen. Diese Maßnahme verhindert, daß spielende Kinder sich selbst darin einsperren.
- Altere Geräte enthalten Kuhl- und Isolierungsgas, diese müssen ordnungsgemäß entsorgt werden. Zur Entsorgung eines Altgerätes sollen den Sie sich einer fachkundigen Müllbeseitungsstelle anvertrauen.Fur weitere Fragen kontaktieren Sie ihre lokale Behörde oder einen Fachhändler.itte stellen Sie safer, daß die Rohrleitungen bis zur ordnungsgemäßen Entsorgung nicht beschädigt werden.

Fragen Sieitte ihre Stadtverwaltung über die Entsorgung von WEEE fur Wiederverwendung, Recycling und Recovery-Zwecke.
WICTIGER HINWEIS :
Um Betriebsstörungen zu vermeiden und mehr Freude an Ihr Gemüt zu haben, bitten wir Sie, vor Inbetriebnahme des Gerätes die Bedienungsanleitung aufmerksam durchzULEsen. Der Hersteller übernimmt keine Garantie bei unsachgemäßer Installation und Bedienung des Gerätes.
Hinweise
- Zur Verhinderung von Brandgefahr oder Überhitzung dürfen keine Adapter oder Vielfachstecker benutzt werden.
- Schließen Sie keine alten, verbogenen Verlängerungskabel an das Gerät.
Die Kabel nicht wickeln oder knicken.

- Wenn die Anschlußleitung these Gerätes beschädigt wird, muß sie durch den Hersteller oder seinen Kundendienst oder eine ähnlich qualifizierte Person ersetzt werden, um Gefährdungen zu vermeinden
- Verbieten Sie Kindern mit dem Gerät zu speilen. Niemals auf dem Gerät sitzen oder sich an die schwingende Tür hangen.
- Den Kühlschrank nicht mit nassen Händen an das Stromnetz anschließen.
- Hochprozentige Alkoholika müssen gut verschlossen, senkrecht im Kühlteil aufbewahrt werden.




Installation und Anschluss des Gerätes
- Der Kühlschrank wird am Stromnetz mit 220-240V~ 50 Hz angeschlossen.
- Bevor Sie das Gerät an das Stromnetz anschließen, überprüfen Sie die Stromart und Spannung am Aufstellort mit den Angaben auf dem Typenschild des Gerätes.
- Nach dem Transport Gerät 3 Stunden stehen让他们 leave, erst dann über eine vorschrifsmäßige geerdete Schutzkontakt-Steckdose anschließen. Ist die Steckdose nicht geerdet, muss das Gerät von einem Elektriker angeschlossen werden.
- Der Hersteller ist nicht für die unsachgemäße Installation oder Bedienerfehler verantwortlich.
- Der Kühlschrankarfurtherder direkten Sonneneinstrahlung,nochanderen thermischen Einflüssen ausgesetzt werden.
- Das Gerät darf nicht im Freien stehen.
- Stellen sie das Gerät nicht in die Nähe von Wärmequellen. Ist dies unvermeidbar, halten Sie den Mindestabstand von 50 cm zu Heizkörpern, Gas- oder Kohleöfen und 5 cm zu Elektroöfen ein. Die notwendige Luftzirkulationarf nicht beeinträchtigt werden.
- Der Abstand zur Decke muß mind. 15 cm betragen.
- Stellen Sie keine schweren oder weitere Gegenstände auf das Gerät.
- Stellen Sie das Gerät darüber geben einen anderen Kühlschrank oder Gefriertruhe, muss zur Vermeidung einer Kondensation ein Abstand von 2 cm eingehalten werden.
- Montieren Sie das Plastikdistanzstück (Teil mit schwarzen Rippen an der Rückseite), indem Sie es um 90^ drehen. Dies verhindert, dass der Kondensator die Wand berührt.
- Montieren Sie die Wandabstandhalter am oberen Teil des Kondensators (Riffelblech auf der Rückseite). Diese vermeiden ein Anlehnen des Gerätes an der Wand.
- Der Kühlschrank ist stabil und waagerecht auf den Boden zu stellen. Durch die zwei vorderen verstellbaren Fußkann das Gerät waagerecht ausgerichtet werden.
- Zur regelmäßigen Reinigung eignet sich lauwarmes Wasser mit einem leicht desinfizierendem Reinigungsmittel (Handspülmittel).Das Gehäuse und Zubehör separates mit Seifenwasser reinigen. Die getrockneten Zubehörteile wieder in das Gerät einsetzen.
Vor Inbetriebnahme
- Bevor Sie das Gerät anschließen, sollen den Sie das Gerät nach dem Transport 3 Stunden stehen halten. Dies ist wichtig für eine einwandfrei Funktion.
- Nach der ersten Inbetriebnahme kann ein Geruch entstehen. Sobald die Kuhlung beginnt, verschwindet der Geruch.




TEIL - 2. Funktionen
Temperaturregelung

- Der Thermostat reguliert automatisch die Innentemperatur des Kühlschrank. Durch Drehen des Knopfes von Position 1 nach 5, können Sie kältere Temperaturen erzielen,
Die Position "●" bedeutet, dass das Thermostat ausgeschaltet ist und dass nicht gekühlt werden kann. - Für kurzzeitige Lagerung von Lebensmitteln im Kühlschrank konnen Sie den Knopf zwischen minimaler und mittlerer Position einsteilen (1-3),
- Für langzeitige Lagerung von Lebensmitteln im Kühlschrank stellen Sie den Knopf auf die mittlere Position (3-4).
Beachten Sie, dass sich Zimmertemperatur, Temperatur der gelagerten Lebensmittel und das Öffnen und Schließen der Tur auf die Temperatur in den Kühlschrank auswirken. Falls notwendig,ändern Sie die Temperatureinstellung am Gerät.
Vollraumkühlschränke (ohne Gefrierfach): Vollraumkühlschränke haben kein Gefrierfach, können aber auf 4 - 6°C herunter kühlen.
Warnhinweise zu den Temperatureinstellungen
- Die Umgebungstemperatur, die Temperatur der frisch eingelagerten Nahrungsmittel sowie die Häufigkeit, mit der die Tur geöffnet wird, beeinflussen die Temperatur im Kühlfach. Ändern Sie die Einstellungen, falls dies erforderlich ist.
- Für einen möglichest effizienten Betrieb sollte das Gerät nicht in Umgebungen unter 10^ betrieben werden.
- Die Thermostatstellung sollte je nach Häufigkeit der Türoflösung, nach Nahrungsmittelmenge und der Umgebung am Aufstellungssort eingestellt werden.
- Um eine vollständige Kuhlung zu erreichen, muss Ihr Kühlschrank nach dem Einstecken 24 Stunden lang ohne Unterbrechung in Umgebungstemperatur betrieben werden. Halten Sie die Türen des Geräts in dieser Zeit möglichst geschlossen und geben Sie nicht zuviel Nahrungsmittel hinein.
- Wenn das Gerät ausgeschaltet oder ausgesteckt wird, und Sie es wieder einschalten oder einstecken, lauft es erst mit einer Verzögerung von 5 Minuten wieder an, damit der Kompressor nicht beschädigt wird. Nach 5 Minuten lauft das Gerät wieder normal.
- Ihr Kuhlgerät wurde gemäß seiner Klimaklasse zum Einsatz bei bestimmten Umgebungstemperaturen entwickelt; entsprechende Angaben finden Sie auf dem
Typenschild. Wenn Sie das Kuhlgerät bei Umgebungstemperaturen außerhalb des empfohlenen Bereiches betreiben, kann die Kuhlleistung darunter leiden.
TEIL 3. AUFBEWAHRUNG VON LEBENMITTEL
- Um zu vermeiden, daß die Feuchtigkeit ein Abtauen fordert, sollte man Flüssigkeiten zugedeckt in den Kühlschrank stellen. Der Reif neigtathamd zu, sich in den kaltesten Punkten des Verdampfers zu konzentrieren und fordert das Abtauen.
- Stellen Sie niemals warme Lebensmittel in den Kuhlraum, die Güter müssen vor dem Verstauen auf Raumtemperatur abkühlen. Plazieren Sie die Lebensmittel so, daß eine hinreichende Belüftung im Kuhlteil gewährleistet ist.
- Bringen Sie keine Gegenstände in Kontakt mit der Rückwand des Kühlschranks, da diese daran anfrieren können. Vermeiden Sie früiges Öffnen der Tür.
- Um die besten Frischhaltebedingungen von Fleisch und gereinigtem Fisch (in mehreren Lagen von Papier oder Plastikfolien gewickelt) zu erzielen, sollen den diese im kaltesten Teil des Kühlschrankes verstaut werden. Diese befindet sich auf dem Glasabsatz des Gemüsekastens. Es versteht sich jedoch, daß Fleisch und Fisch nicht länger als 2 Tage aufbewahrt werden kann.
- Obst und Gemüse können ohne Verpackung im Gemüsefach aufbewahrt werden.
TEIL - 4. REINIGUNG UND PFLEGE
- Grundsätzlich vor dem Reinigen Netzsteckerziehen bzw. Sicherung abschalten.

Gießen Sie kein Wasser in das Gerät.

- Zur regelmäßigen Pflege eignet sich lauwarmes Wasser mit einem leicht desinfizierendem Reinigungsmittel (Handspulmittel).


- Das Zubehör separates mit Seifenwasser reinigen. Diese dürfen nicht in der Spülmaschine gewaschen werden.

- Benutzen Sie keine säurehaltigen Putzmittel bzw. chemische Lösungsmittel. Nach der Reinigung mit klarem Wasser nachwischen und sorgfältig trocknen. Nach der Reinigung kann das Gerät mit trockenen Handen wieder angeschlossen werden.

- Um Energie zu sparen und die Produktivität zu erhalten sollte der Kondensator (Riffelblech auf der Rückseite) mindestens 2 x jährlich mit einem Besen gereinigt werden.

Abtauen


- Wahlrend das Gerät lauft, taut er sich automatisch ab. Das Tauwasser wird in der Verdunstungsschale gesammelt und verdampft automatisch.
- Tauwasserablaufrinne und Ablaufloch im Kühraum früiger reinigen, damit das Tauwasser ungehindert ablaufen kann. Benutzen Sie hierfür einen geeigneten spitzen Gegenstand.
- Sie können auch ein 12 Glas Wasser in das Abflürohr geben.
Wechseln der Gluhlampe

Stromschlaggefahr!
Ziehen Sie vor dem Auswechseln der Gluhbirne stets den Netzstecker aus der Steckdose.
- Lampenabdeckung durch Drucken der seitlichen Haken entfernen.
- Tauschen Sie die defekte Gluhlampe gegen eine Neue aus (max. 15 W)
- Setzen Sie die Lampenabdeckung wieder ein und warten Sie 5 Minuten bis Sie das Gerät wieder einschalten.
LED-Beleuchtung auswechseln
Falls Ihr Kühlschrank eine LED-Beleuchtung hat, wenden Sie sich an den Helpdesk, da sie nur von autorisiertem Personal ausgewechselt werden sollen.
TEIL - 4. TRANSPORT UND STANDORTÄNDERUNG
Transport und Änderung des Standortes
Die Originalverpackung inkl. Schaumteile kann fur zukünftige Transporte aufbewahrt werden (optional).
Fixieren Sie den Kühlschrank mit solider Verpackung, Bändern oder starken Schnüren. Beachten Sie auch bei einem erneuten Transport die Transportthinweise auf der Verpackung.
- Nehmen Sie alle beweglichen Teile (Einschübe/Regale, Zubehörteile, Gemüseschalen) etc. aus dem Kühlschrank oder fixieren Sie diese mit Klebeband, wenn Sie den Kühlschrank umstellen oder transportieren.
Achten Sie darauf, den Gefrierschrank nur in aufrechter Lage zu transportieren.

TEIL - 5. BEVOR SIE DEN KUNDENDIENST RUFEN
Ihr Gerät ist so konstruiert und hergestellt, daß Störungsfreiheit und lange Lebensdauer gegeben sind. Sollte davon während des Betriebs eine Störung auftreten, so wenden Sie sichitte an die nachste Kundendienstelle. Prufen Sie vorher jedoch, ob die Störung evtl. auf Bedienungsfehler zurückzuführen ist, Denn in dieser Fall müssen Ihnen auch während der Garantiezeit die anfallenden Kundendienstkosten berechnet werden. Folgende Störungen konnen Sie durch prufen der möglichen Ursachen selbst beheben :
Das Gerät lauft nicht
Stromausfall
Die Hauptsicherung ist ausgefallen
- Das Thermostat stehen auf Position « • »
- Die Sicherung der Steckdose ist nicht in Ordnung. Prufen Sie dies, indem Sie ein anderes Gerät an der selbst Steckdose anschließen.
Die Gefrierraumtemperatur ist nicht ausreichend tief
Das Gerat ist überladen
Die Turen sind nicht korrekt verschlossen
Staub auf dem Kondensator
Die Be- und Entlüftung ist nicht in Ordnung. Das Gerät steht zu nah an einer Wand oder Gegenstand.
Die Geräuschende sind zu laut
- Strömungsgeräusche im Kältekreislauf sind nicht zu vermeiden. Wenn sich das Gerausch verändern sollen, prufen Sie folgenden:
- Steht das Gerät fest auf dem Boden?
- Werden darüber hinausgehende Möbel oder Gegenstände von dem laufenden Kühlaggregat in Vibration gesetzt?
Vibrieren auf der Geräteoberfläche aufgestellte Gegenstände?
Wasser befindet sich im unteren Teil des Kuhlteils
Abflußrohr ist verstopft. Reinigen Sie das Abflußloch.
Hinweis
- Das Kühlsystem befindet sich in der Rückwand des Kühteils, um ein verbessertes Aussehen zu erhalten. Je nach dem, ob der Kompressor lauft, entstehen Wasserperlen oder eine Reifschicht auf der Wand. Kein Grund zur Sorge, das ist normal. Nur bei einer übermäßig dicken Schicht auf der Wand empfeht es sich das Gerät abzutauen.
- Wenn das Gerät für längerere Zeit außer Betrieb gesetzt wird (z.B. während den Sommerferien): Gerät ausschalten, Netzsteckerziehen. Gerät reinigen und die Türg geöffnet让他们 um Geruchs- und Schimmelbildung zu vermeiden.
- Falls Sie samentliche Hinweise beachtet haben, das Gerät aber davon nicht richtig Funktionieren sollen, wenden Sie sichitte an den autorisierten Kundendienst in Ihrer Nähe.
Tipps zum Energiesparen
1- Stellen Sie das Gerät in einem kühlen, gut belufteten Raum auf, jedoch nicht in direkter Sonneneinstrahlung oder besoin Hitzequellen (Strahler, Herde etc.). Verwenden Sie andernfalls eine isolierende Trennwand.
2- Lassen Sie warme Speisen und Getränke ganz auskühlen, bevor Sie sie in das Gerät geben.
3- Getränke und flüssige Speisen müssen verschlossen werden, wenn sie in das Gerat gegeben werden. Andernfalls steigt die Feuchtigkeit im Gerät an. Die Arbeitszeit der Kuhlung verlangert sich dadurch. Durch das Verschlieben wird außer dem die Geruchsbildung verhindert.
4- Öffnen Sie die Geräteur immer nur möglichst kurz, wenn Sie etwas hineingegeben.
5- Halten Sie auch die Deckel der verschiedenen Kühlfächer im Kuhlteil immer geschlossen (Crisper, Kühlfach etc.)
6- Die Türdlichtung muss stets sauber und flexibel gehalten werden. Tauschen Sie abgenützte Dichtungen aus.
Recycling

Unsere Verpackungen werden aus umweltfreundlichen, niederverwertbaren Materialien hergestellt:
Außenverpackung aus Pappe
Formteile aus geschäumtem, FCKW-freiem Polystyrol (PS)
Folien und Beutel aus Polyäthylen (PE)
Spannbänder aus Polypropylen (PP).
Sollten es ihre räumlichen Verhältnisse zulassen, empfehlen wir Ihnen, die Verpackung zumindest während der Garantiezeit aufzubewahren. Sollte das Gerät zur Reparatur eingeschiedt oder in eine Reparatur-Annahmestelle gebracht werden müssen, ist das Gerät nur in der Originalverpackung ausreichend geschützt.
Wenn Sie sich von der Verpackung trennen möchten, entsorgen Sie dieseitte umweltfreundlich.
Entsorgung des Gerätes

Altgeräte dürfen nicht in den Hausmüll!
Solle das Gerä einmal nicht mehr benutzt werden konnen, so ist jeder Verbraucher gesetzlich verpflichtet, Altgeräte getrennt vom Hausmüll z.B. bei einer Sammelstelle seiner Gemeinde / seines Stadtteils abzugeben. Damit wird gewährleistet, dass die Altgeräte fachgerecht verwertet und negative Auswirkungen auf die Umwelt vermieden werden.
Deshalb sind Elektrogeräte mit dem abgebildeten Symbol gekennzeichnet.
TEIL - 6. BAUTEILE UND VORRATSFÄCHER

These Abbildung dient lediglich der Veranschaulichung. Die Teile und Komponenten können je nach Modell variieren.
1) Thermostatdeckel
5) Flaschen Fach
2) Kuhlteil Rost
6)Butter Kase Fach
3) Glasregal
7)Butter Kase Fach Deckel *
4) Gemüsefach
8) Eier Halter
Lieferumfang
| Hersteller Gerätotyp | VESTEL |
| Kühlschrank | |
| Glasablagen | 4 |
| Gemüse-Schubladen | 2 |
| Türablage | 4 |
| Eierablage | 1 |
| Garantieunterlagen | Ja |
| Gebrauchsanleitung | Ja |
Datumblatt für kuhlgeräte
| Marke | VESTEL |
| Modell | VEKS3025 |
| Produkt-Kategorie | 1 (Kühlschrank) |
| Energieklasse* | A+ |
| Jährlicher Energieverbrauch** | 125 kWh / Jahr |
| Totaler Bruttoinhalt | 162 I |
| Nutzinhalt Gesamt | 160 I |
| Kühlschrank Bruttovolumen | 162 I |
| Nutzinhalt Kühlbereich | 160 I |
| Gefrierschrank Bruttovolumen | - |
| Nutzinhalt Gefrierbereich | - |
| Sternebewertung*** | - |
| Kühlsystem | Statisch |
| Lagerzeit bei Störung (-18°C/-9°C) | - |
| Gefriervermögen | - |
| Klimaklasse **** | T/N (16°C - 43°C) |
| Geräuschemission | 39 dB(A) |
Konformitätserklarung
- Dieses Gerät ist für die Aufbewährung von Lebensmitteln bestimmt und entspricht der Verordnung (EG) Nr. 1935/2004 EC, 10/2010 EC.
-
Dieses Gerät wurde gemäß folgender Richtlinien entworfen, hergestellt und auf den Markt gebracht:
-
These Geräte wurden entworfen für eine Umgebungstemperatur zwischen 16^ - 43^ .
- Die Konstruktion des Geräts entspricht den Normen EN62552, IEC60335-1 / IEC60335-2-24, 2014/30/EU.
- Sicherheitsanforderungen der "Niederspannungsrichtlinie" 2014/35/EU
- Schutzvorschriften der EG-Richtlinie 2014/30 "EMV"Dieses Gerät entspricht der EG-Richtlinie Niederspannung 2014/35/EU und Elektromagnetische Verträglichkeit 2014/30/EU in der jeweils actuellen Fassung bei Lieferung, Richtigkeit geprüft. Die Gebrauchsanleitung basiert auf den in der Europäischen Union gültigen Normen und Regeln. Landesspezifische Normen und Regeln beachten!
1) Bewertung von A (= niedriger Verbrauch) bis G (= hoher Verbrauch).
2) Der Energieverbrauch bezieht sich auf den Jahresverbrauch in kWh, ermittelt nach DIN EN 153. Im praktischen Betrieb konnen je nach Nutzung und Standort des Geräts Abweichungen auftreten.
3) * = Fach mit -6 °C oder kälter
^ =Fach mit -12 °C oder kälter
= Tiefkuhl-Lagerfach mit -18 °C oder kälter
*** = Gefrierfach mit -18 °C oder kälter
4) Klimaklasse: Ihr Kuhlgerät wurde gemäß seiner Klimaklasse zum Einsatz bei bestimmten Umgebungstemperaturen entwickelt; entsprechende Angaben finden
Sie auf dem Typenschild.
Wenn Sie das Kuhlgerät bei Umgebungstemperaturen außerhalb des empfohlenen Bereiches betreiben, kann die Kuhlleistung darunter leiden.
| Klimaklasse Umgebungstemperatur (°C) | |
| T | zwis chen 16 und 43 |
| ST | zwis chen 16 und 38 |
| N | zwis chen 16 und 32 |
| SN | zwis chen 10 und 32 |
Montage anleitung
! Lesen Sie vor der Montage diese Anleitung vollständig und mit Ruhe durch.
! Da das Gerätrecht gross und schwer ist raten wir Ihnen den Einbau nicht alleine vorzunehmen.
! Montieren Sie Ihr Gerät nur in einen davon vorgesehenen Einbauschrank. Diese darf nicht beschädigt sein.
! Falls notwendig wechseln Sie den Turanschlag vor dem Einbau. Die Beschreibung hierzu finden Sie ab Seite 6.
! Um sich die Montage zu erreichtern empfeihlt es sich einen Arbeitstisch vor die eigentliche Einbauöffnung zu stellen und Dort dieVBereitenden Schritte durchzuarbeiten. Der Tisch sollte stabil sein und ungefahr so hoch wie die Unterkante der Einbauöffnung sein.
1. Abbildung A zeigt alle mitgelieferten Befestigungs- und Einbauteile.
2.Folgen Sie der Abbildung D und schieben Sie die obere Befestigungsschiene in die Führungsschiene an der Oberseite des Kuhlgerätes undschrauben Sie diese mit den beiliegenden Schrauben6 fest.
3. Führn Sie nun das Netzkabel vorsichtig auf der Rückseite des Einbauchrankes zur vorgesehenen Stromsteckdose. Achten Sie darauf, daß dieser Netzstecker jederzeit gut zu erreichen ist oder让他们 Sie sich einen Schalter als Trennvorrichtung in die Zuleitung zur Steckdose einbauen.
4. Entnehmen Sie die Trimmdichtung aus dem Seitenpaneel des Geräts und kleben Sie es an die wichtere Seite der Türangel am Gerät. (Abb.D - Abb.E)
5. Schneiden Sie das beiliegende Dichtungsband auf die Höhe der Einbauöffnung zu. Kleben Sie das Dichtungsband nun nach Abbildung E auf die aussere Kante des Gehäuses. Das Band wird auf der Seite ohne Scharniere befestigt.
6. Hebem Sie nun dasVBbereitete Gerat an und setzen Sie es vorsichtig in die Einbauoppnung ein.
7. Richten Sie das Gerät anhand der Seite mit dem Trimmdichtung so aus, daß kein Luftspalt mehr zwischen Trimmdichtung und Einbauschrank zu sehen ist.
8. Nun schieben Sie das Gerät so zurecht, daß die Vorderkante der unteren Gerätefälle auf der Kante des Einbauschrankes aufsitzt. (Abbildung F) Schrauben Sie jetzt die Füssel mit den beiliegenden Schrauben5 am Boden der Einbauöffnung fest.
9. Nach Abbildung G konnen Sie nun die obere Befestigungsschiene mit den beiliegenden Schrauben6 an der Oberseite der Einbauöffnung befestigen.
10. Als nachstes schrauben Sie die beiden Führungen3 mit je einer Schraube auf die Vorderkante der Gerätetur wie in Abbildung H dargestellt.
11. Schieber den Sie die Schleppschiene in die Führung ein.
12. Markieren Sie an der Vorderkante der Einbautür in Höhe der Führungen3 einen Abstand von 20mm von der Vorderkante auf der Einbautür. Öffnen Sie jetzt die Geräteur in einem Winkel von 90^ .
13. Legen Sie die Schleppschiene4 an die Markierung auf der Einbautür an und schrauben Sie die Schleppschiene4 mit den beiliegenden Schrauben5 an der Einbautür fest.
- Schliessen Sie nun die Gerätür. Prüfen Sie das korekte, vollständige Anliegen der Geräturdichtung auf dem Gerätegehause. Schliesst die Geräturdichtung nicht ordentlich ab, so kann es zu Funktionstörungen kommt.
- Sie können durch justieren der Führung3 den Abstand zwischen Geräteur und Gehäuse anpassen. Lösen Sie dazu die Befestigungsschraube der Führung und justieren sie die Lage der Führungen (Abbildung H).

Figure.A

Figure.C

Figure.B

Figure.D

Figure.E


Figure H

Figure J

Figure K
Wechsel des tueranschlages
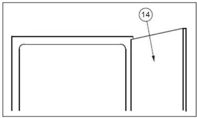
- Offnen Sie die Geräte tür14 nach Abbildung J.
- Demontieren Sie nun das obere Scharnier der Gerätetür5 und nehmen Sie die Gerätetür nach oben weg. Legen Sie die Tur zur Seite (Abbildung K).
- Schrauben Sie den oberen Scharnierzapfen16 ab und schrauben Sieihn auf der gegenüberliegenden Seite in das obere Scharnier15 ein (Abbildung Ka).
- Nehmen Sie den unteren Scharnierzapfen8 aus dem Gerätefuß und stecken Sieihn auf der gegenüberliegenden Seite in den Gerätefuß ein (Abbildung Kb).
- Verschliessen Sie die Schraubenöffnung des oberen Scharniers mit den beiliegenden Stöpseln (Abbildung Kc).
- Setzen Sie nun die Gerätetür14 auf den unteren Scharnierzapfen18 auf und stecken Sie das obere Scharnier15 in die Bohrung auf der Oberseite der Tur. jetzt können Sie das obere Scharnier15 wieder am Gerätegehause festschrauben.
Konformitätserklarung
Wir erklaren, dass unsere Produkte die geltenden europäischen Richtlinien, Entscheidungen und Regularien sowie die in den referenzierten Standards gelisteten Anforderungen erfüllen.
Entsorgung des Gerätes

Altgeräte)dürfen nicht in den Hausmüll!
Sollte das Gerät einmal nicht mehr benutzt werden konnen, so ist jeder Verbraucher gesetzlich verpflichtet, Altgeräte getrennt vom Hausmüll z.B. bei einer Sammelstelle seiner Gemeinde / seines Stadtteils abzugeben. Damit wird gewährleistet, dass die Altgeräte fachgerecht verwertet und negative Auswirkungen auf die Umwelt vermieden werden.
Deshalb sind Elektrogeräte mit dem abgebildeten Symbol gekennzeichnet.
Recycling

Unsere Verpackungen werden aus umweltfreundlichen, wiederverwertbaren Materialien hergestellt:
Außenverpackung aus Pappe
Formteile aus geschäumtem, FCKW-freiem Polystyrol (PS)
Folien und Beutel aus Polyäthylen (PE)
Spannbänder aus Polypropylen (PP).
Sollten es ihre räumlichen Verhältnisse zulassen, empfehlen wir Ihnen, die Verpackung zumindest während der Garantiezeit aufzubewahren. Sollte das Gerät zur Reparatur eingeschiedt oder in eine Reparatur-Annahmestelle gebracht werden müssen, ist das Gerät nur in der Originalverpackung ausreichend geschützt.
Wenn Sie sich von der Verpackung trennen möchten, entsorgen Sie dieseitte umweltfreundlich.
Index
BEFORE USING THE APPLIANCE 20
General warnings 20
EinfachAnleitung