760CB - Heizung DOVRE - Kostenlose Bedienungsanleitung
Finden Sie kostenlos die Bedienungsanleitung des Geräts 760CB DOVRE als PDF.
Häufig gestellte Fragen - 760CB DOVRE
Benutzerfragen zu 760CB DOVRE
0 Frage zu diesem Gerät. Beantworten Sie die, die Sie kennen, oder stellen Sie Ihre eigene.
Eine neue Frage zu diesem Gerät stellen
Laden Sie die Anleitung für Ihr Heizung kostenlos im PDF-Format! Finden Sie Ihr Handbuch 760CB - DOVRE und nehmen Sie Ihr elektronisches Gerät wieder in die Hand. Auf dieser Seite sind alle Dokumente veröffentlicht, die für die Verwendung Ihres Geräts notwendig sind. 760CB von der Marke DOVRE.
BEDIENUNGSANLEITUNG 760CB DOVRE
640CB - Minimale aufstanden in millimeters

760CB - Minimale aufstanden in millimeters

Deur aufdichtingskoord 13
Mist, nicht stoken 12
Muren brandveiligheid 6
N
Naaldhout. 8
Nat hout 8
Nevel, nicht stoken 12
Nominal vermogen 12, 14
0
Wanden brandveiligigkeit 6
Warmte, onvoldoende 12, 20
Weersomstandigheden, nicht stoken 12
Table of contents
Introduction 3
Empilage des buchs 10
Konformitätserklung 3
Sicherheit 4
Installationsbedingungen.4
Allgemeines 4
Schornstein 4
Belüftung des Raums 5
Boden und Wände 6
Produktbeschreibung.6
Installation 7
Vorbereitung.7
Aufstellen und anschreiben 8.
Inbetriebnahme 8
Erste Inbetriebnahme 8
Brennstoff 8
Anzünden 9
Heizen mit Holz 10
Regelung der Verbrennungsluft 10
Löschen des Feuers 11
Entaschen 11
Nebel 12
Eventuelle Probleme 12
Wartung 12
Schornstein 12
Reinigung und andere regelmäßige.
Wartungsarbeiten 12
Anlage 1: Technische Daten 14
Anlage 2: Abmessungen 15
Anlage 3: Abstand zu brennbarem Material. 17
Anlage 4: Diagnoseschema 20
Index 21
Einleitung
Sehr geehrte(r) Benutzer(in),
Mit dem Kauf theses Heizgerats von DOVRE haben Sie sich für ein hochwertiges Produkt entschieden.
Dieses Produkt gehört zu einer neuen Generation energiesparender und umweltfreundlicher Heizgeräte.
These Geräte nutzen sowohl Konvektionswärme als auch Strahlungswärme.
Konformitätserklarung

Benachrichtigte Behörde: 2013
Ihr DOVRE-Gerät wurde mithilfe der modernsten Produktionsmittel gefertigt. Sollte Ihr Gerät wider Hiermit erklart Erwarten dennoch einen Mangel aufweisen, können Sie sich jederzeit an den DOVRE-Service wenden. Dovre nv, Nij
Das Gerat darf nicht verändert werden; verwenden Sie stets Original-Ersatzteile.
Das Gerät ist zum Aufstellen in einem WohnraumEN 13240 produziert werden. gedacht. Es muss hermetisch damit an einen gut Funktionierenden Schornstein angeschlossen werden. Weelde 01-02-2006
Wir empfehlen, das Gerät durch einen qualifizierten Techniker installieren zu halten.
DOVRE übernimmt keinerlei Haftung für Probleme oder Schäden, die auf eine inkorrekte Installation zurückzuführen sind.
Bei Installation und Verwendung müssen die nachfolgend aufgeführten Sicherheitsvorschriften beachtet werden.
These Anleitung erläutert, wie Sie das DOVRE-Heizgerät sicher installieren, verwenden und warten. Wenn Sie weitergehende Informationen und technische Daten benötigen oder ein Installationsproblem haben, wenden Sie sichitte zuerst an ihren Lieferanten.
© 2012 DOVRE NV

Da die Produkte kontinuierlich verbessert werden, können die Spezifikationen des gefelften Geräts ohne vorherige Ankündigung von den Angaben in dieser Broschüre abweichen.
DOVRE N.V.
Nijverheidsstraat 18 Tel.: +32 (0) 14 65 91 91
B-2381 Weelde Fax: +32 (0) 14 65 90 09
Belgien E-Mail: info@dovre.be

Sicherheit
Achtung! Alle Sicherheitsvorschriften müssen strikt eingehalten werden.
Lesen Sie die Anleitungen zu Installation, Inbetriebnahme und Wartung sorgfältig durch, bevor Sie das Gerät in Betrieb fühmen.
Das Gerät muss gemäß den in Ihr dem Land geltenden gesetzlichen Bestimmungen installiert werden.
Alle lokalen Bestimmungen sowie Bestimmungen aufgrund von EU-Normen müssen bei der Installation des Geräts beachtet werden.
Lesen Sie die Anleitungen zu Installation, Inbetriebnahme und Wartung, die dem Gerät beiliegen.
Vorzugsweise sollte das Gerät von einem dazu befugten Techniker installiert werden. Diese kennt alle geltenden Bestimmungen und Vorschriften.
Das Gerät wurde zu Heizungszwecken entwickelt. Alle Oberflächen, einschließlich Glas und Anschlussrohr, können sehr heißt werden (mehr als 100^ ! Verwenden Sie bei der Bedienung eine "kalte Hand" oder hitzebestandige Handschuhe.
Legen Sie keine Gardinen, Kleider, Wäschstücke oder andere brennbare Materialien auf oder neben das Gerät.
Verwenden Sie während des Betriebs Ihres Gerats keine leicht entflammbaren oder explosiven Materialien in der Nähe des Gerät
Lassen Sie den Schornstein regelmäßig reinigen, um Schornsteinbrände zu verhindern. Heizen Sie niemals mit geöffneter Tur.
Bei einem Schornsteinbrand: Schließen Sie die Lufteingänge des Geräts, und rufen Sie die Feuerwehr.
Wenn das Glas des Geräts gebrochen oder gesprungen ist, muss diese Glas ausgetauscht werden, bevor das Gerät erneut in Betrieb genommen wird.
Sorgen Sie für eine ausreichende Ventilation in dem Raum, in dem das Gerät aufgestellt ist. Bei nicht ausreichender Ventilation ist die Verbrennung nur unvollständig, wodurch sich giftingige Gase in dem Raum ausbreiten konnen. Vgl. das Kapitel "Installationsbedingungen" für weitere Informationen zur Ventilation.
Installationsbedingungen
Allgemeines
Das Gerät muss hermetisch dicht an einen gut Funktionierenden Schornstein angeschlossen werden.
Fur den Anschluss: vgl. die Anlage "Technische Daten".
Informieren Sie sich bei der Feuerwehr und/oder bei ihrer Versicherungsgesellschaft nach eventuellen speziellen Bedingungen und Vorschriften.
Schornstein
Der Schornstein ist erforderlich für:
Die Abfuhr von Verbrennungsgasen durch natürlichen Abzug.
Die warme Luft in dem Schornstein ist leichter als die Außenluft und steigt dazu nach oben.
Das Ansaugen von Luft, erforderlich für die Verbrennung der Brennstoffe in dem Gerät.
Ein nicht korrekt Funktionierender Schornstein kann zu Rauchrückschlagen beim Offnen der Tur führen.
SSchaden durch Rauchrückschlag fallen nicht unter die Garantie.
Schlieben Sie nicht mehrere Geräte (etwa noch einen Zentralheizungskessel) an denselben Schornstein an, es sei dann, lokale oder landesweite Gesetze{lassen dies zu.
Fragen Sie ihren Installateur nach einer Beratung zu Ihrem Schornstein. Konsultieren Sie die EU-Norm EN13384 für die korrekte Berechnung Ihres Schornsteins.
Der Schornstein muss die folgenden Bedingungen erfüllen:
Der Schornstein muss aus feuerfestem Material bestehen, vorzugsweise aus Keramik oder Edelstahl.
Der Schornstein muss luftdicht und gut gereinigt sein und vollständigen Zug garantieren.
i
Ein Zug/Unterdruck von 15 - 20 Pa während der normalen Belastung ist ideal.
Der Schornstein muss - vom Ausgang aus dem Gerät ab - so vertikal wie möglich verlaufen. Richtungsänderungen und horizontale Teilstücke stären den Abzug der Verbrennungsgase und führen möglicherweise zu Rauchansammlungen.
Die Innenmaße des Schornsteins dürfen nicht zu groß sein, um zu vermeiden, dass sich die Verbrennungsgase zu stark abkühlen und dadurch den Zug beeinträchtigen.
Der Schornstein sollte nach Möglichkeit den gleichen Durchmesser aufweisen wie das Anschlussstück.
i
Für den nominalen Durchmesser vgl. die Anlage "Technische Daten". Wenn der Rauchkanal gut isoliert ist, kann der Durchmesser eventuell etwas großer sein (max. zweimal so groß wie der des Anschlussstücks).
Der Abschnitt (die Oberfläche) des Rauchkanals muss konstant sein. Änderungen und (vor allem) Verengungen stären die Abfuhr der Verbrennungsgase.
Bei Verwendung einer Regenhaube auf dem Schornstein: Achten Sie darauf, dass die Haube nicht die Mündung des Schornsteins verengt, und dass sie nicht die Abfuhr der Verbrennungsgase befindert.
Der Schornstein muss in einem Bereich munden, der nicht durch umliegende Gebäude, in der Näh stehende Bäume oder andere Hindernisse befindert wird.
Der Teil des Schornsteins, der außerhalb der Wohnung liegt, muss isoliert sein.
Der Schornstein muss mindestens 4 Meter hoch sein.
Als Faustregel gilt: 60 cm oberhalb des Dachfirsts.
ts.
Wenn der Dachfirst mehr als 3 Meter vom Schornstein entfernt ist: halten Sie die in der folgenden Abbildung angegebenen Maße ein. A = der höchste Punkt des Daches innerhalb eines Abstands von 3 Metern.

Belüftung des Raums
Für eine gute Verbrennung besteht das Gerät Luft (Sauerstoff). Die Luft wird über einstellbare Luftinlassoeffnungen aus dem Raum, in dem das Gerät aufgestellt ist, angeführrt.
Bei nicht ausreichender Ventilation ist die Verbrennung nur unvollständig, wodurch sich giftingige Gase in dem Raum ausbreiten konnen.
Eine Faustregel ist, dass die Luftzufuhr 5,5cm^2 /kW betragen muss. Eine zusätzliche Ventilation ist erforderlich:
We
inn das Gerät in einem gut isolierten Raum.
Wenn eine mechanische Ventilation verwendet wird, etwa durch ein zentrales Absaugsystem oder eine Abzugkappe in einer offenen Kuche.
- Sie können für zusätzliche Ventilation sorgen, indem sie in der Außenwand ein Ventilationsgitter einbauen laßen.
Sorgen Sie davon, dass andere Luft verbrauchende Geräte (eita ein Wäschetrockner, andere Heizgeräte oder ein Badezimmerventilator) über eine eigene Außenluftzufuhr verfügen, oder ausgeschaltet sind, wenn das Gerät in Verwendung ist.
i
Sie konnen das Gerät auch an einer Außenluftanfuhr anschließen. Hierfür ist ein Anschlussatz im Lieferumfang enthalten. Dann benötigen Sie keine zusätzliche Ventilation.
Boden und Wände
Der Boden, auf dem das Gerät aufgestellt wird, must über ein ausreichendes Tragvermögen verfügen. Für das Gewicht des Geräts vgl. die Anlage "Technische Daten".
#
Schützen Sie brennbare Böden mithilfe einer feuerfesten Bodenplatte gegen Wärmeausbreitung. Vgl. die Anlage "Abstand zu brennbarem Material".
#
Entfernen Sie brennbare Materialien, wie etwas Linoleum, Teppich usw. unter der feuerfesten Bodenplatte.
#
Sorgen Sie für ausreichenden Abstand zwischen dem Gerät und brennbaren Materialien, wie etwa hölzernen Wänden und Möbeln.
#
Auch das Anschlussrohr strahlt Wärme ab.
Sorgen Sie für ausreichenden Abstand bzw.
Abschirmung zwischen dem Anschlussrohr und brennbaren Materialien.
Die Faustregel für ein einwandiges Rohr ist Abstand, der das Dreifache des Rohrdurchmessers beträgt. Wenn das Rohr von einer Schutzschale umhüllt ist, ist ein Abstand, der dem Rohrdurchmesser entspricht, vertretbar.
#
Zwischen Teppichen und dem Feuer muss ein Mindestabstand von 80 cm gewahrt bleiben.
#
Schützen Sie brennbare Böden vor dem Ofen mithilfe einer feuerfesten Bodenplatte gegen eventuell herausfallende Asche. Die Bodenplatte muss den in Ihr dem Land gultigen gesetzlichen Normen entsprechen.
#
Für die Abmessungen der feuerfesten Bodenplatte: Vgl. die Anlage "Abstand zu brennbarem Material".
#
Für weitere Anforderungen im Zusammenhang mit der Brandsicherheit: Vgl. die Anlage "Abstand zu brenbarem Material".
Produktbeschreibung

- Riegel
- Obere Platte
- Turr
- Füllür
- Aschenladentür
- Sekundäre Luftklappe
- Primäre Luftklappe
- Feuerkorb
Merkmale des Geräts

Das Gerät kann an der Rückseite oder der Oberseite an den Schornstein angeschlossen werden.
Das Gerät wird mit einem losen Handgriff, der so genannten "kalten Hand", gefelert.
Das Gerät verfügbar über eine gesonderte Tur zum Nachfüllen des Brennstoffs, die so genannte "Fülltür".
Setzen Sie zum Öffnen der Türen die "kalte Hand" (A) in den Riegel (B) an den Türen; vgl. die nachfolgende Abbildung.

Das Gerät verfügbar über eine aufklappbare Entaschungssöffnung.
Das Gerat wird mit einer Zugschaufel zum Entfern den Asche geliefert.
Das Gerät ist zum Außenluftanschluss geeignet. Das damit erforderliche Anschlussset ist optional erhältlich.
Installation
Vorbereitung
Überprüfen Sie das Gerät sofort nach Lieferung (Transport-) Schäden und eventuelle andere Mängel. Das Gerät ist an der Unterseite mit Schrauben auf der Platte befestigt.
Wenn Sie (Transport-) Schaden oder Mängel feststellen, behmen Sie das Gerät nicht in Betrieb und informieren Sie den Handler.
Entfernen Sie die abmontierbaren Teile (Oberplatte, feuerfeste Innenplatten, Aschenlade) aus dem Gerät, bevor Sie es installieren. Das Abnehmer der Oberplatte erleichtert den Anschluss des Geräts.
Die Oberplatte liegt lose auf dem Gerät und kann normalerweise von dem Gerät abgenommen werden.
i Wenn Sie die abmontierbaren Teile entfernen, konnen Sie das Gerat leichter verschiben und Beschädigungen vermeiden.
Achten Sie beim Entfernen dieser Teile auf ihre ursprüngliche Lage, damit Sie sie später wieder korrekt anbringen konnen.
- Öffnen Sie die Tür.
- Entfernen Sie die feuerfesten Innenplatten.
Gusseiserne Innenplatten schützen die Verbrennungskammer und geben Wärme an die Umgebung ab.
Anschluss an der Rückseite oder der Oberseite
Beim Anschlieben des Geräts an einen Schornstein haben Sie die Wahl, den Anschluss an der Oberseite oder an der Rückseite des Geräts vorzunehmen.
Den Ausgang, den Sie nicht verwenden möchten, müssen Sie mit dem mitgelieferten Abschlussdeckel verschreiben.
An dem Ausgang, den Sie verwenden möchten, montieren Sie das mitgelieferte Anschlussstück.
Abdichtungs- und Befestigungsmaterialien sind im Lieferumfang enthalten.

- Montieren Sie das Anschlussstück (1) mit den Befestigungsmaterialien an dem Ausgang, der an den Schornstein angeschlossen wird.
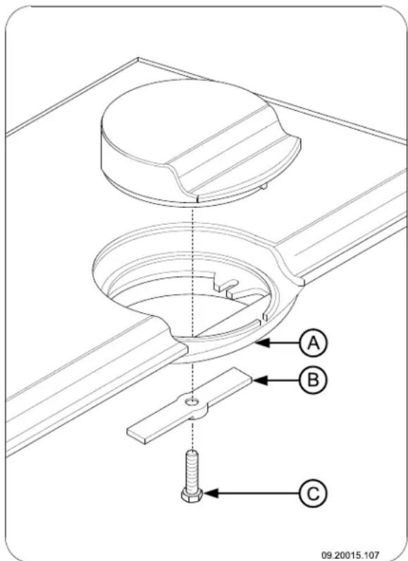
- Montieren Sie den Abschlussdeckel (2) mit Befestigungslatte (B) und Bolzen (C) an dem Ausgang (A), der nicht an den Schornstein angeschlossen wird; vgl. die nachfolgende Abbildung.


Der Abschlussdeckel ist so geformt, dass er auf der Oberseite genau in die Oberplatte passt.
- Verwenden Sie zur Abdichtung von Anschlussstück und Abschlussdeckel den mitgelieferten Ofenkitt.
Montieren des Handgriffs
Das Gerät wird mit einem losen Handgriff, der so genannten "kalten Hand", gefelert.
Befestigen Sie den hölzernen Handgriff mit der mitgelieferten Schraube M8x50 am Anschlussstück; vgl. dazu die nachfolgende Abbildung.

Aufstellen und anschließen
- Stellen Sie das Gerät an einem geeigneten Ort auf, und sorgen Sie mit einer Wasserwaage für eine ebene Aufstellung.
- Schlieben Sie das Gerät hermetisch dicht an den Schornstein an.
- Bei Außenluftanschluss: Schlieben Sie die Außenluftzufuhr an dem Anschlussatz an, den Sie an dem Gerät befestigt haben.
- Setzen Sie alle abmontierten Teile wieder an ihrem korrekten Platz in das Gerät ein.

Lassen Sie das Gerät nicht ohne feuerfeste Innenplatten brennen.
Das Gerät ist jetzt gebrauchsfortig.
Inbetriebnahme
Erste Inbetriebnahme
Wenn Sie das Gerät zum ersten Mal in Betrieb führen, lassen Sie es eine Stunden durchheizen. Dadurch härtet der hitzebestände Lack aus. Hierbei kann es zu Rauch- und Geruchsbildung kommt. Öffnen Sie dann eventuell in dem Raum, in dem das Gerät aufgestellt ist, Fenster und Türen.
Brennstoff
Dieses Gerät ist ausschließlich zum Verbrennen von Naturholz geeignet, das gesagt und gaspalten sowie ausreichend getrocknet ist.
Verwenden Sie keine anderen Brennstoffe; diese können dem Gerat ernsthafte Schäden zufugen.
Die folgenden Brennstoffe dürfen nicht verwendet werden, da sie die Umwelt verschmutzen und da sie
Gerat und Schornstein stark verunreinigen, was zu einem Schornsteinbrand führen kann:
Behandeltes Holz, wie etwa Holz mit Beschichtungen, gefarbtes Holz, imprägniertes Holz, konserviertes Holz, Multiplex und Spanplatten.
Kunststoff, Altpapier und Haushaltsabfälle.
Holz
- Verwenden Sie vorzugsweise hartes Laubholz, wie etwa Eiche, Buche, Birke oder Obstbaumholz. Dieses Holz brennt langsam bei ruhiger Flamme. Nadelholz enthalt mehr Harz, brennt schneller und erzeugt mehr Funken.
- Verwenden Sie getrocknetes Holz mit maximal 20% Feuchtigkeitsanteil. Hierzu muss das Holz mindestens zwei Jahre lang getrocknet werden.
Sagen Sie das Holz auf Maß und spalten Sie es, solange es noch frisch ist. Frisches Holz lasst sich leichter spalten, und gespaltenes Holz trocknet better. Bewahren Sie das Holz unter einer Abdeckung auf, in der sich der Wind frei bewegen kann. - Verwenden Sie kein nasses Holz. Nasses Holz 4. spendskeine Wärme, da die gesamte Energie für das Verdampfen der Feuchtigkeit verwendet wird. Dabei entsteht viel Rauch und es kommt zu Rußablagerungen an der Gerätetur und im Schornstein. Der Wasserdampf kondensiert im Gerät und kann aus dem Gerät austreten und zu schwarzen Flecken auf dem Fußboden führen. Der Wasserdampf kann auch im Schornstein kondensieren und zur Entstehung von Carbolineum beitragen. Dieser Stoff ist leicht brennbar und kann zu einem Schornsteinbrand führen.
Anzünden
Sie konnen überprüfen, ob der Schornstein über ausreichenden Zug verfügt, indem Sie oberhalb der Flammplatte ein Knäuel Zeitungspapier anzünden. Ein kalter Schornstein verfügt oft über unzureichenden Zug, wodurch Rauch in das Zimmer gelangen kann. Wenn Sie das Gerät wie hier beschrieben anzünden, vermeiden Sie diese Problem.
- Stapeln Sie zwei Lagen mittelgroßer Holzstücke kreuzweise überinander.
- Stapeln Sie auf den Holzstücken zwei Lagen Anzündehölzchen kreuzweise übereinander.
- Legen Sie den Anzünderblock zwischen die unterste Lage von Anzündehölzchen, und zünden Sie den Anzünderblock gemäß der Anleitung auf der Verpackung an.

Schlieben Sie die Tur des Gerats, und öffnen Sie den primären Luftteinlass sowie den sekundären Luftteinlass des Gerats; vgl. die nachfolgende Abbildung.
5. Lassen Sie das Anzündfeuer durchbrennen, bis ein gluhendes Holzkohlebett entstanden ist.
Anschließend konnen Sie das Gerät erneut fullen und regeln, vgl. das Kapitel "Heizen mit Holz".

= Offen = Geschlossen
Heizen mit Holz
Nachdem Sie die Anleitungen zum Anzünden befolgt haben:
- Öffnen Sie langsam die Tur des Geräts.
- Verteilen Sie das Holzkohlebett gleichmäßig über den Heizboden.
- Stapeln Sie einige Holzstücke auf dem Holzkohlebett auf.
Lose Stapelung

Bei einer losen Stapelung verbrennt das Holz schnell, da der Sauerstoff eines Holzstück einfach erreichen kann. Stapeln Sie das Holz lose, wenn Sie kurz heizen möchten.
Kompakte Stapelung

Bei einer kompakten Stapelung verbrennt das Holz langsamer, da der Sauerstoff zunachst nur einzeln Holzstücke erreichen kann. Stapeln Sie das Holz kompakt, wenn Sie länger heizen möchten.
- Schlieben Sie die Turl des Gerats.
- Schließen Sie den primären Luftteinlass, und halten Sie den sekundären Luftteinlass offen stehen.
Füllen Sie das Gerät maximal zu einem Drittel.
Regelung der Verbrennungsluft
Das Gerät verfügbar über verschiedene Einrichtungen für die Luftregelung (vgl. die Abbildung).

Die primäre Luftklappe regelt die Luft unter dem Rost (1).
Die sekundäre Luftklappe regelt die Luft vor dem Glas (Air-Wash) (2).
Die Rückwand verfügt unter der Flammenplatte über permanente Luftöffnungen (3), die für die Nachverbrennung sorgen.
Hinweise
Heizen Sie niemals mit geöffneter Tur.
Heizen Sie das Gerät regelmäßig gut durch.
Wenn Sie lange mit niedriger Flamme heizen, können sich im Schornstein Ablagerungen von Teer und Carbolineum (Steinkohlenteer) bilden. Diese Stoffe sind leicht brennbar. Wenn die Ablagerungen dieser Stoffe zu sehr anwachsen, kann durch eine plötzliche Temperatursteigerung ein Schornsteinbrand entstehen. Wenn Sie regelmäß gut durchheizen, verschwinden eventuelle Teerund Carbolineum-Ablagerungen.
Darüber hinaus kann sich beim Heizen auf zugeringer Stufe Teer auf der Scheibe der Gerätetur absetzen.
Bei milden Außentemperaturen ist es davon besser, das Gerät einige Stunden lang intensiv durchbrennen zu halten, als es längerere Zeit auf niedrigem Stand zu betreiben.
Regeln Sie die Luftzufuhr mit dem sekundären Luftteinlass.
i Der sekundäre Luftinlass beluftet nicht nur das Feuer, sondern auch das Glas und schutz es so vor Schneller Verschmutzung.
- Offnen Sie den primären Luftteinlass rechtzeitig, wenn die Luftzufuhr über den sekundären Luftteinlass nicht ausreicht, oder wenn Sie das Feuer neu entfachen möchten.
Das regelmäßige Nachfüllen kleiner Mengen von Holzstücken ist better, als viel Holz auf einmal befällen.
- Verwenden Sie zum Nachfüllen des Geräts die Fülltür.
Löschen des Feuers
Füllen Sie keinen Brennstoff nach, und setzen Sie Ofen normal ausgehen. Wenn ein Feuer durch Verminderung der Luftzufahr gedämpft wird, werden schädliche Stoffe freigesetzt. Lassen Sie das Feuer davon selbstständig herunterbrennen. Achten Sie auf das Feuer, bis es vollständig erloschen ist. Wenn die Fall ist, können alle Luftklappen geschlossen werden.
Entaschen
Nach dem Verbrennen von Holz bleibt eine relativ geringe Menge Asche zurück. Dieses Aschebett ist einGreater Isolator fur den Heizboden und sorgt fur eine gute Verbrennung. Sie konnen dazu ruhig eine dulle Schicht Asche auf dem Heizboden liegen halten.
Die Luftzufuhr durch den Heizboden darf jedoch nicht behindiert werden, und hinter der gusseisernen Innenplattearf sich nicht zuviel Asche ansammeln. Entfernen Sie daher regelmäßig die angesammelte Asche.
- Öffnen Sie die Tur des Geräts.
- Offnen Sie mit der Zugschaufel die Entaschungsöffnung im Heizboden; vgl. die nachfolgende Abbildung.

- Schieben Sie die Asche mit der Zugschaufel durch zu die Entaschungsoffnung in die darunter befindliche Aschenlade.


- Schließen Sie die Entaschungsoffnung.
- Öffnen Sie die Zugangstür zur Aschenlade.
- Entfernen Sie die Aschenlade mit Hilfe der mitgelieferten "kalten Hand", und leeren Sie sie; vgl. die nachfolgende Abbildung.

7. Setzen Sie die Aschenlade wieder ein, und schreiben Sie die Turen des Gerats.
Nebel
Nebel behind the Abfuhr von Abgasen durch den Schornstein. Rauch kann sich niederschlagen und z Geruchsbelastigung führen. Bei Nebel sollenn Sie daher nicht mit dem Gerat heizen, wenn dies nicht unbedingt erforderlich ist.
Eventuelle Probleme
- Lesen Sie die Anlage "Diagnoseschema", um eventuell bei der Verwendung des Geräts auftretend zu Probleme zu losen.
Wartung
Befolgen Sie die Wartungsanleitungen in thism Kapitel, um ihr Gerät in einem gute Zustand zu halten.
Schornstein
In weitere Ländern sind Sie gesetzlich dazu verpflichtet, den Schornstein regelmäßig kontrollieren und warten zu halten.
Zu Beginn der Heizperiode: Lassen Sie den Schornstein von einem anerkannten Schornsteinfeger reinigen/fegen.
Während der Heizperiode und wenn der Schornstein für längerere Zeit nicht verwendet wurde: Lassen Sie den Schornstein auf Ruß untersuchen.
Nach der Heizperiode: Schließen Sie den Schornstein mit einem Knäuel Zeitungspapier ab.
Reinigung und andere regelmäßige Wartungsarbeiten

Reinigen Sie das Gerät nicht, so lange es noch warm ist.
Reinigen Sie die Außenseite des Geräts mit einem trockenen und fusselfreien Tuch.
Nach Ablauf der Heizperiode konnen Sie die Innenseite des Gerats reinigen:
Entfernen Sie eventuell zuerst die feuerfesten Innenplatten. Vgl. das Kapitel "Installation" für Anleitungen zum Entfernen und Anbringen von Innenplatten.
Reinigen Sie eventuell die Luftzufuhrkanä. Entfernen Sie hierzu die obere Platte. Diese liegt lose auf dem Gerät.
Entfernen Sie eventuell die Flammplatte oben in dem Gerät und reinigen Sie sie.
Kontrolle der feuerfesten Innenplatten
Die feuerfesten Innenplatten sind Verbrauchsteile, die dem Verschleib unterliegen. Überprüfen Sie die Innenplatten regelmäßig, und tauschen Sie sie bei Bedarf aus.
Vgl. das Kapitel "Installation" für Anleitungen zum Entfernen und Anbringen von Innenplatten.

Die isolierenden Vermiculit-Innenplatten können Haarrisse aufweisen, dies hat aber keine nachteiligen Auswirkungen auf ihre Funktion.

Gusseiserne Innenplatten halten lange, wenn Sie regelmäßig die Asche entfernen, die sich dahinter ansammelt. Wenn angesammelte
Asche hinter einer gusseisernen Platte nicht entfern wird, kann die Platte keine Wärme mehr an die Umgebung abgeben und sich anschließend verformen oder reifen.

Lassen Sie das Gerät nicht ohne feuerfeste Innenplatten brennen.
Glas reinigen
Gut gereinigtes Glas nimmt weniger schnell neuen Schmutz auf. Gehen Sie folgendermaßen vor:
- Entfernen Sie Staub und loseN Rost mit einem trockenen Tuch.
- Reinigen Sie das Glas mit einem Ofenscheibenreiniger:
a. Tragen Sie Ofenscheibenreiniger auf einen Kuchenschwamm auf, wischen Sie die gesamte Glasoberfläche damit ab und{lassen Sie den Reiniger einwirken.
b. Entfernen Sie den Schmutz mit einem feuchten Tuch oder mit Kuchenpapier.
- Reinigen Sie das Glas dann noch einmal mit einem normalen Glasreinigungsdrukt.
-
Wischen Sie das Glas mit einem trockenen Tuch oder mit Kuchenpapier ab.
-
Verwenden Sie keine scheuernden oder scharfen Produkte zur Reinigung des Glases.
▶ Verwenden Sie zum Schutz ihrer Höhe geeigne Haushaltshandschuhe.

Wenn das Glas des Geräts gebrochen oder gesprungen ist, muss diese Glas ausgetauscht werden, bevor das Gerät erneut in Betrieb genommen wird.

Achten Sie darauf, dass kein Ofenscheibenreiniger zwischen das Glas und die gusseiserne Tur lauft.
Wartung Email-Ofen
Reinigen Sie das Gerät nicht, so lange es noch w ist. Das Reinigen der emaillierten Oberfläche des Ofens geschieht am besten mit sanfter Haushaltssseife und lauwarmem Wasser. Verwenden Sie so weniger Wasser wie möglich, trocken Sie die Oberfläche gut ab, um Rostbildung zu vermeiden. Verwenden Sie keine Stahlwolle oder andere
Scheuermittel. Setzen Sie keinen Wasserkessel direkt auf einen E-mailleofen; verwenden Sie einen Untersetzer, um Beschädigungen zu vermeiden.
Schmieren
Obwohl Gusseisen eigentlich "selbstschmierend" ist, müssen bewegliche Teile noch regelmäßig geschmiert werden.

Schmieren Sie die beweglichen Teile (wie etwa Leitungssysteme, Scharnierfedern, Riegel und Luftklappen) mit einem hitzebeständigen Fett (erhaltlich im Fachhandel).
Beheben von Lackschäden
Kleine Lackschaden konnen Sie mit hitzebeständigem Speziallack aus der Spruhdose beheben, den Sie bei Ihrlem Lieferanten erhalten.
Pflege der emailierten Oberfläche
Die Emaillierung ist ein handwerklicher Vorgang, der dazu führt, dass keinere Farbabweichungen oder Beschädigungen an dem Gerät vorkommen können. Die Geräte werden in der Fabrik visuell kontrolliert, das heißt, ein Kontrolleur untersucht die Oberfläche zehn Sekunden lang aus einer Entfernung von einem Meter.
Eventuell vorhandene Beschädigungen, die darauf nicht auffallen, gelten als akzeptabel. Zum Lieferumfang des Geräts gehört ein spezieller bitzebestandiger Lack, mit dem Kleinere (Transpo Beschädigungen behoben werden können.
Tragen Sie diesen hitzebeständigen Lack in dūnnen Schichten auf, und setzen Sieihn gründlich trocknen, bevor Sie das Gerät in Betriebnehmen.
Abdichtung kontrollieren
Prufen Sie, ob die Abdichtungsschnur der Tur noch gut schließt. Diese unterliegt dem Verschleiß und mussrechtzeitig ausgetauscht werden.
Überprüfen Sie das Gerät auf Luftlecks. Verschreiben Sie eventuelle Risse mit Ofenkitt.
Lassen Sie den Kitt gut aushärten, bevor Sie das Gerät in Betrieb nehmen, andernfalls dehnt sich die Feuchtigkeit darin auf und führt erneut zu einem Leck.
Anlage 1: Technische Daten
| Modell 640CB 760CB | ||
| Nominalleistung 9 kW 11 kW | ||
| Schornsteinanschluss (Durchmesser) 150 mm 150 mm | ||
| Gewicht +/- 190 kg +/- 210 kg | ||
| Empfohlener Brennstoff Holz Holz | ||
| Kennzeichen Brennstoff, max. Länge | 50 cm | 60 cm |
| Massenfluss von Abgasen | 12,9 g/s 10,6 g/s | |
| Temperaturanstieg, gemessen im Messabschnitt | 197 K | 215 K |
| Temperatur, gemessen am Ausgang des Geräts | 336 °C | 303 °C |
| Mindestzug | 12 Pa | 12 Pa |
| CO-Emission (13 %) | 0,10 % | 0,09 % |
| NOx-Emission (13 %) | 81 mg/Nm3 | 145 mg/Nm3 |
| CnHm-Emission (13 %) | 114 mg/Nm3 | 114 mg/Nm3 |
| Staubemission | 19 mg/Nm3 | 15 mg/Nm3 |
| Staubemission gemäß NS3058-NS3059 | 7,72 gr/kg 7,72 gr/kg | |
| Wirkungsgrad | 75,2 % | 78 % |
Anlage 2: Abmessungen
640CB



09-00095-000_640CB
760CB

Anlage 3: Abstand zu brennbarem Material
640CB - Mindestabstände in Millimetern









09.20017.046
| * Geschütztes (isoliertes) Verbindungsrohr | |
| Brennbares Material | |
| Nicht brennbares Material, Dicke 100 mm |
760CB - Mindestabstände in Millimetern

| * Geschütztes (isoliertes) Verbindungsrohr | |
| Brennbares Material | |
| Nicht brennbares Material, Dicke 100 mm | |
640CB und 760CB - Abmessungen feuerfeste Bodenplatte

Mindestabmessungen feuerfeste Bodenplatte
| A (mm) | B (mm) | |
| Din 18891 500 300 | ||
| Deutschland 500 300 | ||
| Finnland 400 100 | ||
| Norwegen 300 100 |
Anlage 4: Diagnoseschema
| Problem | |||||
| ● | Holz brennt nicht durch | ||||
| ● | Liefert nicht ausreichend Wärme | ||||
| ● | Rauchrückschlag beim Nachfüllen | ||||
| ● | Gerät brennt zu stark, nicht gut regelbar | ||||
| Flammensanschlag an das Glas | |||||
| Mögliche Ursache Mögliche Lösung | |||||
| ● | ● | ● | ● Nicht ausreichender Zug | Ein kalter Schornstein führt zu unzureichendem Zug. Folgen Sie der Anleitung zum Anzünden im Kapitel "Verwendung"; öffnen Sie ein Fenster. | |
| ● | ● | ● | ● Holz zu feucht Verwenden Sie nur Holz mit max. 20 %Feuchtigkeit. | ||
| ● | ● | ● | ● Holzstücke zu groß | Verwendten Sie keine Anzündeholzstücke. Verwendten Sie gespaltenes Holz mit maximal 30 cm Stückgröße. | |
| ● | ● | ● | ● | ● Holz nicht korrekt gestapelt | Stapeln Sie das Holz so, dass zwischen den Blöcken ausreichend Luft zirkulleren kann (lose Stapelung, vgl. "Heizen mit Holz"). |
| ● | ● | ● | ● Schornstein Funktioniert nicht korrekt | Überprüfen Sie, ob der Schornstein den Bedingungen entspricht: mindestens 4 m hoch, richtiger Durchmesser, eine gute Isolierung, glatte Innenflächen, nicht zu weitere Biegungen, keine Hindernisse im Schornstein (etwa Vogelnest, Rußablagerungen), hermetische Dichtigkeit (keine Spalten). | |
| ● | ● | ● | ● Mündungsöffnung des Schornsteins nicht korrekt | Ausreichende Höhe über der Dachfläche, keine Hindernisse in der Höhe. | |
| ● | ● | ● | ● | ● Einstellung der Luftinlassöffnungen nicht korrekt | Öffnen Sie die Luftinlassöffnungen vollständig |
| ● | ● | ● | ● Anschlussdes Geräts am Schornstein nicht korrekt | Der Anschluss mushermetisch dicht sein. | |
| ● | ● | ● | ● Unterdruckin dem Raum, in dem das Gerät aufgestellt ist | Schalten Sie Luftabzugssysteme aus. | |
| ● | ● | ● | ● Unzureichende Frischluftzufahr | Sorgen Sie für ausreichende Luftzufahr, verwenden Sie nötigenfalls einen Außenluftanschluss. | |
| ● | ● | ● | ● Ungünstige Wetter-umstände? Inversionswetterlage (umgekehrter Luftstrom im Schornstein durch hohe Außentemperatur), extreme Windgeschwindigkeiten | Bei Inversionswetterlagen sollen den Sie das Gerät nicht verwenden. Setzen Sie, falls erforderlich, eine Zugklappe auf den Schornstein. Dies ist nur nach Rücksprache mit dem Schornsteinfeger möglich. | |
| ● | Zug im Wohnzimmer | Vermeiden Sie Zug im Wohnzimmer; stellen Sie das Gerät nicht in der Höhe einer Tur oder von Heizungsschäften auf. | |||
| ● Flammen schlagen an das Glas | Vermeiden Sie es, das Holz zu dicht an das Glas zu legen. Schieber Sie den primären Luftinlass wieder zu. | ||||
| ● | Überprüfen Sie die Abdichtungen der Tür und die Fugen des Geräts. | ||||
Index
A
Abdichtungsschnur der Tur.13
Abgas Massenfluss.14
Abmessungen.15
Abschlussdeckel montieren.8.
Achtung Ventilation.5 Versicherungsbedingungen 4
Anschluss Abmessungen 15.
Anschlussstück montieren 8
Anschlussstück Schornsteinanschluss.8....
Anstecken 9.
Anzündeholz.20.
Anzündfeuer 9
Asche entferen.11
Aschenlade
Öffnen 12
Aufstellen Abmessungen.15.
Außenluftzufuhr 5
Anschluss an. 8
B
Belüftung des Feuers 11
Böden
Brandsicherheit 6
Tragvermögen 6
Brandsicherheit Abstand zu brenbarem Material 17
Boden 6
Möbel 6
Wande 6
Brandstoff fullen 10
Brennbares Material Abstand zu 17
Brennstoff benötigte Menge 12 nachfüllen 11
ungeeigneter. 8
Brennstoffe geeignete 8
C
Carbolineum 11
E
Entaschen 11
Entaschungsoffnung 11
Entfernen Asche. 11
F
Fegen des Schornsteins 12
Feueranzünden 9
Gerat brennt zu heftig 20
Gerat nicht gut regelbar. 20
loschen 11
nicht ausreichende Wärme 20
Feuerfeste Innenplatten Warning 8
Wartung 12
Finish, Pflege 13
Füllhöhe des Geräts 10
G
Geeignete Brennstoffe 8
Gewicht 14
Glas Anschlag.20 reinigen 13
H
Haube auf dem Schornstein 5
Heizen. 10
Brennstoff nachfullen 10-11
unzureichende Wärme 12
Holz 9 aufbewahren. 9
brennt nicht durch 20
geeignete Sorte 9
nass 9
trocknen 9
Holzstücke stapeln 10
L
Lack 8
Lagerung von Holz.9
Lufteinlasse 9
Luftleck.13
Luftzufuhr regeln 11
M
Mauern
Brandsicherheit.6
N
Nachfüllen von Brennstoff.11.
Fülltür 11
Rauchrückschlag. 20.
Nadelholz.9
Nasses Holz.9
Nebel, nicht heizen.12
Nominale Leistung 12
Nominalleistung 14
0
Ofenscheibenreiniger 13
0
Öffnen
Aschenlade 12
Entaschungsöffnung 11
P
Primärer Lufteinlass 9
bei erster Inbetriebnahme 8
Rauchruckschlag 4,20
Reinigen
Gerat 12
Glas 13
Risse im Gerät 13
s
Scheiben
Anschlag 20
reinigen 13
Schmieren 13
Schmierfett 13
Schornstein
Anschluss an. 8
Anschlussdurchmesser. 14
Bedingungen 4
Höhe 5
Wartung 12
Schornsteinanschluss
Oberseite 7
Rückseite 7
Schornsteinbrand vermeiden 11
Schornsteinhaube 5
Sekundärer Lufteinlass 9
Staubemission 14
T
Teer. 11
Temperatur 14
Temperaturanstieg
Messabschnitt 14
Teppich 6
Tragvermögen des Bodens 6
Trocknen von Holz 9
Tur
Abdichtungsschnur. 13
U
Ungeeigneter Brennstaff 8
V
Ventilation. 5
Faustregel 5
Ventilationsgitter 5
Verbrennungsluftregelung
Luftregelung. 10
Verlöschen des Feuers 11
W
Wande
Brandsicherheit.6
Wärme, unzureichende 12, 20
Warnung
brennbare Materialien 4
feuerfeste Innenplatten 8
Glas gebrochen oder gesprungen 4,13
heiBe Oberfläche 4
Ofenscheibenreiniger 13
Wetterbedingungen, nicht heizen.12
Wirkungsgrad.14.
Z
Zug.14.
Zugschaufel zum Entaschen 7, 11
Índice
Introduccion 3
piastrefrattarieinterne 8
prescrizioni 4
piastrefrattarieinterne 12
EinfachAnleitung