ASTRO 3CBP PEGASUS - Heizung DOVRE - Kostenlose Bedienungsanleitung
Finden Sie kostenlos die Bedienungsanleitung des Geräts ASTRO 3CBP PEGASUS DOVRE als PDF.
Häufig gestellte Fragen - ASTRO 3CBP PEGASUS DOVRE
Benutzerfragen zu ASTRO 3CBP PEGASUS DOVRE
0 Frage zu diesem Gerät. Beantworten Sie die, die Sie kennen, oder stellen Sie Ihre eigene.
Eine neue Frage zu diesem Gerät stellen
Laden Sie die Anleitung für Ihr Heizung kostenlos im PDF-Format! Finden Sie Ihr Handbuch ASTRO 3CBP PEGASUS - DOVRE und nehmen Sie Ihr elektronisches Gerät wieder in die Hand. Auf dieser Seite sind alle Dokumente veröffentlicht, die für die Verwendung Ihres Geräts notwendig sind. ASTRO 3CBP PEGASUS von der Marke DOVRE.
BEDIENUNGSANLEITUNG ASTRO 3CBP PEGASUS DOVRE
Kachelruitenreiniger 16
Mist, nicht stoken 14
Muren
brandveiligheid.6
N
Naaldhout.11
Nat hout.11..
Konformitätserklung 3
Sicherheit 4
Installationsbedingungen.4
Allgemeines.4
Schornstein 4
Belüftung des Raums.5
Boden und Wände.6
Produktbeschreibung.6.
Installation 7
Vorbereitung.7.
Anwendung des Außenluftanschusses.8..
Einbau in einen neuen Kamin 9
Inbetriebnahme 11
Erste Inbetriebnahme 11
Brennstoff 11
Anzünden 12
Heizen mit Holz 12
Regelung der Verbrennungsluft 13
Löschen des Feuers 14
Entaschen 14.
Nebel 15
Eventuelle Probleme 15
Wartung 15
Schornstein 15
Reinigung und andere Wartungsarbeiten. 15
Anlage 1: Technische Daten. 18
Anlage 2: Abmessungen 19
Anlage 3: Abstand zu brennbarem Material. 24
Anlage 4: Diagnoseschema 25
Index 26
Einleitung
Sehr geehrte(r) Benutzer(in),
Mit dem Kauf theses Heizgerats von DOVRE haben Sie sich für ein hochwertiges Produkt entschieden.
Dieses Produkt gehört zu einer neuen Generation energiesparender und umweltfreundlicher Heizgeräte.
These Geräte nutzen sowohl Konvektionswärme als auch Strahlungswärme.
Konformitätserklarung

Benachrichtigte Behörde: 2013
Ihr DOVRE-Gerät wurde mithilfe der modernsten Produktionsmittel gefertigt. Sollte Ihr Gerät wider Hiermit erklart Erwarten dennoch einen Mangel aufweisen, können Sie sich jederzeit an den DOVRE-Service wenden. Dovre nv, Nij
Das Gerat darf nicht verändert werden; verwenden Sie stets Original-Ersatzteile.
Das Gerät ist zum Aufstellen in einem Wohnraum2576 gemäß EN 13229 produziert werden. gedacht. Es muss hermetisch damit an einen gut Funktionierenden Schornstein angeschlossen werden. Weelde 20-05-2008
Wir empfehlen, das Gerät durch einen qualifizierten Techniker installieren zu halten.
DOVRE übernimmt keinerlei Haftung für Probleme oder Schäden, die auf eine inkorrekte Installation zurückzuführen sind.
Bei Installation und Verwendung müssen die nachfolgend aufgeführten Sicherheitsvorschriften beachtet werden.
These Anleitung erläutert, wie Sie das DOVRE-Heizgerät sicher installieren, verwenden und warten. Wenn Sie weitergehende Informationen und technische Daten benötigen oder ein Installationsproblem haben, wenden Sie sichitte zuerst an ihren Lieferanten.
© 2012 DOVRE NV

Da die Produkte kontinuierlich verbessert werden, können die Spezifikationen des gefelften Geräts ohne vorherige Ankündigung von den Angaben in dieser Broschüre abweichen.
DOVRE N.V.
Nijverheidsstraat 18 Tel.: +32 (0) 14 65 91 91
B-2381 Weelde Fax: +32 (0) 14 65 90 09
Belgien E-Mail: info@dovre.be

Sicherheit
Achtung! Alle Sicherheitsvorschriften müssen strikt eingehalten werden.
Lesen Sie die Anleitungen zu Installation, Inbetriebnahme und Wartung sorgfältig durch, bevor Sie das Gerät in Betrieb fühmen.
Das Gerät muss gemäß den in Ihr dem Land geltenden gesetzlichen Bestimmungen installiert werden.
Alle lokalen Bestimmungen sowie Bestimmungen aufgrund von EU-Normen müssen bei der Installation des Geräts beachtet werden.
Lesen Sie die Anleitungen zu Installation, Inbetriebnahme und Wartung, die dem Gerät beiliegen.
Vorzugsweise sollte das Gerät von einem dazu befugten Techniker installiert werden. Diese kennt alle geltenden Bestimmungen und Vorschriften.
Das Gerät wurde zu Heizungszwecken entwickelt. Alle Oberflächen, einschließlich Glas und Anschlussrohr, können sehr heißt werden (mehr als 100^ ! Verwenden Sie bei der Bedienung eine "kalte Hand" oder hitzebestandige Handschuhe.
Legen Sie keine Gardinen, Kleider, Wäschstücke oder andere brennbare Materialien auf oder neben das Gerät.
Verwenden Sie während des Betriebs Ihres Gerats keine leicht entflammbaren oder explosiven Materialien in der Nähe des Gerät
Lassen Sie den Schornstein regelmäßig reinigen, um Schornsteinbrände zu verhindern. Heizen Sie niemals mit geöffneter Tur.
Bei einem Schornsteinbrand: Schließen Sie die Lufteingänge des Geräts, und rufen Sie die Feuerwehr.
Wenn das Glas des Geräts gebrochen oder gesprungen ist, muss diese Glas ausgetauscht werden, bevor das Gerät erneut in Betrieb genommen wird.
Sorgen Sie für eine ausreichende Ventilation in dem Raum, in dem das Gerät aufgestellt ist. Bei nicht ausreichender Ventilation ist die Verbrennung nur unvollständig, wodurch sich giftingige Gase in dem Raum ausbreiten konnen. Vgl. das Kapitel "Installationsbedingungen" für weitere Informationen zur Ventilation.
Installationsbedingungen
Allgemeines
Das Gerät muss hermetisch damit an einen gut Funktionierenden Schornstein angeschlossen werden.
Fur den Anschluss: vgl. die Anlage "Technische Daten".
Informieren Sie sich bei der Feuerwehr und/oder bei ihrer Versicherungsgesellschaft nach eventuellen speziellen Bedingungen und Vorschriften.
Schornstein
Der Schornstein ist erforderlich für:
Die Abfuhr von Verbrennungsgasen durch natürlichen Abzug.
Die warme Luft in dem Schornstein ist leichter als die Außenluft und steigt dazu nach oben.
Das Ansaugen von Luft, erforderlich für die Verbrennung der Brennstoffe in dem Gerät.
Ein nicht korrekt Funktionierender Schornstein kann zu Rauchrückschlagen beim Offnen der Tur führen.
Schaden durch Rauchrückschlag fallen nicht unter die Garantie.
Schlieben Sie nicht mehrere Geräte (etwa noch einen Zentralheizungskessel) an denselben Schornstein an, es sei dann, lokale oder landesweite Gesetze halten dies zu.
Fragen Sie ihren Installateur nach einer Beratung zu Ihrem Schornstein. Konsultieren Sie die EU-Norm EN13384 für die korrekte Berechnung Ihres Schornsteins.
Der Schornstein muss die folgenden Bedingungen erfüllen:
Der Schornstein muss aus feuerfestem Material bestehen, vorzugsweise aus Keramik oder Edelstahl.
Der Schornstein muss luftdicht und gut gereinigt sein und vollständigen Zug garantieren.

Ein Zug/Unterdruck von 15 - 20 Pa während der normalen Belastung ist ideal.
Der Schornstein muss - vom Ausgang aus dem Gerat ab - so vertikal wie möglich verlaufen. Richtungsänderungen und horizontale Teilstücke stären den Abzug der Verbrennungsgase und führen möglicherweise zu Rauchansammlungen.
Die Innenmaße des Schornsteins dürfen nicht zu groß sein, um zu vermeiden, dass sich die Verbrennungsgase zu stark abkühlen und dadurch den Zug beeinträchtigen.
Der Schornstein sollte nach Möglichkeit den gleichen Durchmesser aufweisen wie das Anschlussstück.

Für den nominalen Durchmesser vgl. die Anlage "Technische Daten". Wenn der Rauchkanal gut isoliert ist, kann der Durchmesser eventuell etwas großer sein (max. zweimal so groß wie der des Anschlussstücks).
Der Abschnitt (die Oberfläche) des Rauchkanals muss konstant sein. Änderungen und (vor allem) Verengungen stären die Abfuhr der Verbrennungsgase.
Bei Verwendung einer Regenhaube auf dem Schornstein: Achten Sie darauf, dass die Haube nicht die Mündung des Schornsteins verengt, und dass sie nicht die Abfuhr der Verbrennungsgase befindert.
Der Schornstein muss in einem Bereich munden, Sie konnen fur zusätzliche Ventilation sorgen, indem der nicht durch umliegende Gebäude, in der Nähsie in der Außenwand ein Ventilationsgitter einbauen stehende Bäume oder andere Hindernisse halten. behindiert wird.
Der Teil des Schornsteins, der außerhalb der Wohnung liegt, muss isoliert sein.
Der Schornstein muss mindestens 4 Meter hoch sein.
Als Faustregel gilt: 60 cm oberhalb des Dachfirsts.
Eine Faustregel ist, dass die Luftzufuhr 5,5cm^2 /kW betragen muss. Eine zusätzliche Ventilation ist erforderlich:
inn das Gerät in einem gut isolierten Raum.
Wenn eine mechanische Ventilation verwendet wird, etwa durch ein zentrales Absaugsystem oder eine Abzugkappe in einer offenen Kuche.
- Sie können für zusätzliche Ventilation sorgen, indem sie in der Außenwand ein Ventilationsgitter einbauen laßen.
Sorgen Sie davon, dass andere Luft verbrauchende Geräte (eita ein Wäschetrockner, andere Heizgeräte oder ein Badezimmerventilator) über eine eigene Außenluftzufuhr verfügbar, oder ausgeschaltet sind, wenn das Gerät in Verwendung ist.
Wenn der Dachfirst mehr als 3 Meter vom Schornstein entfernt ist: halten Sie die in der folgenden Abbildung angegebenen Maße ein. A = der höchste Punkt des Daches innerhalb eines Abstands von 3 Metern.

Belüftung des Raums
Für eine gute Verbrennung besteht das Gerät Luft (Sauerstoff). Die Luft wird über einstellbare Luftinlassoeffnungen aus dem Raum, in dem das Gerät aufgestellt ist, angeführrt.

Bei nicht ausreichender Ventilation ist die Verbrennung nur unvollständig, wodurch sich giftingige Gase in dem Raum ausbreiten konnen.



Sie konnen das Gerät auch an einer Außenluftanfuhr anschließen. Hierfür ist ein Anschlussatz im Lieferumfang enthalten. Dann benötigen Sie keine zusätzliche Ventilation.
Boden und Wände
Der Boden, auf dem das Gerät aufgestellt wird, muss über ein ausreichendes Tragvermögen verfügen. Für das Gewicht des Geräts vgl. die Anlage "Technische Daten".

Im Boden unter dem Gerät und in den Wänden rund um das Gerät dürfen sich keine elektrischen Leitungen befinden.

Unter dem Gerät müssen alle brennbaren Materialien entfernt werden oder mit einer Betonplatte (mindestens 6 cm dick) und einer Isolierung (10 cm) geschützt sein.

Brennbare Wände in der Höhe des Geräts müssen mit einer Steinwand (mindestens 10 cm dick) und einer Isolationsschicht von mindestens 10 cm Dicke geschützt werden.

Nicht brennbare Wände in der Höhe des Gerats müssen mit einer mindestens 2,5 cm dicken Isolationsschicht geschützt werden, damit sich keine Risse bilden können.

Schützen Sie brennbare Böden mithilfe einer feuerfesten Bodenplatte gegen Wärmeausbreitung und eventuell hersausfallende Asche. Vgl. die Anlage "Abstand zu brennbarem Material".

Sorgen Sie für ausreichenden Abstand zwischen dem Gerät und brennbaren Materialien, wie etwa Möbeln.

Sorgen Sie rund um brennbare Materialien, etwa Zierleisten, für ausreichende Belüfung. Vgl. die Anlage "Abstand zu brennbarem Material".

Zwischen Teppichen und dem Feuer muss ein Mindestabstand von 80 cm gewahrt bleiben.

Im Umkreis von 50 cm um eventuell vorhandene Konvektionsauslassöffnungen)dürfen sich keine brennbaren Materialien befinden.
Produktbeschreibung

- Anschlussstück
- Rauchfang
- TUR
- Feuerboden
- Riegel
- Primäre Luftklappe
- Sekundäre Luftklappe
- Anschluss Außenluft
- Seitenglas (nur für die Modelle 2175CBS3 und 2575CBS3)
Merkmale des Geräts
Das Gerät wird mit einem Handschuh zum Schutz ihrer Hand geliefert.
- Sie können die Drehrichtigung der Turändern. Das Gerät wird mit ab Werk mit nach links drehender Tur geliefert. Für eine nach rechts drehende Tur ist eine optional erhältliche Riegelstange erforderlich. Die Anleitungen zum Ändern der Drehrichtigung liegen dieser Riegelstange bei.
Das Gerät wird mit einem Anschlussatz für die in Außenluftzufuhr geleifert.
Ergänzendes Merkmal der Modelle 2175 und 2176
Die Modelle verfügen über ein Anschlussstück, das die Möglichkeit für einen senkrechten
Anschluss und für einen Anschluss im Winkel vor Entfernen der feuerfesten Innenplatten
Ergänzendes Merkmal der Modelle
2176 und 2576
Die Modelle verfügbar über eine herausnehmbare Aschenlade.
Ergänzende Merkmale der Modelle
2175CBS3 und 2575CBS3
Die Modelle werden standardmäßig in dreiseitiger Glasausfuhrung gefiefert; sie konnen zu einer zweiseitigen Glasausfuhrung (Glasseite links und rechts) umgebaut werden. Das andere Seitenglas kann durch eine dichte, gusseiserne Seitenplatte ersetzt werden. Die Seitenplatte ist optional erhältlich. Die Anleitung zum Umbau des Geräts durch den Austausch eines Seitenglases durch eine gusseiserne Seitenplatte gehört zum Lieferumfang der Platte.
Installation
Vorbereitung
Überprüfen Sie das Gerät sofort nach Lieferung (Transport-) Schäden und eventuelle Mängel.

Wenn Sie (Transport-) Schaden oder Mängel feststellen, behmen Sie das Gerät nicht in Betrieb und informieren Sie den Handler.
Entfernen Sie die abmontierbaren Teile (feuerfeste Innenplatten, Boden, Feuerkorb, Aschenöffnung und Aschenlade) aus dem Gerät, bevor Sie es installieren.

Wenn Sie die abmontierbaren Teile entfernen, konnen Sie das Gerät leichter verschiben un Beschädigungen vermeiden.

Achten Sie beim Entfernen dieser Teile auf ursprüngliche Lage, damit Sie sie später wieder korrekt anbringen konnen.
Entfernen Sie die feuerfesten Innenplatten in der richtigen Reihenfolge, gemäß der nachfolgenden Anleitung:
- Offnen Sie die Tur, indem Sie den Riegel nach außen drehen und die Tur so entriegeln; vgl. die ne nachfolgende Abbildung.

- Nehmen Sie zuerst die Innenplatten an beiden Seiten aus dem Gerät. Bei den Modellen 2175CBS3 und 2575CBS3 in der Ausführung mit auf Seiteingeslas fehlen diese Innenplatten.
- Nehmen Sie die Innenplatten, die sich links und rechts an der Rückseite befinden, aus dem Gerät.
- Nehmen Sie die Innenplatte, die sich in der Mitte der Rückseite befindet, aus dem Gerät.
Gusseiserne Innenplatten schützen die Verbrennungskammer und geben Wärme an die Umgebung ab.
Ändern der Ausrichtung des Anschlussstücks
Wenn Sie anstelle eines vertikalen Anschlusses
neinen Anschluss mit einem Winkel von 45^ wünschen, etwa, um den Anschluss mit einem
vorhandenen Abgasabfuhrkanal zu vereinfachen,
müssen Sie das Anschlussstück um 180^ drehen; vgl. die nachfolgenden zwei Abbildungen.
- Losen Sie die Verbindung zwischen dem Anschlussstück und dem Rauchfang, indem Sie
die zwei Mattern M8 losdrehen.
- Kippen Sie das Anschlussstück von den beiden Bolzen weg.
- Drehen Sie das Anschlussstück um 180^ , und setzen Sie es wieder auf den Rauchfang.
- Verbinden Sie das Anschlussstück und den Rauchfang wieder, indem Sie die zwei Mutter festdrehen.
- Dichten Sie den Zwischenraum zwischen dem Anschlusstück und dem Rauchfang mit Ofenkitt ab.

Der Ofenkitt gehört nicht zum Lieferumfang des Geräts.


Anwendung des Außenluftanschusses
Wenn das Gerät in einem unzureichend belufteten Raum aufgestellt wird, konnen Sie den mitgelieferten Anschlussatz für die Zufahr von Außenluft an das Gerät anschließen.
Das Luftzufuhrrohr hat einen Durchmesser von 100mm . Bei Verwendung eines glatten Rohrs damit diehises hochstens 12 Meter lang sein. Bei Verwendung von Hilfsstücken, wie etwa Biegungen, müssen Sie die maximale Länge (12 m) pro Hilfsstück um einen Meter vermindern.
Außenluftanschluss durch Wand/Boden und das Anschlussstück
-
Bringen Sie in der Wand oder dem Boden eine Anschlussöffnung an (Vgl. Anlage 2, "Abmessungen", für die geeignete Position dieser Anschlussöffnung).
-
Schlieben Sie das Luftzufuhrrohr hermetisch mit der Wand ab.
- Montieren Sie das Anschlussrück (A) auf dem Gewindeende M6 (B) mithilfe der Mutter (D) und des Verschlussrings (C); vgl. die nachfolgende Abbildung.

Einbau in einen neuen Kamin
Die Installation des Einbauofens besteht aus zwei Teilen:
Der Platzierung und dem Anschluss des Einbauofens
Dem Aufbau des Kamins um den Einbauofen
Platzierung und Anschluss des Einbauofens
- Stellen Sie das Gerät in der geeigneten Höhe auf, und sorgen Sie mit einer Wasserwaage für eine ebene Aufstellung.
- Sorgen Sie davon, dass zwischen den vorhandenen Wänden, die über die erforderliche Isolierung verfügen (vgl. das Kapitel "Installationsbedingungen"), und der Rückseite des Geräts 100 mm Abstand besteht; vgl. die nachfolgenden zwei Abbildungen.


- Schlieben Sie das Gerät hermetisch dicht an den Schornstein an.
- Prüfen Sie den Zug in dem Schornstein und die Abdichtung des Anschlusses an dem Abgasabfuhrkanal, indem Sie ein kleines intensives Probefeuer mit Zeitungspapier und trockenem,)dunnem Holz machen.
Warten Sie bei neuem Mauerwerk, bis diesen vollständig getrocknet ist.
5. Bei Außenluftanschluss: Schlieben Sie die Außenluftzufuhr an dem Anschlussatz an, den Sie an dem Gerät befestigt haben.
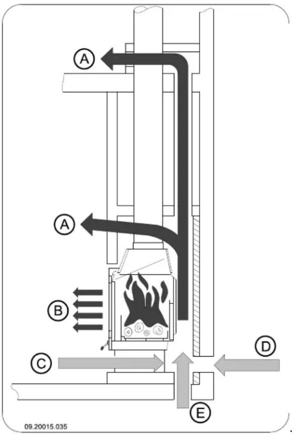
Bau des Kamins
In dem Kamin stellen Sie einen Konvektionsraum her.
In diesen Raum kann sich die Luft frei bewegen. Für
die Verbrennung muss Luft angesaugt werden, und die vom Einbauofen erwärmte Luft (die Konvektionsluft) muss frei in den zu heizenden Raum strömen können; vgl. die nachfolgende Abbildung.

A Konvektionsluftstrom
B Wärnestrahlung
C Luftanfuhr aus dem zu heizenden Raum
D Außenluftanfuhr durch die Wand
E Außenluftanfuhr durch den Fußboden
Befolgen Sie beim Bau des Kamins die folgenden Vorschriften für den Konvektionsraum:
Die Oberseite des Konvektionsraums muss mit einer Abschlussplatte aus hitzebeständigem und nicht brennbarem Material luftdicht abgeschlossen sein.
Die Abschlussplatte muss absoluten liegen und mindestens 30~cm unter der Abgasöffnung in der Decke platziert sein.
Fur die Zufahr der Umgebungsluft mussen sich an
der Unterseite des Kamins Lufteinslassroste befinden. Eine Lufteinlassöffnung muss mindestens eine Fläche von 250² barben. Wenn der Raum nicht ausreichend beluftet ist, müssen Sie mithilfe des mitgelieferten
Außenluftanschlusssets oder eines optionalen Luftklappensets mit Regelknopf für die Anfuhr von Außenluft sorgen.
An der Oberseite des Kamins, direkt unter der Abschlussplatte, müssen Luftauslassroste platziert sein. Eine Luftauslassöffnung muss mindestens eine Fläche von 500^ calben.

Die Einlass- und Auslassroste sind optional erhältlich.

Verwenden Sie in dem Konvektionsraum kein brennbares Material, und verhindern Sie bei Verwendung wärmeleitfähiger Materialien die Bildung von Wärmebrücken.
Befolgen Sie beim Bau des Kamins die nachfolgende Anleitung:
- Mauern Sie den Fuß des Ofens, und bauen Sie in diesen Mauerwerk die Luftteinlassroste ein.

Sie konnen die Luftinlassroste an allen Seiten des Fußesplatzieren.

Sorgen Sie damit, dass die Tur des Ofens frei über die Aufstellfläche des Ofens schwingen kann.
- Mauern Sie den Kamin weiter auf bis zum Rauchfang.

Sorgen Sie davon, dass zwischen dem Einbauofen und dem Mauerwerk immer 2 mm Spiel blieben, um die Wärmeausdehnung des Einbauofens aufzufangen.
- Nach Wunsch können Sie die Innenseite des Konvektionsraums mit reflektierendem Isoliermaterial auskleiden.

Eine zusätzliche Auskleidung des Konvektionsraums verhindert eine unnötige Wärmbstrahlung an Außenwände und/oder benachbarte Räume. Auch wird dadurch die Beschädigung der Hohlmauerisolierung verhindert.
- Mauern Sie den Kamin weiter auf bis zur Rauchgasöffnung in der Decke.

Der Einbauofenarf nicht dasMauerwerk tragen.VerwendenSieeineStütze,wie etwa einTrageisen.LassenSiezwischenderStutz und demGeratmindestens3mm Spiel.
- Schlieben Sie den Konvektionsraum mit der Abschlussplatte ab.
- Platzieren Sie die Luftauslassroste unter der Abschlussplatte.
- Stellen Sie oberhalb der Abschlussplatte eine Öffnung her, um eventuellen Druckaufbau zu verhindern.
Die nachfolgende Abbildung zeigt ein Beispiel für d'Platzierung eines Einbauofens in einem Kamin, der gemäß den oben angegebenen Anleitungen und Vorschriften gebaut wurde.

A Schornstein
B Abschlussstück
C Abdeckplatte
D Isolierung 10 cm
E Nicht brennbare Mauer mind. 10 cm (z. B.
Porenbeton)
F Brennbare Mauer
G Konvektionsraum
H Nicht brennbare Decke
Brennbare Decker
J Auslass Konvektionsluft
K Isolierung
L Nicht brennbarer Boden
M Brennbarer Boden
N Öffnung zur Verhinderung von Druckaufbau
O Anschlussrohr
Ausführung
- Setzen Sie alle abmontierten Teile wieder an ihrem korrekten Platz in das Gerät ein.
- Sorgen Sie damit, dass der neu gebaute Kamin vollständig trocken ist, bevor Sie mit dem Heizen beginnen.

Lassen Sie das Gerät nicht ohne feuerfeste Innenplatten brennen.
Das Gerat ist jetzt gebrauchs fertig.
Inbetriebnahme
Erste Inbetriebnahme
Wenn Sie das Gerät zum ersten Mal in Betrieb führen, lassen Sie es eine Stunden durchheizen. Dadurch härte der hitzebestände Lack aus. Hierbei kann es zu Rauch- und Geruchsbildung kommt. Öffnen Sie dann eventuell in dem Raum, in dem das Gerät aufgestellt ist, Fenster und Türen.
Brennstoff
Dieses Gerät ist ausschließlich zum Verbrennen von Naturholz geeignet, das gesagt und gespalten sowie ausreichend getrocknet ist.
Verwenden Sie keine anderen Brennstoffe; diese konnen dem Gerät ernsthafte Schäden zufugen.
Die folgenden Brennstoffe dürfen nicht verwendet werden, da sie die Umwelt verschmutzen und da sie Gerät und Schornstein stark verunreinigen, was zu einem Schornsteinbrand führen kann:
Behandeltes Holz, wie etwa Holz mit Beschichtungen, gefarbtes Holz, imprägniertes Holz, konserviertes Holz, Multiplex und Spanplatten.
Kunststoff, Altpapier und Haushaltsabfälle.
Holz
- Verwenden Sie vorzugsweise hartes Laubholz, wie etwa Eiche, Buche, Birke oder Obstbaumholz. Dieses Holz brennt langsam bei ruhiger Flamme. Nadelholz enthalt mehr Harz, brennt schneller und erzeugt mehr Funken.
- Verwenden Sie getrocknetes Holz mit maximal 20% Feuchtigkeitsanteil. Hierzu muss das Holz mindestens zwei Jahre lang getrocknet werden.
Sagen Sie das Holz auf Maß und spalten Sie es, solange es noch frisch ist. Frisches Holz lassst sich leichter spalten, und gespaltenes Holz trocknet better. Bewahren Sie das Holz unter einer Abdeckung auf, in der sich der Wind frei bewegen kann. - Verwenden Sie kein nasses Holz. Nasses Holz 4 spendet keine Wärme, da die gesamte Energie für das Verdampfen der Feuchtigkeit verwendet wird. Dabei entsteht viel Rauch und es kommt zu Rußablagerungen an der Gerätetur und im Schornstein. Der Wasserdampf kondensiert im Gerät und kann aus dem Gerät austreten und zu schwarzen Flecken auf dem Fußboden führen. Der Wasserdampf kann auch im Schornstein kondensieren und zur Entstehung von Carbolineum beitragen. Diese Stoff ist weniger brennbar und kann zu einem Schornsteinbrand führen.
Anzünden
Sie konnen überprüfen, ob der Schornstein über ausreichenden Zug verfügt, indem Sie oberhalb der Flammplatte ein Knäuel Zeitungspapier anzünden. E kalter Schornstein verfügt oft über unzureichenden Zug, wodurch Rauch in das Zimmer gelangen kann Wenn Sie das Gerät wie hier beschrieben anzünder vermeiden Sie diese Son Problem.
-
Stapeln Sie zwei Lagen mittelgroßer Holzstücke kreuzweise übereinander.
-
Stapeln Sie auf den Holzstücken zwei Lagen Anzündehölzchen kreuzweise übereinander.
- Legen Sie den Anzünderblock zwischen die unterste Lage von Anzündehölzchen, und zünden Sie den Anzünderblock gemäß der Anleitung auf der Verpackung an.

- Schlieben Sie die Tur des Gerats, und öffnen Sie den primären Luftinlass sowie den sekundären Luftinlass des Gerats; vgl. die nachfolgende Abbildung.
- Lassen Sie das Anzündfeuer durchbrennen, bis ein gluhendes Holzkohlebett entstanden ist.
U Anschließlich konnen Sie das Gerat erneut fullen und regeln, vgl. das Kapitel "Heizen mit Holz".
Heizen mit Holz
Nachdem Sie die Anleitungen zum Anzünden befolggt haben:
- Offnen Sie langsam die Tur des Gerats.
- Verteilen Sie das Holzkohlebett gleichmäßig über den Heizboden.
- Stapeln Sie eine Holzstücke auf dem Holzkohlebett auf.
Lose Stapelung

Bei einer losen Stapelung verbrennt das Holz schnell, da der Sauerstoff eines Holzstück einfach erreichen kann. Stapeln Sie das Holz lose, wenn Sie kurz heizen möchten.
Kompakte Stapelung

Bei einer kompakten Stapelung verbrennt das Holz langsamer, da der Sauerstoff zunachst nur einzeln Holzstücke erreichen kann. Stapeln Sie das Holz kompakt, wenn Sie länger heizen können.
- Schlieben Sie die Tur des Gerats.
- Schließen Sie den primären Luftteinlass, und halten Sie den sekundären Luftteinlass offen stehen.

Füllen Sie das Gerät maximal zu einem Drittel.
Regelung der Verbrennungsluft
Das Gerät verfügt über verschiedene Einrichtungen für die Luftregelung (vgl. die Abbildung).

Die primäre Luftklappe (A) regelt die Luft unter dem Rost. Die sekundäre Luftklappe (B) regelt die Luft vor dem Glas (Air-Wash).
Drehen Sie die Luftklappe (A) nach links, um sie zu öffnen; vgl. die nachfolgende Abbildung.

Drehen Sie die Luftklappe (B) nach rechts, um sie zu öffnen; vgl. die nachfolgende Abbildung.


Das Gerät verfügbar über eine doppelwandige Flammplatte mit permanenten Luftöffnungen, die für die Nachverbrennung sorgen.
Hinweise

Heizen Sie niemals mit geöffneter Tur.

Heizen Sie das Gerät regelmäßig gut durch.
der Fall ist, können alle Luftklappen geschlossen werden.
Entaschen
Nach dem Verbrennen von Holz bleibt eine relativ geringe Menge Asche zurück. Dieses Aschebett ist einGreater Isolator fur den Heizboden und sorgt fur eine gute Verbrennung. Sie konnen dazu ruhig eine dulle Schicht Asche auf dem Heizboden liegen halten.
Wenn Sie lange mit niedriger Flamme heizen, Schlicht Asche auf dem Heizboden liegen halten.
konnen sich im Schornstein Ablagerungen vonDie Luftzufuhr durch den Heizboden darf jedoch nicht Teer und Carbolineum (Steinkohlenteer) bildenbehindert werden, und hinter der gusseisernen.
These Stoffe sind leicht brennbar. Wenn die Innenplatte darauf sich nicht zu viel Asche ansammeln.
Ablagerungen dieser Stoffe zu sehr Entfernen Sie dazu regelmäßig die angesammelte anwachsen, kann durch eine plottliche Asche.
Entfernung der Asche, Modelle 2175 und 2575
Darüber hinaus kann sich beim Heizen auf zu. Offnen Sie die Tur des Geräts.
geringer Stufe Teer auf der Scheibe der
Gerätetür absetzen. 2. Schaufeln Sie die angesammelte
Bei milden Aufentemperaturen ist esDMAber
besser, das Gerät eine Stunden lang intensiv Aschestaubsauger.
durchbrennen zu halten, als es langere Zeit au! Nehmen Sie dazu immer ein
niedrigem Stand zu betreiben.
Regeln Sie die Luftzufuhr mit dem sekundären Luftteinlass.

Der sekundäre Luftinlass beluftet nicht nur das Feuer, sondern auch das Glas und schützt Schlieben Sie die Tur des Geräts es so vor Schneller Verschmutzung. Entfarkung der Apso
- Offnen Sie den primären Luftteinlass rechtzeitig, wenn die Luftzufuhr über den sekundären Luftteinlass nicht ausreicht, oder wenn Sie das Feuer neu entfachen möchten.
Das regelmäßige Nachfüllen kleiner Mengen von Holzstücken ist better, als viel Holz auf einmal befüssen.
Löschen des Feuers
Füllen Sie keinen Brennstoff nach, und setzen Sie den Ofen normal ausgehen. Wenn ein Feuer durch Verminderung der Luftzuführ gedämpft wird, werden schädliche Stoffe freigesetzt. Lassen Sie das Feuer davon selbstständig herunterbrennen. Achten Sie auf das Feuer, bis es vollständig erloschen ist. Wenn dies
Staubsauger ohne spezielle Anpassung für Asche kann dadurch ernsthaft beschädigt werden.
Entfernung der Asche, Modelle 2176 und 2576

- Öffnen Sie die Tur des Geräts.
- Offnen Sie mit der Zugschaufel die Entaschungsklappe (C) im Boden (A).
- Schieben Sie die Asche mit der Zugschaufel durch die Entaschungsoffnung in die darunter befindliche Aschenlade (B).
- Schließen Sie die Entaschungsöffnung.
- Entfernen Sie die Aschenlade (B) mit Hilfe des mitgelieferten Handschuhs, und leeren Sie sie.
- Setzen Sie die Aschenlade wieder ein, und schlieben Sie die Tür des Geräts.
Nebel
Nebel behind the Abfuhr von Abgasen durch den Schornstein. Rauch kann sich niederschlagen und zu Geruchsbelastigung führen. Bei Nebel sollens SieDMAHer nicht mit dem Gerat heizen, wenn dies nicht unbedingt erforderlich ist.
Eventuelle Probleme
Lesen Sie die Anlage "Diagnoseschema", um eventuell bei der Verwendung des Geräts auftretende Probleme zu halten.
Wartung
Befolgen Sie die Wartungsanleitungen in thism Kapitel, um ihr Gerät in einem gutezustand zu halten.
Schornstein
In denen Ländern sind Sie gesetzlich dazu verpflichtet, den Schornstein regelmäßig kontrollieren und warten zu halten.
Zu Beginn der Heizperiode: Lassen Sie den Schornstein von einem anerkannten Schornsteinfeger reinigen/fegen.
Während der Heizperiode und wenn der Schornstein für längerere Zeit nicht verwendet wurde: Lassen Sie den Schornstein auf Ruß untersuchen.
Nach der Heizperiode: Schlieben Sie den Schornstein mit einem Knäuel Zeitungspapier ab.
Reinigung und andere Wartungsarbeiten
Reinigen Sie das Gerät nicht, so lange es noch warm ist.
Reinigen Sie die Außenseite des Geräts mit einem trockenen und fusselfreien Tuch.
Nach Ablauf der Heizperiode konnen Sie die Innenseite des Gerats reinigen:
Entfernen Sie eventuell zuerst die feuerfesten Innenplatten. Vgl. das Kapitel "Installation" für Anleitungen zum Entfernen und Anbringen von Innenplatten.
Reinigen Sie eventuell die Luftzufuhrkanäe. Entfernen Sie die Flammplatte oben in dem Gerä und reinigen Sie sie.
Kontrolle der feuerfesten Innenplatten
Die feuerfesten Innenplatten sind Verbrauchsteile, die dem Verschleib unterliegen. Überprüfen Sie die Innenplatten regelmäßig, und tauschen Sie sie bei Bedarf aus.
Vgl. das Kapitel "Installation" für Anleitungen zum Entfernen und Anbringen von Innenplatten.
Die isolierenden Vermiculit-Innenplatten konnen Haarrisse aufweisen, dies hat aber keine nachteiligigen Auswirkungen auf ihre Funktion.
Gusseiserne Innenplatten halten large, wenn Sie regelmäßig die Asche entfernen, die sich dahinter ansammelt. Wenn angesammelte Asche hinter einer gusseisernen Platte nicht entfernt wird, kann die Platte keine Wärme mehr an die Umgebung abgeben und sich anschließend verformen oder reifen.
Lassen Sie das Gerät nicht ohne feuerfeste Innenplatten brennen.
Abmontieren von Klappe und Flammplatte
Die Klappe und die Flammplatte können abmontiert werden. Die Klappe (A) ist durch die Klappenstange
(B) mit der Flammplatte verbunden. Die Flammplatte ist mithilfe einer Bolzenverbindung (C) am Gerät befestigt; vgl. die nachfolgende Abbildung.

- Kippen Sie die Klappe (A) nach oben, und entfernen Sie die Klappenstange (B) von der Klappe. Kippen Sie die Klappe zur Rückseite des Gerats; vgl. die nachfolgende Abbildung.

- Die Klappe ist jetzt frei. Nehmen Sie die Klappe aus dem Gerät; vgl. die nachfolgende Abbildung.

- Zur Entfernung der Flammplatte mussen Sie zuerst die Bolzenverbindung (C) losschrauben. Drehen Sie die Mutter los; vgl. die nachfolgende Abbildung.

- Kippen Sie die Flammplatte an der Vorderseite nach oben,ziehen Sie sie nach vorn und schiben Sie sie vom Bolzen weg;vgl. die nachfolgende Abbildung.

- Die Flammplatte ist jetzt frei. Nehmen Sie die Flammplatte vorsichtig aus dem Gerät; vgl. die nachfolgende Abbildung.


Montieren Sie vor der Inbetriebnahme des
Geräts die Flammplatte und die Klappe wiee an. Befolgen Sie für die Montage der Klappe und der Flammplatte die oben stehende Anleitung in umgekehrter Reihenfolge.
Glas reinigen
Gut gereinigtes Glas nimmt weniger schnell neuen Schmutz auf. Gehen Sie folgendermaßen vor:
- Entfernen Sie Staub und loseN Rost mit einem trockenen Tuch.
- Reinigen Sie das Glas mit einem Ofenscheibenreiniger:
a. Tragen Sie Ofenscheibenreiniger auf einen Kuchenschwamm auf, wischen Sie die gesamte Glasoberfläche damit ab und halten Sie den Reiniger einwirken.
b. Entfernen Sie den Schmutz mit einem feuchten Tuch oder mit Kuchenpapier.
- Reinigen Sie das Glas dann noch einmal mit einem normalen Glasreinigungsdprodukt.
-
Wischen Sie das Glas mit einem trockenen Tuch oder mit Kuchenpapier ab.
-
Verwenden Sie keine scheuernden oder scharfen Produkte zur Reinigung des Glases.
▶ Verwenden Sie zum Schutz Ihrer Höhe geeignete Haushaltshandschuhe.

Wenn das Glas des Gerats gebrochen oder gesprungen ist, muss diese Glas
ausgetauscht werden, bevor das Gerät erneut in Betrieb genommen wird.

Achten Sie darauf, dass kein Ofenscheibenreiniger zwischen das Glas und die gusseiserne Tur lauft.
Schmieren
Obwohl Gusseisen eigentlich "selbstschmierend" ist, müssen bewegliche Teile noch regelmäßig geschmiert werden.
Schmieren Sie die beweglichen Teile (wie etwa Leitungssysteme, Scharnierfedern, Riegel und Luftklappen) mit einem hitzebeständigen Fett (erhaltlich im Fachhandel).
Finish erneern
Kleine Lackschaden konnen Sie mit hitzebeständigem Speziallack aus der Spruhdose beheben, den Sie bei Ihrlem Lieferanten erhalten.
Abdichtung kontrollieren
Prufen Sie, ob die Abdichtungsschnur der Tur noch gut schließt. Diese unterliegt dem Verschleiß und mussrechtzeitig ausgetauscht werden.
Überprüfen Sie das Gerät auf Luftlecks. Verschreiben Sie eventuelle Risse mit Ofenkitt.

Lassen Sie den Kitt gut aushäten, bevor Sie das Gerät in Betrieb führen, andernfalls dehnt sich die Feuchtigkeit darin auf und führt erneut zu einem Leck.
Anlage 1: Technische Daten
| Modell Serie 2170CB und 2570CB | |
| Nominalleistung 10 kW | |
| Schornsteinanschluss (Durchmesser) 150 mm | |
| Gewicht +/- 160 kg | |
| Empfohlener Brennstoff Holz | |
| Kennzeichen Brennstoff, max. Länge 50 cm | |
| Massenfluss von Abgasen | 10,1 g/s |
| Temperaturanstieg, gemessen im Messabschnitt | 260 K |
| Temperatur, gemessen am Ausgang des Geräts | 345 °C |
| Mindestzug | 12 Pa |
| CO-Emission (13 %) | 0,06 % |
| NOx-Emission (13 %) | 118 mg/Nm3 |
| CnHm-Emission (13 %) | 70 mg/Nm3 |
| Staubemission | 19 mg/Nm3 |
| Staubemission gemäß NS3058-NS3059 | 7,1 gr/kg |
| Wirkungsgrad | 75,9 % |
Anlage 2: Abmessungen
2175CBS



09.20017.004

2176CBS
2175CBS3


09.20017.006
2576CBS



09.20017.001
2575CBS3



09.20017.003
Anlage 3: Abstand zu brennbarem Material
Minimaler Belüftungsraum außerhalb des Strahlungsbereichs

Abmessungen der feuerfesten Bodenplatte in Zentimetern


Mindestabmessungen feuerfeste Bodenplatte
$$ V > H + 3 0 > 6 0 $$
$$ S > H + 2 0 > 4 0 $$
Anlage 4: Diagnoseschema
| Problem | |||||
| ● | Holz brennt nicht durch | ||||
| ● | Liefert nicht ausreichend Wärme | ||||
| ● | Rauchrückschlag beim Nachfüllen | ||||
| ● | Gerät brennt zu stark, nicht gut regelbar | ||||
| Flammenanschlag an das Glas | |||||
| Mögliche Ursache Mögliche Lösung | |||||
| ● | ● | ● | ● Nicht ausreichender Zug | Ein kalter Schornstein führt zu unzureichendem Zug. Folgen Sie der Anleitung zum Anzünden im Kapitel "Verwendung"; öffnen Sie ein Fenster. | |
| ● | ● | ● | ● Holz zu feucht Verwenden Sie nur Holz mit max. 20 %Feuchtigkeit. | ||
| ● | ● | ● | ● Holzstücke zu groß | Verwendten Sie keine Anzündeholzstücke. Verwendten Sie gespaltenes Holz mit maximal 30 cm Stückgröße. | |
| ● | ● | ● | ● | ● Holz nicht korrekt gestapelt | Stapeln Sie das Holz so, dass zwischen den Blöcken ausreichend Luft zirkulieren kann (lose Stapelung, vgl. "Heizen mit Holz"). |
| ● | ● | ● | ● Schornstein Funktioniert nicht korrekt | Überprüfen Sie, ob der Schornstein den Bedingungen entspricht: mindestens 4 m hoch, richtiger Durchmesser, eine gute Isolierung, glatte Innenflächen, nicht zu weitere Biegungen, keine Hindernisse im Schornstein (etwa Vogelnest, Rußablagerungen), hermetische Dichtigkeit (keine Spallen). | |
| ● | ● | ● | ● Mündungsöffnung des Schornsteins nicht korrekt | Ausreichende Höhe über der Dachfläche, keine Hindernisse in der Höhe. | |
| ● | ● | ● | ● | ● Einstellung der Luftinlassoeffnungen nicht korrekt | Öffnen Sie die Luftinlassoeffnungen vollständig |
| ● | ● | ● | ● Anschlussdes Geräts am Schornstein nicht korrekt | Der Anschluss mussermetisch dicht sein. | |
| ● | ● | ● | ● Unterdruckin dem Raum, in dem das Gerät aufgestellt ist | Schalten Sie Luftabzugssysteme aus. | |
| ● | ● | ● | ● Unzureichende Frischluftzufahr | Sorgen Sie für ausreichende Luftzufahr, verwenden Sie nötigenfalls einen Außenluftanschluss. | |
| ● | ● | ● | ● Ungünstige Wetter- umstände? Inversionswetterlage (umgekehrter Luftstrom im Schornstein durch hohe Außentemperatur), extreme Windgeschwindigkeiten | Bei Inversionswetterlagen sollen den Sie das Gerät nicht verwenden. Setzen Sie, falls erforderlich, eine Zugklappe auf den Schornstein. Dies ist nur nach Rücksprache mit dem Schornsteinfeger möglich. | |
| ● | Zug im Wohnzimmer | Vermeiden Sie Zug im Wohnzimmer; stellen Sie das Gerät nicht in der Höhe einer Tur oder von Heizungsschäften auf. | |||
| ● Flammen schlagen an das Glas | Vermeiden Sie es, das Holz zu dicht an das Glas zu legen. Schieber Sie den primären Luftinlass wieder zu. | ||||
| ● | Gerät verliert Luft | Überprüfen Sie die Abdichtungen der Tür und die Fugen des Geräts. | |||
Index
A
Abdichtungsschnur der Tur.17
Abgas Massenfluss.18
Abmessungen.19
Abschlussplatte Konvektionsraum..10.
Achtung Ventilation.5 Versicherungsbedingungen 4
Anschluss Abmessungen 19.
Anschluss an Außenluftzufuhr.8
Anschlussstück 7
Anstecken.12
Anzündeholz 25
Anzündfeuer 12
Asche entfernen 14
Aschenlade öffnen 15
Aufstellen Abmessungen 19.
Außenluftzufuhr 5,8 Anschluss an 9
B
Belüftung des Feuers 14
Böden
Brandsicherheit 6
Tragvermögen 6
Brandsicherheit Abstand zu brennbarem Material. 24
Boden 6
Möbel 6
Wande 6
Brandstoff fullen 13
Brennbares Material Abstand zu 24
Brennstoff benöttige Menge 15
nachfullen 14
ungeeigneter 11
Brennstoffe geeignete 11
C
Carbolineum 14
D
Drehrichtung
ändern 6
E
Entaschen.14
Entaschungsklappe.15
Entfernen Asche 14
F
Fegen des Schornsteins. 15
Feueranzünden 12
Geratbrenntzue heftig 25
Gerat nicht gut regelbar 25
loschen 14
nicht ausreichende Wärme 25
Feuerfeste Innenplatten
Warning 11
Wartung.15.
Finish, Pflege 17
Flammplattemontieren 15
Füllhöhe des Geräts.13
G
Geeignete Brennstoffe. 11
Gewicht 18
Glas Anschlag.25 reinigen 17
H
Haube auf dem Schornstein. 5
Heizen 12
Brennstoff nachfüllen 12, 14
unzureichende Wärme 15
Holz 12 aufbewahren 12
brennt nicht durch 25
geeignete Sorte 12
nass.12
trocknen 12
Holzstücke stapeln.13
1
Innenplatten
entferen 7
Innenplatten, feuerfeste.7
K
Klappe
montieren.15
Konvektionsraum
Abschlussplatte 10
Vorschriften.10
L
Lack.11
Lagerung von Holz 12
Luftauslassrost
Anforderungen.10
Platzierung .10.
Lufteinlasse.12
Lufteinlassrost
Anforderungen.10
Platzierung .10.
Luftleck 17
Luftzufuhr regeln. 14
M
Mauern
Brandsicherheit 6
N
Nachfullen von Brennstoff 14
Rauchruckslag 25
Nadelholz 12
Nasses Holz 12
Nebel, nicht heizen 15
Nominale Leistung. 15
Nominalleistung 18
0
Ofenscheibenreiniger 17
0
Öffnen
Aschenlade 15
Entaschungsklappe. 15
P
Primärer Lufteinlass. 12
Probleme losen 15,25
R
Rauch bei erster Inbetriebnahme 11
Rauchruckslag 4,25
Reinigen
Gerat 15
Glas. 17
Risse im Gerät 17
s
Scheiben
Anschlag. 25
reinigen 17
Schmieren. 17
Schmierfett 17
Schornstein
Anschluss an 9
Anschlussdurchmesser. 18
Bedingungen 4
Höhe. 5
Wartung 15
Schomsteinbrand vermeiden 14
Schomsteinhaube 5
Seitenglas 7
Seitenplatte Umbau. 7
Sekundärer Lufteinlass 12
Staubemission 18
T
Teer. 14
Temperatur 18
Temperaturanstieg
Messabschnitt 18
Teppich 6
Tragvermögen des Bodens 6
Trocknen von Holz 12
Tur
Abdichtungsschnur 17
Drehrichtung andern.6
U
Ungeeigneter Brennstoff.11.
V
Ventilation.5
Außenluftzufuhr anschließen 8
Faustregel.5
Ventilationsgitter.5
Verbrennungsluftregelung
Luftregelung.13
Verlöschen des Feuers..14
W
Wande
Brandsicherheit 6
Wärme, unzureichende.15..25
Warnung
brennbare Materialien 4
feuerfeste Innenplatten 11
Glas gebrochen oder gesprungen 4,17
heiBe Oberflache 4
Ofenscheibenreiniger 17
Schornsteinbrand 4,11,14
Ventilation 4
Vorschriften 4
Wartung
Abdichtung 17
Feuerfeste Innenplatten. 15
Gerat reinigen 15
Glas reinigen 17
Schmieren 17
Schornstein 15
Wetterbedingungen, nicht heizen 15
Wirkungsgrad 18
Z
Zug. 18
Zugschaufel fur Entaschung 15
Índice
Introduccion 3
piastrefrattarieinterne 11
prescrizioni 4
EinfachAnleitung