LFF 8M132 EU - Geschirrspüler HOTPOINT - Kostenlose Bedienungsanleitung
Finden Sie kostenlos die Bedienungsanleitung des Geräts LFF 8M132 EU HOTPOINT als PDF.
Benutzerfragen zu LFF 8M132 EU HOTPOINT
0 Frage zu diesem Gerät. Beantworten Sie die, die Sie kennen, oder stellen Sie Ihre eigene.
Eine neue Frage zu diesem Gerät stellen
Laden Sie die Anleitung für Ihr Geschirrspüler kostenlos im PDF-Format! Finden Sie Ihr Handbuch LFF 8M132 EU - HOTPOINT und nehmen Sie Ihr elektronisches Gerät wieder in die Hand. Auf dieser Seite sind alle Dokumente veröffentlicht, die für die Verwendung Ihres Geräts notwendig sind. LFF 8M132 EU von der Marke HOTPOINT.
BEDIENUNGSANLEITUNG LFF 8M132 EU HOTPOINT
GESCHIRRSPULER - Inhaltsverzeichnis
Gebrauchsanleitung, 1
Vorsichtsmaßnahmen und Hinweise, 3-4
Kundendienst, 11
Produktdatenblatt, 12
Installation, 26-27
Beschreibung Ihres Geschirrspulers, 28
Regeneriersalz und Klarspuler, 29
Beladen der Körbe, 30-31
Spulmittel und Verwendung des Geschirrspulers, 32
Programme, 33
Sonderprogramme und Optionen, 34
Reinigung und Pflege, 35
Störungen und Abhilfe, 36
PL Polski
Instrukcja obslugi
ZMYWARKA - Spis tresci
DE vorsichts Hinweise
Das Gerät wurde nach den strengsten internationalen Sicherheitsvorschriften konzipiert und hergestellt. Nachstehende Hinweise werden aus Sicherheitsgründen angegeben und sollenen aufmerksam gelesen werden.
Bewahren Sie diese Bedienungsanleitung sorgfällig auf, damit Sie sie jederzeit zu Rateziehen können. Im Falle eines Verkaufs, einer Übergabe oder eines Umzugs muss sie dem Gerät stets beiliegen.
Lesen Sie die folgenden Hinweise aufmerksam durch, Denn sie liefern wichtige Informationen hinsichtlich der Installation, des Gebrauchs und der Sicherheit.
Dieses Gerät wurde für den Hausgebrauch
oder ähnliche Anwendungen konzipiert, zum Beispiel:
- Bauernhäuser
-utzung durch Kunden in Hotels, Motels und anderen Wohnbereichen - Frühstücksensionen
Nehmen Sie das Verpackungsmaterial ab und prufen Sie Ihr Gerät auf eventuelle Transportschäden. Schließen Sie das Gerät im Falle einer Beschädigungitte nicht an, sondern fordern Sie den Kundendienst an.
Allgemeine Sicherheit
- Dieses Haushaltsgerätarf von Kindern ab acht Jahren und von Personen mit eingeschränkten körperlichen, sensorischen oder geistigen Fähigkeiten oder ohne Erfahrung und der notwendigen Kenntnis verwendet werden, vorausgesetzt, sie werden streng von einer verantwortungsbewussten Person überwacht oder sie haben eine ausreichende Einweisung in die sichere Nutzung des Geräts erhalten und die damit verbundenen Gefahren verstanden.
- Kinder dürfen nicht mit dem Gerät speiten.
Die Reinigung und die Wartung des Gerats müssen vom Benutzer ausgeführten werden. Diese Arbeiten dürfen nicht von unbeaufsichtigten Kindern ausgeführten werden. - Dieses Gerät ist für den nicht professionellen Einsatz in privaten Haushalten bestimmt.
Das Gerätarf nur zum Spüssen von Haushaltsgeschirr und gemäß den Anleitungen theses Handbuchsverwendet werden. - Das Gerätarf nicht im Freien aufgestellt werden, auch nicht, wenn es sich um einen geschützten Platz handelt. Es ist äußert gefährlich, das Gerät Regen und Gewittern auszusetzen.
- Berühren Sie den Geschirrspüller nicht, wenn Sie barfuß sind.
- Ziehen Sie den Netzstecker nicht am Netzkabel aus der Steckdose, sondern nur am Netzstecker selbst.
- Vor Reinigung- und Wartungsarbeiten muss am Ende jeder Zyklus der Wasserhahn zugedreht und der Netzstecker aus der Steckdose gezogen werden.
Die hochstzulässige Anzahl an Gedecken ist auf dem Produktdatenblatt angegeben. -
Versuchen Sie bei etwaigen Störungen keinesfalls, Innenteile selbst zu reparieren.
-
Stützen Sie sich und setzen Sie sich nicht auf die offen stehende Geräteür; das Gerät könnte umkippen.
Die Gerätetur sollte nicht offen gelassen werden, daß man darüber stolpern könnte.
Bewahren Sie das Spülmittel und den Klarspüler außerhalb der Reichweite von Kindern auf. - Verpackungsmaterial ist kein Spielzeug für Kinder.
- Messer und anderes Besteck mit scharfen Kanten müssen mit der Spitze/Klinge nach unten in den Besteckkorb gegeben oder horizontal auf die Klappfacher oder auf das Tablett/den dritten Korb gelegt werden, sofern dies bei ihrem Modell vorhanden ist.
Das Gerät wird mit dem neuen Versorgungsschlauch an das Wassernetz angeschlossen und der alte Schlauch damit nicht mehr verwendet werden. - Handelt es sich bei der Spülmaschine um ein frei stehendes Gerät, muss die Rückseite an eine Wand gestellt werden.
Entsorgung
- Befolgen Sie die lokalen Vorschriften; Verpackungsmaterial kann wiederverwertet werden.
Die europäische Richtlinie 2012/19/EG über Elektro- und Elektronik-Altgeräte (WEEE) sieht vor, dass Haushaltsgeräte nicht mit dem normalen Hausmull entsorgt werden)dürfen. Die Altgeräte müssen getrennt gesammelt werden, um die Rückführung und das Recycling der Materialen zu optimieren, aus denen die Geräte hergestellt sind, und um mögliche Belastungen der Gesundheit und der Umwelt zu verhindern. Das Mülleimersymbol ist auf allen Produktendargestellt, um an die Verpflichtung zur getrennten Abfallsammlung zu erinnern. Für weitere Informationen hinsichtlich der ordnungsgemäßen Entsorgung von Haushaltsgeräten wenden Sie sichitte an ihren Handler oder an die zuständigeCOMMUNALE Stelle.
Energie sparen und Umwelt schonen
Wasser und Strom sparen
- Setzen Sie den Geschirrspulernur bei valler Ladung in Betrieb. Um in der Zwischenzeit, d. h. bis das Gerät ganz gefüllt ist, die Bildung unangenehmer Gerüche zu vermeiden, setzen Sie den
Einweichzyklus in Gang (sofern verfügbar - siehe Spülprogramme).
- Wahlen Sie ein für das zu spelülene Geschirr und den Verschmutzungsgrad geeignetes Programm. Ziehen Sie hierzu die Programmtabelle zu Rate:
- Verwenden Sie für normal verschmutztes Geschirr das umweltfreundliche Sparprogramm Eco, das einen niedrigen Wasser- und Stromverbrauch gewährleistet.
- Aktivieren Sie bei geringfugiger Beschchickung die Option Halbe Füllung (sofern verfügbar - siehe Sonderprogramme und Optionen).
- Sieht Ihr Stromliefervertrag Billigstromzeiten vor, empfieht sich, das Gerät in diesen Zeiten in Betrieb zu setzen. Die Option Verzögerter Start kann damit halten, die Spülgänge entsprechend zu organisieren (sofern verfügbar - siehe Sonderprogramme und Optionen).
PL
Zalecenia i srodki ostrożnosci
Bevor Sie den Kundendienst anfordern:
- sollenen einige Kontrollen vorab selbst durchgeführt werden (siehe Störungen und Abhilfe).
- Starten Sie das Programm erneut, um sicherzustellen, dass die Störung behoben wurde.
- Ist dies nicht der Fall, wenden Sie sichitte an den autorisierten Kundendienst.
Beauftragen Sieitte niemalsunbefugtes Personal.
Geben SieitteFolgendesan:
die Art der Störung
das Geratemodell (Mod.)
die Seriennummer (S/N).
These Informationen konnen Sie auf dem am Gerät befindlichen Typenschild ablesen (siehe Beschreibung Ihres Geschirrspulers).
| Datenblatt | |
| Marke | HOTPOINT ARISTON |
| Modell | LFF 8M132 |
| Nennkapazität in Standardgedecken für den Standardreinigungszyklus (1) | 14 |
| Energieeffizienzklasse (A+++ niedriger Verbrauch) bis D (hoher Verbrauch) | A+++ |
| Energieverbrauch pro Jahr in kWh (2) | 237 |
| Energieverbrauch Standardreinigungszyklus in kWh | 0.83 |
| Gewichtete Leistungsaufnahme im Aus-Zustand in W | 0.5 |
| Gewichtete Leistungsaufnahme im unausgeschalteten Zustand in W | 5.0 |
| Wasserverbrauch pro Jahr in Liter (3) | 2520 |
| Trocknungseffizienzklasse (A höchste Effizienz) bis G (geringste Effizienz) | A |
| Programmdauer des Standardreinigungszyklus in Minuten | 190 |
| Dauer des unausgeschalteten Zustands nach Programmende | 10 |
| Luftschallemissionen dB(A) re 1pW | 42 |
| Einbaugerät | Nein |
| HINWEIS | |
| 1) Angabe auf Grundlage von 280 Standardreinigungszyklen bei Kaltwasserbefüllung und dem Verbrauch der Betriebsarten mit geringer Leistungsaufnahme. Der tatsächliche Energieverbrauch hängt von der Art derutzung des Geräts ab. | |
| 2) Die Angaben beziehen sich auf den Standardreinigungszyklus. Dieses Programm eignet sich zur Reingung von normal verschmutzem Geschirr und ist am effizientesten in Bezug auf den kombinierten Energie- und Wasserverbrauch. Der Standardreinigungszyklus entspricht dem Eco Zyklus. | |
| 3) Angabe auf Grundlage von 280 Standardreinigungszyklen. Der tatsächliche Energieverbrauch hängt von der Art derutzung des Geräts ab. | |
PL Kartaproduktu
A Im Falle eines Umzugs sollte das Gerät möglichst in vertikaler Position transportiert werden, falls erforderlich, neigen Sie das Gerät zur Rückseite hin.
Wasseranschluss
Die Anpassung der Elektro- und Wasseranlagen zur Installation des Gerätes darf nur durch Fachpersonal erfolgen.
Der Wasserzulaufschlauch und der Wasserablaufschlauch können sowohl nach rechts als auch nach links ausgerichtet werden, wodurch eine optimale Installation gewährleistet wird.
Die Schläuche dürfen nicht geknicht oder von der Spülmaschine gequetscht werden.
Anschluss des Zulaufschlauchs
- An einen 3/4 "Gasanschluss für kaltes oder warmes Wasser (max.. 60^ ).
Das Wasser laufen lessen, bis es klar ist. - Den Zulaufschlauch fest anschließen und den Wasserhahn öffnen.
Sollte der Zulaufschlauch nicht lang genug sein, dann wenden Sie sichitte an einen Fachhändler oder an einen autorisierten Techniker (siehe Kundendienst).
A Der Wasserleitungsdruck muss innerhalb der in der Tabelle der technischen Daten angegebenen Werte liegen, da sonst der Geschirrspul er mglicherweise nicht richtig Funktioniert.
A Der Schlaucharf nicht eingeklemmt oder abgeknicht werden.
Anschluss des Ablaufschlauchs
Schlieben Sie den Ablaufschlauch an eine Ablaufleitung mit Mindestdurchmesser von 2 cm an. (A)
Der Anschluss des Ablaufschlauchs muss sich in einer Höhe von 40 bis 80~cm vom Boden oder von der Standfläche der Spulmaschine befinden.


Vor dem Anschlieben des Ablaufschlauchs an den Siphon des Spülbeckens den Plastikdeckel (B) abnehmer.
Schutz vor Überschwemmungen
Um Überschwemmungen auszuschreiben, wurde der Geschirrspüler:
- mit einem System versehen, dank dessen der Wasserzulauf bei Anomalien oder internem Wasserverlust unterbrochen wird.
Einige Modelle sind auch mit einem zusätzlichen New Acqua Stop* Sicherheitsystem ausgestattet, das auch bei Schlauchdefekten vor Überschwemmung schützt.

ACHTUNG: GEFAHRLICHE SPANNUNG!
Der Versorgungsschlauch darauf auf keinen Fall abgeschritten werden: er enthalt damit Strom führende Teile.
Elektroanschluss
Vor Einfugen des Netzsteckers in die Steckdose ist Sicherzustellen, dass:
- die Netzsteckdose geerdet ist und den gesetzlichen Bestimmungen entspricht;
- die Netzsteckdose die auf dem Typenschild (behindlich auf der Innentür) angegebene max. Leistungsaufnahme des Gerätes tragt (siehe Beschreibung Ihr's Geschirrspulers);
- die Versorgungsspannung den auf dem Typenschild (auf der Innentür) vermerkten Werten entspricht;
- die Steckdose mit dem Netzstecker kompatibel ist. Andernfalls muss der Netzstecker von einem autorisierten Techniker ausgetaucht werden (siehe Kundendienst), verwenden Sieittekeine Verlangerungen oder Vielfachstecker.
A Der Netzstecker, das Netzkabel und die Steckdose sollen bei installmentem Gerät leicht zugänglich sein.
A Das Netzkabelarf nichtgebogen oder eingeklemmt werden.
Sollte das Speisekabel beschädigt sein, muss es vom Hersteller oder seiner technischen Kundendienstelle ausgetauscht werden, um Unfallrisiken vorzubeugen. (Siehe Kundendienst)
A Der Hersteller übernimmt keinerlei Haftung, sollen these Vorschriften nicht genau beachtet werden.
Positionierung und Nivellierung
- Stellen Sie den Geschirrspul auf einem ebenen und festen Boden auf. Gleichen Sie eventuelle Unregelmäßigkeiten durch Anziehen oder Losschrauben der vorderen Stellfübe aus, bis das Gerät etwa ausgerichtet ist. Mit einer prazisen Nivellierung verleht Stabilität und vermeidet Vibrationen und Betriebsgeräusahe.
- Bringen Sie vor dem Einbau des Geschirrspulers den transparenten Klebestreifen* unter der Arbeitsplatte an, um sie vor eventuelles Kondenswasser zu schutzen.
-
Stellen Sie das Gerät so auf, dass es mit den Seitenteilen oder mit der Rückwand an den anliegenden Möbeln oder an der Wand anlehnt. Das Gerät kann auch unter einer durchlaufenden Arbeitsplatte eingebaut werden* (siehe Montageanleitung).
-
Regulieren Sie den hinteren Stellfuß durch Einwirken mittels eines 8 mm-Sechskantschlüssels auf die rote Sechskantbuchse (befindlich unter der Frontseitenmitte des Geschirrspulers). Durch Drehen nach rechts wird die Höhe erhöht, durch Drehen nach links wird sie herabgesetzt. (Siehe der Dokumentation beiliegendes Anleitungslatt)
Hinweise zur ersten Inbetriebnahme
Nach Abschluss der Installation die Puffer an den Körben und die Rückhaltegummis vom oberen Korb (wenn vorhanden) entfernen.
Einstellungen Wasserenthärter
Vor dem ersten Start muss die Wasserhärte des Wassers aus dem Netz eingestellt werden. (siehe Kapitel Klarspüler und Regeneriersalz)
Wenn der Wasserenthärtebehälter das erste Mal befüllt wird, muss zunachst Wasser eingefült werden. Dann erst etwa 1 kg Salz hinzufugen. Es ist normal, dass bei diesen Vorgang Wasser aus dem Behälter austritt.
Den ersten Spülgang(sofort danach starten.
Verwenden Sieitte nur Spezialssalz fur Geschirrspuler.
Nach dem Einfelden des Salzes erlischt die SALZNACK FULLANZEIGE*.
Das Nichtfullen des Salzbehalters kann eine Beschädigung des Wasserenthärters und des Heizwiderstandes bewirken.
Das Gerät ist mit akustischen Signalen/Tönen ausgestattet (je nach Geschirrspulermodell), die den eingegebenen Befehn anzeigen: Start, Zyklusende, etc..
Die Leuchtsymbol/Kontrollanzeigen/LED-Anzeigen auf dem Bedienfeld/Display, können unterschiedliche Farben aufweisen, blinken oder Dauerlicht anzeigen. (je nach Geschirrspulermodell).
Das Display* zeigt nützliche Informationen zum eingestilten Zyklus, Spül-/Trockenphase, Restzeit, Temperatur, etc. an.
| Technische Daten | |
| Abmessungen | Breite 60 cm Höhe 85 cm Tiefe 60 cm |
| Fassungsvermögen 14 Maßgedecke | |
| Wasserversorgungsdruck | 0,05+1MPa (0,5 +10 bar) 7,25 psi - 145 psi |
| Versorgungsspannung Siehe Typenschild | |
| Maximale Leistungsaufnahme | Siehe Typenschild |
| Schmelzsicherung Siehe Typenschild | |
| CE | Dieses Gerät entspricht folgenden EG-Richtlinien: - 2006/95/EWG (Niederspannung); - 2004/108/EWG (elektromagnetische Verträglichkeit) -2009/125/EG (Comm. Reg. 1016/2010) (Ecodesign) -97/17/EC (Etikettierung) -2012/19/EC |
- Nur bei einigen Modellen.
Beschreibung Ihres
Geschirrspulers
DE

Geräteansicht
- Geschirrspüler-Oberkorb
- Oberer SpruHarm
- Hochklappbare Ablagen
- Einstellung der Korbhöhe
- Geschirrspuler-Unterkorb
- Unterer Spruharm
- Spulsiebe
- Salzbehalter
- Spülmittelkammern und Klarspülerbehälter
- Typenschild
- Schalterblende***
- Turbo Dry*

Schalterblende
Display

***Nur bei den komplett integrierten Modelen.
*Nur an einigen Modellen
Die Anzahl und die Art der Spulprogramme und -optionen ist abhängig vom jeweiligen Geschirrspulermodell.
A Verwenden Sieitte nur Spezialprodukte fur Geschirrspuler. Verwenden Sieitte kein Kochsalz oder Industriesalz.
Bitbefolgen Siiedie auf der Verpackung befindlichen Anweisungen.
Sollten Sie ein Multifunktionsprodukt verwenden, empfehlen wir Dennoch den Zusatz von Regenerisalz, besonders bei hartem oder sehr hartem Wasser. (Bitte befolgen Sie die auf der Verpackung befindlichen Anweisungen).
Da weder Salz noch Klarspuler eingefüll wird, ist es ganz normal, dass die Kontrolleuchten der SALZNACHFULANZEIGE* und der KLARSPULERNACHFULANZEIGE* fartherhin leuchten.
Einfüllen des Regeneriersalzes
Mit der Verwendung von Salz werden KALKABLAGERUNGEN auf dem Geschirr und den fonctionalen Komponenten des Geschirrspluers verhindert.
Wichtig ist, dass der Salzbehälter nie leer bleibt.
- Wichtig ist, die Einstellung der Wasserhärte vorzunehmen. Der Salzbehälter befindet sich im Geschirrspulerboden (siehe Beschreibung) und muss aufgefüllt werden:
- wenn auf der Bedienblende die Kontrolleuche der SALZNA CHFULLANZEIGE aufleuchtet;
- wenn der grüne Schwimmer auf dem Salzstöpsel nicht mehr sightbar ist.
- siehe Autonomie in der Tabelle der Wasserhärte.
1. Ziehen Sie den Unterkorb hereby und schrauben Sie den Salzbehälterdeckel gegen den Uhrzeigersinn ab.

-
Nur bei erstmaliger Inbetriebnahme: Füllen Sie den Behälter bis zum Rand mit Wasser. 3. Setzen Sie den Trichter (aufhe Abbildung) und fülren Sie den Behälter bis zum Rand mit Salz (ca. 1 kg), es ist normal, wenn etwas Wasser ausläuft.
-
Den Trichter abnehmen und die Salzreste vom Öffnungsrand entfern; den Deckel unter flieBendem Wasser abspläen, bevör er wieder aufgeschraubt wird.
Es wird empfohlen, diesen Vorgang bei jedem Nachfüllen von Salz zu wiederholen.
Schrauben Sie den Deckel fest auf, damit während des Spülgangs keine Spüllauge eintreten kann. (These konnte den Enthärter dauerhaft beschädigen).
A Wenn Salz nachgewählten werden muss, sollte dies vor dem Start des Spülgangs erfolgen.
Einstellen der Wasserhärte
Für eine perfekte Funktion des Wasserenthärters muss die tatsächliche Wasserhärte eingestellt werden. Diese Wert konnen Sie bei Ihrm Wasserwerk erfragen. Der voreingestelle Wert entspricht einer mittleren Wasserhärte.
Die Geschirrspulmaschine mit der Taste ON/OFF einschalten
- Mit der Taste ON/OFF ausschalten
- Hierzu die START/RESET-Taste für 5 Sekunden gedrückt>11 halten, bis ein Signatlon zu horen ist.
- Mit der Taste ON/OFF einschalten
- Das Einstellungenmenu wird geöffnet und die Anzeigeleuchte Regeneriersalz leuchtet auf.
- Wahlen Sie mit der Taste ECO die gewünschte Stufe aus (siehe Tabelle der Wasserhärte).
- Mit der Taste ON/OFF ausschalten
Die Einstellung ist abgeschlüssen!
* Nur bei einigen Modellen.
| Tabelle zur Wasserhärte | Mittlere Autonomie Salzbehälter bei 1 Spülzyklus pro Tag | |||
| Stufe °dH °fH mmol/l Monate | ||||
| 1 | 0 - 6 | 0 - 10 | 0 - 1 | 7 Monate |
| 2 | 6 - 11 | 11 - 20 | 1,1 - 2 | 5 Monate |
| 3 | 12 - 17 | 21 - 30 | 2,1 - 3 | 3 Monate |
| 4 | 17 - 34 | 31 - 60 | 3,1 - 6 | 2 Monate |
| 5* | 34 - 50 | 61 - 90 | 6,1 - 9 | 2-3 Wochen |
| Von 0°f bis 10°f wird empfohlen, kein Salz zu verwenden. * Mit der Einstellung 5 kann sich die Haltbarkeit verlangern. | ||||
(^ dH) = Grad deutsche Härte - ^ fH = Grad Französische Härte - mmol/l = Millimol/Liter)
Einfüllen des Klarspulers
Der Klarspuler fordert das Trocknen des Geschirrs. Der Klarspulerbehalter muss aufgefuellt werden:
- wenn auf der Bedienblende/Display die Kontrolleuche/ Symbol der KLARSPULERNACHFULLANZEIGE*aufleucht et
- wenn die optische Anzeige* auf der Behälterklappe "D" von vorher dunkel transparent wird.


-
Den Behalter "D" durch Drucken und Anheben der Zunge am Deckel offen;
-
Den Klarspuler vorsichtig bis zur maximalen Füllstandsmarkierung an der Fülloffnung einfūllen und ein Überlaufen vermeiden. Andernfalls sofort mit einem trockenen Tuch abwischen. 3. Den Deckel schließen bis er einrastet.
Füllen Sie den Klarsprüler NIEMALS direkt ins Innere des Geschirrspulers.
Klarspulerdosierung
Solle das Trockenergebnis unzufrieden stellend sein, kann die Klarspulerdosierung neu eingestellt werden.


Die Geschirrspulmaschine mit der Taste ON/OFF einschalten
- Mit der Taste ON/OFF ausschalten
Die Taste START/PAUSE 3 Mal drücken bis ein Signalton zu horen ist.
- Mit der Taste ON/OFF einschalten
- Das Einstellungensmenü wird geöffnet und die Anzeigeleuchte Klarspuler leuchtet auf.
Die Dosierungsstufe des Klarspulers kann über die Programmtaste ECO ausgewählt werden.
- Mit der Taste ON/OFF ausschalten
Die Einstellung ist abgeschlossen!
Die Klarspulerstufe kann auf NULL eingestellt werden. In dieser Fall wird kein Klarspuler ausgegeben und die Kontrollleuchte zur Anzeige des fehlenden Klarspulers leuchtet nicht mehr auf. Je nach Gerätemodell konnen bis max. 4 Stufen eingestellt werden. Der voreingestelle Wert entspricht einer mittleren Stufe.
- wenn das Geschirr bläuliche Streifen aufweist, eine niedrigere Nummer einstehen (1-2).
- befinden sich Wassertropfen oder Kalkflecken darauf, eine höhere Nummer einstehen (3-4).
Beladen der Körbe
DE
Hinweise
Bevor Sie das Geschirr in den Geschirrspul erinaumen, befreien Sie es von Speiserrückständen und entleeren Sie Glaser und Behalter von Flüssigkeitsresten. Es ist nicht notwendig, das Geschirr unter fliebendem Wasser vorzuspulen.
Stellen Sie das Geschirr so ein, dass es fest stehen und nicht umfallen kann. Behalter mussen mit der Öffnung nach unten eingestellt werden und hohle oder gewölble Teile mussen schrag stehen, damit das Wasser alle Oberflächen erreicht und dann abfließen kann.
Achten Sie darauf, dass Deckel, Griffe, Töppe und Tabletts die Drehung der Sprüharme nicht behindern. Stellen Sie keine Gegenstände in den Besteckkorb.
Plastikgeschirr und Pfannen und Töppe aus Antihaftmaterial halten Wasser tropfen stärker darüber. Sie sind nach Ablauf des Programms also weniger trocken als Keramik- oder Stahlgeschirr-Leichte Gegenstände (wie Plastikbehälter) sollenn möglichst im Oberkorb untergebracht und so eingesetzt werden, dass sie sich nicht bewogen können.
Stellen Sie nach Einräumen des Geschirrs sicher, dass sich die Spruharme frei bewegen können.
Geschirrspüler-Unterkorb
Der Unterkorb kann mit Töpfen, Deckeln, Tellern, Schüsseln, Besteck etc. befüllt werden. Räumen Sie große Teller und Deckel vorzugsweise am Rand des Korbs ein.


Besonderss verschmutztes Geschirr sollte vorzugswise Unterkorb untergebracht werden, da hier die Wasserstrahlen energischer sind und somit bessere Spülergebnisse erzielt werden.
Einige Geschirrspulermodelle verfügen über klappbare Bereiche*, die in senkrechter Stellung zum Einsortieren von Tellern oder in waagerechter Stellung (umgeklapt) für Töfe und Schüsseln verwendet werden können.

Besteckkorb
Der nicht teilbare Besteckkorbarf nur im vorderen Teil des unteren Korbes eingesetzt werden. Er ist oben mit Gittern versehen, um das Besteck auf Abstand zu halten.

A Messer und andere Kuchenutensilien mit scharfen Spitzen sind mit nach unten gerichteten Spitzen in den Besteckkorbeinzuordnen oder waagerecht auf die Ablagen des oberen Geschirrkorbs zu legen.
Geschirrspuler-Oberkorb
Hier sortieren Sie empfindliches und leichtes Geschirr ein: Glaser, Tasten, keine Teller, flache Schusseln.

im Einige Geschirrspulermodelle verfügen über klappbare Bereiche*, die in senkrechter Stellung für Untertassen oder Dessertteller oder in vertikaler Stellung für Schüssl und sonstige Behältnisse verwendet werden können.
Verstellbare Ablagen
Die seitlichen Ablagen können auf drei verschiedene Hohen positioniert werden, um beim Einräumen des Geschirrs den Platz im Korb optimal auszunutzen.

Stielgläser konnen an den Ablagen stabilisiert werden, indem sie mit dem Stiel in die vorgesehene Aussparung gestellt werden
Die Ablagen trocknen better, wenn sie stärker geeigt werden. Der Neigewinkel lasst sich verstellen, indem die Ablagen nach ober gezogen und in die gewünschte Position gebracht wird.
Bestecktablett*
Einige Geschirrspulermodelle sind mit einer ausziehbaren Besteckschublade ausgestellt, die für das Besteck, auch für keine Tassen verwendet werden kann. Für bessere Spülergebnisse sollenn unterhalb der Besteckschublade keine große Geschirrteile positioniert werden.
Die Besteckschublade kann gaz herausgenommen werden. (siehe Abbildung)


Der Oberkorb kann in der Höhe verstellt werden: stellen Sieihn in die oberste Position, wenn Sie große Geschirr in den Unterkorb einräumen wollen. Wenn Sie mehr die klapparen Bereiche nutzen wollen, dann stellen Sieihn in dieunte Position.
Höheneinstellung des Oberkorbes
Um das Einordnen des Geschirrs zu vereinfachen, kann der Oberkorb je nach Bedarf in Hoch- oder Niedrigstellung eingeschoben werden.
Es empfehlts sich, die Höhe des Oberkorbes bei LEEREM KORB zu regulieren.
Heben oder senken Sie den Korb NIEMALS nur an einer Seite.

aber
Ist der Korb mit Lift-Up (siehe Abbildung) ausgestellt, fassen Sieihn an den Seiten und ziehen Sieihn nach oben. Um den Korb zurück in die untere Stellung zu bringen, drücken Sie die Hebel (A) an den Seiten des Korbs und schiben Sieihn nach unten.
Ungeeignetes Geschirr
Besteck und Geschirr aus Holz.
- Empfindliche Dekorglaser, handgemachtete Teller und antikes Geschirr. Die Dekore sind nicht spulmaschinenfest.
- Nicht temperaturbestandige Kunststoffeile.
Geschirr aus Kupfer und Zinn.
Mit Asche, Wachs, Schmierol oder Tinte verschmutztes Geschirr.
Glasdekore, Aluminium- und Silberteile konnen während des Spulgangs die Farbe verändern und ausbleichen. Auch eine Glasarten (z.B. Kristallgegenstände) konnen nach mehreren Spulgängen matt werden.
Schaden an Glas und Geschirr
Ursachen:
- Glasart und Herstellungsprozess des Glases.
Chemische Zusammensetzung des Spulmittels. - Wassertemperatur des Klarspulprogramms.
Empfehlung
- Spülen Sie nur Gläser und Geschirr in Ihr Geschirrrspüller, die vom Hersteller als spülmaschinenfest ausgezeichnet sind.
- Verwenden Sie ein Feinwaschmittel für Geschirr.
- Nehmen Sie Gläser und Besteck so bald wie möglich nach Ablauf des Programm aus der Spülmaschine.
Spülmittel und Verwendung des Geschirrspulers
DE
Starten des Geschirrspulers
- Offnen Sie den Wasserhahn.
- Drucken Sie die ON/OFF-Taste : die ON/OFF-Kontrollleuchte und das Display leuchten auf.
- Offnen Sie die Geschirrspulertur und dosieren Sie Spulmittel (siehe unter).
- Befüllen Sie die Geschirrspulerkörbsiehe Beschickungsbeispiele)und schlieben Sie die Gerätetur.
- Wahlen Sie das Spulprogramm je nach Geschirrt Verschmutzungsgrad aus (siehe Spulprogrammtabelle). Drücken Sie hierzu die Programmwahltasten.
- Wahlen Sie die Spuloptionen (siehe nebenstehende Spalte).
- Das Programm mit der Taste Start/Pause starten: Kontrolleuche Spulen leuchtet auf und auf dem Display wird die Restzeit bis zum Zyklusende angezeigt.
- Nach Beendigung des Programms zeigt das Display die Meldung END. Schalten Sie das Gerät mittels der ON/OFF-Taste aus, schreiben Sie den Wasserhahn undziehen Sie den Netzstecker aus der Steckdose.
- Warten Sie einige Minuten, bevor Sie das Geschirr Herausnahmen. Sie konnten sich daran verbrennen. Räumen Sie die Geschirrspulerkörbe aus, beginnen Sie damit mit dem Unterkorb.
- Zur Senkung des Stromverbrauchs bei Stillstand des Gerats schaltet sich das Gerät unter gewissen Bedingungen automatisch aus.
AUTOMAITK-PROGRAMME*: eine Spulmaschinenmodelle sind mit einem Spezialfuhler ausgestattet, der in der Lage ist, den Verschmutzungsgrad zu erfassen und dementsprechend das effektivste und wirtschaftliche Spulprogramm einzustellen. Die Dauer der Automatik-Programme kann wegen des Ansprechens des Sensors variieren.
Änderung eines laufenden Programms
Wenn Sie ein falsches Programm gewählt haben, kann diese geändert werden, wenn es erst kurze Zeit gelauften ist: schalten Sie das Gerät durch längeres Drücken der EIN/AUS/Reset-Taste aus. Schalten Sie es darauf über dieselbe Taste wieder ein, und wahlen Sie erneut ein Programm und die gewünschten Spūloptionen an.
Hinzufugen von weiterem Geschirr
Drucken Sie die Start/Pause-Taste, öffnen Sie die Geräteür (Vorsicht, es kann heßer Dampf austreten!) und räumen Sie das zusätzliche Geschirr ein. Drucken Sie die Start/Pause-Taste: der Zyklus wird nach einem längeren Tonsignal wieder aufgenommen.
Wurde eine Startzeitvorwah getroffen, startet der Zyklus nach Ablauf der eingestellen Zeit nicht, sondern bleibt in Pause.
Durch das Drucken der Start/Pause-Taste, womit das Gerat angehalten wird, wird das Programm unterbrochen. In dieser Phase kann das Spulprogramm nicht geändert werden.
Unbeabsichtiges Unterbrechen des Spulprogramms
Wird während des Spulgangs die Gerätür geöffnet, oder sollte ein Stromausfallstattfinden, wird der Spulgang unterbrochen. Wird die Gerätetur wieder geschlossen, oder kehrt der Strom zurück, lauft das Programm an der Stelle weiter, an der es unterbrochen wurde.
- Nur bei einigen Modellen.
Einfüllen des Spülmittels
Ein gutes Spulergebnis hangt auch von einer korrekten Spulmitteldosierung ab. Eine zu hohe Dosierung ist nicht gleichzusetzen mit einem besseren Spulergebnis, man belastet dadurch nur die Umwelt.
Die Dosierung kann dem jeweiligen Verschmutzungsgrad angepasst werden.
Bei einer normalen Verschmutzung ca. 35 g (in Pulverform) und bzw. 35 ml (flüssig) verwenden. Werden Spülmitteltabs verwendet, reicht ein Tab aus.
Für nur nicht verschmutztes Geschirr, oder für Geschirr, das die vorher unter laufendem Wasser abgeschült wurde, kann die Spülmittelmenge erheblich reduziert werden.
Beachten Sie für ein optimales Spulergebnis auch die Hinweise auf dem Spülmittel.
Für weitere Informationen wenden Sie sichitte an den Spülmittelhersteller.
Zum Öffnen des Spülmittelbehälters den Öffnungsmechanismus „A“ drücken.

Füllen Sie das Spülmittel ausschließlich in das trockene Fach "B" ein. Die für den Vorspühlgang benöttige Spülmittelmenge wird direkt in den Geschirrspüler gegeben.
1.Hinsichtlich der Dosierung verweisen wir auf die Programmtabelle, in der die richtige Menge angegeben ist. Der Behalter B hat eine Fullstandsanzeige, die die maximale Menge des flüssigen oder pulverfornigen Spulmittels für jeder Spulgang anziegt.
2. Entfernen Sie eventuelle Spulmittelrückstände von den Kanten der Kammern und schlieben Sie den Deckel so, dass er einrastet.
3. Schieber Den Deckel der Spulmittelkammer zum Schlieben nach oben, bis er einrastet.
Die Spülmittelkammer öffnet sich automatisch zum wichtigen Zeitpunkt des jeweils gewählten Programms.
Werden Kombispulmittel verwendet, dann empfehlen wir, die Option TABS zu verwenden. Damit werden die Programme dem verwendeten Spulmittel angepasst, um das bestmögliche Spülergebnis zu erhalten.
A Verwenden Sieitte ausschlieBich Spulmittel fur Geschirrspuler.
VERWENDEN SIE BITTE KEIN HANDSPÜLMITTEL.
Bei übermäßiger Spülmittelverwendung können Schaumreste am Ende des Spülgangs zurückbleiben.
Die besten Spül- und Trockenergebnisse erhalten Sie nur durch den kombinierten Einsatz von Spülmittel, flüssigem Klarspüler und Regeneriersalz.

Es wird dringend empfohlen, phosphat- und chlorfreie Spülmitteln zu verwenden, die die Umwelt nicht zu sehr belasten.
Die Programmdaten sind Labormessdaten, die gemäß der europäischen Vorschrift EN 50242 erfasst wurden.
Je nach den entsprechenden Einsatzbedingungen konnen die Dauer und die Daten der Programme anders ausfallen.

Die Anzahl und die Art der Spulprogramme und -optionen sind abhängig vom jeweiligen Geschirrspulmermodell.
| Programm Trocknen | Optionen Pro | Programmdauer | Wasserverbrauch (I/Zyklus) | Energieverbrauch (KWh/Zyklus) | |
| Eco Ja | Startverzögerung - Tabs - Extra Dry | 03:10' 9.0 0.83 | |||
| Auto Intensiv Ja | AUTO | Startverzögerung - Tabs - Extra Dry - Zone Wash - Short Time | 02:00' - 03:10' 14 | 0 - 15,5 1,50 - 1,80 | |
| Auto Täglicher Abwasch | AUTO | Ja | Startverzögerung - Tabs - Extra Dry - Zone Wash - Short Time | 01:30' - 02:30' 14 | 5 - 16,0 1,20 - 1,35 |
| Auto Fast/Schnell | AUTO | Nein | Startverzögerung - Tabs | 00:40' - 01:20' | 13,0 - 14,.5 |
| Duo Wash | Ja | Startverzögerung - Tabs - Extra Dry -Short Time | 02:00' | 18,0 | |
| Fein | OXY | Ja | Startverzögerung - Tabs - Extra Dry | 01:40' | 11,0 |
| Express 30' | OXY | Nein | Startverzögerung - Tabs | 00:30' | 9,0 |
| Einweichen | OXY | Nein | Startverzögerung | 00:12' 4,5 0,01 |
Angaben zur Programmwahl und Dosierung des Spulmittels
- Spulzyklus ECO ist das Standardprogramm, auf das sich die Daten des Energie-Labels beziehen; dieser Zyklus eignet sich zum Spullen von normal verschmutzem Geschirr und ist das effiziente Programm im Hinblick auf Energie- und Wasserverbrauch für diese Art von Geschirr. 29 g/ml + 6 g/ml* - 1 Tab (Spulmittelmenge für den Vorsprünggang)
- Stark verschmutztes Geschirr und Töppe (nicht geeignet für empfindliches Geschirr). 35 g/ml - 1 Tab
- NormalverschmutztesGeschirrundtopfe. 29g / ml + 6g / ml^** -1Tab
- Tägl. Abwasch gingfugiger Mengen (Ideal für 4 Gedecke) 25 g/ml - 1 Tab
- Differenzierter Spulgang fur die zwei/drei* Korbe (* nur bei einigen Modellen vorhanden): normal fur Besteck und Glaser im oberen und im dritten* Korb, energisch fur Toppfe im unteren Korb. 35~g / ml -1 Tab
- Schonspulgang fur empfindliches Geschirr, das keinen hohen Temperaturen ausgesetzt werden darf. 35g / ml - 1 Tab
- Schneller Spulgang fur nur weniger verschmutztes Geschirr. (Ideal fur 2 Gedecke) 25g / ml - 1 Tab
- Abspulen des Geschirrs, das erst später, zusammen mit weiterem Geschirr, gespult werden soll. Kein Spulmittel
Standby-Verbrauch: Verbrauch im Left-On-Modus: 5 W - Verbrauch im Off-Modus: 0,5 W
Sonderprogramme und Optionen
DE
Hinweis:
Die optimale Leistung der Programme "Schnell und Express 30^ ist dann gewährleistet, wenn die Anzahl der angegebenen Maßgedecke eingehalten wird.
Das Für einen geringeren Verbrauch sollen die Maschine voll beladen werden.
Hinweis für die Prüflabors: Informationen hinsichtlich der Bedingungen des EN-Vergleichstests sind unter nachfolgender Adresse anzufordern: ASSISTENZA_EN_LVS@indersitcompany. com
Spuloptionen*
Die OPTIONEN können nur dann eingestellt, geändert oder gelöscht werden, wenn das Spülprogramm ausgewählt, und bevör die Taste Start/Pause gedrückt wird.
Es konnen lediglich die Optionen zugeschaltet werden, die auch mit dem gewählten Programmtyp kompatibel sind. Ist eine Option mit dem eingestellen Programm nicht kompatibel, (siehe Spulprogrammtabelle), blinking die entsprechende LED 3 Mal kurz auf.
Wird eine Option gewählt, die mit einer bereits zugeschalteten Option nicht kompatibel ist, blinkt diese 3 Mal auf erlischt wieder. Nur die zuletzt gewählte Einstellung bleibt eingeschaltet. Mocht den Sie eine irrtumlich eingestellte Option wieder loschen, drucken Sie die entsprechende Taste erneut.

Option Startzeitvorwahl
Der Start des Spulprogramms kann um 1 bis 24 Stunden verschoben werden:
- Auswahl des gewünschten Spulprogramms und andere eventuelle Optionen; drucken Sie die Pfeile der STARTZEITVORWAHL, um die gewünschte Startzeit des Spulgangs einzustellen. (1h, 2h, etc.)
- Bestätigen Sie die Auswahl mit der Taste START/PAUSE: die Zeit wird jetzt herunter gezahlt und das Display zeigt die Meldung
Programstart in ...
- Ist die Zeit abgelaufen, erlischt das Symbol STARTZEITVORWAHL und das Spulprogramm startet. Um die STARTZEITVORWAHL zu deaktivieren, drucken Sie die Taste STARTZEITVORWAHL bis zur Anzeige OFF.
Bei bereits in Gang gesetztem Programm ist eine Startzeitvorwahr nicht mehr möglich.

Option Kurzzeit
These Option ermoiglich eine Verkürzung aller Hauptprogramme unter Beibehaltung derselben Spul- und Trocknungsergebnisse.
Nach Auswahl des Programms drucken Sie die Taste Short Time. Zur Deaktivierung der Option drucken Sie dieselbe Taste erneut.

Extratrocken
Zur Optimierung des Trockengrades des Geschirrs drucken Sie die Taste EXTRA TROCKEN; die Taste leuchtet auf. Durch erneuten Druck auf die Taste wird die Option deaktiviert. Eine höhere Temperatur während des letzten Spülgangs und ein längerer Trockengang verbessern die Trocknung des Geschirrs.

Die Option EXTRATROCKEN verlangert die grammdauer.

Multifunktions-Tabs (Tabs)
These Option optimiert das Spül- undungsergebniss.
Sollten Sie Multifunktions-Tabs verwenden, drucken Sie die Taste MULTIFUNKTIONS-TABS, die Kontrolleuche schaltet sich ein; ein erneuter Druck der Taste deaktiviert die Funktion.

Die Option "Multifunktions-Tabs" bewirkt eine Änderung des Spulprogramms.

Die Verwendung von Tabs wird nur empfohlen, wenn eine Option vorhanden ist. Auch raten wir von der Rechnung von Tabs bei Programmen, die diese nicht führten, ab.

Zone Wash
10 Mit dieser Option kann der Spulzyklus auf den ausgewählten Korb beschrankt werden. Wahlen Sie erst das Programm und drücken Sie dann die Taste ZONE WASH: der ausgewählte Korb leuchtet auf und der Spulzyklus wird nur für diesen Korb ausgeführnt; mit einem weiteren Druck der Taste wird die Option deaktiviert.
Die Option ist für folgende Programme nicht verfügbar: Intensiv und Normal.
Durch Auswahl der Option und Intensivprogramm wird der Spulzyklus ULTRAINTENSIVE ZONE aktiviert. Dieses Programm ist ideal für stark verschutztes, gemischtes Geschirr, beispiselsweise Töfe und Pfaffen, verkrustete Teller oder defiwer zu spülendes Geschirr (Reibe, Gemüsepassiensieb, stark verschutztes Besteck). Der Drück der Sprüharme wird verstärkt und die Spültemperatur erhöht. Damit kann ein optimales Spülergebnis bei starker Verschmutzung erzielt werden.
Durch Auswahl der Option und Normalprogramm wird der Spülzyklus SAVING ZONE aktiviert. Mit dieser Funktion wird der Energieverbrauch reduziert. Der Zyklus kann möglicherweise eine andere Dauer aufweisen.
Beachten Sie, dass Sie nur den ausgewählten Korb befüllen.
Abstellender Wasser- und Stromversorgung
- Drehen Sie den Wasserhahn nach jedem Spülgang zu, um Schäden durch eventuelles Austreten von Wasser auszuschreiben.
- Ziehen Sie den Netzstecker aus der Steckdose, bevor Sie ihren Geschirrspul erinigen oder Wartungsmaßnahmen getroffen werden.
Reinigung des Geschirrspulers
Die Gehauseteile und die Bedienblende konnen mit einem mit Wasser angefeuchteten, weichen Tuch gereinigt werden. Vermeiden Sie Lose- und Scheuermittel.
- Zur Beseitigung von evtl. Flecken im Innenraum des Gerätes verwenden Sie ein feuchtes Tuch, auf das Sie etwas weiß Essigträufen.
Vermeidung von Geruchsbildung
- Lassen Sie die Geräteurstets nur angeleht; auf diese Weise kann sich keine Feuchtigkeit ansammeln.
Die Dichtungen der Tur und der Reinigerkammern sollen regelmäßig mit einem feuchten Tuch gereinigt werden. Sie vermeiden so die Ansammlung von Speiseresten, der hauptsächlichen Ursache von Geruchsbildung im Geschirrspüler.
Reinigung der Sprüharme
Es kann vorkommen, dass Speisereste an den Spruharmen hangen bleiben und die Wasserdusen verstopfen. Prufen Sie die Spruharmedaher regelmäßig und reinigen Sie sie bei Bedarf mit einer Kunststoffbürste.
Beide Spruharme konnen abgenommen werden.

Zur Abnahme des oberen Spruharms drehen Sie den Kunststoffring gegen den Uhrzeigersinn ab. Der obere Spruharm ist mit jener Seite nach oben wieder einzusetzen, die die meisten Locher aufweist.

Um den unteren Spru-harm abzunehmen, drucken Sie die beiden seitlichen Zungen nach unten und ziehen dann den Arm nach oben hin ab.
Reinigen des Wasserzufuhr-Filtersiebes*
Falls es sich um neue, oder für einen längeren Zeitraum nicht benutzte Wasserschläuche handeln sollen, ist Sicherzustellen, dass das Wasser auch klar und frei von Verunreinigungen ist. Lassen Sie eshierzu einige Zeit langflieben. Andernfalls besteht das Risiko, dass die Anschlussstelle verstoptf wird und Ihr Geschirrspul deradurch Schaden nimmt.
A Reinigen Sie regelmäßig den Wasserzulauffilter am Zufuhrhahn.
- Schlieben Sie den Wasserhahn.
- Schrauben Sie den Wasserschlauch ab,nehmen Sie den Filter Heraus und reinigen Sieihn vorsichtigunter flieBendem Wasser.
- Setzen Sie den Filter wieder ein und verschrauben Sie den Schlauch.
Die Filter reinigen
Die Siebgruppe setzen sich aus drei Filtern zusammen, die Spülwasser reinigen, von Speiseresten befreien und wieder in Umlauf bringen. Um optimale Spülergebnisse zu gewährleisten, müssen diese gereinigt werden.
Reinigen Sie die Filtersiebe regelmäßig.
A Der Geschirrspulier darf nie ohne Filtersiebe oder mit ausgehängten Filtern in Betrieb genommen werden.
- Kontrollieren Sie nach einigen Spülgängen die Filtersiebgruppe Ggf. ist diese sorgfältig unter laufendem Wasser auszuspelen. Nehmen Sie hierzu ein kleines Bürstchen (das nicht aus Metall seinarf) zu Hilfe. Verfahren Sie wie folgt:
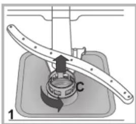
1. Drehen Sie das zylinderförmige Filtersieb C gegen den Uhrzeigersinn Heraus (Abb. 1).
2. Ziehen Sie den Siebbecher B durch leichten Druck auf die seitlichen Flugel hersus (Abb. 2);
3. Nehmen Sie den Stahl-Siebsteller A ab. (Abb. 3).
4. Kontrollieren Sie den Hohliaum und befren Sie diesen von eventuellen Speiseresten. Das Spulpumpenschutzteil (schwarzes Teil) DARF NICT ABGENOMMEN WERDEN (Abb.4).




Setzen Sie die Siebgruppe nach der Reinigung der Filtersiebe wieder korrekt in ihren Sitz ein, dies ist außerst wichtig, um eine ordnungsgemäß Betriebsweise des Geschirrspulers zu gewährleisten.
Was tun, bevor Sie für längere Zeit verreisen
- Trennen Sie sãmtliche Elektroanschlüsse und schlieben Sieden Wasserhahn.
- Lassen Sie die Geräteur leicht aufstehen.
- Lassen Sie nach Ihrer Rückkehr einen Spülgang ohne Geschirr durchlaufen.
* Nur bei einigen Modellen.
Störungen und Abhilfe
DE
Sollten Betriebsstörungen auftreten, kontrollieren Sieitte folgende Punkte,bevor Sie sich an den Kundendienst wenden.
| Störungen: Mögliche Ursachen/Lösung : | |
| Die Spülmaschine startet nicht oder reagiert nicht auf die Bedienungseingaben. | Schalten Sie das Gerät durch Drücken der ON/OFF-Taste aus und nach etwa einer Minute wieder ein und wiederholen Sie die Programmeinstellung.Der Stecker ist nicht richtig in der Steckdose.Die Gerätetur ist nicht ganz geschlossen. |
| Die Gerätetur schließt nicht. | Das Schloss ist bereits eingerastet; drücken Sie die Tür energisch, bis ein "Klicklaut" zu horen ist |
| Der Geschirrrspüler pumpst das Wasser nicht ab. | Das Spülprogramm ist noch nicht ganz abgelaufen.Der Zulaufschauch ist geknicht (siehe Installation).Der Ablauf des Spülbeckens ist verstopf.Im Filtersieb haben sich Speisereste angesammelt. |
| Der Geschirrrspüler ist zu laut. | Das Geschirr schlägt aneinander oder gegen die Sprüharme.Es hat sich zu viel Schaum gebildet: Das Spülmittel wurde nicht richtig dosiert oder ist für Geschirrrspüler ungeeignet. (Siehe Start und Inbetriebnahme). |
| Auf dem Geschirr und auf den Gläsern befinden sich Kalkablagerungen oder ein weißer Belag. | Es fehlt Regeneriersalz bzw. die Dosierung entspricht nicht der Wasserhärte (siehe Klarspüler und Regeneriersalz).Der Deckel des Salzbehalters ist nicht ordnungsgemäß geschlossen.Es fehlt Klarspülmittel oder es wird unzureichend dosiert. |
| Das Geschirr und die Gläser weisen weitere Streifen bzw. bläliche Schattierungen auf. | Der Klarspüler wurde zu hoch dosiert. |
| Das Geschirr ist nicht ganz trocken. | Es wurde ein Spülprogramm, das keinen Trockengang vorsiet, eingestellt.Es fehlt Klarspülmittel oder es wird unzureichend dosiert (siehe Klarspüler und Regeneriersalz).Die Klarspüler-Dosiereinstellung ist nicht angemessen.Das Geschirr besteht aus Antihaftmaterial oder aus Kunststoff. |
| Das Geschirr ist nicht sauber geworden. | Die Körbe wurden zu voll geladen (siehe Beschickung der Körbe).Das Geschirr wurde nicht korrekt eingeräum.Tdie Sprüharme können sich nicht frei bewegen.Das Spülprogramm ist zu schwach (siehe Spülprogramme).Es hat sich zu viel Schaum gebildet: Das Spülmittel wurde nicht richtig dosiert oder ist für Geschirrrspüler ungeeignet. (Siehe Start und Inbetriebnahme).Der Stöpsel des Klarspülerbehalters wurde nicht richtig geschlossen.Das Filtersieb ist schmutzig oder verstopf (siehe Wartung und Pflege).Es fehlt Regeneriorsalz (siehe Klarspüler und Regeneriorsalz).Schalten Sie das Gerät über die ON/OFF-Taste aus. Drehen Sie den Wasserhahn zu, um Überschwemmungen zu vermeiden,ziehen Sie den Netzstecker aus der Steckdose.Prufen Sie den Wasserzulauffilter. (Siehe Kapitel "Reinigung und Pflege"). |
| Der Geschirrrspülerlädt kein Wasser - Alarm Wasserhahn geschlossen.(die Kontrollleuchte ON/OFF blinkt und auf dem Display wird H2O und das Symbol des Wasserhahns gezeigt und nach einem Sekunden F 6). | Es besteht eine Unterbrechung der Wasserzufuhr.Der Zufuhrschlauch ist geknicht (siehe Installation).Öffnen Sie den Wasserhahn; das Gerät setzen sich nach weniger Minuten in Gang.Das Gerät hat auf Sperne geschlossen, weil nach Erklingen der Bip-Töne kein Eingriff erfolgte.Schalten Sie das Gerät über die ON/OFF-Taste aus,öffnen Sie den Wasserhahn und schalten Sie das Gerät nach einem Sekunden über dieselbe Taste wieder ein. Wiederholen Sie die Geräteeinstellung und starten Sie das Spülprogramm erneut. |
| Alarmanzeige Filtersiebe verstoptf Auf dem Display leuchtet das Symbol "Filter" auf. | Abwarten, bis das Spülprogramm beendet ist, die Spülmaschine öffnen und den Filterbecher und den Edelstahlfilter reinigen (siehe Kapitel Reinigung und Pflege).Das Symbol für verstoptfe Filter schaltet sich beim{nachsten Spülgang wieder aus. |
- Nur bei einigen Modellen.
EinfachAnleitung