DHD 1128X - Dunstabzugshaube DE DIETRICH - Kostenlose Bedienungsanleitung
Finden Sie kostenlos die Bedienungsanleitung des Geräts DHD 1128X DE DIETRICH als PDF.
Benutzerfragen zu DHD 1128X DE DIETRICH
0 Frage zu diesem Gerät. Beantworten Sie die, die Sie kennen, oder stellen Sie Ihre eigene.
Eine neue Frage zu diesem Gerät stellen
Laden Sie die Anleitung für Ihr Dunstabzugshaube kostenlos im PDF-Format! Finden Sie Ihr Handbuch DHD 1128X - DE DIETRICH und nehmen Sie Ihr elektronisches Gerät wieder in die Hand. Auf dieser Seite sind alle Dokumente veröffentlicht, die für die Verwendung Ihres Geräts notwendig sind. DHD 1128X von der Marke DE DIETRICH.
BEDIENUNGSANLEITUNG DHD 1128X DE DIETRICH
FR GUIDE D'UTILISATION
EN GUIDE TO INSTALLATION
ES MANUAL DE UTILIZACION
PT GUIA DE UTILIZATION
DE BETRIEBSANLEITUNG
Hotte décorative
Decorative Hood
Campana extractora decorativa
Exaustor decorativo
Dekor-Dunstabzugshaube
De Dietrich


Chere Clliente, cher Client
Lieber Kundin, lieber Kunde,
wenn sie Produkte aus dem Hause De Dietrich entdecken, dann ist das mit einzigartigen Emotionen verbunden, die nur von Wertobjekten hervorgerufen werden können.
Die Verlockung entsteht schon beim ersten Anblick. Das Design zeichnet sich durch eine zeitlose Ästhetik und eine sorgfällige Verarbeitung aus, wodurch jedem Gegenstand Eleganz und Raffinesse verliehen wird und beides in perfektem Einklang zueinander steht.
Sofort kommt das unwiderstehliche Verlangen nach einer Berührung auf. Das Design von De Dietrich zeigt sich in understandsfähigem und hochwertigen Materialien. Hier wird der Authentizität der Vorzug gegeben.
Durch die Symbiose von Spitzentechnologie mit edlen Materialien schafft De Dietrich hochwertige Produkte für die kulinarische Lebensart, eine Leidenschaft, die von allen Kuchenfreunden geteilt wird.
Wir wünschen Ihnen mit ihrem neuen Gerät viel Freude und wurden uns über ihre Anregungen freuen. Gerne beantwerten wir auch ihre Fragen. Sie können uns über den Verbraucherservice oder auch über unsere Internetprüssenz erreichen.
Um die Vorteile der Marke nutzen zu können, registrierten Sie Ihr Produkt auf www.de-dietrich.com.
Wir danken Ihnen für das entgegengebrachte Vertrauen.
De Dietrich
Alle Informationen über die Marke auf www.de-dietrich.com
Besuchen Sie La Galerie De Dietrich, 6 rue de la Pétinière in Paris im VIII. Arrondissement
Geöffnet von Dienstags bis samstags von 10:00 bis 19:00 Uhr
Verbraucher-Service: 0892 02 88 04
1/ FÜR DEN BENUTZER
- Sicherheitshinweise 70
- Umweltschutz 71
Gerätebeschreibung. 72
2 / INSTALLATION DES GERÄTS
- Benutzung mit Abluftbetrieb 73
Benutzung mit Umluftbetrieb 73 - Stromanschluss. 74
Montage der Dunstabzugshaube 75
Montage des Kamins Abluft ins Freie 76 Umluft. 77
3 / BENUTZUNG DES GERÄTS
- Beschreibung der Bedienelemente 78
4/ PFLEGE UND REINIGUNG DES GERÄTS
- Reinigung der Filterkassette 80
Austausch des Kohlefilters 80 - Reinigung der Außenfläche 80
Austausch der Lampe 80 Pflege des Geräts 81
5/FUNKTIONSSTÖRUNGEN 82
6/KUNDENDIENST 82
Da wir unsere Produkte ständig verbessern möchen, behalten wir uns das Recht vor, ihre technischen, Funktionellen und ästhetischen Merkmale zu verändern, damit sie mit der technischen Weiterentwicklung Schritt halten.
Wichtig:
Bitte lessen Sie vor der Inbetriebnahme des Geräts diese Einbau- und Gebrauchsanleitung aufmerksam durch, damit Sie sich sehr rasch mit seinem Betrieb vertraut machen können.

Wichtig
These Betriebsanleitung mit dem Gerät aufbewahren. Sollte das Gerät an eine andere Person verkauf oder weitergegeben werden, sicherstellen, dass das Gerät mit der Betriebsanleitung übergeben wird. Vor der Installation und Benutzung des Geräts sollen folgende Hinweise zur Kenntnis genommen werden, die der Sicherheit des Bedieners und anderer Personen des Haushalts dieren.
SICHERHEITSHINWEISE
— Dieses Gerat ist für die Benutzung durch Privatpersonen in Ihr Hem Haushalt konzipiert.
Personen (einschließlich Kindern), die aufgrund ihrer physischen, sensorischen oder geistigen Fähigkeiten oder ihrer Unerfahrenheit oder Unkenntnis nicht in der Lage sind, diesen Gerät sichere zu bedieren, dürfen dieses Gerät nur unter Aufsicht oder mit Anweisung einer für ihre Sicherheit verantwortlichen Person benutzen. Kinder sollen beaufsichtigt werden, um zu gewährleisten, dass sie das Gerät nicht als Spielzeug verwenden.
— Das Gerät beim Empfang sofort auspakken oder auspacken{lassen. Sein allgemeines Aussehen prüfen.Eventuelle Vorbehalte schriftlich auf dem Lieferschein vermerken und ein Exemplar davon behalten.
— Das Gerät ist für den normalen Haushaltsgebrauch bestimmt. Es nicht für kaufmannische oder industrielle oder andere Zwecke als diejenigen benutzen, für die es konzipiert worden ist.
Die Merkmale theses Gerats nicht verändern oder versuchen, sie zu verändern. Dies wurde eine ernste Gefahr für alle darstellen.
— Reparaturen dürfen nur von einem zugelassenen Fachmann durchgeführt werden.
Die Dunstabzugshaube vor dem Reinigen oder der Pflege immer vom Stromnetz trennen.
— Bei gleichzeitigem Betrieb der Dunstabzugshaube und anderer nicht mit Strom betriebener Geräte den Raum angemessen belüften. Dies, damit die Dunstabzugshaube keine Verbrennungsgase ansaugt.
— Es ist verboten, unter der Dunstabzugshaube Gerichte zu flambieren oder Gaskochstellen einzuschalten, ohne dass ein Kochgeschirr darauf auf steht (die angesaugten Flammen konnten das Gerät beschädigen).
Frittiervorgänge unter der Dunstabzugshaube,müssen ständig überwacht werden. Die auf sehr hohe Temperaturen aufgeheizen Ole und Fette konnen Feuer fangen.
Die Häufigkeit der Reinigung und des Ersatzes der Filter einhalten. Die Ansammlung von Fettablagerungen kann einen Brand auslösen.
Der Betrieb über einer Brennstoff-Feuerstelle (Holz, Kohle, usw.) ist nicht zulässig.
— Niemals Dampf- oder Hochdruckgeräte zur Reinigung des Geräts benutzen (Forderungen bezüglich der elektrischen Sicherheit).
— Bei der Sorge um die ständige Verbesserung unserer Produkte gehalten wir uns das Recht vor, ihre technischen, Funktionellen oder asthetischen Merkmale im Zusammenhang mit der technischen Fortentwicklung zuändern.
— Für das späterile leichte Auffinden der Produktreferenzen des Geräts raten wir Ihnen, sie auf der Seite „Kundendienst und Kundenbeziehungen“ zu notieren.

Achtung
In einer Kuche, die mit einem an einen Kamin angeschlossenen Gerät (z.B. Ofen) beheizt wird, muss die Dunstabzugshaube als Umlufthaube installiert werden. Die Dunstabzugshaubearfndichtohne die Filterkassettenbenutzterwen.
Wenn die Dunstabzugshaube in der Kuche gleichzeitig mit Geräten benutzt wird, die mit Gas oder einem anderen Brennstoff betrieben werden, muss eine angemessene Belüfung des Raums vorgesehen werden.
UMWELTSCHUTZ
- Die Verpackungsmaterialien these Geräts sind recyclebar. Entsorgen Sie sie in den von den Gemeinden eigens zur Verfugung gestellten Containern und tragen Sie auf diese Weise zu ihrem Recycling und zum Umweltschutz bei.
- Ihr Gerät enthalt bereits zahlreiche recyclingfähige Materialien. Es wurde deshalb mit thisem

Zeichen versehen, um Sie darauf hinzuweisen, dass diese Geräte nach ihrem Gebrauch nicht mit dem übrigen Hausmüll entsorgt werden dürfen. Das von ihrer Hersteller in die Wege geleitete Recycling kann somit in Übereinstimmung mit der europäischen Richtlinie 2002/96/EG über Elektro- und Elektronik-Altgeräte unter optimalen Bedingungen erfolgen. Ihr Gemeindebehörden oder Ihr Handler informieren Sie bisher über die zu Ihr Wohnort am nachsten liegenden Sammelstellen.
- Wir danken Ihnen für ihren Beitrag zum Umweltschutz.

Achtung
Der Einbau muss von qualifizierten Installaturen und Technikern vorgenommen werden.

Achtung
Vor der ersten Benutzung der Filterkassette die Schutzfolie abziehen.

Achtung
Die zugänglichen Teile these Gerats konnen hoB werden, wenn es mit Kochgeraten verwendet wird.
- GERATEBESCHREIBUNG


Ansaugöffnungen

Gehäuse

Kamin

Bedienelement
- Das Gerät muss während der Installation oder bei einem eventuellen Eingriff vom Stromnetz getrennt sein.
- Prüfen, dass die Netzspannung dem auf dem Geräteschild in der Dunstabzugshaube angegebenen Spannungswert entspricht.
- Wenn die Stromanlage der Wohnung für den Anschluss des Geräts eine Änderung erfordert, einen qualifizierten Elektriker heranzziehen.
- Wenn die Dunstabzugshaube im Abluftbetrieb betrieben wird, das Gerät nicht an ein Abzugsohr für Verbrennungsauch (Heizkessel, Kamin, usw.) oder an eine kontrollierte mechanische Belüfung anschließen.
- Das Abzugsrohr darf wie auch immer nicht in den Dachboden führen.
- Die Dunstabzugshaube zur Sicherheit in mindestens 70 cm Entfernung von einer elektrischen, Gas- oder gemischten Kochstelle installieren.
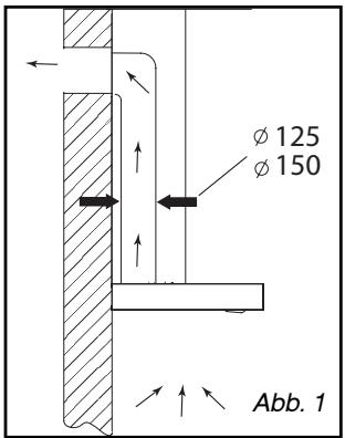
BENUTZUNG MIT ABLUFT-BETRIEB
Bei vorhandenem Abzug ins Freie
(Abb. 1)
Die Dunstabzugshaube kann daran angeschlüssen werden vermittels eines nicht mitgelieferten Abzugsrohrs (Mindest-Ø 125 mm, emailliert, aus Aluminium, flexibel oder aus unbrennbarem Material). Wenn das Rohr weniger als 125 mm Querschnitt hat, unbedingt in den Umluftbetrieb übergeben.
BENUTZUNG MIT UMLUFT-BETRIEB
Wenn kein Abzug ins Freievorhanden ist
(Abb. 2)
Alle unsere Geräte können auch im Umluftbetrieb betriben werden.
In thisem Fall muss ein (optionales) Aktivkohlenfilter eingesetzt werden, das die Gerüche zurückhalt.
(siehe Kapitel 4: Austausch des Kohlefilters)


STROMANSCHLUSS
Bei der Installation und den Pflegevorgängen muss das Gerät vom Stromnetz abgetrennt werden, die Schmelzsicherungen müssen abgeschaltet oder herausgenommen werden.
Der elektrische Anschluss muss nach Montage und Befestigung erfolgen.
Prufen,ob:
- die Leistung der Installation ausreicht,
- die Versorgungsleitungen in gutem Zustand sind,
- der Drahtequerschnitt mit den Installationsregeln übereinstimmt.

Achtung
Dieses Gerät wird mit einem
Versorgungskabel H 05 VVF mit 3 Leitern mit 0,75 mm2 (Nullleiter, Phase und Erdung) gefelert. Es muss vermittels einer Normsteckdose IEC 60083 an ein Stromnetz mit 220 - 240 V einphasig angeschlossen werden, die auch nach der Installation gemäß Einbauregeln zugänglich bleiben muss.
Wir können im Fall eines Unfalls nach einer nicht vorhandenen oder nicht ordnungsgemäßen Erdung nicht haftbar gemacht werden. Die Sicherung der Anlagen muss 10 oder 16 A betragen. Wenn das Anschlusskabel beschädigt ist, den Kundendienst rufen, um jegliche Gefahr auszuschreiben.

Achtung
Wenn die Stromanlage der Wohnung en Anschluss des Geräts eine Änderung dert, einen qualifizierten Elektriker her- heden.

Achtung
Wenn die Dunstabzugshaube irgendei-nomalie aufweist, das Gerät vom Stromen oder die Schmelzsicherung hersaunen, die der Anschlussleitung des als entspricht.

Achtung
Die Installation muss die geltenden Bestimmungen für die Belüfung von Räumen einhalten. In Frankreich werden diese Regeln in der DTU 61.1 des CSTB angegeben. Insbesondere darf die Abzugluft nicht in eine Leitung geschickt werden, die für den Rauchabzug von Geräten benutzt wird, die mit Gas oder einem anderen Brennstoff betrieben werden. Die Verwendung eines stillgelegten Abzugrohrs kann nur mit der Erlaubnis eines kompetennten Fachmanns erfolgen.
MONTAGE DER DUNSTABZUGSHAUBE
Der Mindestabstand zwischen dem Kochfeld und dem niedrigsten Teil der Dunstabzugshaube muss 70~cm betragen. Wenn in der Betriebsanleitung des unter der Dunstabzugshaube installierten Kochfelds ein großerer Abstand als 70~cm vorgegeben ist, muss dieser berücksichtigt werden.
-In mindestens 70~cm Abstand uber dem Kochfeld einen waagrechten Strichziehen (A/Abb.1).
Einen vertikalen Strich (B/Abb. 1) an der Wand mittig im Verhältnis zum Kochfeld und von der Decke bis zur Grenze des vorstehenden waagrechten Strichs (A)ziehen.
Die Bohrschablone gegen die Wand plazieren (C/Abb. 1).
Bei Hohlwänden passende Dübel und Schrauben verwenden.
Die 2 LÖcher bohren. Die 2 Dübel einsetzen.
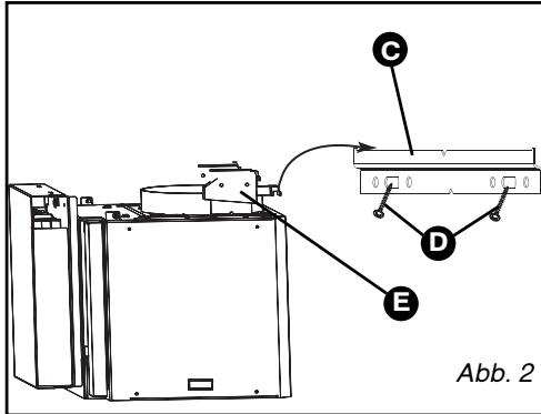
Die Befestigungsschiene (C/Abb. 2) mit den 2 Schrauben (D/Abb. 2) an der Wand befestigen.
- Die Dunstabzugshaube mit ihren Aufhängungen einhängen (E/Abb. 2).
- Hohe und Waagrechte mit den Stellschrauben (E/Abb. 2) der Aufhängungen justieren (die obere Schraube für die Waagrechte, die untere Schraube für die Auflage an der Wand).
- Sicherungsschraube gegen Anheiten (D/Abb.1) eingetzen.
- Klebeband des Komponentenkastens entfernen (F/Abb. 3).
- Kasten etwa 2 cm anheben, dann aus der Arretierungziehen, um 90 Grad drehen, schieren und mit den 2 Schrauben auf der Ober-seite des Motors befestigen (Abb.3).
Darauf achten, beim Drehen und Befestigendie Kabel nicht zu beschädigen.



MONTAGE DES KAMINS
Abluft ins Freie
Die Metallhalterung des Kamins mit den beiden Schrauben an die Wand mit Stoß an der Decke befestigen (Abb. 1).
- Die Rücklaufklappe auf den Motorausgang montieren (Abb. 2). Mit dieser Rücklaufklappe kann der Eintritt der von außenCOMMenden Luft verspersrt werden.
- Im Fall eines Rohrs mit 125 mm Querschnitt gelieferten Adapter benutzen (Abb. 3).
Wenn das Außenrohr einen Durchmesser von unter 125 mm aufweist, muss die Dunstabzugshaube unbedingt im Umluftbetrieb angeschlossen werden.
- Das Rohrende auf den Motorausgang schiben (Abb. 4).
- Den TeleskopkaminVBorbereiten und damit die Ansaugolfungen sorgfaltig verstecken B/Abb.4.Den so zusammengesetzten Kamin auf die Abzugshaube schiben und den oberen Teil anheiten, um die Hohe zu justieren F/Abb.4),dann auf der Metallhalterung des Kamins A/Abb.4) festschrauben.4).

Ratschlag
Wir empfehlen für die optimale Nutzung des Gerats den Anschluss an ein Rohr mit 150 mm Querschnitt (nicht mitgeliefert). Möglichst weniger Winkelstücke und ein möglichst kurzes Rohr verwenden. Beim Abluftbetrieb der Dunstabzugshaube muss für ausreichende Frischluftzufuhr gesorgt werden, damit vermieden wird, den Raum unter Unterdruck zu setzen.




Kaminhalterung

Teleskopkarnin

Rohr

Adapter

Rücklaufklappe

Motorausgang

Halteschraube des Kamins

Umluft
- Die Rücklaufklappe entfern (Abb. 1).
- Mit den beiden Schrauben den Kunststoffchaiblenker an der Wand mit Stoß an der Decke befestigen (Abb. 2). Darauf achten, den Ablenker im Verhältnis zum vertikalen Strich an der Wand zu zentrieren (Abb. 2).
Für Modelle >700mm zusammen die beiden in der Hülle mitgelieferten Abstandsstücke montieren (A/Abb. 2).
- Ein Ende des Rohres auf den Ablenker und das andere Ende auf den Motorausgang schieben (Abb. 3).
- Den KaminVBorbereiten und darauf achten, dass die Ansaugolfungen nach oben weisen, damit sie sightbar sind. (B/Abb. 3).
- Den so zusammengesetzen Kamin (C/Abb. 3) auf die Abzugshaube schieben und den oberen Teil anheiten, um die Höhe zu justieren, dann hin mit den beiden Schrauben (F/Abb. 3) auf dem Rauchablenker (A/Abb. 3) befestigen.


A Rauchablenker
B Ansaugolfungen
Teleskopkamin
D Rohr
Motorträger
F Halteschraube des Kamins

BESCHREIBUNG DER BEDIENELEMENTE

A Kochstellenbeleuchting
An/Aus
Auswahl der Drehzahl von 1 bis 4
Anzeige
Drehzahlanzeige (1, 2, 3 oder 4)
F Filtersattigung
Nachlaufkunft / Ausschalten mit Verzögerung (10 min)
AUTOMATIMODUS (modellabhangig)
These Dunstabzugshauben konnen sich automatisch anpassen. Sie sind mit Sensoren ausgestattet und schalten sich automatisch ein, sobald sie Wärme oder Dampf erkennen. Sie passen ihre Abzugsleistung an und schalten sich aus, nachdem die letzten Dämpfe abgeleitet wurden.
Auswahl des Kochfelds im Automatikmodus*
Für die Wahl des Kochfelds muss die Dunstabzugshaube ausgeschaltet sein.
Um in den Konfigurationsmodus zu gelangen, länger (> 2 Sek.) auf ICS drucken.
Auf drücken, um das Kochfeld auszuwahlen: Standardmäßig blinkt I (Induktionskochfeld). Durch weiteres Drücken zeigt die Anzeige U (Glaskeramikkochfeld) und G (Gaskochfeld). Die Konfiguration wird durch kurzes Drücken auf ICS bestätigt.
Die Symbole (deringste Empfindlichkeit), (durchschnittliche Empfindlichkeit) und (maximale Empfindlichkeit) blinken gleichzeitig. Nach 10 Sek. wird die mittlere Empfindlichkeit gespeichert.
Zur Änderung der Empfindlichkeit kurz auf drücken.
Zum Bestätigen kurz auf ICS drücken.
Die Konfiguration wird automatisch nach 10 Sek. übernommen.

Ratschlag
These Installations- und Bedienungsanleitung gilt für mehrere Modelle. Zwischen thisem Gerät und den gegebenen Beschreibungen können keine Unterschiede im Detail und bei der Ausrüstung zum Vorschein kommt.
Umschalten in den Automatikmodus
Kurz auf ICS drücken; in der Anzeige erscheint ein Punkt. Sobald eine Wärmequelle erfasst wird, blinkt ein R und die Dunstabzugshaube schaltet sich ein. Nach Beendigung des Kochen lauft die Dunstabzugshaube noch 40 Sek. bis 10 Min. weiter.
Durch kurzes Drucken auf ICS wird der Automatikmodus wieder ausgeschelt.
Durch kurzes Drücken auf ① wird der Automatikmodus wieder ausgeschelt und die Dunstabzugshaube bleibt in Position 1.
EINSCHALTEN DER DUNSTABZUGSHAUBE IM MANUELLEN MODUS
Durch kurzes Drucken der Taste ① kann wird die Dunstabzugshaube in Stufe 1 eingeschaltet werden.
- Auswahl der Drehzahl
Jeder Druck auf die Taste "Drehzahlwahl" definiert folgenden Zyklus: Drehzahl 1-2-3 oder 4, dann zurück zur Drehzahl 1.
- Nach dem Einsatzl auft ihre Dunstabzugshaube jeweils mit der zuletzt ausgewählten Drehzahl an.
- Nachlauffunktion
- Durch Druck auf 101 wird die Nachlauffunktion aktiviert und die Abzugshaube nach 10 Minuten von selbst ausgeschaltet. Auf dem Display blinkt die Geschwindigkeit, um Ihnen mitzuteilen, dass ihre Haube im Timing.
BELEUCHTUNG
Durch kurzes Drücken der Taste kann die Halogenbeleuchtung der Dunstabzugshaube ein-oder ausgeschaltet werden. Wenn vergessen wird, das Licht der Abzugshaube auszuschalten, schaltet es sich selbst nach 9 Betriebsstunden aus.
AUSSCHALTEN DER DUNSTABZUGSHAUBE
Durch Drücken der Taste ① wird die Dunstabzugshaube ausgeschelt. Wenn vergessen wird, die Dunstabzugshaube abzuschalten, schaltet sie sich selbst nach 9 Betriebsstunden ab.
Das Symbol ±bF blinkt auf der Anzeige nach 30 Betriebsstunden der Dunstabzugshaube. Diese Meldung zeigt Ohnen an, dass es notwendig ist, ihre Filterkassette zu reinigen.
- Nach Reinigung der Filterkassette die Taste ① 3 Sekunden lang gedrück gehalten, um das Blinklicht wieder auszuschalten F

Achtung
Das Gerät vor der Pflege und Reinigung vom Stromnetz trennen (entweder durch Ziehen des Netzsteckers oder Betätigten des Überlastschalters). Die regelmäßige Pflege des Geräts ist eine Garantie für richtigen Betrieb, gute Leistung und Dauerhaftigkeit.

Achtung
- Wenn die Anweisungen zur Reinigung des Geräts und der Filter nicht eingehalten werden, kann dies zu Bränden führen.itte die Pflegeanweisungen streng befolgen.
REINIGUNG DER FILTERKASSETTE
Sie muss ca. alle 30 Betriebsstunden oder mindestens einmal im Monat gereinigt werden.
Eine Bürste, heiβes Wasser und ein sanfes Reinigungsmittel verwenden. Absprülen und sorgfältig abtrocknen, bevor sie wieder eingesetzt wird.
Ausbau der Filterkassette (Abb.1)
- Am integrierten Griff der Filterkassetteziehen.
- Die Filterkassette nach unten kippen.
- AUSTAUSCH DES KOHLEFILTERS (je nach Modell)
Ihn ca. alle 120 Betriebsstunden ersetzen.
- Filterkassette durch Losen der Klammern herausnahmen (Abb. 1).

- REINIGUNG DER AUSSENFLACHE
Für die Reinigung der Außenfläche der Dunstabzugshaube Seifenwasser benutzen, aber keine Scheuercremes oder Scheuerschwämme.
AUSTAUSCH DER LAMPE
Modell mit Halogenlampe
Die Leuchtblende entfernen (Abb. 2).
Die Halogenlampe G4-20W-12V austauschen.
— Das Ensemble wieder einsetzen und damit die Vorgänge in umgekehrter Reihenfolge wiederholen.


Achtung
Vor jedem Eingriff muss die Dunstabzugshaube vom Stromnetz getrennt werden, entweder durch Ziehen des Netzsteckers oder durch Betätigten des Überlastschalters.
PFLEGE DES GERATS
| PFLEGE | WIE VORGEHEN | ZU VERWENDENDE PRODUKTE/ZUBEHÖR |
| Gehäuse und Zubehör | Niemals Metallkratzer, Scheuermittel oder zu harte Bürsten be-nutzen. | Für die Reinigung von Gehäuse und Leuchtblende ausschließlichhandelsübliche in Wasser gelösteReinigungsmittel verwenden,dann mit klarem Wasser abspüssen und mit einem weichen Lappen trocknen.. |
| Filterkassette | Dieses Filter bindet Fettdämpfeund Staubpartikel. Es ist ein wichtiges Elementzur Sicherstellung der Wirksamkeitder Dunstabzugshaube.Bei hartnäckigen Flecken eine nicht scheuernde Creme anwenden und dann mit klarem Wasser abspüssen. | Mit einem handelsüblichen Haus-haltsprodukt reinigen,dann reich-lich abspüssen und trocknen. |
| Aktivkohlefilter (je nach Modell oder optional) | Dieses Filter bindet die Gerücheund muss je nach Nutzungsgradmindestensomal jährlich ge-wechselt werden.Filter beim Fachhändler bestel-len und das Datum des Aus-tauschs notieren. |
Zur Erhaltung des Geräts empfehlen wir die Pflegeprodukte Clearit.

Die Erfahrung der Profis
Clearit bietet professionelle Produkte und geeignete Lösungen fur die tägliche Pflege von Haushaltsgeräten und Kuchen an.
Sie sind etwa wie weitere weitere Produkte, Zubehrorteile und Betriebsmittel beim gewohnten Handler zu finden.
5 / FUNKTIONSSTÖRUNGEN
| SYMPTOME | Lösungen |
| Die Dunstabzugshaube Funktioniert nicht. | Prüfen, ob: • kein Stromausfall vorliegt. • wirklich eine Drehzahl gewählt wurde. |
| Die Dunstabzugshaube zeigt ungenügende Leistung. | Prüfen, ob: • die gewährte Motordrehzahl für die abgegebene Rauch- und Dampfmenge ausreicht • die Küche ausreichend beluftet ist, damit eine Luftzuführ möglich ist. • das Kohlefilter nicht verbraucht ist (Dunstabzugshaube im Umluftbetrieb). |
| Dunstabzugshaube hat während des Betriebs abgeschaltet. | Prüfen, ob: • kein Stromausfall vorliegt. • die omnipolare Abschaltvorrichtung nicht ausgeschaltet hat. |
6 / KUNDENDIENST
DE
Eingriffe an Ihrm Gerat durren nur von einem Fachmann der Marke durchgefuhrt werden. Geben Sie bei der Meldung einer Störung die vollständige Typenbezeichnung Ihres Gerats an (Modell, Typ, Seriennummer). These Angaben finden Sie auf dem Gerateschild (Abb.1).

ALLGEMEINE GARANTIEBESTIMMUNGEN
- Wir behaben unentgeltlich nach Maßgabe folgender Bedingungen Mängel am Gerät, die nachweislich auf einem Material- oder Herstellungsfehler berufen, sofern diese Mängel uns unverzüglich nach Feststellung und innerhalb 24 Monate (bei gewerblicher Nutzung oder gleichzusetzender Beanspruchung innerhalb von 12 Monaten) nach Lieferung an den Erstendatnehmer gemeldet wurden. Bei Mängel, die sich innerhalb von 6 Monaten ab Lieferung zeigen, wird ein Material- bzw. Herstellungfehler vermutet.
- Teile, die einer betriebsbedingten Abnutzung unterliegen, sind ebenso von der Garantie ausgeschlossen wie leicht zerbrechliche Teile. Geringfugige Sollabweichungen in der Beschaffenheit des Gerätes, die für die Wert- und Gebrauchstauglichkeit unerheblich sind oder Schaden aus mischen, elektronischen Einwirkungen von Wasser, anormale Umwelt- und sich fremde Betriebsbedingungen oder sonstige Einwirkungen/Berührungen von ungeigneten Stoffen küssen keine Garantiepflicht aus. Nicht unter die Garantiepflicht fallen Schäden und Mängel, die durch eine nicht fachgerechte Installation und Montage, Fehlgebrauch, mangelnde Pflege oder Nichtbeziehung von Bedienungs- und Montagehinweisen zureckzuführen sind. Das Fehlen, die Veränderung oder Beschadigung des Typenschildes, Reparaturversuche oder Eingriffe seitens eines nicht autorisierten Kundendienstes oder nicht autorisierten Personen, sowie der Einbau von nicht Originalen Ersatz-, Zubehör- und Ergänzungsteilen, durch die, ein Defekt verursacht wurde, führen entsprechens zu einem Verlust der Garantie.
- Mangelhafte Teile werden nach unserer Wahl unentgeltlich ersetzt oder Instand gesetzt. Ersetzte Teile gehen in unser Eigentum Über. Instandsetzungen vor Ort können nur für stationär betriebene Geräte verlangt werden. Geräte, die zumutbar transportiert werden konnen und für die Garantieleistungen unter Bezugnahme dieser Garantie beansprucht wird, sind der nachstgelegen den Kundendienstelle zu übergeben oder einzusenden. Der Kaufbeleg mit Kauf oder Lieferdatum ist für die Inanspruchnahme dieser Garantie vorzulegen.
- Sofern die Nachbesserung von uns abgehmt wird oder fehnschlapt, wird innerhalb der oben genommen Garantiezeit auf Wunsch des Endabnehmers kostenfrei gleichwertiger Ersatz gefäiert.
Im Falle einer Ersatzlieferung gehalten wir uns die Geltendmachung einer angemessenen Nutzungsrechnung für die bisherige Nutzungszeitvor.
- Garantieleistungen setzen keine neue Garantietr in Lauf, noch bewirken sie eine Veränderung der Garantie. Die Garantietr für eingebaute Ersatzteile endet mit der Garantietr für das komplette Gerat.
- Weitergehende Ansprüche, insbesondere auf Ersatz außerhalb des Gerätes entstandener Schäden sind ausgeschlossen, sofern eine Haftung nicht zwingend gesetzlich angeordnet ist. Die Gewährleistungspflicht des Verkaufers aus dem Kaufvertrag mit dem Endabnehmer bleibt von diesen Garantiebedingungen unterührt.
De Dietrich
Frankfurter Str. 168
D-63263 Neu-Isenburg
Fax.06102-372674
mailto: dedietrich@tagor-hausgeraete.de
Servicepartner in Deutschland Servicetelefon: 0800/3246726
Ersatzteilbestellungen: 01805/324673
Servicepartner in Osterreich SEISER- SERVICE GmbH, Am Heumarkt 9
A-1030 Wien, Servicetal: 01/7 131250
EinfachAnleitung