DIVA - Holzofen AUSTRO FLAMM - Kostenlose Bedienungsanleitung
Finden Sie kostenlos die Bedienungsanleitung des Geräts DIVA AUSTRO FLAMM als PDF.
Benutzerfragen zu DIVA AUSTRO FLAMM
0 Frage zu diesem Gerät. Beantworten Sie die, die Sie kennen, oder stellen Sie Ihre eigene.
Eine neue Frage zu diesem Gerät stellen
Laden Sie die Anleitung für Ihr Holzofen kostenlos im PDF-Format! Finden Sie Ihr Handbuch DIVA - AUSTRO FLAMM und nehmen Sie Ihr elektronisches Gerät wieder in die Hand. Auf dieser Seite sind alle Dokumente veröffentlicht, die für die Verwendung Ihres Geräts notwendig sind. DIVA von der Marke AUSTRO FLAMM.
BEDIENUNGSANLEITUNG DIVA AUSTRO FLAMM
Benutzerhandbuch / manual / manuale / manuel




Fig. 1
Fig. 2
deutsch
AUF-ZU
Sekundärluftschieber
Primäreluftschieber
english
open - closed
- Techn. Daten 1
- Wichtige Informationen 1
- So bedieren Sie ihren Kaminofen richtig
- Die wichtigsten
Ersatzteile - Übersicht 3
Garantie 13
english
contents
Als Kaminofen der Bauart 1 ist ein Anschluß an einen bereits mit anderen Öfen und Herden für feste und flüssige Brennstoffe belegten Schornstein möglich, sofern die Schornsteinbemessung gemäß DIN 4705, Teil 3, dem nicht widerspricht.
| TECHNISCHE DATEN | |
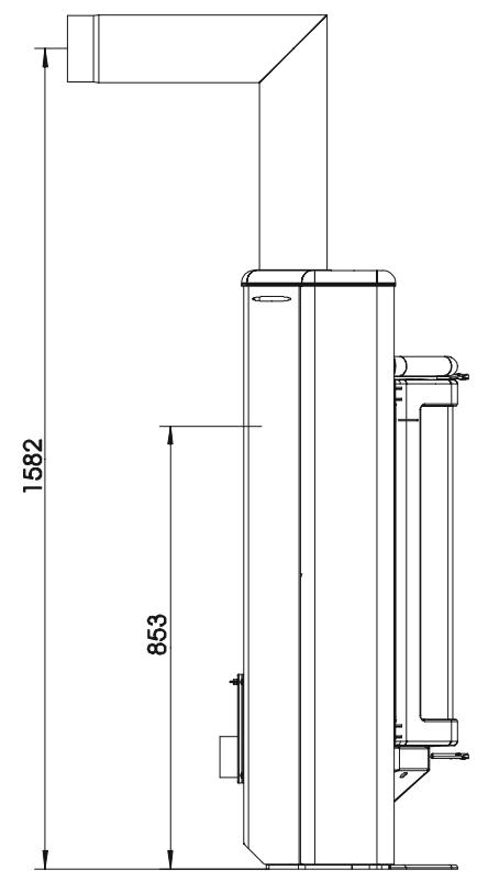
| Höhe | 1153 mm |
| Breite | 492 mm |
| Tiefe | 416 mm |
| Gewicht | 151 kg |
| Gewicht mit Keramikmantel | 161 kg |
| Rauchrohrabgang Durchmesser | 130 mm |
| Nennwärmeleistung lt. DIN 18891 | 5 kW |
| Maximale Heizleistung | 7 kW |
| Kleine Heizleistung | 3 kW |
| Raumheizvermögen (abhängig von der Hausisolierung) | 35 – 90 m3 |
| Abgaswerte für die Mehrfachbelegung des Schornsteines nach DIN 4705, Teil 3 bzw. zur Bemessung des Schornsteines nach DIN 4705, Teil 2 | ||
| Abgasmassenstrom | geschlossen | 5,5 g/s |
| Abgastemperatur | geschlossen | 310 °C |
| Mindestforderdruck bei Nennwärmeleistung (Nwl) | geschlossen | 0,10 mbar |
| bei 0,8facher Nwl | 0,08 mbar | |
2. WICHTIGE INFORMATIONEN
Die Informationen in diesen Handbuch sind allgemeiner Natur. Vorschriften können von Land zu Land unterschiedlich sein; regionale Vorschriften können Vorrang haben.
Allgemeine Sicherheitshinweise zum Betrieb Ihr's Kaminofens
- Lesen Sie vor der Inbetriebnahme des Ofens das gesamte Handbuch gründlich durch und beachten Sie die Warnhinweise.
- Für den Transport Ihres Heizgerätes)dürfen nur zugelassene Transporthilfen mit ausreichenden Tragfähigkeit verwendet werden.
- Ihr Heizgerät ist nicht zur Verwendung als Leiter oder Standgerüst geeignet.
- Durch den Abbrand von Brennmaterial wird Wärmenergie frei, die zu einer starken Erhütung der Oberfläche des Heizgerätes, der Türen, der Tür- und Bediengriffe, der Turgläser, der Rauchrohe und gegebenenfalls der Frontwand des Heizgerätes führt. Die Berührung dieser Teile ohne entsprechende Schutzbekleidung oder Hilfsmittel wie z.B. Hitgeschutzhandschuhe oder Betätigungsmittel (kalte Hand), ist zu unterlassen.
- Machen Sie ihre Kinder auf diese besondere Gefahr aufmerksam und halten Sie sie während des Heizbetriebes vom Heizgerät fern.
- Verbrennen Sie ausschließlich das im Kapitel „saubere Verbrennung“ angeführte genehmigte Heizmaterial.
- Das Verbrennen oder Einbringen von leicht brennbaren oder explosiven Stoffen, wie leere Spraydosen und dgl. in den Brennraum, sowie deren Lagerung in unmittelbarer Höhe Ihres
Heizgerätes, ist wegen Explosionsgefahr strengstens verboten.
- Beim Nachheizen sollen keine weiten, oder weniger brennbaren Kleidungsstücke getragen werden.
Das Abstellen von nicht hitzebeständigen Gegenständen auf dem Heizgerät oder in dessen Nähe ist verboten. - Legen Sie keine Wäschestücke zum Trocknen auf den Ofen.
- Ständer zum Trocknen von Kleidungsstücken oder dgl. müssen in ausreichendem Abstand vom Heizgerat aufgestellt werden - Brandgefahr.
- Beim Betrieb Ihres Heizgerätes ist das Verarbeiten von leicht brennbaren und explosiven Stoffen im selbst oder in anschließenden Räumen verboten.
Kaminofenaufstellung
Sicherheitsabstände
(Mindestabstände) Fig. 2
- Zu nicht brennbaren Gegenständen: a > 400 mm b > 200 mm
- Zu brennbaren Gegenständen und zu tragenden Wänden aus Stahlbeton: a > 600 mm b > 200 mm (a - nach vorne im Strahlungsbereich) (b - seitlich undAPHien)
Bitte beachten Sie, daß der Aufstellungsraum mind. eine Türe / ein Fenster ins Freie aufweisen oder mit einem derartigen Raum direkt verbunden sein muß.
Bodentragfähigkeit
Prüfen Sie vor dem Aufstellen ob die Tragfähigkeit der Unterkonstruktion dem Gewicht Ihres Kaminofen standhalt.
Rauchrohranschuß
Für den Anschluß der Rauchrohre an den Schornstein gibt es zu ihrer eigenen Sicherheit strenge Richtlinien. Ihr Kaminofen-Fachhändler kennt diese. Beauftragen Sie dazu unbedingt ihren Fachhändler mit dem Rauchrohranschluß.
3. SO BEDIENEN SIE IHREN KAMINOFEN RICTIG
Die erstige Inbetriebnahme Ihres Kaminofens
Ihr Kaminofen wurde mit einem umweltverträglichen Speziallack lackiert. Die Lackoberfläche ist bei Auslieferung Ihres Ofen noch weich. Die Aushängtung des Lacks erfolgt bei der ersten Inbetriebnahme. Die Lackoberfläche darf während these Vorganges nicht berührt werden. Der Kaminofen muß mindestens 1,5 Stunden stark aufgezeichnet werden. Bei der Aushängtung des Lackes konnen sightbare Dämpfe freiwerden. Öffnen Sie daher vor der ersten Inbetriebnahme die Fenster. Dadurch konnen die Dämpfe schnell abziehen.
BITTE BERÜCKSICHTIGEN SIE: Erst nach mehreren Heizvorgängen ist der Betrieb Ihres Kaminofen nur mehr vom heimeligen Geruch des verbrenndenden Holzes geprügt.
Zugelassene Brennstoffe
Trockenes, gut abgelagertes, naturbelassenes Holz, Holzbriketts.
Maximale Brennstoffmerge
Maximal aufzugebende Brennstoffmenge: 1,3 kg
Holz oder 1,5 kg Holzbriketts.
Größere Brennstoffmengen können zu
Überhitzung und Beschädigungen am Ofen führen!
Saubere Verbrennung
Das Brennholz muß trocken (rel. Holzfeuchte < 15 %) und unbehandelt sein und die richtige Brennholzmenge muß verbrannt werden, um eine saubere, emissionsarme Verbrennung zu erreichen.
Richtig Feuer machen
Bereiten Sie alles zum Anheizen vor – Weichholzpane, Anzündhilfe (wie zB Thermohit Holz-Kohleanzünder), unbeschichtetes Papier,
Brennholz. Fig. 3 gibt Ohnen eine Richtlinie hinsichtlich der Menge an Heizmaterial.

Fig. 3: Heizmaterial
Öffnen Sie die Primär- und Sekundärluftzufuhr maximal. Bewegen Sie dazu beide Schieber siehe Fig. 2 „AUF".
Öffnen Sie die Kaminofentür.
Legen Sie unbeschichtetes Papier auf den Feuerraumboden.
Legen Sie darauf eine handvoll Weichholzpane.
Legen Sie auf diese Späne 1 - 2 Scheite Holz.

Fig. 4: Anzünden
Zünden Sie nun das Papier an.
Schließen Sie die Feuerraumtur.
Sobald die Weichholzpane gut brennen,
schließen Sie den Primäreluftschieber.

Fig. 5: Primäreluftschieber schließen
Sobald die Holzsche gut brennen, können Sie mit dem Sekundärluftschieber die Heizleistung regulieren (Schieber auf Maximalstellung „AUF“ = maximale Heizleistung – siehe Fig. 2).
Beim Nachlegen gohen Sie prinzipiell wie beim Anheizen vor: Primäreluftschieber öffnen, Sekundäreluftschieber öffnen, Kamintüre vorsichtig öffnen, Holz nachlegen, Kaminofentüre schließen. Warten Sie, bis das nachgelegte Holz brennt. Dann schreiben Sie den Primäreluftschieber. Regeln Sie in der Folge die Heizleistung mit dem Sekundäreluftschieber.
4. DIE WICHTIGSTEN ERSATZTEILE - ÜBERSICHT
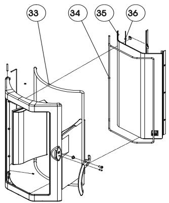
Dichtungen
| Bezeichnung | Nr.-Skizze | Artikelnr. |
| Dichtung flach 8 x 2 x 610 mm | 36 | 710096 |
| Dichtung rund d =12 mm | 33 | 710338 |
| Dichtung hohlrund d= 6 mm | 34 | 718183 |
Keramott
| Bezeichnung | Nr.-Skizze | Artikelnr. |
| Diva Keramott Rückwand | 6 | 716356 |
| Diva Keramott Boden rechts | 2 | 716355 |
| Diva Keramott Boden links | 1 | 716354 |
| Diva Keramott seitlich links | 5 | 716645 |
| Diva Keramott seitlich rechts | 9 | 716646 |
| Diva Keramott Zugplatte hinten | 7 | 716358 |
| Diva Keramott Zugplatte vorne | 8 | 716357 |
| Diva Keramott Holzflänger | 4 | 712642 |
| Diva/G4 Rost | 3 | 716408 |
Sonstiges
| Bezeichnung | Nr.-Skizze | Artikelnr. |
| Diva Türglas | 35 | 712017 |
| Ofenlack | -- | 650002 |
| Holz-Kohleanzünder | -- | 640067 |
| Glasreiniger 0,5I | -- | 640070 |

Numerierung Keramott = Einbauanleitung!

Zubehör
Bei Ihrem Fachhändler erhalten Sie Bodenplatten aus Glas oder Stahl, Kaminbestecke, Pflegemittel oder das Heat Memory System zur Wärmespeicherung.
WICHTIG: Lassen Sie defekte Teile ausschließlich von Ihr Kaminofenfachhändler austauschen. Damit ist gewährleistet, daß Ihr Kaminofen sicher und Funktionstüchtig ist und bleibt.
Pflege
Zur Glasreinigung verwenden Sieitte ein Spezialprodukt wie Thermohit Glasreiniger. Lackierte Oberflächen durren nur mit einem Tuch (ev. feucht) gereinigt werden. Für Edelstahloberflächen gibt es ebenfalls Spezialreiniger.
1. TECHNICAL DATA
Für ihren AUSTROFLAMM-Kaminofen garantieren wir für die einwandfreie Funktion aller Bauteile aus Stahl und Guß 2 Jahre ab dem Erstverkaufsdatum. Stahl- und Gußsteile, die während der Garantiezeit Material- und / oder Verarbeitungsmängel aufweisen, werden gegen Neuteile ersetzt.
Wir gewähren keine Garantie auf Verschleißsteile (z. B.: Keramott, Dichtungen, Bodenrost), Oberflächenbeschichtungen, Lack, Glas und Keramiken.
Voraussetzungen für unsere Garantieleistung sind:
- Ihr AUSTROFLAMM-Kaminofen wurde gemäß dem Benutzerhandbuch betrieben und von einem Fachmann installiert.
- Der Garantieanspruch wird mit der vollständig ausgefüllen Garantiekarte und der Rechnung bei einem AUSTROFLAMM-Fachhändler geltend gemacht.
WICTIG: Unsere Garantieleistung umfaßt die kostenlose Lieferung der Neuteile. Arbeits- und Wegzeiten werden dadurch nicht umfaßt. Eine ungerechtfertigte Garantieinanspruchnahme wird dem Betreiber rückbelastet.
Two-Year Guarantee
Im Garantiefall herausschneiden und Ihrm AUSTROFLAMM-Fachhandler vorlegen!
EinfachAnleitung