DIVA - Stufa a legna AUSTRO FLAMM - Manuale utente e istruzioni gratuiti
Trova gratuitamente il manuale del dispositivo DIVA AUSTRO FLAMM in formato PDF.
Domande degli utenti su DIVA AUSTRO FLAMM
0 domanda su questo apparecchio. Rispondi a quelle che conosci o fai la tua.
Fai una nuova domanda su questo apparecchio
Scarica le istruzioni per il tuo Stufa a legna in formato PDF gratuitamente! Trova il tuo manuale DIVA - AUSTRO FLAMM e riprendi in mano il tuo dispositivo elettronico. In questa pagina sono pubblicati tutti i documenti necessari per l'utilizzo del tuo dispositivo. DIVA del marchio AUSTRO FLAMM.
MANUALE UTENTE DIVA AUSTRO FLAMM
Regolazione aria secondaria
Regolazione aria primaria
français
ouvert - fermé
- Dati tecnici 7
- Informazioni importanti 7
- Per un uso corretto della vostra Kaminofen 8
- Prospetto dei ricambi principali 9 Garanzia 14
français
sommaire
Questa stufa-caminetto (Kaminofen del tipo Bauart 1) è adatta per essere collegata ad una canna fumaria più utilizzata per altre stufe o fonti di calore che impiegano combustibili solidi o liquidi, se le dimensioni della canna fumaria lo consentono (norma DIN 4705, Parte 3).
| Rendimento massimo | 7 kW |
| Rendimento minimo | 3 kW |
| Volume riscaldabile (m3) (dipende dalle condizioni di isolamento dell'abitazione) | 35 – 90 m3 |
| DATI TECHNICI | |
| Altezza | 1153 mm |
| Larghezza | 492 mm |
| Profondità | 416 mm |
| Peso | 151 kg |
| Peso con rivestimento in ceramica | 161 kg |
| Diametro uscita fumi | 130 mm |
| Rendimento nominale (secondo DIN 18891 | 5 kW |
| Valori delle emissioni per allacciameto multiple alla canna fumaria (secondo norma DIN 4705, Parte 3) e per il calcolo delle dimensioni della canna fumaria (secondo DIN 4705, Parte 2) | ||
| Flusso fumi | chiuso | 5,5 g/s |
| Temperatura fumi | chiuso | 310 °C |
| Depressione minima con rendimento | chiuso | 0,10 mbar |
| con r.nom. di 0,8 volte | 0,08 mbar | |
2. INFORMAZIONI IMPORTANTI
Questo manuale contiene informazioni generali. Le normative possonoambiare da paese a paese; le normative locali possono risultare prioritarie.
Avverenze generali e precauzioni nell'impiego della Kaminofen
- Prima diMETTEREinfunzione la stufavi raccommandiamo di leggere attendamente l'intero manuale che vi fornisce importanti informazioni e avvertimenti.
- Per il trasporto della stufa utilizzate mezzi idonei, la cui portata sia sufficiente a sostenerne il peso.
Nonutilizzate la stufa come se fosse unaScala o un'impalcatura per salirvi sopra. - In seguito alla combustione si libera energia termica, che provoca un forte riscaldamento della superficie della stufa e del tubo uscita fumi. Fate attenzione quando ed evitate di toccare componenti come l'antina, la maniglia, le leve di regolazione delle prese d'aria, il vetro ceramicico, il tubo di uscita fumi ed eventualmente la parte frontale della stufa除去 una protezione adeguata, ad esempio un quanto o altri utensili (gancio smuovicenere, "manofredda").
Istruite i vostri bambini su quosti inconvenienti e teneteli lontani alla stufa quando è accesa.
Utilizzate solo i combustibili indicati nel capitolo „Combustibili adatti". -
Nella camera di combustione non devono essere introdotte e bruciate sostanze disponmente infiammabili od explosive, come bombolette spray vuote e simili. Non lasciate tali oggetti nelle immediate vicinanze della stufa (pericolo di esplosione).
-
Quando si aggiunge legna nella stufa accesa è consigliabile non portare capi di abbligamento che possano prendere fuoco migliormente.
Non appoggiate oggetti non resistenti al calore sulla stufa o nelle sue immediate vicinanze.
Non mettete ad asciugare biancheria sopra la stufa. - Stendibiancheria o simili devono essere collocati ad una distanza adeguata alla stufa (pericolo di incendio).
- Quando la stufa è in funzione è sconsigliabile lavorare con sostanze disponmente infiammabili o esplove nella stessaStanza o in stanze adiacenti.
Installazione della stufa
Distanze di sicurezza (distance minime) Fig. 2
- Da oggetti non infiammabili:
a > 400 mm b > 200 mm - Da oggetti infiammabili e pareti portanti in cemento armato:
a > 600 mm b > 200 mm
(a - anteriormente nell'area di irradiazione)
(b - lateralmente e posterioriamente)
Il luogo in cui installate la stufa deve disporre di almeno una porta / finestra che dia all'esterno oppure deve essere collegato direttamente ad un ambiente con accesso all'esterno.
Portata del pavimento
Prima di installare la stufa, accertatevi che la struttura sottostante al punto in cui volete系統arla sua in grado di sostarne il peso.
Collegamento del tubo di uscita fumi
Per garantire la vostra sicurezza, il collegamento dei tubi di uscita fumi alla canna fumaria è regolato da apposite norme. Per l'installazione e il collegamento rivolgetevi quando al vosto rivenditore, che è a conoscenza di tali disposizioni.
3. PER UN USO CORRETTO DELLA VOSTRA KAMINOFEN
Quando mettete in funzione la stufa per la primaolta
La vostra Kaminofen è stata rifinita con una speciale vernice ecocompatibile. Al momento della fornitura le superfici laccate e verniciate non sono più completemente indurite. L'indurimento definitivo avviene con il calore che si sviluppa durante la prima accensione. Durante esta fase, che deve durare almeno 1,5 ore e a calore intenso, non toccate le superfici della stufa e arieggiate bene l'abitazione, per eliminare rapidamente eventuali odori e vapori causati dall'indurimento della vernice.
VI PREGHIAMO DI TENERE CONTO DEL
FATTO CHE solo dopo aver acceso la stufa varie volte per un periodo prolongato, avvertirete il caratteristico (e piacevole) odore della legna che arde.
Combustibili adatti
Legna naturale e non trattata, secca e ben conservata, tronchetti di legno.
Quantità massime di combustibili
La massima quantità di combustibile consigliata: 1,3 kg di legna oppure 1,5 kg di tronchetti di legno pressato per volta. Non introducete quantità excessive di combustibile per evitare un surriscaldamento ed un seguente danneggiamento della stufa.
Combustione ed ecologia
Per ottenere una combustione corretta con un minimo di emissioni la legna deve essere secca (< 15 % di umidità relativa) e non trattata e non si devono superare le quantità di combustibile consigliate.
Per una corretta accensione
Preparate tutto l'occorrente per accendere la stufa: trucoli di legno dolce, accendifuoco (ad es. Thermohit), carta (non patinata), e legna. L'illustrazione 1 vi fornisce leindicazioni circa le giuste quantità per l'accensione.

III. 1: Materiali per l'accensione
Aprite al massimo la presa per l'aria primaria e quella per l'aria secondaria, spostando le due levette come indicato nella fig. 2 "AUF / aperto".
Aprite ora I'antina.
Disponete daprima della carta (non patinata) sul fondo della camera di combustione, sopra diessa una manciata di trucoli di legno dolce e poi 1 o 2 ceppi di legna.

III. 2: Accensione
Dopo aver dato fuoco alla carta, chiudete l'antina e attendete fino a quando i trucoli stanno bruciando per poi chiudere la presa dell'aria primaria.

III. 3: Chiudere la presa dell'aria primaria
Quando又能 i ceppi avranno incominciato a predere ben fuoco, potete regolare il rendimento della stufa con la levetta dell'aria secondaria (portandola nella posizione massima otterrete il massimo del rendimento).
Questa operazione va ripetuta per agli strato di legna che vorrete aggiungere: aprite la presa dell'aria primaria e quella dell'aria secondaria, poi l'antina (facendoattenzione),aggiungete la legna e richiudete infine l'antina. Attendete fino a quando ancche la nuova legna abbia preso ben fuoco e poi chiudete nuovamente la presa dell'aria primaria, regolando infine il rendimento con la levetta dell'aria secondaria.
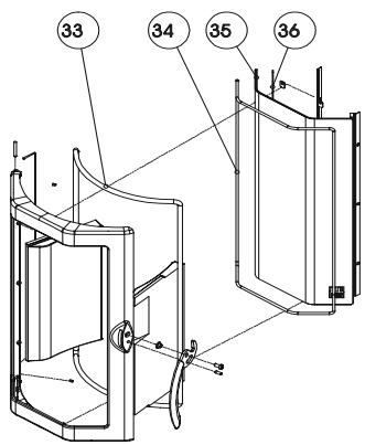
4. PROSPETTO DEI RICAMBI PRINCIPALI
Guarnizioni
| Denominazione | N. su dis. | N. art. |
| Guarnizione piatta 8 x 2 x 610 mm | 36 | 710096 |
| Guarnizione tonda d= 12mm | 33 | 710338 |
| Guarnizione tonda d = 8 mm | 34 | 718183 |
Keramott
| Denominazione | N. su dis. | N. art. |
| Diva Keramott posteriore | 6 | 716356 |
| Diva Keramott di fondo destra | 2 | 716355 |
| Diva Keramott di fondo sinistra | 1 | 716354 |
| Diva Keramott lateral sinistra | 5 | 716645 |
| Diva Keramott lateral destra | 9 | 716646 |
| Diva Keramott tagliafiamme posteriore | 7 | 716358 |
| Diva Keramott tagliafiamme anteriore | 8 | 716357 |
| Diva Keramott fermalegna | 4 | 712642 |
| Diva/G3 griglia | 3 | 716408 |
Altre parti
| Denominazione | N. su dis. | N. art. |
| Vetroceramico antina Diva | 35 | 712017 |
| Vernice | -- | 650002 |
| Accendifuoco | -- | 640067 |
| Detergente vetroceramico 0,5 I | -- | 640070 |

Numerazione dei refrattari = ordine da seguire per il montaggio!

Accessori
Presso il vostro rivenditore potete acquistare basi di protezione in vetro o acciaio, vari utensili per la stufa, prodotti per la cura e pulizia.
IMPORTANTE: per la sostituzione di parti difettose rivolgetevi esclusivamene al vosto rivenditore di Kaminofen, in quello modo avrete la garanzia che la vostra stufa continuerà a funzionare in modo corretto e sicuro.
Pulizia
Per la pulizia del vetro ceramico dell'antina utilizzate gli apposti prodotti in vendita pressi i rivenditori di stufe (ad es. Thermohit). Le superfici laccate della stufa vanno pulite solamente con un panno (eventualmente umido). Anche per le superfici in acciaio inox vanno trattate con gli apposti detergenti.
1. CARACTERISTIQUES TECHNIQUES
Noi garantiamo il buon funzionamento di tutti i componenti in acciaio e ghisa della vostra Kaminofen AUSTROFLAMM per una durata di 2 anni a partire alla data della prima vendita. Le parti in acciaio e ghisa che dovessero presentare difetti di materiale e/o lavorazione durante il periodo di garanzia verranno sostituite con parti nuove.
Sono esclude alla garanzia le parti soggette ad usura (ad es. elementi in keramott, guarnizioni, griglie della camera di combustione), nonché i rivestimenti delle superfici, vernici, vetroceramico ed elementi in ceramica.
Per averedirittoalleprestazionidi garanzia:
- La vostra Kaminofen AUSTROFLAMM deve essere installata da personale specializzato e fattà funzionare osservando le istruzioni del manuale.
- Occorre presentare la cartolina di garanzia correttamente compilata e lo scontrino / la fattura / la ricevuta fiscale ad uno dei rivenditori AUSTROFLAMM.
IMPORTANTE: la nostra Garanzia copre la fornitura gratuite delle parti nuove e non include né la durata dell'intervento né la trasferta. I costi collegati ad una richiesta ingiustificata di prestazione di garanzia saranno addebitati all'utente.
ManualeFacile