TM-92.14 H - Aufsitzmäher DOLMAR - Kostenlose Bedienungsanleitung
Finden Sie kostenlos die Bedienungsanleitung des Geräts TM-92.14 H DOLMAR als PDF.
Benutzerfragen zu TM-92.14 H DOLMAR
0 Frage zu diesem Gerät. Beantworten Sie die, die Sie kennen, oder stellen Sie Ihre eigene.
Eine neue Frage zu diesem Gerät stellen
Laden Sie die Anleitung für Ihr Aufsitzmäher kostenlos im PDF-Format! Finden Sie Ihr Handbuch TM-92.14 H - DOLMAR und nehmen Sie Ihr elektronisches Gerät wieder in die Hand. Auf dieser Seite sind alle Dokumente veröffentlicht, die für die Verwendung Ihres Geräts notwendig sind. TM-92.14 H von der Marke DOLMAR.
BEDIENUNGSANLEITUNG TM-92.14 H DOLMAR
5.4.11 REMISAGE ET INACTIVITE PROLONGÉE
7. PANNES ET REMÉDES
Sehr geehrte Kundin, sehr geehrter Kunde,
Wir danken Ihnen, dass Sie unseren Produktien den Vorzug gegeben haben und wünschen Ihnen, dass Ihnen der Gebrauch ihrer neuen Rasenmahmaschine Freude macht und ihren Erwartungen vollkommen entspricht.
Dieses Handbuch wurde Herausgegeben, um Sie mit Ihrer Maschine vertraut zu machen und diese sicher und wirksam einsetzen zu konnen. Beachten Sie, dass das Handbuch ein wesentlicher Bestandteil der Maschine ist. Halten Sie es stets griffbereit, um es jederzeit einsehen zu konnen, und liefern Sie es mit, sollen den Sie die Maschine eines Tages an Dritte abtreten.
Falls Sie keinere Unterschiede zwischen der Beschreibung im Handbuch und der Maschine feststellen sollenen, können Sie davon ausgehen, dass die in thisem Handbuch enthaltenen Informationen auf Grund fortwährender Verbesserungen des Erzeugnisses Änderungen unterliegen, ohne dass der Hersteller die Pflicht zur Bekanntgabe oder zur Aktualisierung hat, unter der Voraussetzung, dass sich die wesentlichen Eigenschaften für Sicherheit und Betriebsweise nicht verändern. Im Zweifelsfall schrecken Sie nicht davor zurück, ihren Wiederverkäfer zu kontaktieren. Gute Arbeit!
KUNDENDIENST
Dieses Handbuch betiet die erforderlichen Anleitungen zum Bedieren der Maschine und eine korrekte Grundwartung seitens des Benutzers.
Für in thisem Handbuch nicht beschriebene Eingriffe wenden Sie sich an den Wiederverkäufer Ihr's Gebiets oder an einen Autorisierten Kundendienst.
Wenn Sie es wünschen, wird Ihnen Ihr Wiederverkäuer gegen ein persönliches Wartungsprogramm, das ihren Ansprüchen gerecht wird, ausarbeiten. Diese wird es Ihnen erhögbaren, ihre Neuerwerbung voll leistungsfähig zu halten und so den Investitionswert zu erhalten.
INHALT
1. SICHERHEITSVORSCHRIFTEN 3
Enthält die Vorschriften zum sicheren Gebrauch der Maschine
2. KENNZEICHNUNG DER MASCHINE UND IHRER BAUTEILE 7
Erläutert, wie die Maschine und ihre wesentlichen Bauteile gekennzeichnet sind
3. AUSPACKUNG UND ZUSAMMENBAU 9
Erläutert, wie die Verpackung zu entfernen und die Montage der getrennten Bauteile zu verwollständigen ist
4. BEDIENUNGSEINRICHTUNGEN UND KONTROLLINSTRUMENTE 14
Informiert über den Platz und die Funktion aller Bedienteile
5. GEBRAUCHSANWEISUNG 19
Enthält alle Anweisungen, um gut und sicher zu arbeiten
5.1 Empfehlungen fur die Sicherheit 19
5.2 Kriterien fur das Auslösen der Sicherheitseinrichtungen 19
5.3 Vorbereitungen vor Arbeitsbeginn 21
5.4 Gebrauch der Maschine 24
5.5 Betrieb an Hangen 32
5.6 Transport 33
5.7 Einige Ratschlage für einen eigenen Schnitt 33
6.WARTUNG 35
Enthält alle Informationen, um die Maschine leistungsfähig zu halten
6.1 Empfehlungen für die Sicherheit 35
6.2 Periodische Wartung 36
6.3 Kontrollen und Einstellungen 40
6.4 Ausbau und Ersetzen von Teilen 44
7. ANLEITUNG ZUM FESTSTELLEN VON STÖRUNGEN 46
Hilft Ihnen, eventuelle Probleme beim Gebrauch schnell zu losen
8. SonDERZUBEHOR 49
Es werden die Zubehörteile dargestellt, die für besondere Betriebsanwendungen zur Verfugung stehen
9. TECHNISCHE DATEN 50
Fasst die wesentlichen Eigenschaften ihrer Maschine zusammen
10. ALPHABETISCHES SACHREGISTER 51
Zeigt an, wo Informationen zu finden sind
1. SICHERHEITSVORSCHRIFTEN
1.1 WIE IST DAS HANDBUCH ZU LESEN
Im Text des Handbuches sind einige Abschnittte, die besondere Informationen zum Zweck der Betriebssicherheit enthalten, nach den folgenden Kriterien unterschiedlich hervorgoben:
ANMERKUNG oder WICHTIG Liefert erläuternde Hinweise oder andere Angaben über bereits an früherer Stelle gemachte Aussagen, in der Absicht, die Maschine nicht zu beschädigen oder Schäden zu vermeiden.
A ACHTUNG! Im Falle der Nichtbeachtung besteht die Möglichkeit, sich selbst oder Dritte zu verletzen.
A GEFAHR! Im Falle der Nichtbeachtung besteht die Möglichkeit, sich selbst oder Dritte schwer zu verletzen, mit Todesgefahren.
Im Handbuch sind verschiedene Ausführungen der Maschine beschrieben, die sich voneinander untersenden, hauptsächlich durch:
- Antriebstyp: mit mechanischen Getriebe oder mit hydrostatischer Dauerverstellung der Geschwindigkeit. Die Modelle mit hydrostatischem Antrieb sind an der Aufschrift "HYDRO" erkennbar, die auf dem Kennungsschild angebracht ist (2.1);
- Bau- oder Zubehörteile, die in den verschiedenen Absatzgebieten nicht immer zur Verfugung stehen;
- Besondere Ausrüstungen.
Das Symbol hebt jeder Unterschied im Gebrauch hervor und wird gefolgt von der Angabe der Ausführung, auf die es sich bezieht.
Das Symbol “ ” verweist auf einen anderen Abschnitt des Handbuchs für weitere Klärungen und Informationen.
ANMERKUNG Alle Angaben wie "vorne", "hinten", "rechts" und "links" beziehens sich auf die Vorwärtsfahrtrichtung der Maschine.
WICHTIG For alle anderen Operationen, die sich auf Gebrauch und Wartung des Motors und der Batterie beziehen und die nicht in thism Handbuch beschrieben sind, sind die den Motor und die Batterie betreffenden speziellen Handbucher zu Rate zuziehen, die Bestandteil der mitgelieferten Dokumentation sind.
1.2 ALLGEMEINE SICHERHEITSVORSCHRIFTEN
(vor Gebrauch der Maschine aufmerksamlesen)
A) WICHTIGE HINWEISE ZUM BETRIEB DER MASCHINE
1) Lesen Sie die Anweisungen aufmerksam. Machen Sie sich mit den Bedienungsteilen und dem richtigen Gebrauch der Maschine vertraut.
2) Erlauben Sie niemals Kindern oder Personen, die nicht über die erforderlichen Kenntnisse dieser Gebrauchsanweisung verfügen, die Maschine zu benutzen. Örtliche Bestimmungen können das Mindestalter des Benutzers festlegen.
3) Benutzten Sie die Maschine niemals, wenn sich Personen, besonders Kinder, oder Tiere in ihrer Nähe aufhalten.
4) Beachten Sie, dass der Benutzer für Unfälle und Schäden verantwortlich ist, die anderen Personen oder deren Eigentum widerfahren konnen.
5) Keine Mitfahrer befindern.
6) Der Benutzer muss über eine geeignete Ausbildung zum Fahren verfügen, die insbesondere auf folgenden ausgerichtet ist:
- die notwendige Aufmerksamkeit und Konzentration während der Arbeit;
- dass die Kontrolle über eine Maschine, die auf einem Hang abgleitet, nicht durch Bremsen wiedererlangt werden kann. Die wesentlichen Grunde für den Verlust der Kontrolle sind:
- mangelnde Bodenhaftung der Rader;
- zu schnelles Fahren;
- unangemessenes Bremsen;
- die Maschine ist für den Einsatz nicht geeignet;
- mangelnde Kenntnisse über Wirkungen, die von den Bodenverhältnissen herruhren können, insbesondere am Hang;
- nicht korrektes Anhängen und schlechte Lastverteilung.
B) VORBEREITENDE MASSNAHMSN
1) Wahrend des Mahens sind immer festes Schuhwerk und lange Hosen zu,tragen. Mahlen Sie nicht barfuig oder mit leichten Sandalenbekleidet.
2) Überprüfen Sie das zu bearbeitende Gliende und entfern den Sie alles, was von der Maschine ausgeworfen werden konnte.
3) GEFAHR! Benzin ist hochgradig entflammbar:
-Bewahren Sie Kraftstoff nur in Behaltern auf, die zu thisem Zweck geeignet sind;
- Tanken Sie Kraftstoff nur im Freien und rauchen Sie nicht während des Tankens;
- Tanken Sie Kraftstoff vor dem Starten des Motors. Wahrend der Motor lauft oder wenn er heißt ist, darauf der Tankverschluss nicht geöffnet oder Benzin nachgefüllt werden.
- Falls Benzin überläuft, den Motor nicht starten. Statt dessen ist die Maschine von dem Ort, an dem der Kraftstoff vergossen wurde, zu entfernen, und es ist alles zu vermeiden, was einen Brand verursachen konnte, solange sich die Benzindämpfe nicht aufgelöst haben.
- die Deckel des Tanks und des Benzinbehalters immer aufsetzen und gut verschreiben.
4) Beschädigte Auspuffschalldämpfer auswechseln.
5) Vor jedem Gebrauch eine allgemeine Überprüfung durchführren, um zu kontrollieren, ob Messer, Schrauben und Mahwerk abgenutzt oder beschädigt sind. Abgenutzte oder beschädigte Messer und Schrauben sind en bloc auszutauschen, damit sie ausgewuchtet bleiben.
6) Beachten Sie, dass beim Drehen eines Messers sich auch das andere Messer dreht.
C) GEBRAUCH
1) Der Motorarf nicht in geschlossenen Räumen laufen, in denen sich gefährliche Kohlenmonoxydgase sammeln konnen.
2) Mahren Sie nur bei Tageslicht oder beiGreater kunstlicher Beleuchting.
3) Vor dem Starten des Motors alle Messer ausschalten und die Gangschaltung in "Leerlauf" stellen.
4) Mahren Sie nicht an Hängen mit einer Neigung über 10^ (17%).
5) Beachten Sie, dass es keinen "sicheren" Hang gibt. Das Fahren auf Rasen an Hängen erfordert beschonhere Aufmerksamkeit. Um ein Umstürzen zu vermeiden:
- bei Bergauf- oder Bergabfahrten nicht ruckartig anhalten oder aufharen;
- den Antrieb sanft einkuppeln und Gang stets eingelegt setzen, besonderss bei Bergabfahrten;
- die Geschwindigkeit ist an Hängen und in engen Kurven zu vermindern;
- auf Erhebungen, Vertiefungen und unsichtbare Gefahren achten;
- niemalsquerzumHangmahlen.
6) Seien Sie vorsichtig beim Ziehen von Lasten oder wenn Sie schwere Ausrüstungen verwenden:
- für Zugstangen nur zugelassene Anhängevorrichtungen benutzen;
- Lasten auf diejenigen beschränken, die leicht zu kontrollieren sind;
- nicht ruckartig lenken. Vorsicht beim Rückwärtsfahren;
- sofern im Handbuch empfohlen, Gegengewichte oder Gewichte an den Rädern benutzen.
7) beim Überqueren von nicht mit Gras bewachsenen Zonen sind die Messer auszuschalten;
8) Benutzen Sie niemals die Maschine, wenn die Schutzeinrichtungen beschädigt oder nicht montiert sind.
9) Andern Sie nicht die Grundeinstellung des Motors und halten Sieihn nicht überdrehen. Der Motor mit überhöhter Drehzahl kann die Gefahr für Verletzungen erhöhen.
10) Bevor Sie den Fahrensitz verlassen:
- die Messer ausschalten und das Mahwerk absenken;
- den Leerlauf einlagen und die Feststellbremse anziehen;
- den Motor ausschalten und den Zündschlüssel abziehen.
11) Schalten Sie die Messer und den Motor aus undziehen Sie den Zündschlüssel ab:
- bevor Sie den Auswurfkanal reinigen oder Verstopfungen beseitigen;
- bevor Sie die Maschine überprüfen, reinigen oder Arbeiten an ihr durchführten;
- nach dem ein Fremdkörper getroffen wurde. Prüfen Sie, ob an der Maschine eventuell Schäden entstanden sind und reparieren Sie diese, ehe die Maschine wieder in Gang gesetzt und benutzt wird;
- wenn die Maschine anfängt, ungewöhnlich stark zu vibrieren (sofort Ursachen feststellen).
12) Schalten Sie während des Transports die Messer aus, oder immer dann, wenn sie nicht gebraucht werden.
13) Der Motor ist abzustellen und die Messer sind auszuschalten:
- bevor Sie Kraftstoff tanken;
- bevor Sie den Aufgangsack abnehmen.
14) Bevor Sie den Motor abstellen, ist das Gas zu reduzieren, und, wenn der Motor mit einem Hahn versehen ist, muss die Benzinzuführung bei Arbeitsende geschlossen werden.
D) WARTUNG UND LAGERUNG
1) Sorgen Sie damit, dass Muttern und Schrauben fest angezogen sind, um sicher zu sein, dass sich die Maschine immer in gutter Betriebsbereitschaft befindet.
2) Bewahren Sie niemals die Maschine mit Benzin im Tank innerhalb eines Gebäudes auf, in dem möglicherweise Benzindämpfe mit offenem Feuer, einer Wärmequelle oder Funken in Berührung kommt können.
3) Lassen Sie den Motor abkühlen, bevor Sie die Maschine in einem Raum abstellen.
4) Um Brandgefahr zu vermeiden, halten Sie Motor, den Auspufftopf, den Platz für die Batterie sowie den Platz, an dem Benzinkanister gelagert werden, frei von Gras, Blättern oder überschüüssigem Fett.
5) Prufen Sie regelmäßig den Auffangsack auf Verschleib oder Beschädigung.
6) Ersetzen Sie aus Sicherheitsgründen beschädigte oder abgenutzte Teile.
7) Falls der Tank zu entleeren ist, muss dies im Freien erfolgen.
8) Beachten Sie, dass beim Drehen eines Messers sich auch das andere Messer dreht.
9) Wenn Sie die Maschine parken oder unbewacht setzen, Mähwerk absenken.
1.3 SICHERHEITSSCHILDER
Bitte seien Sie bei der Benutzung Ihrer Maschine vorsichtig. Um Sie daran zu erinnern, haben wir auf der Maschine Schilder mit Symbolen angebracht, die Sie auf die wichtigsten Vorschutsmaßnahmen beim Gebrauch hinweisen. Diese Schilder sind als wesentlicher Bestandteil der Maschine anzusehen. Wenn sich ein Schild lösst oder unleserlich wird, wenden Sie sich an ihren Wiederverkäufe, um sie zu ersetzen. Die Bedeutung der Symbole wird im folgenden erklär.
Achtung: vor dem Gebrauch der Maschine die Gebrauchsanweisungen lesen.
Achtung: Zündschlüssel abziehen und die Anweisungen lessen, bevor Sie irgendwelche Wartungs- oder Reparaturarbeiten beginnen.
Gefahr! Auswurf von Gegenständen: nicht ohne vorheriger Montage des Prallblechs oder des Aufgangsacks arbeiten.
Gefahr! Auswurf von Gegenständen: Personen fernhalten.




Gefahr! Umstürzen der Maschine: Nicht an Hängen mit einer Neigung über 10^ einsetzen



Gefahr! Köperverstummelungen: Sich vergewissern, dass sich Kinder fern von der Maschine aufhalten, wenn der Motor lauft.
Schneiderisiko: Messer in Bewegung. Bringen Sie nie Hände oder Füße in die Öffnung unter dem Mahwerk.
1.4 ANWEISUNGEN FÜR DEN ANHÄNGER
Auf Anfrage ist ein Kit zum Ziehen eines kleinen Anhängers erhältlich;这点es Zubehör muss gemäß den mitgelieferten Anleitungen montiert werden. Beim Gebrauch die auf dem Aufkleber angegebenen Gewichtsgrenzen nicht überschreiben und die Sicherheitsvorschriften beachten (1.2, C-6).

2. KENNZEICHNUNG DER MASCHINE UND IHRER BAUTEILE
2.1 KENNZEICHNUNG DER MASCHINE
Das Schild in der Höhe des Batteriegehauses enthalt die wesentlichen Daten jeder Maschine.
Die Seriennummer (6) ist unbedingt anzugegeben, wenn Sie den Technischen Kundendienst anfordern oder Ersatzteile bestehen.
- Schalleistungspegel gemäß Richtlinie 2000/14/CE
- Konformitätszeichen (CE) nach der Richtlinie 98/37/EWG
- Herstellungsjahr
- Betriebsdrehzahl des Motors in U/min (wenn angegeben)
- Typ der Maschine
- Seriennummer
- Gewicht in kg
- Name und Anschrift des Herstellers
- Antriebstyp (wenn angegeben)

Hier die Seriennummer ihrer Maschine eintragen
2.2 KENNZEICHNUNG DER WESENTLICHEN BAUTEILE
Die Maschine hat einige wesentliche Bauteile mit folgenden Funktionen:
-
Mähwerk: ist das Gehäuse, das die rotierenden Messer aufnimmt.
-
Messer: Sind die zum Mähen des Grases bestimmen Bauteile. Die an den Außenheiten angebrachten Flügel erleichtern die Zuführung des gemähten Grases zum Auswurfkanal.
- Auswurfkanal: Ist das Verbindungselement zwischen Mähwerk und Aufgangsack.
- Auffangsack: Außer der Funktion, das gemäße Gras einzusammeln, kommt dem Auffangsack eine Sicherheitsfunktion zu. Er verhindert, dass eventuell durch die Messer aufgenommene Gegenständeweit von der Maschine weggeschleudert werden.
- Prallblech oder Abweiser (auf Wunsch lieferbar): Anstelle des Auffangsacks montiert verhindert das Prallblech, dass eventuell durch die Messer aufgenommene Gegenstände welt von der Maschine weggeschleudert werden.
- Motor: Liefert den Antrieb sowohl für die Messer als auch für die Räder. Seine Eigenschaften und Gebrauchsvorschriften sind in einem besonderen Handbuch beschrieben.
- Batterie: Liefert die Energie zum Anlassen des Motors. Ihr Eigenschaften und Gebrauchsvorschriften sind in einem besonderen Handbuch beschrieben.
- Sitz: Ist der Arbeitsplatz des Benutzers. Er ist mit einem Führer ausgerüstet, der die Anwesenheit des Benutzers registriert und erforderlichenfalls ein Auslösen der Sicherheitsvorrichtungen bewirkt.
- Aufkleber mit Vorschriften und Sicherheitshinweisen: Enthalten die wichtigsten Sicherheitsvorschriften für die Arbeit. Ihr Bedeutung ist in Kapitel 1 erläutert.

3. AUSPACKUNG UND ZUSAMMENBAU
Aus Gründen der Lagerung und des Transports werden eine Bauteile der Maschine nicht in der Fabrik eingebaut, sondern müssen nach Entfernung der Verpackung nach den folgenden Anweisungen montiert werden.
WICHTIG
Die Maschine wird ohne Motoröl und Benzin gefelt. Vor dem
Anlassen des Motors ist Motoröl einzufüllen und Benzin zu tanken, wobei die Vorschriften des Motorhandbuchs zu beachten sind.
3.1 AUSPACKUNG
Beim Entfern der Verpackung ist darauf zu achtenden, dass alle einzelnen Bauteile und mitgelieferten Zubehörteile nicht verloren gehen und dass das Mähwerk beim Abnehmer der Maschine von der Palette nicht beschädigt wird.
Die Standardverpackung enthalt:
- die Maschine;
- die Batterie;
-dasLenkrad;
den Sitz; - die Halter des Auffangsacks;
- die Bauteile des Auffangsacks;
-
einen Umschlag mit:
-
den Gebrauchsanweisungen und Dokumenten,
- mitgelieferten Schrauben einschließlich dem Stift zum Verriegeln des Lenkrads,
- 2 Zündschlüsseln sowie einer Ersatzsicherung 6,3 A.
ANMERKUNG
Um eine Beschädigung des Mahwerks zu vermeiden, ist diese in die
oberste Position zu bringen, und das Herunterfahren der Maschine von der Palette hat mit äußerster Sorgfalt zu erfolgen.
Bei Modellen mit hydrostatischem Antrieb: um das Herunterfahren von der Palette und das Versetzen der Maschine zu erleichtern, den Hebel zum Entsperren des Antriebs in die Pos. «B» stellen (4.33).
3.2 EINBAU DES LENKRADS
Die Maschine auf einer ebenen Fläche abstellen und die Vorderträder gerade ausrichten.
Das Lenkrad (1) über die Herausragende Welle (2) einfahren und so stellen, dass die Speichen auf den Sitz ausgerichtet sind.
Die Bohrung der Nabe des Lenkrads mit der Bohrung der Welle in Deckung bringen und den mitgelieferten Stift (3) mit Hilfe eines
Hammers eintreiben und damit sorgen, dass er auf der gegenüberliegenden Seite vollkommen zum Vorschein kommt.

ANMERKUNG
Um zu vermeiden, dass das Lenkrad mit dem Hammer beschädigt
wird, wird empfohlen, ein Treibwerkzeug oder einen Schraubenzieher mit passendem Durchmesser zu benutzen, um den Stift das letzte Stück einzutreiben.
3.3 EINBAU DES SITZES
Den Sitz (1) auf der Platte (2) mit den Schrauben (3) montieren.

3.4 MONTAGE UND ANSCHLUSS DER BATTERIE
Die Batterie (1) in ihrem Halter unter dem Sitz montieren.
Die zwei roten Kabel (2) am positiven Pol (+) und die drei schwarzen Kabel (3) am negativen Pol (-) anschreiben. Dazu sind die mitgelieferten Schrauben wie angezeigt zu verwenden. Die Feder (4) zur Befestigung der Batterie montieren, bzw auf die Verlegung der Kabel vor der Batterie achten, damit diese nicht durch die Feder (4) gequetscht werden.

WICHTIG
Stets für eine komplette Ladung der Batterie sorgen und damit die
Anweisungen im Handbuch der Batterie befolgen (6.2.5).
WICTIG
Um ein Auslösen der Schutzeinrichtung der elektronischen
Steuerkarte zu vermeiden,arf der Motor keinesfalls angelassen werden,ehe die Batterie vollständig geladen ist!
ACHTUNG!
Bei Eingriffen an der Batterie und bei denen Entsorgung sind
die Sicherheitsvorschriften des Herstellers zu beachten.
3.5 HALTERUNGEN DES AUFFANGSACKS
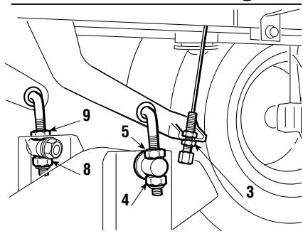
Die beiden Halter (1) und (2) auf der hinteren Platte unter Verwendung der mitgelieferten Schrauben (3), Scheiben (4) und Muttern (5) in der angegebenen Reihenfolge montieren. Die Schrauben im Zentrum der Osen (6) positionieren, ohne sie festzuziehen.
Den Auffangsack in die Halterungen einhaken und sich vergewissern, dass zwischen den beiden Kunststoffdeckungen ein gleichmäßiger Abstand zwischen 6 und 8 mm bleibt.
Dies erlaubt es, den Auffangsack während des Leerens gleichmäßig zu drehen und gleichzeitig das Austreten von Gras zu vermeiden.
Um diesen Abstand zu erhalten, die Position der Befestigung der Halterungen in Bezug auf die Ösen (6) zweckmäßig verändern und schließlich die Schrauben (3) festziehen.

3.6 MONTAGE DES AUFFANGSACKS
Die Montage des Auffangsacks erfolgt in 4 Phasen:
A) Zuerst den Rahmen montieren, wobei der obere Teil (1) mit dem unteren Teil (2) unter Verwendung der mitgelieferten Schrauben und Mattern (3), wie angezeigt, zu verbinden ist. Die Eckleisten (4) und (5) einsetzen, damit die Orientierung rechts (R) und links (L) , beachten und sie am Rahmen mit vier selbstschneidenden Schrauben (6) befestigen.
B) Den Rahmen in den Stoffsack (7) einfahren und damit sorgen, dass er genau entlang dem Umriss des Bodens positioniert wird. Mit Hilfe eines Schraubenziehers (8) alle Kunststoffprofile über die Rohre des Rahmens stulpen.
C) Die Abdeckung (9) auf dem oberen Rahmen mit den Schrauben (10) montieren.
D) Die Querleiste (11) zur Verständlung mit Hilfe der Schrauben und Muttern (12) unter dem Rahmen, mit der flachen Seite dem Tuch zugewandt, anbringen. Den Hebel zum Entleeren (13) in seinen Sitz einfahren und die Sperrschraube (14) und die dazu gehörende Mutter (15) montieren.






4. BEDIENUNGSEINRICHTUNGEN UND KONTROLLINSTRUMENTE

4.1 LENKRAD
Lenkt die vorderen Rader.
4.2 GASHEBEL
Regelt die Drehzahl des Motors. Die Positionen sind durch ein Schild mit folgenden
Symbolen gekennzeichnet:

«CHOKE»
Kaltstart

«LANGSAM»niedrigste Motordrehzahl

"SCHNELL" möchste Motordrehzahl
Die Position «CHOKE» bewirkt eine Anreicherung des Gemschs und scarf nur für die zum Anlassen des kalten Motors notwendige Zeit benutzt werden.
- Beim Fahren wählt man eine Position zwischen «LANGSAM» und «SCHNELL».
- während des Mahens ist es angebracht, den Hebel auf «SCHNELL» zu stellen.
4.3 Zündungsschalter MIT SCHLUSSEL
Dieser Schalter mit Zündschlüssel hat die folgenden drei Positionen:

«STOP»
alles ausgeschaltet;

«EIN»
alle Funktionen aktiviert;

«STARTEN»
schaltet den Anlasser ein.
Beim Loslassen des Zündschlüssels von der Position «STARTEN» kehrt dieser automatisch in die Position «EIN» zurück.
4.4 HEBEL DER FESTSTELLBREMSE
Die Feststellbremse verhindert, dass sich die Maschine in Parkstellung bewegt. Der Bremshebel hat die folgenden zwei Positionen:
A
=Bremse nicht angezogen
《B》
=Bremse angezogen
- Um die Feststellbremse einzulegen, muss das Pedal (4.21 oder 4.31) ganz durchgedrückt und der Hebel in die Position "B" gebracht werden. Wenn man den Fuß vom Pedal nimmt, bleibt these unsen und wird in dieser Stellung blockiert.
- Um die Feststellbremse zu offen, ist erneut das Pedal (4.21 oder 4.31) zu drücken und der Hebel gehen in Position «A» zurück.
4.5 SCHALTER FÜR SCHEINWERFER ( wenn vorgesehen)
Schalter zum Einsatz der Scheinwerfer, wenn sich der Zündschlüssel (4.3) in der Position «EIN» befindet.
4.6 KONTROLLLAMPE UND AKUSTISCHE SIGNALEINRICHUNG
These Kontrollampe leuchtet, wenn sich der Schlüssel (6) in der Position «EIN» befindet, und sie leuchtet während des Betriebs ständig.
- Wenn sie blinkt, zeit ist dies an, dass eine Voraussetzung zum Anlassen des Motors fehlt (5.2).
- Das akustische Signal weist daraufhin, dass der Auffangsack gefüllt ist (5.4.6).
4.7 HEBEL ZUM EINSCHALTEN UND ABBREMSEN DER MESSER
Der Hebel hat zwei Stellungen, die auf einem Schild angezeigt sind und folgenden bedeuten:
一 «A» = Messer ausgeschaltet
B= Messer eingeschaltet
- Wenn die Messer eingeschelt werden, ohne dass die vorgesehenen Sicherheitsbedingungen erfüllt sind, schaltet sich der Motor aus und kann nicht angelassen werden (5.2).
- Beim Ausschalten der Messer (Position "A") wird gleichzeitig ein Bremsvorgang ausgelöst, welche die Messer in weniger Sekunden zum Stillstand bringt.
4.8 HEBEL ZUR REGULIERUNG DER SCHNITTHOHE
Dieser Hebel hat sieben Stellungen, die auf einem Schild mit den Zahlen von «1» bis «7» angezeigt sind, die ebenso vielen Schnitthöhen zwischen 3 und 8 cm entsprechen.
- Um von einer Position in eine andere zu wechseln, muss zum Entsperren der Druckknopf am Ende des Hebels gedrückt werden.
4.9 HEBEL ZUM KIPPEN DES AUFFANGSACKS
Dieser Hebel, der aus seinem Sitz Herausgezogen werden kann, erlaubt es, den Auffangsack zum Entleeren zu kippen und erreichtert somit die Arbeit des Benutzers.
Bei Modellen mit mechanischem Antrieb:
4.21 KUPPLUNGS-/BREMSPEDAL
Dieses Pedal hat eine Doppelfungktion: Im ersten Teil des Pedalwegs wirkt es als Kupplung und schaltet den Antrieb der Räder ein oder aus, und im zweiten dient es als Bremse, die auf die Hinterräder wirkt.
WICTIG
Pedal zum Kuppeln nicht zu lange durchtreten, um eine Überhitzung und damit Beschädigung des Treibriemens zu vermeiden.

ANMERKUNG
Während der Fahrt, den Fuß nicht auf dem Pedal abstützen.
4.22 GANGSCHALTHEBEL
Dieser Hebel hat sieben Stellungen, fünf für Vorwärtsgänge, eine Stellung für den Leerlauf «N» und eine für den Rückwärtsgang «R».
Um von einem Gang in den anderen zu schalten, das Pedal (4.21) den halben Weg durchtreten und den Hebel entsprechend der Markierungen verstehen.

ACHTUNG!
Zum Einlagen des Rückwärtsgangs, muss die Maschine n.
Bei Modellen mit hydrostatischem Antrieb:
4.31 BREMSPEDAL
Dieses Pedal betätigtdie Bremse der hinteren Rader.
4.32 ANTRIEBSPEDAL
Mit Hilfe theseps Pedals wird der Antrieb auf die Rader übertragen und die Geschwindigkeit der Maschine im Vorwarts- wie im Rückwartsgang reguliert.
- Um den Vorwärtsgang einzulegen, drückt man mit der Fußspitze in Richtung «F»; verstärkt man den Druck auf das Pedal, erhöht man progressiv die Geschwindigkeit der Maschine.
Um den Rückwärtsgang einzulegen, drückt man mit dem Absatz in Richtung «R». - Lásst man das Pedal los, kehrt desses automatisch in die Leerlaufposition «N» zurück.

ACHTUNG!
Das Einlagen des Rückwärtsganges muss im Stillstand erfolgen.
ANMERKUNG
Wenn das Antriebspedal im Vorwärts- wie im Rückwärtsgang stellbremse (4.4) betätig wird, schaltet der Motor aus.
4.33 HEBEL ZUM ENTRIEGELN DES HYDROSTATISCHEN ANTRIEBS
Dieser Hebel hat zwei Positionen, die durch ein Schild gekennzeichnet sind:
«A» = Antrieb eingeschaltet: für alle Betriebszustände beim Fahren und während des Mahens;
«B» = Antrieb entriegelt: vermindert wesentlich die erforderliche Kraft, um die Maschine, bei ausgeschaltetem Motor, von Hand zu schiben.
WICTIG
Um Schäden an der Antriebsgruppe zu vermeiden, damit diese
Operation nur bei stillstehendem Motor mit dem Pedal (4.32) in der Position "N" ausgeführrt werden.
5. GEBRAUCHSANWEISUNG
5.1 EMPFEHLUNGEN FÜR DIE SICHERHEIT
GEFAHRI!
Benutzen Sie die Maschine ausschließlich für die Zwecke, für das ist (Mähen und Sammeln von Gras).
Die Sicherheitseinrichtungen, mit denen die Maschine ausgestattet ist,)dürfen nicht verändert oder entfernt werden. SEIEN SIE SICH STETS BEWUSST, DASS DER BENUTZER IMMER FÜR DRITTEN Zugefugte SCHÄDEN VERANTWORTLICH IST. Ehe die Maschine benutzt wird:
- die allgemeinen Sicherheitsvorschriften lessen (1.2), mit besonderer Aufmerksamkeit die über das Fahren und Mähen am Hang;
- die Gebrauchsanweisungen aufmerksam lesen, sich mit den Bedienungseinrichtungen vertraut machen und damit, wie man Motor und Messer schnell ausschaltet;
- sich nicht mit Händen oder Fußen den rotierenden Teilen von der Seite oder von unten nahern und sich immer von der Auswurföffnung fernhalten.
Die Maschine nicht benutzen, wenn man sich in schlechtem gesundheitlich zum Zustand befindet oder unter dem Einfluss von Arzneimitteln oder anderen Substanzen stehen, welche die Reflexe oder die Koncentration vermindern konnen. Es gehört zum Verantwortungsbereich des Benutzers, potentielle Risiken des Geländes, auf dem gearbeitet wird, einzuschätzen. Außer dem muss er alle erforderlichen Vorsichtsmaßnahmen für seine eigene Sicherheit und die der andern ergreifen, insbesondere an Hängen, auf unebenem, rutschigem oder nicht festem Gelände. Die Maschine nicht mit laufendem Motor im hohen Gras stehen给你们, um Brandgefahr zu vermeiden.
ACHTUNG!
These Maschine darf nicht an Hängen mit einer Steigung
eingesetzt werden, die größer ist als 10^ (17%) (5.5). Falls ein Einsatz überwiegend an Hängen (niemals über 10^ ) vorgesehen ist, ist es zweckmäßig, unter dem Querträger der Vorderräder Gegengewichtte (Lieferung auf Wunsch 8.1) anzubringen, um die Stabilität vorne zu vermöbern und die Möglichkeit des Aufbaumens zu vermindern
WICTIG
Alle Hinweise, die sich auf die Positionen der Bedienungseinrichtun-
gen beziehen, sind im Kapitel 4 dargestellt.
5.2 KRITERIEN FÜR DAS AUSLOSEN DER SICHERHEITSEINRICHTTUNGEN
Die Sicherheitseinrichtungen offen nach zwei Kriterien aus:
-
Verhinderns des Anlassens des Motors, wenn nicht alle Voraussetzungen für die Sicherheit gegeben sind;
-
Ausschalten des Motors, wenn auch nur eine der Voraussetzungen für die Sicherheit fehlt.
a) Um den Motor anzulassen, müssen in jedem Fall: -
die Gangschaltung im "Leerlauf" stehen;
- die Messer ausgeschaltet sein;
- der Benutzer auf dem Sitz der Maschine sitzen oder die Feststellbremse angezogen sein.
b) Der Motor wird ausgeschaltet, wenn:
- der Benutzer den Sitz verlässt und die Messer eingeschaltet sind;
- der Benutzer den Sitz verlüssst und der Antrieb nicht im "Leerlauf" stehen;
- der Benutzer den Sitz mit dem Antrieb im "Leerlauf" verlást, aber die Feststellbremse nicht angezogen ist;
- bei eingeschalteten Messern der Auffangsack angehoben oder das Prallblech abgenommen wird;
- die Feststellbremse ist angezogen, ohne dass die Messer ausgeschaltet sind.
Die folgende Tabelle gibt einige Betriebssituationen mit den wesentlichen Gründen für das Auslösen wieder.
| BENUTZER | AUFFANGSACK | MESSER | GANG | BREMSE | MOTOR |
| A) ANLASSEN (Zündschlüssel in Position «STARTEN») | |||||
| Sitzt | Ohne Einfluss | Ausgeschaltet | 1....5 - F/R | Angezogen | Läuft NICT an |
| Sitzt | Ohne Einfluss | Eingeschaltet | «N» | Angezogen | Läuft NICT an |
| Abwesend | Ohne Einfluss | Ausgeschaltet | «N» | Gelöst | Läuft NICT an |
| B) BEIM MÄHEN (Zündschlüssel in Position «EIN») | |||||
| Abwesend | JA | Eingeschaltet | Ohne Einfluss | Angezogen | Stellt ab |
| Abwesend | Ohne Einfluss | Ausgeschaltet | 1....5 - F/R | Gelöst | Stellt ab |
| Abwesend | JA | Ausgeschaltet | «N» | Gelöst | Stellt ab |
| Sitzt | NEIN | Eingeschaltet | Ohne Einfluss | Gelöst | Stellt ab |
| Sitzt | JA | Eingeschaltet | Ohne Einfluss | Gelöst | Stellt ab |
5.3 VORBEREITUNGEN VOR ARBEITSBEGINN
Vor dem Beginn der Arbeit muss man eine Reihe von Prüfungen und Operationen durchführren, um sicherzustellen, dass die besten Ergebnisse erzielt und maximale Sicherheit erreicht wird.
5.3.1 EINSTELLUNG DES SITZES
Um die Position des Sitzes zu verändern, muss man die vier Befestigungsschrauben (1) offen und den Sitz entlang der Ölden der Halterung verschieben.
Nachdem man die gewünschte Position gefunden hat, die Schrauben (1) festziehen.

5.3.2 REIFENDRUCK
Der korrekte Reifendruck ist eine wesentliche Voraussetzung für die Ausrichtung der Mahwerks und folglich, um einen gleichmäßig geschnittenen Rasen zubekommen.
Die Schutzkappen ausschrauben und die Ventile mit einem Druckluftanschluss verbinden, der mit einem Druckmesser versehen ist.
Die Drücke müssen wie folgt sein:
VORNE
1.5 bar
HINTEN
1.2 bar

5.3.3 TANKEN UND ÖL EINFÜLLEN
ANMERKUNG
Die zu verwendenden Benzin- und Öltypen sind in der Gebrauchs-
anweisung des Motors angezeigt.
Bei abgestelltem Motor den Stand des Motoröls prufen. Gemäß den genauen Angaben im


Handbuch des Motors muss der Ölstand zwischen den Markierungen MIN und MAX des Messstabs liegen.
Unter Verwendung eines Trichters den Tank mit Kraftstoff füssen. Dabei ist darauf zu achten, dass der Tank nicht ganz gefällt wird. Der Tankinhalt beträgt rund 5,5 Liter
GEFAHRI!
Das Tanken muss bei abgestelltem Motor an einem freien und
gut belufteten Ort erfolgen. Man muss sich stets bewusst sein, dass Benzindämpfe brennbar sind! KEINE FLAMMEN IN DIE NÄHE DER TANKÖFFNUNG BRINGEN, UM DEN TANKINHALT ZU PRÜFEN, UND WÄHREND DES TANKENS NICT RAUCHEN.
WICTIG
Vermeiden, Benzin über die Kunststoffeile zu verschütten, um diese den; bei versehentlichem Verschüttten.sofort mit Wasser abspullen.
5.3.4 EINBAU DES AUSWURFSCHUTZES (AUFFANGSACK ODER PRALLBLECH)
ACHTUNG!
Niemals die Maschine
ohne eingebauten Auswurfschutz verwenden!
Den Auffangsack (1) in die Halter (2) einhaken und in Bezug auf dieindhere Platte so zentrieren, dass die zwei Bezugspunkte (3) übereinstimmen.
Die Zentrierung wird dadurch sichergestellt, dass man den rechten Halter als seitliche Stütze benutzt. Sich vergewissern, dass sich das untere Rohr der Auffangsacköffnung in den darauf bestimmten Haken der Feststellvorrichtung (4) einhalt.

Falls man ohne Auffangsack arbeiten will, steht auf Wunsch ein Kit Prallblech (8.2) zur Verfügung, das, wie in den entsprechenden Anweisungen gezeigt, auf der hinteren Platte zu befestigen ist.

5.3.5 KONTROLLE DER LEISTUNGsfähigkeit DER SICHERHEITSSYSTEME
Die Leistungsfähigkeit der Sicherheitssysteme ist durch Simulation der aufgelisteten Situationen des Auslösens (5.2) zu überprüfen. Dazu ist zu kontrollieren, ob in jeder aufgeführten Situation die angezeigte Wirkung erzielt wird.
5.3.6 KONTROLLE DES BREMSYSTEMS
Sich vergewissern, dass die Bremsleistung der Maschine den Einsatzbedingungen entspricht, und nicht mit der Arbeit beginnen, wenn Zweifel über die Bremsleistung bestehen.
Falls Zweifel über die Bremsleistung verbleiben, ist ein Autorisiertes Kundendienstzentrum zu konsultieren.
5.3.7 KONTROLLE DER MESSER
Prüfen, ob die Messer gut geschärft und an den betreffenden Naben zuverlässig befestigt sind.
- Ein schlecht geschärftes Messer reiBt das Gras und verursacht ein Vergilben des Basens.
- Ein gelockertes Messer verursacht nicht normale Vibrationen und kann Gefahren hervorrufen.
5.4 GEBRAUCH DER MASCHINE
5.4.1 ANLASSEN
GEFAHRI!
Das Anlassen hat im Freien oder an einem gut belufteten Ort zu USS SICH IMMER BEWUSST SEIN, DASS DIE ABGASE DES SIND!
Um den Motor anzulassen:
- den Benzinhahn (1) (▷ wenn vorgesehen) öffnen;
- den Schalthebel in die Leerlaufstellung («N») (4.22 oder 4.32) bringen;
- die Messer ausschalten (4.7);
- an Hängen die Feststellbremse anziehen;
- bei kaltem Motor den Gashebel in die auf dem Schild angegebene Stellung «CHOKE» bringen;
- bei bereits warmem Motor genutzt es, den Hebel zwischen «LANGSAM» und «SCHNELL» zu stellen;
- den Zündschlüssel in das Zündschloss stecken, in die Stellung «EIN» drehen, um den Stromkreis einzuschalten, und schließlich in die Stellung «STARTEN» bringen, um den Motor anzulassen;
- Den Zündschlüssel nach dem Anspringen des Motors loslassen.

Wenn der Motor lauft, den Gashebel in die Stellung «LANGSAM» bringen.
WICHTIG
Der Starter-Knopf muss ausgeschelt werden, sobald sich der
Motor normal dreht. Seine Betätigung bei bereits warmem Motor kann die Zündkerze verschmutzen und unregelmäßigen Lauf des Motors zur Folge haben.
ANMERKUNG
Falls beim Anlassen Schwierigkeiten auftreten sollenten, den Anlasser
nicht zu lange betätigten, um zu vermeiden, dass sich die Batterie entländt und der Motor absäuft. Den Zündschlüssel in die Stellung «STOP» zurückstellen, einige Sekunden warten und dann den Vorgang wiederholen. Falls die Störung andauern sollen, verweisen wir auf Kapitel «7» des vorliegenden Handbuchs und auf die Gebrauchsanweisung des Motors.
WICTTIG
Immer beachten, dass die Sicherheitseinrichtungen ein Anlassen
des Motors verhindern, falls die Sicherheitsbedingungen nicht eingehalten werden (5.2).
In diesen Fällen muss man, nach dem die Voraussetzungen für das Anlassen geschaffen worden sind, den Zündschlüssel in die Stellung «STOP» zurückstellen, ehe man den Motor erneut anlässt.
5.4.2 FAHREN DER MASCHINE
ACHTUNG!
These Maschine ist zum Fahren auf öffentlichen Straßen nicht anders gesatz (im Sinne der Straβenverkehrrsordnung) darf als privatem Gelände erfolgen, welche dem öffentlichen Verkehr nicht zu fest.
ANMERKUNG
Während des Fahrens mussen die Messer ausgeschelt sein und sich in die obersten Stellung (Position «7») befinden.
Bei Modellen mit mechanischem Antrieb:
- Den Gashebel in eine Stellung zwischen «LANGSAM» und «SCHNELL» und den Schalthebel in die Stellung des 1. Gangs bringen (4.22).
- Bei ganz durchgetretenem Pedal die Feststellbremse losen, das Pedal langsam loslassen, wobei es von der Funktion "Bremsen" in die Funktion "Kuppeln" gewechselt wird und die Hinterträder angetrieben werden (4.21).
ACHTUNG!
Das Loslassen des Pedals muss allmählich erfolgen, um zu
vermeiden, dass ein zu ruckartiges Einkuppeln zum Aufbaumen der Maschine oder zum Verlust der Kontrolle führt.
- Durch Betätigung des Gashebels und Wechseln der Gänge wird allmählich die gewünschte Geschwindigkeit erreicht. Um den Gang zu wechseln, muss das
- Kupplungspedal den halben Weg durchgetreten und der gewünschte Gang eingelegt
- werden (4.21).
Bei Modellen mit hydrostatischem Antrieb:
- Beim Fahren die Schaltung des Beschleunigers in eine Position zwischen «LANGSAM» und «SCHNELL» bringen.
Die Feststellbremse losen und das Pedal loslassen (4.31). -
Den Hebel zur Regulierung der Geschwindigkeit (4.32) in Richtung «F» verstellen
und durch zweckmäßige Betätigung des Schalthebels und des Beschleunigers die
gewünschte Geschwindigkeit erreichen. -
ACHTUNG! Die Betätigung des Hebels muss stufenweise erfolgen, um zu vermeiden, (4.32) dass ein zu plötzliches Einlagen des Antriebs auf die Räder ein Aufbaumen und den Verlust der Kontrolle über das Fahrzeug verursacht.
5.4.3 BREMSEN
Zuerst durch Verminderung der Motordrehzahl die Geschwindigkeit der Maschine verlangsamen, dann das Bremspedal (4.21 oder 4.31) drücken, um die Geschwindigkeit weiter zu verlangsamen, bis die Maschine anhalt.
Bei Modellen mit hydrostatischem Antrieb:
ANMERKUNG Bereits beim Loslassen des Antriebspedals erzielt man eine spürbare Verlangsamung der Maschine.
5.4.4 RÜCKWARTSGANG
Der Rückwärtsgang DARF NUR bei stehender Maschine eingelegt werden.
Bei Modellen mit mechanischem Antrieb:
- Das Pedal solange betätigten, bis die Maschine anhalt. Um den Rückwärtsgang einzulegen, den Schaltebel seitlich versetzen und in die Stellung «R» (4.22).
- bringen. Das Pedal allmählich zurücknahmen, um einzukuppeln und die Fahrt ruckwärts zu beginnen.
Bei Modellen mit hydrostatischem Antrieb:
- Um nach dem Anhalten der Maschine den Rückwärtsgang einzulegen, den Hebel zur Regulierung der Geschwindigkeit in Richtung Position «R» bringen (4.32).
5.4.5 GRAS MAHEN
Um mit dem Mähen zu beginnen:
- den Gashebel in die Stellung «SCHNELL» bringen;
- das Mahwerk in die höchste mögliche Stellung bringen;
-
die Messer einschalten (4.9);
-
die Vorwärtsfahrt auf dem mit Gras bewachsenen Bereich stufenweise und vorsichtig beginnen, wie zuvor bereits beschrieben;
- die Fahrgeschwindigkeit und die Schnitthöhe (4.8) entsprechend des Zustands des Rasens (Höhe, Dichte und Feuchtigkeit des Grases) einstellen. Für ebene Böden können die folgenden Faustregeln gelten:
Hohes und dichtes Gras - feuchter Rasen
Durchschnittliche Bedingungen
Niedriges Gras - trockener Rasen
2 km/h
3,5 ... 5,5 km/h
über 5,5 km/h
Bei Modellen mit hydrostatischem Antrieb:
Die Anpassung der Geschwindigkeit erzielt man durch stufenweise und progressive
Veränderung des auf das Antriebspedal ausgeübten Drucks.
ACHTUNG!
- Beim Mähen an Hängen muss man die Fahrgeschwindigkeit der Voraussetzungen für die Sicherheit zu erfällen (1.2 - 5.5).
In jedem Fall muss man die Geschwindigkeit jeder Mal dann vermindern, wenn man ein Abfallen der Motordrehzahl feststellt. Man muss sich bewusst sein, dass man niemals einen eigenen Schnitt des Rasens erzielt, wenn die Fahrgeschwindigkeit in Bezug auf die Menge des zu mahenden Grases zu hoch ist.
Wenn es erforderlich wird, ein Hindernis zu überwinden, muss man die Messer ausschalten und das Mahwerk in die hochste mögliche Position bringen.
5.4.6 ENTLEEREN DES AUFFANGSACKS
ANMERKUNG
Das Entleeren des Auffangsacks kann nur bei ausgeschalteten
Messern durchgefuhrt werden, andernfalls wurde der Motor abschalten.
Den Auffangsack nicht zu voll werden让他们, um zu vermeiden, dass der Auswurfkanal verstopft wird.
Ein akustisches Signal zeigt an, wenn der Auffangsack gefüllt ist. Dann muss man:
- die Motordrehzahl vermindern;
- in die Leerlaufstellung (N) (4.22 mechanische Modèle oder 4.32 hydrostatische Modèle) stellen und anhalten;
-
die Messer ausschalten (4.7) dann bricht das Signal ab;
-
an Hängen die Feststellbremse anziehen;
- den Hebel (1) Herausziehen und den Aufgangsack umkippen, damit er sich entleert;
- den Auffangsack wieder so verschreiben, dass er in den Haken der Feststellvorrichtung (2) eingehakt bleibt.
ANMERKUNG
Es kann vorkommen, dass
nach dem Entleeren des Auffangsacks das akustische Signal beim Einsatzen der Messer wieder ertönt, weil auf dem Kontakt des Mikroschalters (3) für das Signal Grasreste verblieben sind. In thisem Fall genügt es, die Messer auszuschalten und gleich wieder einzuschalten, damit das Signal aufhört.
Den Taster (3) stets von Grasablagerungen freihalten.


5.4.7 ENTLEEREN DES AUSWURFKANALS
Das Mähen von hohem und nassem Gras kann in Verbindung mit einem zu schellen Vorschub ein Verstopfen des Auswurfkanals verursachen. In dieser Fall muss man:
- die Maschine anhalten, die Messer ausschalten und den Motor abstellen;
- den Auffangsack oder das Prallblech abnehmer;
- das angesammelte Gras von der Austrittsöffnung des Kanals aus entfernen.
ACHTUNG!
These Arbeit muss immer bei abgestelltem Motor erfolgen.
5.4.8 BEENDIGUNG DES MAHENS
Nach dem Mähen die Messer ausschalten, die Motordrehzahl vermindern und die Rückfahrmt mit dem Mähwerk in der hochstmöglichen Stellung zurücklegen.
5.4.9 BEENDIGUNG DER ARBEIT
Die Maschine abstellen, den Gashebel in die Position «LANGSAM» stellen und den Motor durch Drehen des Zündschlüssels in die Stellung «STOP» ausschalten. Nach dem Ausschalten des Motors den Benzinhahn (1) (®, wenn vorgesehen) schlieben.

ACHTUNG!
Vor dem Ausschalten des Motors
der Gashebel 20 Sekunden lang in die Stellung "LANGSAM" zu bringen, um mögliche Fehlzündungen zu vermeiden.
ACHTUNG!
Stets den Zündschlüssel abziehen, ehe die Maschine
unbewacht abgestellt wird!
WICHTIG
Um die Ladung der Batterie zu erhalten, den Schlüssel nicht in
Position «EIN» -Stellung setzen wenn der Motor nicht lauft.
5.4.10 REINIGUNG UND EINLAGERUNG
Nach jedem Gebrauch ist die Maschine außen zu reinigen, der Auffangsack zu leeren und auszuschütteln, umihn von Gras- und Erdresten zu befrei.
ACHTUNG!
Den Aufangsack immer leeren und kein gemähtes Gras in
Behaltern im Innern eines Raumes belassen.
Die Kunststoffe der Karosserie mit einem mit Wasser und Waschmittel angefeuchteten Schwamm abreiben. Dabei ist darauf zu achten, dass der Motor, die Bauteile der elektrischen Anlage und die elektronische Steuerkarte unter dem Armaturenbrett nicht feucht werden.
WICTIG
Keine Druckdusen oder aggressive Flüssigkeiten zum Waschen der
Karosserie und des Motors benutzen
Das Auswaschen des Mahwerks und des Auswurfkanals muss auf festem Boden durchgefuhrt werden, wobei:
- der Auffangsack oder das Prallblech montiert sein müssen;
- der Benutzer aufsitzt;
- der Motor lauft;
- die Schaltung auf Leerlauf gestellt ist;
- die Messer eingeschaltet sind.
Einen Wasserschlauch an die damit bestimmten Anschlüsse (1) anschließen. Man{lsst an jedem Anschluss eine Minute lang bei sich drehenden Messern Wasser durchflieBen.
Während des Waschens ist das Mahwerk zweckmäßigerweise ganz abgesenkt. Dann den Aufgangsack abnehmer, leeren, auswaschen und wieder so aufsetzen, dass er schnell trocknen kann.

Die Maschine an einen trockenen, vor Witterungseinflüssen geschützten Ort abstellen und, wenn möglich, mit einer Plane abdecken (8.4).
5.4.11 EINLAGERUNG FÜR LÄNGERE ZEIT
Wenn man eine langere Zeit der Stillegung vorsieht (mehr als 1 Monat), muss man die Batteriekabel abklemmen und die Anweisungen im Handbuch des Motors befolgen. Außer dem sind alle Gelenkteile nach den Anweisungen (6.2.1) zu schmieren.
ACHTUNG!
Ablagerungen von trockenem Gras, die sich in der Höhe des
Motors und des Auspuffs anammeln können, sorgfältig beseitigen, um zu vermeiden, dass bei der Wiederaufnahme der Arbeit eventuell ein Brand ausgelost wird!
Den Kraftstofftank leeren. Dazu muss man das Rohr am Eintritt des Benzinfilters (1) lösen und die Anweisungen im Handbuch des Motors befolgen.

WICTIG
Die Batterie muss an einem
kühlen und trockenen Ort aufbewahrt werden. Vor einer längeren Zeit der Stillegung (mehr als 1 Monat) die Batterie immer aufladen und sie erneut laden, bevor die Tätigkeit wieder aufgenommen wird (6.2.5).
Bei der Wiederaufnahme der Arbeit darauff. achten, dass an den Leitungen, am Benzinhahn und dem Vergaser keine undachten Stellen auftreten.
5.4.12 VORRICHUNG ZUM SCHUTZ DER ELEKTRONISCHEN STEUERKARTE
Die elektronische Steuerkarte ist mit einer Schutzvorrichtung mit automatischer Rückstellung versehen, die den Stromkreis bei Störungen der elektrischen Anlage unterbricht. Das Auslösen verursacht das Abstellen des Motors und wird durch das Ausschalten der Kontrollampe angezeigt.
Nach einigen Sekunden baut sich der Stromkreis automatisch wieder auf; die Störungsursachen sind festzustellen und zu beseitigen, um zu vermeiden, dass die Vorrichtung erneut anspricht.
WICHTIG
Um das Ansprechen der Schutzvorrichtung zu vermeiden:
- die Polarität der Batterie nicht vertauschen;
- die Maschine nicht ohne Batterie in Betrieb besteht, um keine Betriebsstörungen des Ladereglers zu verursachen;
- darauf achten, dass kein Kurzschluss verursacht wird.
5.4.13 ZUSAMMENFASSUNG DER WESENTLICHEN MABNAHMIEN IN VERSCHIEDENBETRIEBSSITUATIONEN
| Um ... | muss man ... |
| den Motor anzulassen (5.4.1) | den Benzinhahn öffnen, die Bedingungen für das Anlassen herstellen und den Zündschlüssel betätigten. |
| vorwärts zu fahren (5.4.2) | den Gashebel verstellen;Bei Modellen mit mechanischem Antrieb: das Pedal vollständig durchreten, den Gang einlagen (4.22) und das Pedal langsam loslassen;Bei Modellen mit hydrostatischem Antrieb: Das Antriebspedal nach vorne drücken (4.32); |
| zu bremsen oder anzuhalten (5.4.3) | die Motordrehzahl vermindern und die Bremse betätigten. |
| Rückwärts zu fahren (5.4.4) | die Maschine anhalten;Bei Modellen mit mechanischem Antrieb: Auf Leerlauf (N) schalten, das Pedal vollständig durchreten, den Rückwärts-gang einlagen (4.22) und das Pedal langsam loslassen;Bei Modellen mit hydrostatischem Antrieb: das Antriebspedal nach hinten drucken (4.32). |
| Gras zu mühen (5.4.5) | Den Auffangsack oder das Prallblech montieren, und den Gashebel verstellen;die Messer einschalten und die Schnitthöhe einstellen;Bei Modellen mit mechanischem Antrieb: Das Pedal vollständig durchreten, den Gang einlagen (4.22) und das Pedal langsam loslassen;Bei Modellen mit hydrostatischem Antrieb: Das Antriebspedal nach vorne drucken (4.32); |
| den Aufgangsack zu leeren (▶ 5.4.6) | anhalten, die Messer ausschalten und den Hebel zum Kippen des Aufgangsacks betätigten. |
| die Verstopfung des Auswurfkanals zu begeben (▶ 5.4.7) | anhalten, die Messer ausschalten und den Motor abstellen; den Aufgangsack abnehmer und den Kanal reinigen. |
| das Mühen zu beenden (▶ 5.4.8) | die Messer ausschalten und die Motordrehzahl vermindern. |
| den Motor abzuschalten (▶ 5.4.9) | die Motordrehzahl vermindern, einige Sekunden warten, den Zündschlüssel zurückdrehen und den Benzinhann schließen. |
| die Maschine abzustellen (▶ 5.4.10) | die Feststellbremse anziehen, den Zündschlüssel abziehen, erforderlichenfalls die Maschine, das Innere des Mühwerks, den Auswurfkanal und den Aufgangsack waschen. |
5.5 BETRIEB AN HÄNGEN
Mit Rücksicht auf die angezeigten Grenzden der Steigung (max. 10^ - 17% ) muss an Hängen in Richtung des Gefälles aufwärts/abwärts und darauf nicht quer gefahren werden. Bei Richtungswechsel ist sehr darauf zu achten, dass die Hang aufwärts gerichteten Räder nicht auf Hindernisse stoßen (Steine, Åste, Wurzeln usw.), die ein seitliches Abrutschen, Umstürzen oder den Verlust der Kontrolle über die Maschine verursachen konnten.

GEFAHR!
VOR JEDEM RICHTUNGSECHSEL AM HANG IST DIE
GESCHWINDIGKEIT ZU VERMINDERN und, wenn man die Maschine abstellt und unbewacht{lsst, ist immer die Feststellbremse anzuziehen.
ACHTUNG!
An Hängen mit besonderer Vorsicht auffahren, um ein
Aufbaumen der Maschine zu vermeiden. Vor dem Bergabfahren, Fahrgeschwindigkeit verringn, besonderss bei Bergabfahrten.
GEFAHR!
Niemals den Rückwärtsgang einschalten, um bei
Bergabfahrten die Geschwindigkeit zu reduzieren: Hierdurch konnte man die Kontrolle über die Maschine verlieren, besonderss auf rutschigen Böden.
Bei Modellen mit mechanischem Antrieb:
GEFAHRI!
Bergab niemals mit dem Schalthebel in Leerlaufstellung
oder ausgekuppelt fahren. Immer einen niedrigen Gang einlagen, wenn man die Maschine abstellt und unbewacht lässt.
Bei Modellen mit hydrostatischem Antrieb:
- Bergabfahrten sind ohne Betätigung des Antriebspedals (4.32), zu fahren, um die
- Bremswirkung des hydrostatischen Antries zu nutzen, wenn das Getriebe nicht
eingeschaltet ist.
5.6 TRANSPORT
ACHTUNG!
Wenn die Maschine auf einem Lastwagen oder auf einem
Anhänger transportiert werden muss, geeignete Hebevorrichtung verwenden und eine dem Gewicht und dem Hebevorgang entsprechende Anzahl Personen einsetzen. Die Maschine darf niemals mit Seilen und Flaschzügen gehoben werden. Wahrend des Transports den Benzinhahn (because vovgesehen) schreiben, das Mahwerk absenken, die Feststellbremse anziehen und die Maschine auf dem Transportmittel mit Seilen oder Ketten auf geeignete Weise sichern.
5.7 EINIGE RATSCHLÄGE FÜR EINEN GUTEN SCHRITT
- Um ein gutes, grüne und weiches Aussehen des Rasens zu erhalten, muss man gleichmäßig mAHen, ohne das Gras zu reiBen.
- Es ist immer empfehlenswert, das Gras zu mahren, wenn es trocken ist.
- Die Messer müssen in gutem Zustand und gut geschliffen sein, damit der Schnitt sauber wird, ohne Fransen, die zu einem Vergilben der Spitzen führen wurden.
- Der Motor muss mit maximaler Drehzahl laufen, um einen sauberen Schnitt des Grases zu erzielen und um dem geschrittenen Gras einen wirkungsvollen Schub durch den Auswurfkanal zu verliehen.
-
Die Mähfrequenz muss im Verhältnis zum Wachstum des Grases erfolgen, um zu vermeiden, dass das Gras zwischen einem Schnitt und dem andern zu stark wachst.
-
In den warmen und trockenen Jahreszeiten ist es zweckmäßig, das Gras etwasHigher wachsen zu halten, um das Austrocknen des Bodens zu vermindern.
- Wenn das Gras sehr hoch ist, ist es better, in zwei Durchgängen in einem Abstand von einem Tag zu mAHen, den ersten mit den Messern in maximaler Höhe und eventuell reduzierter Schnittbreite, den zweiten in der gewünschten Höhe.
- Das Aussehen des Rasens wird better, wenn die Schnitte in wechselnden Richtungen ausgeführrt werden.
- Wenn der Auswurfkanal mit Gras zu verstopfen droht, ist es angebracht, die Fahrgeschwindigkeit zu vermindern, Denn sie kann im Hinblick auf den Zustand des Rasens zu hoch sein. Wenn das Problem anhalt, sind schlecht geschärfte Messer oder verformte Messerflügel wahrscheinliche Ursachen.

- Besondere Vorsicht ist beim Mähen in bezug auf Straucher und die Höhe niedriger Bordsteine geboten, welche die waagrechte Ausrichtung der Mahwerks beeinträchtigen und deren Rand, sowie die Messer beschädigten konnten.
6. WARTUNG
6.1 EMPFEHLUNGEN FÜR DIE SICHERHEIT
ACHTUNG!
Vor jedem Eingriff zur Reinigung, Wartung oder Reparatur sind
der Zündschlüssel zuziehen und die entsprchenden Anweisungen zu lessen.
Zweckmäßige Kleidung anziehen und beim Ausbau und erneuten Einbau der
Messer sowie in allen Situationen, die Gefahren für die Höhe mit sich bringen,
Arbeitshandschuhe benutzen.
ACHTUNG!
Die Maschine niemals mit abgenutzten oder beschädigten
Bauteilen benutzen. Die abgenutzten oder verschlissenen Teile sind zu ersetzen
und dürfen niemals repariert werden. Nur Original-Ersatzteile verwenden: Teile
mit nicht gleichwertiger Qualität konnen die Maschine beschädigen und für ihre
eigene Sicherheit und die Sicherheit Dritter schädlich sein.
WICHTIG
Niemals verbrauchtes Öl, Benzin oder andere umweltschädigende
Stoffe in der Umwelt ausschüten.
6.1.1 SENKRECHT STELLEN DER MASCHINE
Die Maschine kann senkrecht gestellt werden, um erforderlichenfalls bequem zu den unteren Teilen Zugang zu finden.
ACHTUNG!
Die Maschine auf einem
festen und ebenen Boden abstellen und sich der Unterstützung von mindestens zwei
Personen bedienen, die in der Lage sind, die
Arbeit kompetent und sicher auszuführen.
Sich vergewissern, dass der Tank nicht mehr als 2
Liter Kraftstoff enthalt, und eine rund 120 mm
dicke Unterlage unter dieindhere Platte legen.
Die Maschine vorne haben. Dabei darauf auf achten,
dassman sie anPunkten festhalt,die einen
sicheren Halt bieten, und dann auf den
angezeigten Punkten abstützen. Außerdem ist
darauf zu achten, dass die Halter des
Auffangsacks nicht beschädigt werden.


GEFAHR!
Ehe irgendine Arbeit vorgenommen wird, muss man sich ver
gewissern, dass die Maschine stabil stehen. Vermeiden Sie Arbeiten, bei denen sie umfallen können.
6.2 PERIODISCHE WARTUNG
6.2.1 SCHMIERUNG UND ALLGEMEINE WARTUNG
Die Pläne befolgen, die die Punkte angegeben, die einer periodischen Überprüfung, Schmierung und Wartung zu unterziehen sind. Der Typ des zu verwendenden Schmiermittels und die zu beachtenden zeitlichen Abstände für die Arbeiten sind in den Plänen angezeigt.
a) Periodische Wartung (6.2.2)

STUNDEN
b) Schmierung
Bei Modellen mit mechanischem Antrieb:

Bei Modellen mit hydrostatischem Antrieb:

6.2.2 ANLEITUNG FÜR DIE VORGESEHENE WARTUNG
These Tabelle hat den Zweck, Ihnen zu halten, ihre Maschine leistungsfähig und sicher zu halten. In ihr sind die wichtigsten Operationen von Wartung und Schmierung mit Angaben der zeitlichen Abstände, in denen sie zu wiederholen sind, aufgeführt. Neben jeder Operation finden Sie eine Reihe von Kästchen, in die Sie das Datum oder die Zahl der Betriebsstunden, nach denen die Operation vorgenommen worden ist, eintragen können.
| AUSLOSEN STunden | AUSGEFÜHRT (DATUM / STDN) | |||||||
| 1. MASCHINE | ||||||||
| 1.1 Kontrolle Befestigung und Schäfte der Messer 25 | ||||||||
| 1.2 Auswechseln der Messer 100 | ||||||||
| 1.3 Kontrolle des Antriebsriemens 25 | ||||||||
| 1.4 Auswechseln des Antriebsriemens 2) | ||||||||
| 1.5 Kontrolle des Riemens zum Antrieb der Messer 25 | ||||||||
| 1.6 Auswechseln des Riemens zum Antrieb der Messer 2) | ||||||||
| 1.7 Kontrolle und Einstellung des Antriebs 10 | ||||||||
| 1.8 Kontrolle der Kupplung und der Bremse der Messer 10 | ||||||||
| 1.9 Kontrolle aller Befestigungen 25 | ||||||||
| 1.10 Allgemeine Schmierung 3) 25 | ||||||||
| 2. MOTOR 1) | ||||||||
| 2.1 Wechsel des Motoröls .... | ||||||||
| 2.2 Kontrolle und Reinigung des Luftfilters .... | ||||||||
| 2.3 Auswechseln des Luftfilters .... | ||||||||
| 2.4 Kontrolle des Benzinfilters .... | ||||||||
| 2.5 Auswechseln des Benzinfilters .... | ||||||||
| 2.6 Kontrolle und Reinigung der Kontakte der Zündkerze .... | ||||||||
| 2.7 Auswechseln der Zündkerze .... | ||||||||
1) Im Handbuch des Motors die komplette Beste und die zeitlichen Abstände für die Arbeiten einehen
2) Bei den ersten Anzeichen der Abnutzung bei einem Autorisierten Kundendienst auswechseln.
3) Die allgemeine Schmierung solle außer dem vor jedem lang anhaltenden Stillstand der Maschine ausgeführrt werden.
6.2.3 MOTOR
Die in der Gebrauchsanweisung des Motors angegebenen Vorschriften befolgen.
Zum Ablassen des Motoröls ist der Ablassstopfen (1) auszuschrauben. Beim erneuten Einschrauben ist auf die Lage der inneren Dichtung zu achten.

6.2.4 HINTERACHSE
Sie besteht aus einer geschlossenen Einheit und bedarf keiner Wartung. Sie unterliegt einer Dauerschmierung, die weder Auswechselns noch Nachfüllung bedarf.
6.2.5 BATTERIE
Es ist von grundlegend Bedeutung, eine akkurate Wartung der Batterie vorzunehmen, um sicherzustellen, dass sie eine lange Lebensdauer hat.
Die Batterie ihrer Maschine muss unbedingt geladen werden:
- bevor man die Maschine das ersten Mal nach dem Ankauf verwendet;
- vor jeder längeren Periode des Stillstands der Maschine.
-
vor der Inbetriebnahme nach einer längeren Periode des Stillstands.
-
Den Ladevorgang, der in dem der Batterie beiliegenden Handbuch beschrieben ist, bereits befolgen. Geschieht dies nicht oder wenn die Batterie nicht geladen wird, können die Elemente der Batterie dauerhafte Schäden erleiden.
- Eine entladene Batterie muss so bald wie möglich geladen werden
WICTTIG
Das Laden muss mit
einem Gleichstromgerät durchgeführt werden. Andere Ladesysteme können der Batterie Schäden zufügen, die nicht zu beheben sind.
Die Maschine ist mit einem Ladeanschluss (1) ausgestattet, der an den entspruchenden Anschluss des geeigneten Batterieladegerätes "CB01" anzuschreiben ist, das (▶ wenn

vorgesehen) mitgeliefert wird oder auf Anfrage verfügbar ist (8.5).
WICTIG
Dieser Ladeanschluss scarf nur fur die Verbindung mit dem
Batterieladegerät "CB01" verwendet werden. Für seine Verwendung:
- die Hinweise befolgen, die im Handbuch des Ladegerats aufgeführrt sind;
- die Hinweise befolgen, die im Handbuch der Batterie aufgeführrt sind.
6.3 KONTROLLER UND EINSTELLUNGEN
Zusammenfassung der wichtigsten Situationen, die ein Auslösen erforderlich machen können
| Jedes Mal, wenn ... | muss man ... |
| die Messer vibrieren | die Befestigung kontrollieren (▶ 6.3.1) oder auswuchten (▶ 6.3.1). |
| das Gras reiβt oder der Rasen vergilbt | die Messer schärfen (▶ 6.3.1). |
| der Schnitt unregelmäßig wird | die Ausrichtung des Mähwerks einstellen (▶ 6.3.2). |
| das Einschalten der Messer unregelmäßig erfolgt | den Regler der Kupplung einstellen (▶ 6.3.3). |
| die Maschine nicht bremst | Die Bremse überprüfen (▶ 6.3.4). |
| die Fahrgeschwindigkeit unregelmäßig ist | die Feder des Spanners einstellen (▶ 6.3.5). |
6.3.1 AUSBAU, SCHÄRFEN UND AUSWUCHTEN DER MESSEER
Prufen, ob das Messer gut geschärft und fest in seinem Lager befestigt ist.
- Ein schlecht geschärftes Messer reiBt das Gras und verursacht ein Vergilben des Rasens.
- Ein gelockertes Messer verursacht nicht normale Vibrationen und kann Gefahren hervorrufen.
ACHTUNG!
Alle Arbeitsen, die die Messer betreffen (Ausbau, Schärfen,
Ausbuchten, Einbau und/oder Auswechseln), sind aufwändige Arbeiten, die außer der Verwendung spezieller Werkzeuge auch ein bestimmtes Fachkonnen erfordern. Außer Sicherheitsgründen müssen diese Arbeiten dazu im einem Fachbetrieb ausgeführten werden, wenn die entsprechenden Geräte oder das erforderliche Fachwissen nicht vorliegt.
ACHTUNG!
Be der Handhabung der Messer feste Handschuhe anziehen.
Um ein Messer auszubauen, es gut festhalten und die Zentralschraube (1) in der durch Pfeil für jedem Messer angezeigten Richtung ausschrauben, weil die eine Befestigungsschraube ein Rechtsgewinde, die andere ein Linksgewinde hat.

Beide Schneidkanten mit einem Schleifstein mittlerer Körnung schärfen und die Auswuchung des Messers prüfen. Dazu ist das Messer mit einem Rundstahl 18 mm, der in die Zentralbohrung eingeführt wird, auszubalancieren.
ACHTUNG!
Beschädigte oder verbogene Messer sind immer auszuwechselen, sie zu reparieren! STETS ORIGINALMESSER MIT DER ENDEN!
ACHTUNG!
Die Messer untersuchen sich voneinander und rotieren ge- n Einbau sind die Positionen zu beachten. Dazu ist auf die auf- jedes Messers eingestempelte Codenummer Bezug zu behmen.
ACHTUNG!
Beim Einbau
ist in der angegebenen Reihenfolge vorzugehen und darauf zu achten, dass die Flügel der Messer zur Inneseite des Mähwerks ausgerichtet sind und dass
die konkave Seite des Sprengrings (1) gegen das Messer drückt. Die Befestigungsschrauben (2) mit einem Drehmomentschlüssel, der auf 45-50 Nm eingestellt ist, festziehen. Falls beim Ausbau der Messer eine oder beiden Naben (3) von der Welle abgezogen worden sein sollenn, muss man sich vergewissern, dass sich die Keile (4) richtig in ihren Sitzen befinden.


82004345/1 82004344/1
82004352/0 81004346/3
82004354/0 82004353/0
6.3.2 AUSRICHTEN DES MAHWERKS
Eine gute Einstellung des Mähwerks ist wichtig, um einen gleichmäßig gemähten Rasen zu erhalten.
ANMERKUNG
Um einen gute Schnitt zu erzielen, ist es in jedem Fall angebracht,
dass die vordere Seite im Vergleich zur hinteren immer um 5-6 mm tiefer liegt.
- die Maschine auf einer ebenen Fläche abstellen und prüfen, ob der Reifendruck stimmt;
- unter den vorderen Rand des Mähwerks Unterlagen (1) mit 26 mm und unter den hinteren Rand mit 32 mm (2) legen und dann den Hebel zum Heben in die Position «1» bringen;
- Den Regler (3), die Muttern (4 - 6 - 8) und die Gegenmuttern (5 - 7 - 9) der drei Gelenkschubstangen vollkommen losschrauben, bis sich das Mahwerk auf den Unterlagen abstutzt;
- die beiden oberen Muttern rechts (6 - 8) und dieunte Mutter links (4) einschrauben, bis man den Beginn des Anhebens des Mähwerks spürt; die drei Gegenmattern (5 - 7 - 9) sperren und den Regler (3) betätigten, bis das Steuerungskabel gut gespannt ist.
Ein Höhenunterschied des rechten und des linken Randes des Mahwerks zum Boden kann durch entsprechendes Verstellen der beiden Muttern (4 - 8) und der Gegenmuttern (5 - 9) nur der hinteren Schubstangen ausgeglichen werden.



Den Bedienungshebel in 2 oder 3 verschiedene Positionen stellen und kontrollieren, ob sich das Mähwerk gleichmäß anheit und ob der Höhenunterschied des vorderen und des hinteren Randes zum Boden konstant bleibt.
Wenn die vordere Seite dazu neigt, den Hub in Bezug auf die Position vorzuziehen oder zu verzöbern, kann die Bewegung durch zweckmäßiges Verstellen der Muttern (10) der Verbindungsstange (11) reguliert werden.
Durch Einschrauben der Muttern auf der Stange hebtsich die vordere Seite an und zieht den Hub vor, durch Ausschrauben der Muttern erzielt man die entgegengesetzte Wirkung. Stets daran denken, nach der Einstellung alle Muttern und Gegenmuttern zu sperren.
Falls man keine gute Einstellung erreicht, ist ein Autorisierter Kundendienst aufzusuchen.
6.3.3 EINSTELLUNG DER KUPPLUNG UND DER MESSERBREMSE
Wenn man den Hebel zum Ausschalten der Messer bedient, wird gleichzeitig eine Bremse betätig, die in einigen Sekunden die Messer zum Stillstand bringt.
Eine Dehnung des Seils und Veränderungen der Länge des Treibriemens konnen unregelmäßiges Kuppeln und Rotieren der Messer verursachen.

Dann muss man die Einstellschraube (1) verstehen, bis man die richtige Länge der Feder (2) erhält (gemessen von den äußeren Windungen bei eingeschalteten Messern).
6.3.4 EINSTELLUNG DER BREMSE
Jedes Mal, wenn man eine schwache Bremsleistung feststellt, ist es angebracht, sich sofort an ein Autorisiertes Kundendienstzentrum zu wenden.
6.3.5 EINSTELLUNG DER SPANNUNG DES TREIBRIEMENS
Wenn die Maschine eine unzureichende Traktionsleistung zeigt, muss die Spannung der Feder des Riemenspanners verstellt werden, bis die optimalen Betriebsbedingungen wieder erreicht sind.
Zugang zum Einstellen erhält man durch Öffnen der Motorhaube; die Einstellung wird auf der rechten Seite des Motors vorgenommen. Die Muttern (2) so verstellen, dass man eine Länge "A" der Feder (1) von:

A = 119 - 121 ~mm (Bei den Modellen mit mechanischem Antrieb)
A = 120 - 122 ~mm (Bei den Modellen mit hydrostatischem Antrieb)
erzielt (gemessen von den äußerten Windungen). Nach erfolgter Einstellung Muttern (2) festziehen.
ANMERKUNG
Falls der Treibriemen ausgewechselt wird, muss man bei den ersten
Anfahrvorgängen vorsichtig vorgehen, weil das Kuppeln ruckartig erfolgen kann, bis der Treibriemen genügd eigengelaufen ist.
6.4 AUSBAU UND ERSETZEN VON TEILEN
6.4.1 RADWECHSEL
Bei eben abgestellter Maschine Unterlagen unter einem tragenden Element des Fahrgestells auf der Seite des zu wechselnden Rads anbringen.
Die Räder werden von einem Sprengring (1) gehalten, der mit Hilfe eines Schraubenziehers abgenommen werden kann.
Die Hinterräder sind mit Hilfe eines in die Radnabe eingepassten Keils direkt auf die Achswellen des Differentials aufgezogen.

ANMERKUNG
Im Falle des Wechseln eines oder beider Hinterträder, muss man dass sie denselben Durchmesser haben, und die waagerechte hwerks prufen, um unregelmäßige Schnitte zu vermeiden.
WICHTIG
Vor der erneuten Montage eines Rads sind die Achse mit Fett zu Sprengring (1) und die Unterlegscheibe (2) vorsichtig einzusetzen.
6.4.2 REPARATUR ODER WECHSEL DER REIFEN
Die Reifen sind schlauchlos und deshalb muss jeder Ersatz oder jeder Reparatur infolge eines Lochs von einem Reifenfachmann in der für diesen Reifentyp vorgesehenen Weise ausgeführrt werden.
6.4.3 AUSWECHSELN DER LAMPEN ( wenn vorgesehen)
Die Lampen (18 W) sind mit einem Bajonettverschluss im Lampensockel befestigt. Diese wird mit Hilfe einer Flachzange entgegen dem Uhrzeigersinn gedreht und dann herausgezogen.
6.4.4 AUSWECHSELN EINER SICHERUNG
An der Maschine sind einige Sicherungen (1) mit verschiedene Stärken vorgesehen, deren Funktionen und Eigenschaften im Nachfolgenden beschreiben werden:
- Sicherung 6,3 A (träge) (1) = Absicherung der allgemeinen Stromkreise und des Leistungskreises der Steuerkarte. Das Ansprechen der Sicherung verursacht den Stillstand der Maschine und das vollständige Ausschalten der Kontrollampen des Armaturen Brettts.
- Sicherung 25 A (2) = Absicherung des Ladestromkreises. Das Ansprechen der Sicherung zeigt sich durch zunehmende Abnahme der Batterieladung mit dementsprechenden Startschwierigkeiten. Die Stärke der Sicherung ist auf der Sicherung angegeben.



WICTIG
Eine defekte Sicherung muss
immer durch eine Sicherung des gleichen Typs und der gleichen Leistung ersetzt werden, niemals durch eine Sicherung mit anderer Leistung.
Falls sich die Ursachen nicht beseitigen setzen, ist ein Autorisierter Kundendienst aufzusuchen.
6.4.5 AUSWECHSELN DER ANTRIEBSRIEMEN
Das Auswechseln der Antriebsriemen erfordert Demontagen und anschließendrecht komplizierte Einstellungen und muss deshalb unbedingt von einem Autorisierten Kundendienst ausgeführrt werden.
ANMERKUNG
Die Antriebsriemen sind auszuwechseln, sobald sie deutliche
Anzeichen der Abnutzung aufweisen! STETS ORIGINAL-ANTRIEBSRIEMEN VERWENDEN!
7. ANLEITUNG ZUM FESTSTELLEN VON STÖRUNGEN
| STörung | MÖGLICHE ursache | ABHILFE |
| 1. Mit dem Zündschlüssel auf «EIN» bleibt die Kontrollampe ausgeschaltet | Auslösen des Schutzes der elektronischen Steuerkarte wegen: | Den Zündschlüssel auf «STOP» stellen und die Ursachen der Störung suchen: |
| - Batterie schlecht angeschlossen | - Anschlüsse prüfen (3.4) | |
| - Polärität der Batterie vertauscht | - Anschlüsse prüfen (3.4) | |
| - Batterie vollkommen entladen oder erodiert | - Batterie laden (6.2.5) | |
| - Sicherung durchgebrannt | - Sicherung auswechseln (träge 6,3 A) (6.4.4) | |
| - Fehlerhafter Masseanschluss an Motor oder Fahrgestell | - die Anschlüsse der schwarzen Kabel der Erdung überprüften | |
| - Steuerkarte feucht | - mit lauwärmer Luft trocknen | |
| - Mikroschalter geerdet | - Anschlüsse überprüften | |
| 2. Mit dem Zündschlüssel auf «STARTEN» blinkt die Kontrollampe und der Anlasser Funktioniert nicht | - Fehlende Voraussetzung zum Anlassen | - prüfen, ob die Bedingungen der Zustimmung erfüllt sind (5.2.a) |
| 3. Mit dem Zündschlüssel auf «STARTEN» leuchtet die Kontrollampe auf, aber der Anlasser Funktioniert nicht | - Batterie nicht ausreichend geladen | - Batterie laden (6.2.5) |
| - Sicherung Ladestromkreis unterbrochen | - Sicherung auswechseln (25 A) (6.4.4) | |
| - Fehlerhafter Masseanschluss, Anlasser | - Masseanschlüsse überprüften | |
| 4. Mit dem Zündschlüssel auf «STARTEN» schaltet der Anlasser ein, aber der Motor lauft nicht an | - Batterie nicht ausreichend geladen | - Batterie laden (6.2.5) |
| - mangelnder Zufluss von Benzin | - Benzinstand überprüften (5.3.3) | |
| - Benzinhahn öffnen (wenn vorgesehen) (5.4.1) | ||
| - Kabel der Schaltung zum öffnen des Vergasers (wenn vorgesehen) überprüften | ||
| - Zündungsfehlher | - Benzinfilter überprüften | |
| - Befestigung der Kappe der Zündkerze überprüften | ||
| - Zündkerzenelektroden reinigen und Elektrodenabstand überprüften | ||
| 5. Anlassen erschwert oder Betrieb des Motors unregelmäßig | - Vergaserprobleme | - Luftfilter reinigen oder auswechseln |
| - Vergaserwanne reinigen | ||
| - Tank leeren und frisches Benz einheiten | ||
| - Benzinfilter kontrollieren und erforderlichenfalls auswechseln | ||
| 6. Absinken der Leistung des Motors während des Mahens | - Fahrgeschwindigkeit im Verhältnis zur Schnitthöhe zu hoch (▶ 5.4.5) | - Fahrgeschwindigkeit vermindern und/oder Schnitthöhe vergroßern |
| 7. Der Motor Goes aus und die Kontrollampe blinkt | - Auslösen der Sicherheitseinrichtungen | - prüfen, ob die Bedingungen der Zustimmung erfüllt sind (▶ 5.2.b) |
| 8. Der Motor Goes aus und die Kontrollampe erlischt | Auslösen des Schutzes der elektronischen Steuerkarte wegen: | Den Zündschlüssel auf «STOP» stellen und die Ursachen der Störung suchen: |
| - Mikroschalter geerdet | - Anschlüsse überprüfen | |
| - Batterie enthalt Säre, ist aber nicht geladen | - Batterie laden (▶ 6.2.5) | |
| - Überlastung durch Laderegler | - Einen Autorisierten Kundendienstkontaktieren | |
| - Batterie nicht angeschlossen (wackelnder Kontakt) | - Anschlüsse prüfen (▶ 3.4) | |
| - Fehlerhafter Masseanschluss, Motor | - Masseanschluss, Motor überprüfen | |
| 9. Der Motor Goes aus und die Kontrollampe leuchtet weiter | - Motorprobleme | - Einen Autorisierten Kundendienstkontaktieren |
| 10. Die Messer schalten sich nicht ein | - Dehnung des Seils oderloser Treibriemen | - Regler einstellen (▶ 6.3.3) |
| 11. Schnitt ungleichmäßig und Grasaufnahme unzureichend | - Mähwerk nicht parallel zum Boden | - Reifendruck prüfen (▶ 5.3.2) |
| - Mähwerk in bezug auf den Boden ausrichten (▶ 6.3.2) | ||
| - Schlechter Schnitt der Messer | - Richtigen Einbau der Messer prüfen (▶ 6.3.1) | |
| - Messer scharfen oder auswechseln (▶ 6.3.1) | ||
| - Spannung des Treibriemens und das Schaltseil des Hebels der Kupplung überprüfen (▶ 6.3.3) | ||
| - Fahrgeschwindigkeit im Verhältnis zur Höhe des zu mahenden Grases hoch (▶ 5.4.5) | - Fahrgeschwindigkeit vermindern und/oder Mähwerkhigherstellen | |
| - Warten, bis Rasen trocken ist | ||
| - Verstopfung des Auswurfkanals | - Aufgangsack abnehmer und Kanal leeren (▶ 5.4.7) | |
| - Das Mähwerk ist mit Gras gefüllt | - Mähwerk reinigen (▶ 5.4.10) | |
| 12. Nicht normale Vibrationen während des Betriebs | - Die Messer sind nicht gewucht | - Messer auswuchten oder ersetzen, wenn sie beschädigt sind (« 6.3.1) |
| - Messer gelockert | - Befestigung der Messer überprüfen (« 6.3.1) (Linksgewinde des rechten Messers beachten!) | |
| - Befestigungen gelockert | - Befestigungsschrauben des Motors und des Fahrgestells überprüften und festziehen | |
| 13. Wenn man bei laufendem Motor das Antriebspedal betätig, bewegt sich die Maschine nicht. ( ▶ Modellen mit hydrostatischem Antrieb) | - Hebel zum Entsperren in Stellung «B» (« 4.33) | - Hebel in die Stellung «A» bringen |
Wenn die Störungen nach den oben beschrieben Eingriffen anhalten, ist ein Autorisierten Kundendienst zu kontaktieren.
ACHTUNG!
Versuchen Sie niemals, schwierige Reparaturen
auszuführen, ohne dazu die Mittel und die erforderlichen technischen Kenntnisse zu haben. Jeder schlecht ausgeführte Eingriff führt automatisch zum Verfall der Garantie und zur Ablehnung jeder Verantwortung des Herstellers.
8. SONDERZUBEHÖR
1. KIT VORDERE GEGENGEWICHTE
Sie verbessern die Stabilität im vorderen Teil der Maschine, vor allem bei vorwiegendem Gebrauch an Hängen.
2. KIT PRALLBLECH
Anstelle des Auffangsacks zu verwenden, wenn das Gras nicht gesammelt wird.
3. KIT FÜR ANHÄNGER
Dient zum Ankoppeln eines Anhängers.
4. ABDECKUNG
Schützt die Maschine vor Staub, wenn sie nicht genutzt wird.
5. BATTERIELADEGERÄT "CB01"
Erlaubt die Erhaltung des optimalen Ladezustandes der Batterie während der Stillegung der Maschine und verlangert dadurch die Lebensdauer der Batterie.
6. "MULCHING-KIT" (nur für Maschinen, die darüber vorgesehen sind)
Zerhackt das geschnittene Gras fein und lassst es auf dem Rasen als Alternative zum Sammeln im Auffangsack.



9. TECHNISCHE DATEN
Elektrische Anlage 12 V
Batterie 18 Ah
Reifen Vorderrader 13 x 5.00-6
Reifendruck vorne 1.5 bar
Reifendruck hinten 1.2 bar
Gesamtgewicht 182÷196kg
Innerer Wendekreisdurchmesser
(Mindestdurchmesser bei nicht
geschnittenem Gras)
linkeSeite 1,6m
Schnitthöhe 3 ÷ 8 cm
Schnittbreite 91 cm
Auffangsacksinhalt 250 Liter
Modelle mit mechanischem Antrieb:
Vorschubgeschwindigkeit (Richtwert) bei
3000 min.
Im 1. Gang 2,2 km/h
Im 2. Gang 3,8 km/h
Im 3. Gang 5,8 km/h
Im 4. Gang 6,4 km/h
Im 5. Gang 9,7 km/h
im Ruckwartsgang 2,8 km/h
Modelle mit hydrostatischem Antrieb:
Vorschubgeschwindigkeit (bei 3000 min.):
im Vorwärtsgang 0 ÷ 8,8 km/h
im Rückwärtsgang 0 ÷ 3,8 km/h


10. ALPHABETISCHES SACHREGISTER
Akustisches Signal Funktion 4.6 Auslösen 5.4.6
Anhänger Vorschriften 1.4
Anlassen
Vorgehen beim Anlassen 5.4.1
Antrieb der Räder
Einstellung des Treibriemens 6.3.5
Antriebspedal Funktion des Pedals .4.32 Vorwartsgang .5.4.2 Rückwartsgang .5.4.4
Auffangsack
Beschreibung 2.2-14
Hebel zum Kippen 4.10
Montage 3.7
Montage auf der Maschine 5.3.4
Leeren 5.4.6
Drucktaste zum Entsperren 4.9
Auswurfkanal Beschreibung 2.2-13 Leeren 5.4.7
Batterie Beschreibung 2.2-17 Anschluss 3.4 Lange Zeit des Stillstands 5.4.11 Wartung und Laden 6.2.5
Beschleuniger Funktion und Gebrauch 4.2
Bremse Funktion des Pedals 4.31 Kontrolle der Leistungsfähigkeit 5.3.6 Gebrauch der Bremse 5.4.3 Verstellung 6.3.4
Feststellbremse Betätigung des Hebels 4.4
Geschwindigkeitsänderung Position des Hebels 4.22 Vorwärtsgang 5.4.2 Rückwärtsgang 5.4.4
Hange Vorsichtsmaßnahmen 5.5
Kontrollampe Funktion 4.6 Auslssen 5.4.12
Kupplung/Bremse Funktion des Pedals 4.21
Lenkrad Funktion 4.1 Montage auf der Maschine 3.2
Mähwerk
Beschreibung 2.2 - 11
Ausweseninnen 5.4.10
Ausrichten 6.3.2
Messer
Beschreibung 2.2-12
Einschalten .4.7
Ausbau und Scharfen .6.3.1
Einstellung der Kupplung .6.3.3
Prallblech Beschreibung 2.2-15 Montage auf der Maschine 5.3.4
Räder Radwechsel 6.4.1 Reifen Beifendruck 5.3.2
Reparatur und Reifenwechsel 6.4.2
Reinigung Art der Durchführung 5.4.10
Scheinwerfer Schalter 4.5 Auswechseln der Lampe 6.4.3
Schnitt
Regulierung der Schnitthöhe 4.8
Arten des Mahens 5.4.5
Beendigung des Mahens 5.4.8
Ratschlage für gute Schnitt 5.7
Sicherheit
Allgemeine Vorschriften 1.2
Aufkleber und Symbole 1.3
Auslösen der Sicherheitseinrichtungen 5.2
Kontrolle der Leistungsfähigkeit 5.3.5
Sicherung Auswechseln 6.4.4
Sitz
Beschreibung 2.2-18 Montage auf der Maschine 3.3 Verstellung 5.3.1
Tanken
Arten des Tankens 5.3.3
Transport Art der Durchführung 5.6
Wartung Art der Durchführung 6.2.1-6.2.2
Zündschlüssel Funktion 4.3
PRESENTAZIONE
Gentile Cliente,
5. GEBRUKSVOORSCHRIFTEN 19
7. RICHTLIJNEN OM PROBLEMEN VAST TE STellen 46
9. TECHNISCHE EIGENSCHAPPEN 50
4.7 HENDEL OM DE MESSEN EN DE REM VAN DE MESSEN IN TE SCHAKELEN
5. GEBRUIKSVOORSCHRIFTEN
5.1 VEILIGHEIDSADVIEZEN
GEVAAR!
5.3.1 DE STOEL AFSTELLEN
7. RICHTLIJNEN OM PROBLEMEN VAST TE STELLEN
1. TEGENGEWICHTEN VOOR DE VOORKANT
9. TECHNISCHE EIGENSCHAPPEN
Elektrische installment 12 V
Accu 18 Ah
EinfachAnleitung