MINI TV VIDEO PLAYER - Dvd player LEXIBOOK - Kostenlose Bedienungsanleitung
Finden Sie kostenlos die Bedienungsanleitung des Geräts MINI TV VIDEO PLAYER LEXIBOOK als PDF.
Benutzerfragen zu MINI TV VIDEO PLAYER LEXIBOOK
0 Frage zu diesem Gerät. Beantworten Sie die, die Sie kennen, oder stellen Sie Ihre eigene.
Eine neue Frage zu diesem Gerät stellen
Laden Sie die Anleitung für Ihr Dvd player kostenlos im PDF-Format! Finden Sie Ihr Handbuch MINI TV VIDEO PLAYER - LEXIBOOK und nehmen Sie Ihr elektronisches Gerät wieder in die Hand. Auf dieser Seite sind alle Dokumente veröffentlicht, die für die Verwendung Ihres Geräts notwendig sind. MINI TV VIDEO PLAYER von der Marke LEXIBOOK.
BEDIENUNGSANLEITUNG MINI TV VIDEO PLAYER LEXIBOOK
REGLAGE DES CHAINES TV ET RADIO
PROBLEMES ET SOLUTIONS
Instalacion del mini televator
Instalacao da mini televisao
PRIMEIRAS REGULAÇÖES
Sicherheitshinweise 94
Wichtige Sicherheitshinweise 94
Produktbeschreibung 95
Fernbedienung 96
Aufstellen 97
Grundeinstellungen 98
Tastenfunktionen 99
Navigieren im Einstellungsmenu 101
Konfiguration des Minifernsehers 101
Einstellen der Fernseh- und Radiokanäle 104
Verwaltung der Kanäle 105
Werkseinstellungen 107
Multimedia 107
Fehlerbehebung 109
Technische Daten 109
Wartung 110
Gewährleistung 110
SICHERHEITSANWEISUNGEN

ACHTUNG GEFAHR VONELEKTKROSCHOCKNicht ÖFFNEN

ACHTUNG: ZUR VERMEIDUNG EINES ELEKTKROSCHOCKS NIE DAS GEHÄUSE ÖFFNEN (ODER SCHLIESSEN). ES GIBT KEINE ZU WARTENDEN TEILE IM INNEREN. SERVICE- ODER REPARATURARBEITEN NUR VON QUALIFIZIERTEM PERSONEN DURCHFühren.
Die Piktogramme auf der Rückseite des Gerätes bedeuten folgenden:

Der Blitz mit dem symbolischen Pfeil innerhalb eines gleichseitigen Dreiecks soll den Benutzer davor warnen, dass im Produktgehause unisolierte "gefährliche elektrische Spannung"vorhanden sein kann, deren Menge ausreicht, um bei Menschen einen elektrischen Schock auszulösen.

Das Ausrufezeichen innerhalb eines gleichseitigen Dreiecks soll den Benutzer auf wichtige Bedienungs- und Wartungsanweisungen in der Bedienungsanleitung des Gerätes hinweisen.
ACHTUNG:
- Gefahr von Brand oder Elektroschock! Setzen Sie das Gerät keinem Regen oder Feuchtigkeit aus.
- Das Gerät nicht Tropfen oder Spritzern ausgeseten. Stellen Sie keine wasserenthaltenden Objekte wie beispisseweise Blumenvasen auf dem Gerät ab.
- Der Netzstecker wird als Geräteschalter verwendet und bleibt ohne weiteres betriebsbereit.
- Um das Gerät vollständig vom Stromnetz zu trennen, muss der Netzstecker ganz aus der Steckdose gezogen werden.
WICHTIGESICHERHEITSANWEISUNGEN
- Lesen Sie diese Anweisungen.
- Bewahren Sie diese Anweisungen auf.
- Beachten Sie alle Warnhinweise.
- Befolgen Sie alle Anweisungen.
- Dieses Gerat nicht in der Nähe von Wasser benutzen.
- Nur mit einem trockenen Tuch saubern.
- Keine Beluftungskanäe versperren. Installieren Sie das Gerät nur in Übereinstimmung mit der Bedienungsanleitung des Herstellers.
-
Stellen Sie das Gerät nicht in der Höhe von Wärmequellen auf wie beispielese Heizkörpern, Öfen, Heizstrahlern oder anderen Geräten (inkl. Verständern) auf, die Hitze entwickeln.
-
Vernachten Sie nicht die Sicherung von polarisierten oder geerdeten Steckern. Ein polarisierter Stecker hat zwei Kontakte- einer größter, als der andere. Ein grundtierer Stecker hat zwei Kontakte und eine dritte Erdungszacke. Der breite Kontakt oder die dritte Erdungszacke dient ihrer Sicherheit. Wenn der gelieferte Stecker nicht in ihre Steckdose passst, sollen den Sie einen Techniker rufen, um die Steckdose wechseln zu halten.
- Stromversorgungskabel mussen so gelegt sein, dass man nicht daraufuf treten kann, oder dass sie in Stöpseln, Steckdosen oder am Punkt, an dem das Kabel aus dem Gerät austritt, eingeklemmt werden können.
- Verwenden Sie nur vom Hersteller spezifizierte Befestigungen/Zubehör.
- Trennen Sie das Gerät vom Spannungsnetz bei Gewitter oder wenn es für langere Zeit nicht gebraucht wird.
- Das Gerätarf nur von qualifiziertem Personal gewartet werden. Repariert werden muss das Gerät, wenn es in irgendeiner Form beschädigt ist. Dazu gehört unter anderen: Beschädigung des Stromkabels oder des Anschluss-Steckers; Flüssigkeit wurde über das Gerät gegosen oder irgendwelche Objekte sind in das Gerät gelangt; und/oder das Gerät wurde Wasser bzw. Feuchtigkeit ausgesetzt, Funktioniert nicht normal, verhält sich anders als gewohnt oder wurde fallengelassen.
- Überlasten Sie auf keinen Fall den Stromanschluss. Verwenden Sie nur die angezeigte Stromquelle.
- Verwenden Sie nur vom Hersteller spezifizierte Ersatzteile.
- Das Produkt darf nur auf Empfehlung des Herstellers an einer Wand befestigt werden.
- Vor der Durchführung von jeglichen Service- oder Reparaturarbeiten sollen den Sieden Servicetechniker um die Durchführung von Sicherheitsüberprüfungen bitten.
PRODUKTBESCHREIBUNG
- VOL-/LEFT-Taste (links)
- VOL+/RIGHT-Taste (rechts)
- MENU/ENTER-Taste (Eingabe)
- POWER ON/OFF-Taste (Ein/Aus)
- RETURN-Taste (Zurück)
- CH+/UP-Taste
- CH-/DOWN-Taste
- LCD-Bildschirm (TFT)
- Infrarot-Sensor
- ANT-Eingang (Antenne)
- HEADPHONE-Eingang (Kopfhörer)
- AC-Netzanschluss
- USB-Port
- SD/MMC-Kartenleser

FERNBEDIENUNG

- TFT ON/OFF-Taste (TFT-Bildschirm Ein/Au
- Mute-Taste (Stummschaltung)
- Zahlentasten
- TIME/CALENDAR-Taste (Uhrzeit/Kalender)
- Vol+ Taste: um die Lautstärke zu erhöhen
- Vol- Taste: um die Lautstärke zu verringern
- Menu-Taste
- < Taste (links)
- SEARCH-Taste (Suchen)
- Play/Pause-Taste (Wiedergabe/Pause)
- ROTE Taste
- GRÜNE Taste
- Schnellrücklauf-Taste
- Schnellvorlauf-Taste
- TV/Radio-Taste
- Display-Taste (Anzeige)
- EPG-Taste (Elektronischer Programmführer)
- Audio-Taste
- SUB-Taste (Untertitel)
- Exit-Taste (Beenden)
- TTX-Taste (Teletext)
- CH+/AUF-Taste
- FAV-Taste (Favouriten)
- Enter-Taste (Eingabe)
- > Taste (rechts)
- ZOOM-Taste
- CH-/AB-Taste
- BLAUE Taste
- GELBE Taste
- WEITER-Taste
- ZURÜCK-Taste
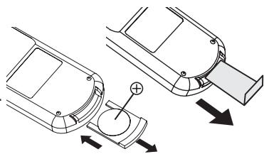
Batterieinstallation
- Wenn Sie die Fernbedienung zum ersten Mal benutzen, entfernen Sie die Lasche auf der Rückseite.
- Öffnen Sie das Batteriefach, indem Sie auf die Taste rechts drucken, ziehen Sie dann das Batteriefach Heraus
- Installieren Sie eine CR2025 3V --- Lithium-Batterie (mitgeliefert) wie in der Abbildung gezeigt, schiben Sie dann den Batteriehalter soweit hinein, bis er einrastet.

Nichtaufladbare Batterien dürfen nicht wiederaufgeladen werden. Wiederaufladbare Batterien müssen vor dem Aufladen entwickelten werden. Wiederaufladbare Batterien dürfen nur unter Aufsicht von Erwachsenen halten werden. Keine unterschiedlichen Batterietypen oder neue und gebrauchte Batterien gleichzeitig verwenden. Nur Batterien dessellen oder equivalenten empfehlenen Typs verwenden. Batterien nur mit richtiger Polarität einsetzen. Leere Batterien aus dem Gerät entfern. Anschlussklemmen nicht kurzschliessen. Keine Batterien in eine offene Flamme werfen. Entfern Sie die Batterien, wenn Sie das Gerät für längerere Zeit nicht verwenden.
WARNING: Starke Frequenzstörungen oder elektrostatische Entladungen können Fehlfactionen oder Speicherverlust verursachen. Soltte das Gerät nicht ordnungsgemäß Funktionieren, entfern den Sie die Batterie und legen Sie diese erneut ein.
Benutzung der Fernbedienung
- Wenn direktes Sonnenlicht, eine Gluhlampe, Leuchtröhre oder andere starke Lichter auf den Fernsensor des Gerätes scheinen, können der Betrieb mit der Fernbedienung unbeständig sein.
- Wenn die Batterie schwach wird, reduziert sich der Betriebsabstand der Fernbedienung deutlich und Sie müssen die Batterie auswechseln.
AUFSTELLEN
Auspacken des Gerätes
Stellen Sie beim Auspacken sicher, dass die folgenden Teile enthalten sind:
1 Minifernsehbildschirm mit Video-Player
1 Fernbedienung
1 CR2025 Lithium-Batterie
1 Netzadapter
1 tragbareFernsehantenne
1 Bedienungsanleitung
WARNING: Alle Verpackungsmaterialien, wie Klebeband, Plastikfolie, Kabelbinder und Aufkleber gehoren nicht zu dem DVD-Player und müssen weggeworfen werden.
Hinweis: Bevor Sie das Produkt zum ersten Mal benutzen, entfern den sie den staatlichen Schutzaufkleber vom LCD-Bildschirm.
Aufstellen des Minifernsehers
Stellen Sie das Gerät auf eine stabile, waagerechte Fläche, die keinen Erschütterungen ausgesetzt ist. Der Minifernseherarf weder Erschütterungen noch Stößen ausgesetzt werden.itte beachten Sie die Bedingungen, die in den Sicherheitshinweisen beschrieben werden.
Sie konnen ihren Minifernseher mit den Tasten oben auf dem Bildschirm bedieten oder den Tasten der Fernbedienung. Die Buchsen auf der rechten und linken Seite bieten alle Anschlüsse, die Sie benötigten, um andere Geräte an ihren Bildschirm anzuschreiben.
Anschlieben der Antenne
Schlieben Sie die Außenantenne ihrer Wohnung oder die mitgelieferte tragbare Antennene über die Antennenbuchse auf der linken Seite des Bildschirms an.
WICHTIG: Um den besten Fernsehsignalempfang zu gewährleisten, wird dringend empfohlen, eine auf dem Dach installierte Außenantenne zu benutzen. Wenn Sie keine Außenantenne haben, benutzen Sie die mit dem Produkt mitgelieferte Antenne und platzieren Sie diese in die Höhe eines Fensters oder außen vor ein Fenster.
Anschluss an den Netzstrom
Verbinden Sie den Minifernseher nicht mit dem Netzstrom, bevor Sie nicht alle Verbindungen vorgenommen haben. Schließen Sie den Fernseher mithilfe des mitgelieferten AC/DC-Adapters (AC 220V-240V~ 50Hz) an eine geeignete Netzsteckdose an.
Hinweis: Die Netzsteckdose, an die der Fernseher angeschlossen wird, muss sich in der Höhe des Gerätes befinden und stets gut zugänglich sein.
WARNING: Starke Frequenzstörungen oder elektrostatische Entladungen können Fehlfunktionen oder Speicherverlust verursachen. Sollte das Gerät nicht ordnungsgemäß Funktionieren,ziehen Sie den Stecker des AC / DC-Adapters aus der Steckdose und stöpseln Sieihn wieder ein.
GRUNDEINSTELLUNGEN
In this Abschnitt wird erklart, wie Sie ihren Minifernseher bei der Inbetriebnahme konfigurieren. Nachdem Sie alle Verbindungen hergestellt haben, drücken Sie auf die POWER ON/OFF-Taste oben auf dem Fernseher, umihn einzuschalten. Folgen Sie dann den Anleitungen auf dem Bildschirm, um die Grundeinstellungen vorzunehmen.
Auswahl der Anzeigesprache
- Drücken Sie > , wahlen Sie dann mithilfe der CH+ und CH -Tasten eine Sprache aus.
- Drücken Sie Enter, um ihre Wahl zu bestätigten.
Einstellen des Landes
Stellen Sie das Land ein, in dem Sie sich befinden.
- Drücken Sie auf die CH- Taste, um „Orte“ auszuwahlen, drücken Sie dann >.
- Wahlen Sie mit den CH+ und CH- Tasten ein Land aus und drücken Sie Enter, um zu bestätigen.
Automatische Kanaleinstellung
- Sobald die Einstellungen für die Anzeigesprache und das Land abgeschlossen sind, drücken Sie die Enter-Taste, um den Vorgang der automatischen Einstellung der Fernseh- und Radiokanäe zu starten.
- Markieren Sie mit den < und > Tasten „Ja" aus und drücken Sie Enter.
- Das Gerät durchsucht die verfügbaren Fernseh- und Radiokanäle in dem gewählten Land und speichert sie automatisch in der Datenbank.
Hinweis: Falls der Minifernseher keine Kanäle finden, erscheint die Mitteilung „keine Datei" [Datenbank leer] auf dem Bildschirm.
Hinweis: Der Mini-TV ist nicht kompatibel mit Radiokanäten im AC3-Format.
TASTENFUNKTIONEN
POWER ON/OFF (Ein/Aus)
Sobald der Minifernseher an den Netzstrom angeschlossen ist, schalten Sie das Gerät mit dem POWER ON/OFF-Knopf auf dem Bildschirm ein oder aus.
TFT ON/OFF (TFT-Bildschirm Ein/Aus)
Wenn der Minifernseher eingeschaltet ist, drücken Sie auf die TFT ON/OFF-Taste, um den TFT-Bildschirm ein- oder auszuschalten.
Einstellen der Lautstärke
- Drücken Sie die VOL-/LEFT und VOL+/RIGHT-Tasten am Minifernseher oder die Vol+ und Vol- Tasten auf der Fernbedienung, um die Lautstärke zu erhöhen oder zu reduzieren.
- Um die Lautstärke vollständig zu deaktivieren, drücken Sie die Mute-Taste auf der Fernbedienung.
- Drücken Sie erneut auf die Mute-Taste, um den Ton wieder zu aktivieren.
Hinweis: Wenn Sie die Lautstärke nicht ausschalten, bleibt der Ton des Fernsehers während den Einstellungen oder wenn Sie die Games benutzen aktiv. Sie können mit der Mute-Taste (im Fernsehmodus) den Ton deaktivieren.
Auswahlder Kanale
- Drücken Sie die CH + / UP und CH-/DOWN-Tasten am Fernseher oder die CH+ und CH-Tasten auf der Fernbedienung, um die Kanäle auf- oder abwärts umzuschalten.
- Die Zahlentasten auf der Fernbedienung können auch benutzt werden, um direkt die Kanalnummer einzugeben.
Display (Anzeige)
Drücken Sie die Display-Taste auf der Fernbedienung, um auf dem Bildschirm Informationen über das aktuelle Programm anzuzeigen (Kanal, laufende Sendung, folgende Sendung ...).
Wenn Sie in einem Menu navigieren, drücken Sie auf diese Taste, um Informationen über die Navigationstasten anzuzeigen.
Drücken Sie die Return-Taste am Fernseher oder auf die Exit-Taste auf der Fernbedienung, um die Informationen verschwinden zu halten.
TV/Radio
Wechseln Sie mit der TV/Radio-Taste zwischen den Fernseh- und Radiokanälen.
EPG (Elektronischer Programmführer)
Der elektronische Programmführer (oder EPG) ermöglicht Ihnen Informationen über die Sendungen auf den verschiedene verfügbaren Kanälen aufzurufen.
Drücken Sie auf die Return-Taste am Fernseher oder die Exit-Taste auf der Fernbedienung, um die Informationen verschwinden zu halten.
Audio
- Drücken Sie auf die Audio-Taste:
- Wahlen Sie dann mit den VOL-/LEFT und VOL+/RIGHT-Tasten am Minifernseher oder den < und > Tasten auf der Fernbedienung einen Stereo-Audioausgang (Stereo, Mono rechts oder Mono links aus.
- Wahlen Sie mit den CH+ und CH-Tasten die Audiosprache der aktuellen Sendung aus.
Hinweis: Die Verfügbarkeit dieser Funktion hangt von der aktuellen Sendung ab.
- Drücken Sie Enter, um ihre Wahl zu bestätigten und das Menu zu verlassen.
Hinweis: Um das Menu zu verlassen, drücken Sie die Return-Taste am Fernseher oder die Exit-Taste auf der Fernbedienung.
SUB (Untertitel)
- Drücken Sie die SUB-Taste, um das Untertitel-MENU aufzurufen.
- Aktivieren oder deaktivieren Sie mithilfe der VOL-/LEFT und VOL+/RIGHT-Tasten am Minifernseher oder den < und > Tasten auf der Fernbedienung die Untertitel-Anzeige. Sie können zwischen „Off“ (Untertitel deaktiviert), „Untertitel“ oder „TTX Subtitle" (Teletext-Untertitel) wahren.
- Wahlen Sie mithilfe der CH+ und CH-Tasten die gewünschte Untertitelsprache.
Hinweis: Die Verfügbarkeit dieser Funktion und der Anzeigemodus hängen vom aktuellen Programm ab.
Time/ calendar (Uhrzeit/Kalender)
Drücken Sie einmal auf diese Taste, um die Uhrzeit anzuzeigen (die Uhrzeit entscheidt rechts oben auf dem Bildschirm), zweimal, um den Kalender anzuzeigen (der Kalender wird über den ganzen Bildschirm angezeigt) und dreimal, um die Informationen verschwinden zu halten.
Exit (Beenden)
Benutzen Sie diese Taste, um zum vorangegangenen Schritt zurückzukehren oder ein Menu zu verlassen und zur laufenden Sendung zurückzukehren.
TTX (Teletext)
Drücken Sie diese Taste, um den Teletext anzuzeigen oder verschwinden zu halten (das Format des Teletextes kann sich Ihrlem Anbieter entsprechend ändern).
- Rufen Sie mithilfe der Zahlentasten die gewünschte Teletextseite auf.
- Rufen Sie mit der CH+ oder CH-Taste die vorangegangene oder{nachste Seite auf.
- Drücken Sie < , um 100 Seiten zurückzublättern oder > , um 100 Seiten vorzublättern.
FAV (Favouriten)
Drücken Sie die FAV-Taste, um eine Seite mit ihren bevorzugten Kanälen aufzurufen. Hinweis: Sie müssen mindestens einen Kanal ihrer Liste hinzufügen, um diese Taste benutzen zu können. Um einen bevorzugten Kanal ihrer Liste hinzuzufügen,lesen Sieitte den Absatz „Verwaltung der Kanäle" in dem Abschnitt „Verwaltung der Kanäle".
Menu (Menu)
Benutzen Sie diese Taste, um das Hauptmenu und die verschiedene
Einstellungsmenus aufzurufen.
Search (Suche)
Drücken Sie im Fernsehmodus diese Taste, um einen automatischen Kanalsuchlauf der Fernseh- und Radiokanäe zu starten.
Play/Pause (Wiedergabe/Pause)
Während der Wiedergabe eines Videos oder einer MP3-Datei (auf einem USB-Stick oder einer SD/MMC-Karte gespeichert) können Sie diese Taste benutzen, um die Wiedergabe zu starten oder zu unterbrechen.
Zoom
Drücken Sie diese Taste, um den Zoom zu aktivieren. Drücken Sie wiederholt die
Taste, um das Bild zu vergroßern oder die « Taste, um es zu verkleinern.
Drücken Sie diese Taste erneut, um den Zoom zu deaktivieren.
ROTE, GRÜNE, GELBE, BLAUE Taste
Verwenden Sie diese Taste, um Einstellungen vorzunehmen (siehe Abschnitt
"Verwaltung der Kanäle" Weiter unter für weitere Einzelheiten).
A
Während der Wiedergabe eines Videos oder eines Musiktitels (auf einem USB-Stick oder einer SD/MMC-Karte gespeichert) können Sie mithilfe dieser Tasten einen Schnellauf vorwärts oder rückwärts starten.
- Drücken Sie wiederholt die Tasten, um die Laufgeschwindigkeit vorwärts oder rückwärts zu erhöhen (、 × 2^ , 、 × 4^ , 、 × 8^ , 、 × 20^ )
- Um zur normalen Wiedergabegeschwindigkeit zurückzukehren, drücken Sie die Play/Pause.-Taste.
#
Während des Abspielens eines Videos oder der Wiedergabe eines Musiktitels (auf einem USB-Stick oder einer SD/MMC-Karte gespeichert) können Sie mithilfe dieser Tasten zum vorangegangenen Video/ Musiktitel oder den folgenden Video/ Musiktitel gelangen.
NAVIIGIEREN IM EINSTELLUNGSMENU
Drücken Sie die Menu-Taste, um das Hauptmenu aufzurufen.
- Wahlen Sie mit der CH+ oder CH-Taste das gewünschte Menu: „Digitale TV" [Digitalfernsehen], „Film“, „Musik“, „Foto“ und „einrichten“ [installation]. Drücken Sie zur Bestätigung Enter.
- Wahlen Sie mithilfe der CH+ , CH- und Enter-Tasten ein Untermenü und die entsprechenden Optionen.
- Die Tasten < und > erfolglichen Ihnen die Einstellungen zu verändern, Funktionen zu aktivieren oder deaktivieren.
- Benutzen Sie die Return-Taste am Fernsehbildschirm oder die Exit-Taste auf der Fernbedienung, um zum vorangegangenen Schritt zurückzukehren oder das Konfigurationsmenu zu verlassen.
KONFIGURATION DES MINIFERNSEHERS
In diesen Abschnitt wird Ihnen erklärt, wie Sie die verschiedene Parameter Ihres Fernsehers (Menüsprache, Bildeinstellungen, Toneinstellungen...) mithilfe der Optionen im Menu „einrichten“ einstellen können.
Menu „OSD“
- Drücken Sie auf die Menu-Taste, um das Hauptmenu aufzurufen.
- Markieren Sie mit der CH+ oder CH-Taste „einrichten" und drücken Sie Enter.
- Markieren Sie mit der CH+ oder CH-Taste „Konfiguration" und drucken Sie Enter.
- Wahlen Sie mit der CH+ oder CH -Taste "OSD" und drucken Sie Enter.
Anzeigedauer
Sie können die Dauer der Informationsanzeige auf dem Bildschirm zwischen 1 und 5 Sekunden einstehen.
- Drücken Sie im Menu „OSD“ die CH+ oder CH-Taste, um „OSD Timeout“ [Anzeigedauer] zu wahren, drücken Sie dann die VOL-/LEFT und VOL+/RIGHT-Tasten am Minifernseher oder die < und > Tasten auf der Fernbedienung, um die Dauer der Anzeige einzustellen.
- Wenn Sie die Einstellungen abgeschlüssen haben, drücken Sie zur Bestätigung Enter.
Einstellen der Menu-Transparenz
Um den Kontrast der Anzeige einzustellen:
- Drücken Sie im Menu „OSD“ die CH+ oder CH-Taste, um die Option „OSD Durchsicht“ [Transparenz] auszuwahlen.
- Drücken Sie die VOL-/LEFT und VOL+/RIGHT-Tasten am Minifernseher oder die < und >Tasten auf der Fernbedienung, um den Einstellwert für den Kontrast (von „0" bis „60%") einzustellen und drücken Sie zur Bestätigung Enter.
AuswahlderAnzeigesprache
- Drücken Sie im Menu „OSD“ die CH+ oder CH-Taste, um die Option „OSD Sprache“ auszuwahlen.
- Drücken Sie die VOL+/RIGHT-Taste am Minifernseher oder die > Taste auf der Fernbedienung, wahren Sie dann mit den CH+ und CH-Tasten die gewünschte Sprache und drücken Sie zur Bestätigung Enter.
Einstellen der Audiosprachen
Um die Audiosprachen einzustellen:
- Drücken Sie in dem Menu „OSD“ die CH+ oder CH-Taste, um die Option „1. Tonsprache“ [Erste Audiosprache] oder „2. Tonsprache“ [Zweite Audiosprache] auszuwahlen.
- Drücken Sie die VOL+/RIGHT-Taste am Minifernseher oder die > Taste auf der Fernbedienung, benutzen Sie dann die CH^+ oder CH-Tasten, um die gewünschte Audiosprache auszuwahlen und drücken Sie dann Enter, um die Einstellungen zu bestätigten.
Menu „Fernsehn“ (TV)
- Drücken Sie die Menu-Taste, um das Hauptmenu aufzurufen.
- Drücken Sie die CH+ oder CH-Taste, um „einrichten" auszuwahlen und drucken Sie Enter.
- Drücken Sie die CH+ oder CH-Taste, um „Konfiguration“ auszuwahlen und drücken Sie Enter.
- Drücken Sie die CH+ oder CH-Taste, um „Fernsehn" auszuwahlen und drücken Sie Enter.
Einstellen des Fernsehbildes
- Wahlen Sie mit der CH+ oder CH-Taste eine Option und verwenden Sie dann die VOL-/LEFT und VOL+/RIGHT-Tasten am Minifernseher oder die < und > Tasten auf der Fernbedienung, um die Einstellungen zu ändern:
- „Helligkeit“: Wahlen Sie diese Option, drücken Sie dann die VOL+/RIGHT-Taste am Minifernseher oder die > Taste auf der Fernbedienung. Wahlen Sie mit der CH+ oder CH-Taste einen Wert (von „0" bis „100%") und drücken Sie Enter.
- Kontrast": Wahlen Sie diese Option und drucken Sie dann die VOL+/RIGHT-Taste am Minifernseher oder die >Taste auf der Fernbedienung. Wahlen Sie mit den CH+ oder CH-Taste einen Wert (von „0" bis „100%“) und drucken Sie Enter.
- Schattierung: Wahlen Sie diese Option und drücken Sie dann die VOL+/RIGHT-Taste am Minifernseher oder die >Taste auf der Fernbedienung. Wahlen Sie mit der CH+ oder CH-Taste einen Wert (von „-6" bis „6“) und drücken Sie Enter.
-
„Sattigung“: Wahlen Sie diese Option und drücken Sie dann die VOL+/RIGHT-Taste am Minifernseher oder die >Taste auf der Fernbedienung. Wahlen Sie mit den CH+ oder CH-Taste einen Wert (von „0“ bis „12“) und drücken Sie Enter.
-
Wenn Sie die Einstellungen abgeschlossen haben, drücken Sie auf Return oder Exit, um das Menu zu verlassen.
Menu „System einrichten“ [Systeminstallation]
- Drücken Sie die Menu-Taste, um das Hauptmenu aufzurufen.
- Markieren Sie mit der CH+ oder CH-Taste „einrichten" und drucken Sie Enter.
- Markieren Sie mit der CH+ oder CH-Taste „Konfiguration" und drücken Sie Enter.
- Markieren Sie mit der CH+ oder CH-Taste „System einrichten" und drücken Sie Enter.
Konfigurieren des Equalizers
Um den Equalizer des Fernsehers einzustellen:
- Markieren Sie mit der CH+ oder CH-Taste die Option „EQ einrichten" und drücken Sie die VOL+/RIGHT-Taste am Minifernseher oder die > Taste auf der Fernbedienung.
- Wahlen Sie mit der CH+ oder CH-Taste „Standard“, „Klassik“, „Rockmusik“, „Jazz“ oder „POP“ und drücken Sie Enter.
Einstellen der Foto-Diashow (JPEG AutoPlay Dauer)
Um die Dauer der Bildanzeige einzustellen, wenn Sie eine Diashow Ihrer Fotos starten:
- Markieren Sie mit der CH+ oder CH-Taste die Option „JPEG AutoPlay Dur" [JPEG AutoPlay Dauer] und drücken Sie dann die VOL+/RIGHT-Taste am Minifernseher oder die > Taste auf der Fernbedienung.
- Wahlen Sie mit der CH+ oder CH-Taste eine Dauer aus (zwischen 5 Sekunden und 2 Minuten). Markieren Sie „ausgeschaltet" (deaktiviert), um diese Funktion zu deaktivieren. Drücken Sie Enter, um die Einstellung zu bestätigten.
Einstellen der Länder (Region)
Um das Land einzustellen, in dem Sie sich befinden (diese Option erhögtlich Ihnen anschließend eine automatische oder manuelle Kanalsuche durchzufahren):
- Markiere Sie mit der CH+ oder CH-Taste die Option „Orte" und drucken Sie die VOL+/RIGHT-Taste am Minifernseher oder die > Taste auf der Fernbedienung.
- Wahlen Sie mit der CH+ oder CH-Taste das gewünschte Land. Drucken Sie Enter, um die Einstellung zu bestätigten.
"Elterliche Sperre"[Kindersicherung]
- Drücken Sie die Menu-Taste, um das Hauptmenu aufzurufen.
- Markieren Sie mit der CH+ oder CH-Taste „einrichten" und drucken Sie Enter.
- Markieren Sie mit der CH+ oder CH-Taste „Konfiguration" und drücken Sie Enter.
- Markieren Sie mit der CH+ oder CH-Taste „Elterliche Sperre" und drucken Sie Enter.
Passwordändern
Um das Password des Systems zu ändern:
- Geben Sie mit den Zahlentasten auf der Fernbedienung das alte Password ein (das voreingestellte Password ist „0000").
- Geben Sie das neue Password einmal ein und dann ein zweites Mal zur Bestätigung.
- Das neue Password ist gespeichert und Sie verlassen automatisch das Menu.
EINSTELLEN DER FERNSEH- UND RADIOKANÄLE
Hinweis: Der Mini-TV ist nicht kompatibel mit dem Radio-Kanäle im AC3-Format.
Dieser Abschnitt erklärt Ohnen, wie Sie Fernseh- und Radiokanäleuchen und speichern.
- Drücken Sie die Menu-Taste, um das Hauptmenu aufzurufen.
- Markieren Sie mit der CH+ oder CH-Taste „Digitale TV" [Digitalfernsehen] und drücken Sie Enter.
- Markieren Sie mit der CH+ oder CH-Taste „Installation" und drücken Sie Enter.
- Markieren Sie mit der CH+ oder CH-Taste "auto. Suchen" [Automatische Sueche], "manualsuch" [Manuelle Sueche] oder "Ortsuch" [Bereichssuche] und drücken Sie Enter.
AutomatischeSuche
Der automatische Suchlauf tastet die Frenquenzen und Bandbreiten standardmäßig entsprechend den Länderinstellungen ab (siehe Absatz „Einstellen der Länder" in dem Abschnitt „Konfigurieren des Minifernsehers"). Das Gerät speichert automatisch die gefundenen Kanäle.
Markieren Sie „auto. Suchen" und drücken Sie Enter, um den automatischen Fernseh- und Radiokanalsuchlauf zu starten.
Hinweise: Sie können die automatische Sueche jederzeit beenden, indem Sie die Exit-Taste drucken.
Manuelle Suche
Für die manuelle Suche mussen Sie die Frenzen und Bandbreiten kennen, die Sie für die Abtastung verwenden möchten.
- Markieren Sie „manualsuch" und drucken Sie Enter.
- Markieren Sie mit der CH+ oder CH-Taste „Schw.zahl (KHz)“, Geben Sie dann mit den Zahlentasten auf der Fernbedienung die Frenzenz ein.
- Markieren Sie mit der CH+ oder CH-Taste „Bandbreite" und benutzen Sie dann die < oder > Taste, um einen Bandbreiten-Wert in MHz einzustellen: „6M", „7M" oder „8M".
- Drücken Sie die Enter-Taste, um die Suche zu starten oder Exit, um zum Installationsmenu zurückzukehren.
SuchenachBereich("Ortsuche")
These Option ermoiglich eine genaure manuelle Sueche, indem eine Start-Frequency und eine End-Frequency festgelegt werden. Das Gerät führt die Sueche zwischen den beiden festgelegten Frenzen durch.
- Markieren Sie „Ortsuch“ und drucken Sie Enter.
- Markieren Sie mit der CH+ oder CH-Taste „Startschw.MHz“, geben Sie dann mit den Zahlentasten auf der Fernbedienung eine Start-Frequency ein.
- Markieren Sie mit der CH+ oder CH-Taste „Endschw.(KHz)“, geben Sie dann mit den Zahlentasten auf der Fernbedienung eine End-Frequency ein.
- Markieren Sie mit der CH+ oder CH-Taste „Bandbreite“, drücken Sie dann auf die < oder > Tasten, um einen Wert für die Bandbreite einzustellen in MHz: „6M“, „7M“ oder „8M".
- Drücken Sie die Enter-Taste, um die Suche zu starten oder Exit, um zum Installationsmenu zurückzukehren.
WICHTIGER HINWEIS: Egal welche Art der Sueche Sie verwenden, der Minifernseher muss an eine Antenne angeschlossen sein (Ihre Hausantenne, die mit ihrem Fernseher gelieferte oder eine andere), um die verfügbaren Kanäle zuuchen und zu speichern.
VERWALTUNG DER KANÄLE
Die verschieden Optionen des Menus „Kanalmanager“ Ihres Minifernsehers ermöglich他们在Die Kanale in der Datenbank zu löschen, ihre Reihenfolge umzustellen, sie einzurichten oder zu sperren. Sie können ihre Fernseh- und Radiokanäle unabhängig einrichten.
- Drücken Sie die Menu-Taste, um das Hauptmenu zu öffnen.
- Markieren Sie mit der CH+ oder CH-Taste „Digitale TV" und drucken Sie Enter.
- Markieren Sie mit der CH+ oder CH-Taste, Kanalmanager" drucken Sie Enter.
Kanal-Manager
- Markieren Sie im Menu „Kanalmanager" die Option „Kanalorganisator" [Kanal-Manager] und drücken Sie Enter.
- Markieren Sie mit der CH+ oder CH-Taste einen Kanal undnehmen Sie dann mit den farbigen Tasten auf Ihr Fernbedienung die Einstellungen vor:
- ROTE Taste: Drücken Sie diese Taste, um den Kanal der Liste ihrer bevorzugten Kanäle hinzuzufugen oder darauf zu Löschen.
- GRÜNE: Drücken Sie diese Taste, um den Canal aus der Datenbank zu Löschen oder um das Löschen aufzuheiten. Wenn kein Canal gelöscht oder gesperrt wurde, müssen Sie das Password ("0000" voreingestellt) eingeben, um das Löschen zu bestätigten.
- GELBE Taste: Drücken Sie diese Taste, um den Kanal auf der Liste umzustellen oder um das Umstellen rückgangig zu machen.
- BLAUE Taste: Drücken Sie diese Taste, um den Kanal zu sperren oder wieder freiizugeben. Wenn kein Kanal gelöscht oder gesperrt wurde, müssen Sie das Password ("0000" voreingestellt) eingeben, um das Sperren zu bestätigten.
- Um die Kanalnummer zu ändern, drücken Sie die < oder > Taste, geben Sie dann mit den Zahlentasten die neue Kanalnummer ein.
- Wenn ihre Einstellungen abgeschlossen sind, drücken Sie Enter, um die Änderungen zu bestätigten und drücken Sie die Return-Taste am Fernseher oder die Exit-Taste auf der Fernbedienung, um das Menu zu verlassen.
Sortieren der Kanäle
- Markieren Sie im Menu „Kanalmanager“ den Punkt „Kanalsortierung“ [Kanäle sortieren] und drücken Sie Enter.
- Markieren Sie mit der CH+ oder CH-Taste ein Kriterium, nach dem die Kanäle sortiert werden,ändern Sie dann mithilfe der VOL-/LEFT und VOL+/RIGHT-Tasten am Fernseher oder den < und > Tasten auf der Fernbedienung die Parameter. Sie können die Kanäle sortieren nach:
- Ihrem Herkunftsland (1. Kriterium). Drücken Sie Enter, um ihre Asuwahl zu bestätigen.
- kostenlosen und verschlusselten Kanäle (2.. Kriterium, Auswahl zwischen „Alle“, „Frei“ oder „Verschlusselt“. Drücken Sie Enter, um ihre Wahl zu bestätigen.
- Alphabet (von „A bis Z“ oder von „Z bis A“). Drücken Sie Enter, um ihre Wahl zu bestätigen.
- Sobald alle ihre Einstellungen abgeschlossen sind (für jedem Kriterium), drücken Sie Enter, markieren Sie dann „Ja“, um ihre Änderungen zu speichern.
- Drücken Sie die Return-Taste an Ihr Minifernseher oder Exit-Taste auf Ihrern Fernbedienung, um das Menu zu verlassen.
Neugliederung der Kanäle
Mithilfe dieser Option konnen Sie ihre Fernseh- und Radiokanäle in 8 verschiedene Kategorien gliedern.
- Markieren Sie im Menu „Kanalmanager“ die Option „Kanalgruppierung“ [Neugliederung der Kanäle] und drücken Sie Enter.
- Drücken Sie die CH+ oder CH-Taste, um einen Canal zu markieren, teilen Sie dann mit den Zahlentasten von 1 bis 8 den Canal in eine der 8 verfügbaren Gruppen ein: „1. None" [Keine Kategorie], „2. News" [Informationen], „3. Science" [Wissenschaft], „4. Sport", „5. Movie" [Kino], „6. Kids" [Kinder], „7. Music" [Musik], „8. Fashion" [Modus].
- Sobald Sie ihre Einstellungen abgeschlossen haben, drücken Sie Enter, drücken Sie dann die Return-Taste am Fernseher oder die Exit-Taste auf ihrer Fernbedienung, um das Menu zu verlassen.
Änderung der Kanäle
These Option ermöglich Ihnen, Kanäle hinzuzufügen, zu Löschen oder umzubenennen.
- Markieren Sie im Menu „Kanalmanager“ die Option „Kanalbearheiten“ und drücken Sie dann Enter.
- Um einen Kanal hinzuzufugen, drücken Sie die ROTE Taste auf der Fernbedienung.
- Benutzen Sie die CH+ oder CH-Taste, um die entsprechenden Menüoptionen zu markieren und einen neuen Kanal der Datenbank hinzuzufugen.
- „Area Name" [Länder]: Markieren Sie diese Option, drücken Sie dann die > Taste und markieren Sie mit den CH+ und CH -Tasten eine Region. Drücken Sie zur Bestätigung Enter.
- "Carrier" [Träger]: Markieren Sie diese Option, markieren Sie dann mit den VOL-/LEFT und VOL+/RIGHT-Tasten am Minifernseher oder < und > auf der Fernbedienung den gewünschten Träger.
- "Channel Name" [Name]: Markieren Sie die Option, drücken Sie dann die VOL-/LEFT und VOL+/RIGHT-Tasten am Minifernseher oder die < und > Tasten auf der Fernbedienung, um den Kanal umzubenennen (siehe Schritt 3 im Abschnitt „Kanalorganisator" [Kanal-Manager] weiter ober).
- "PID Audio", "PID Video", "PCR PID": Markieren Sie diese Optionen, drücken Sie dann die Zahlentasten auf der Fernbedienung, um die Werte einzugeben.
- Um einen Canal zu ändern, drücken Sie die GELBE Taste auf der Fernbedienung. Die zur Verfugung stehenden Optionen entsprechen denen, die erschinen, wenn Sie die ROTE Taste drucken.
- Wenn Sie ihre Einstellungen abgeschlossen haben, drücken Sie Enter, um ihre Einstellungen zu bestätigten und den Canal der Datenbank hinzuzufügen. Drücken Sie die Return-Taste am Fernseher oder die Exit-Taste auf der Fernbedienung, um das Menu zu verlassen.
Alle Kanäle Löschen
Um endgültig alle Kanäle aus der Datenbank zu Löschen:
- Markieren Sie im Menu „Kanalmanager" [Kanalverwaltung] die Option „alles entfernen" [Alle Löschen] und drücken Sie dann Enter.
- Markieren Sie mit der CH+ oder CH-Taste „alle TV Kanäle“ oder „alle Radiokanäle“ und drücken Sie Enter.
- Markieren Sie mithilfe der VOL-/LEFT und VOL+/RIGHT-Tasten am Minifernseher oder den < und > Tasten auf der Fernbedienung „Ja“ oder „Nein“, wenn Sie das Löschen ruckgangig machen möchten) und drucken Sie Enter.
WERKSEINSTELLUNGEN
Um alle Werkseinstellungen Ihres Fernsehers wieder herzustellen:
- Drücken Sie die Menu-Taste, um das Hauptmenu zu öffnen.
- Markieren Sie mit der CH+ oder CH-Taste „einrichten" und drücken Sie Enter.
- Markieren Sie mit der CH+ oder CH-Taste „Werkdefault" [Werkseinstellungen] und drücken Sie Enter.
- Markieren Sie mit den VOL-/LEFT und VOL+/RIGHT-Tasten am Minifernseher oder den < und > Tasten auf der Fernbedienung „Ja“ oder „Nein“, wenn Sie die Werkseinstellungen nicht mehr wiederherstellen möchten) und drücken Sie Enter, um das Rücksetzen des Systems zu bestätigten.
Hinweis: Achtung! Alle Einstellungen, die Sie vorgenommen haben, werden auf die Werkseinstellungen zurückgesetzt. Die Datenbank wird ebenfalls gelöscht.
Software-Version
Um Informationen über die aktuelle Version des Systems auf Ihr Fremseher, das Datum, die Uhrzeit ... usw. anzuzeigen:
- Drücken Sie die Menu-Taste, um das Hauptmenu zu öffnen.
- Markieren Sie mit der CH+ oder CH-Taste „einrichten" und drucken Sie Enter.
- Markieren Sie mit der CH+ oder CH-Taste "Ausgabe" und drücken Sie Enter.
- Drücken Sie Exit auf der Fernbedienung oder Return am Fernseher, um die Informationen verschwinden zu halten.
MULTIMEDIA
Sie konnen ihren Minifernseher benutzen, um ihre Filme (MPEG-4/AVI und DiVx-Format), ihre Fotos (JPEG und BMP-Format) anzusehen oder Musiktitel zu horen (MP3-Format). Kopieren Sie ihre Dateien auf ihren USB-Stick oder ihre SD/ MMC-Karte, verbinden Sie dann den Datenträger mit ihrem Fernseher.
Film
Sie können Videos im MPEG-4/AVI und DiVx-Format auf Ihrlem Fernseher ansehen.
- Verbinden Sie den Datenträger, auf dem die Videos gespeichert sind, mit dem Minifernseher über den USB-Port oder den SD/MMC-Kartenleser.
- Drücken Sie die Menu-Taste, um das Hauptmenu aufzurufen.
- Markieren Sie mit der CH+ oder CH-Taste „Film" und drucken Sie Enter.
- Markieren Sie den Datenträger und drücken Sie zur Bestätigung Enter.
- Durchsuchen Sie mithilfe der CH+ oder CH-Taste die auf dem USB-Stick oder der SD/MMC-Karte enthaltenen Ordner und markieren Sie die gewünschte Videodatei. Drucken Sie Enter, um die Wiedergabe zu starten.
- Wahrend des Abspielens des Videos konnen Sie mit der Play/Pause-Taste die Wiedergabe unterbrechen oder fortsetzen, mit den « und » Tasten einen Schnellsuchlauf vorwärts oder rückwärts durchführren, mit den « und » Tasten das{nachste Video oder vorangegangene Video aufrufen.
- Drücken Sie Exit, um die Wiedergabe abzubrechen und zur Seite der Dateien zurückzukehren.
Musik
Ihr Minifernseher enthalt auch einen MP3-Player.
- Verbinden Sie den Datenträger, auf dem die MP3-Dateien gespeichert sind, mit dem Minifernseher über den USB-Port oder den SD/MMC-Kartenleser.
- Drücken Sie die Menu-Taste, um das Hauptmenu aufzurufen.
- Markieren Sie mit der CH^+ oder CH-Taste „Musik" und drucken Sie Enter.
- Markieren Sie den Datenträger und drücken Sie zur Bestätigung Enter.
- Durchsuchen Sie mithilfe der CH+ oder CH-Taste die auf dem USB-Stick oder der SD/MMC-Karte enthaltenen Ordner und markieren Sie die gewünschte MP3-Datei. Drucken Sie Enter, um die Wiedergabe zu starten.
- Wahrend des Abspielens der MP3-Datei konnen Sie mit der Play/Pause-Taste die Wiedergabe unterbrechen oder fortsetzen, mit den «« und »Tasten einen Schnellsuchlauf vorwärts oder rückwärts durchführren, mit den «« und «« Tasten den nachsten Titel oder vorangegangenen Titel aufrufen.
- Drücken Sie Exit, um die Wiedergabe abzubrechen und zur Seite der Dateien zurückzukehren.
Foto
Sie konnen auf Ihrm Minifernseher Fotos im JPG und BMP-Format ansehen.
- Verbinden Sie den Datenträger, auf dem die Fotodateien gespeichert sind, mit dem Minifernseher über den USB-Port oder den SD/MMC-Kartenleser.
- Drücken Sie die Menu-Taste, um das Hauptmenu aufzurufen.
- Markieren Sie mit der CH+ oder CH-Taste „Foto" und drücken Sie Enter.
- Markieren Sie den Datenträger und drücken Sie zur Bestätigung Enter.
- Durchsuchen Sie mithilfe der CH+ oder CH -Taste die auf dem USB-Stick oder der SD/MMC-Karte enthaltenen Ordner und markieren Sie die gewünschte Datie. Drucken Sie Enter, um sie auf dem ganzen Bildschirm anzuzeigen.
- Drücken Sie die und Tasten, um das nachste oder vorangegangene Foto anzuzeigen. Drücken Sie die VOL-/LEFT und VOL+/RIGHT-Tasten am Minifernseher oder die < und > Tasten auf der Fernbedienung, um das Foto nach rechts oder links zu drehen, drücken Sie die CH+ oder CH-Taste, um das Foto umzukehren oder nach oben oder unter umzudrehen. Sie konnen auch die ZOOM-Taste verwenden, um das Bild zu vergroßern oder zu verkleinern.
- Drücken Sie Exit, um zur Seite der Dateien zurückzukehren.
FEHLERBEHEBUNG
| Problem | Lösung |
| Das Gerät schaltet sich nicht ein. | - Versichert Sie sich, dass der Netzadapter richtig verbunden ist. - Versichert Sie sich, dass Sie das Gerät unter Spannung setzen, indem Sie den POWER ON/OFF am Fernseher drücken. - Prüfen Sie die Kontrast- und Helligkeitseinstellungen des Bildes. |
| Kein Bild | - Stellen Sie safer, dass die Antenna richtig mit dem Fernseher verbunden ist. - Das Problem konnte bei der Sendung, die Sie gerade sehen, liegen. Versuchen Sie auf einen anderen Kanal umzuschalten. - Stellen Sie safer, dass Sie den TFT-Bildschirm durch Drücken der TFT ON/OFF-Taste auf der Fernbedienung aktiviert haben. - Die Kanäle sind nicht eingestellt, probieren Sie die automatischeSuche aus. |
| Schlechte Bildqualität | - Überprüfen Sie die Antennenverbindung. - Platzieren Sie die Antenne an einen offenen Platz oder in die Höhe des Fensters. |
| Das Gerät erkennt den USB-Stick oder die SD/MMC-Karten nicht. | - Prüfen Sie, ob die Datenträger korrekt eingeschoben sind. |
| Das Gerät spielt die auf dem USB-Stick oder der SD/MMC-Karte gespeicherten Videos nicht. | - Die Videodateien sind mit dem Gerät nicht kompatibel: Verwenden Sie Videodateien im AVI-Format. |
TECHNISCHE DATEN
HAUPTEINHEIT
Stromversorgung: DC 5V = 2,2A
Stromverbrauch: DC 48W
Bildschirmgroße: 17,8 cm
Bildschirmaufösung: 480 × 234 Pixel
Abmessungen: 206x158,5x123 mm
Nettogewicht: 769g
ADAPTER
Netzeingang: AC 100V - 240V ~ 50/60Hz, 0,4 - 0,5A
Ausgang: DC 5V, 2,2A

WARTUNG
Trennen Sie Ihr Gerät bei der Reinigung von der Stromquelle, um die Gefahr von Feuer oder Stöß zu vermeiden. Der Lack Ihres Geräts kann mit einem Staubtuch gereinigt werden und sollte so wie ein Möbelstück behandelt werden. Verwenden Sie ein weiches, sauberes, mit klarem, lauwarmem Wasser getränktes Tuch, um das Äußere Ihres Geräts zu reinigen. Seien Sie vorsichtig bei der Reinigung und dem Abwischen von Plastikteilen. Milde Seite und ein feuchtes Tuch kann zur Reinigung der Frontplatte verwendet werden.
GEWÄHRLEISTUNG
Dieses Produkt hat eine Gewährleistung von 1 Jahr.
Bitte wenden Sie sich an ihren Handlcer mit einem gultigen Kaufnachweis, wenn Sie innerhalb der Garantiezeit irgendeine Reklamation haben oder eine Reparatur wünschen. Unsere Gewährleistung bezieht sich auf materielle Schäden und Schäden bei der Verarbeitung. Ausgeschlossen sind Beschädigungen, die Folge der Nichtbeachtung der Bedienungsanleitung oder irgendeiner fahrlässiger Behandlung these Products sind (wie beispielsweise Demontage, Aussetzung gegenüber Hitze und Feuchtigkeit etc.). Es empfehl't sich, die Verpackung fur weitere Auskünfte zu bewahren.
Um unsere Leistungen zu verbessern, behalten wir uns Farbänderungen und Änderungen der auf der Verpackung gezeugten Produktdetails vor.
ANMERKUNG:itte bewahren Sie diese Bedienungsanleitung gut auf, sie enthalt wichtige Information.

Design und Entwicklung in Europa - Hergestellt in China
© 2010 Lexibook®
Deutschland & Österreich
Service-Hotline: 01805 010931
(0.14€ TTC/Minute)
E-Mail: savcomfr@lexibook.com
www.lexibook.com

WARNING: Eine anhaltende Benutzung theses Gerätes bei voller
Leistung kann das Gehör des Benutzers schädigen.

Dieses Produkt ist kein Spielzeug.
CE
Hinweise zum Umweltschutz
Alt-Elektrogeräte sind Wertstoffe, sie gehören daher nicht in den Hausmüll! Wir möchten Sie daher bitten, uns mit ihrem aktiven Beitragag bei der Ressourcenschonung und beim Umweltschutz zu Unterstützung und diesen Gerät bei den (falls vorhanden) eingerichteten Rücknahmestellen abzugegeben.

EinfachAnleitung