Bravia KD43XG8196 - Fjernsyn SONY - Gratis brugsanvisning og manual
Find enhedens vejledning gratis Bravia KD43XG8196 SONY i PDF-format.
Questions des utilisateurs sur Bravia KD43XG8196 SONY
0 question sur cet appareil. Repondez a celles que vous connaissez ou posez la votre.
Poser une nouvelle question sur cet appareil
Download vejledningen til din Fjernsyn i PDF-format gratis! Find din vejledning Bravia KD43XG8196 - SONY og tag din elektroniske enhed tilbage i hånden. På denne side er alle dokumenter nødvendige for brugen af din enhed offentliggjort. Bravia KD43XG8196 af mærket SONY.
BRUGSANVISNING Bravia KD43XG8196 SONY
Oplysninger om montering med Sonys Beslag til vægmontering (SU-WL450)
Af hensyn til produktets og den generelle sikkerhed anbefaler Sony på det kraftigste, at monteringen af TV'et udføres af en Sony-forhandler eller en autoriseret installatør. Forsøg ikke at montere det selv.
Vær opmærksom på sikkerheden under montering, vedligeholdelse og eftersyn af produktet.
Installation af dette produkt kræver visse forudsætninger, især for at finde ud af, om væggen kan bære TV'ets vægt. Monteringen af dette produkt skal udføres af en Sony-forhandler eller autoriseret installatør under hensyntagen til sikkerheden. Sony er ikke ansvarlig for beskadigelse eller personskade, der opstår som følge af forkert håndtering eller forkert montering.
For sikker og korrekt installation, følg vejledningen til beslag til vægmontering, TV-installationsvejledningen og retningslinjerne i denne manual.
Om sikkerhed
Tak, fordi du har købt dette produkt.
Til kunder
Installation af dette produkt kræver visse forudsætninger. Monteringen skal udføres af en Sony-forhandler eller autoriseret installatør under hensyntagen til sikkerheden. Sony er ikke ansvarlig for eventuelle materielle skader eller personskader, der skyldes forkert håndtering eller mangelfuld installation eller installation af et andet produkt end det, der er angivet. Dine eventuelle lovsikrede rettigheder påvirkes ikke.
Til Sony-forhandlere
Installation af dette produkt kræver visse forudsætninger. Læs denne vejledning grundigt for at udføre monteringen på sikker vis. Sony kan ikke holdes ansvarlig for personskader eller materielle skader forårsaget af ukorrekt behandling eller montering. Giv denne vejledning til kunden efter monteringen.
Denne monteringsvejledning beskriver korrekt håndtering af produktet og de vigtigste forholdsregler, som er nødvendige for at forhindre ulykker. Læs denne vejledning grundigt, og brug produktet korrekt. Gem vejledningen til senere brug.
Sonys produkter er udformet med henblik på at opnå bedst mulig sikkerhed. Hvis produkterne anvendes forkert, kan det medføre alvorlig personskade som følge af brand, elektrisk stød, eller fordi produktet vælter eller falder ned. Undgå sådanne ulykker ved at overholde sikkerhedsforskrifterne.
FORSIGTIG
Specificerede produkter
Dette beslag til vægmontering kan kun bruges til montering af de ovenfor nævnte produkter. For TV'er skal du læse deres Referencevejledning for at finde ud af, om du kan bruge beslaget til vægmontering.
Til kunder
ADVARSEL
Hvis følgende forholdsregler ikke overholdes, kan det medføre alvorlig personskade eller død som følge af brand, elektrisk stød, eller fordi produktet vælter eller falder ned.
Monteringen skal udføres af en autoriseret installatør. Børn må ikke være i nærheden under monteringen.
Hvis beslaget til vægmontering eller TV'et ikke monteres korrekt, kan der ske følgende ulykker. Lad en autoriseret installatør udføre monteringen.
- TV'et kan falde ned og forårsage alvorlige skader, f.eks. blå mærker eller brud.
- Hvis den væg, hvor beslaget til vægmontering er monteret, er ustabil, skæv eller ikke står vinkelret på gulvet, kan enheden falde ned og forårsage personskade eller materiel skade. Væggen skal kunne holde en vægt på mindst fire gange TV'ets vægt. (Flere oplysninger om TV'ets vægt findes i TV'ets Referencevejledning).
- Hvis monteringen af beslaget til vægmontering ikke er solid nok, kan enheden falde ned og forårsage personskade eller materiel skade.
Flytning eller afmontering af TV'et skal udføres af en autoriseret installatør.
Hvis TV'et flyttes eller afmonteres af ikke-autoriserede personer, kan det falde ned og forårsage personskade eller materiel skade. Sørg for, at der er mindst to personer (tre eller flere personer til TV på 75 tommer og derover) til at bære eller afmontere TV'et.
Du må ikke fjerne skruer osv., när TV'et er monteret.
Hvis du gør dette, kan TV'et falde ned og forårsage personskade eller materiel skade.
Foretag ikke ændringer på beslaget til vægmontering.
Hvis du gør det, kan beslaget til vægmontering falde ned og forårsage personskade eller materiel skade.
Monter ikke andet udstyr end det specificerede produkt.
Dette beslag til vægmontering er udviklet til kun at bruges sammen med det specificerede produkt. Hvis du monterer andet udstyr end det specificerede, kan det falde ned eller gå i stykker og forårsage personskade eller materiel skade.
Monter ikke nogen anden belastning end TV'et på beslaget til vægmontering. Ryst ikke TV'et mod venstre/højre, op/ned.
Hvis du gør dette, kan TV'et falde ned og forårsage personskade eller materiel skade.
Du må ikke læne dig ind over TV'et eller hænge i det.
Du må ikke læne dig ind over TV'et eller hænge i det, da det kan falde ned og forårsage alvorlig personskade.
FORSIGTIG
Hvis følgende forholdsregler ikke overholdes, kan der opstå materiel skade eller personskade.
Håndter produktet forsigtigt under rengøring og vedligeholdelse.
Du må ikke trykke hårdt ind på forsiden af TV'et. Hvis du gør dette, kan TV'et falde ned og forårsage personskade eller materiel skade.
Sikkerhedsforanstaltninger
- Hvis du bruger TV'et monteret på beslaget til vægmontering gennem længere tid, kan væggen bag ved eller oven over TV'et blive misfarvet, eller tapetet kan løsne sig, afhængigt af det materiale, væggen er lavet af.
- Hvis beslaget til vægmontering fjernes efter montering på væggen, bliver skruehullerne tilbage.
- Du må ikke bruge beslaget til vægmontering på et sted, hvor det udsættes for mekaniske vibrationer.
Montering af beslaget til vægmontering
Til Sony-forhandlere
ADVARSEL
Følgende anvisninger er kun til Sony-forhandle. Sørg for at læse ovennævnte sikkerhedsforskrifter grundigt, og vær særlig opmærksom på sikkerheden under montering, vedligeholdelse, kontrol og reparation af dette produkt.
Monter ikke beslaget til vægmontering på flader, hvor TV'ets hjørner eller sider stikker frem.
Monter ikke beslaget til vægmontering på flader, f.eks. en søjle, hvor TV'ets hjørner eller sider stikker frem. Hvis en person eller genstand støder imod TV'ets fremspringende hjørne eller side, kan det medføre personskade eller materiel skade.

Du må ikke montere TV'et over eller under et klimaanlæg.
Hvis TV'et gennem længere tid udsættes for vanddryp eller luft fra et klimaanlæg, kan det medføre brand, elektrisk stød eller beskadigelse af TV'et.
Sørg for at montere beslaget til vægmontering sikkert på væggen ved at følge instruktionerne i denne brugervejledning.
Hvis nogle af skruerne er løse eller falder ud, kan beslaget til vægmontering falde ned og forårsage personskade eller materiel skade. Sørg for at bruge skruer, der egner sig til det materiale, væggen er lavet af, og monter enheden sikkert ved at bruge mindst fire skruer med en diameter på 8 mm (eller tilsvarende).

Sørg for at bruge de medfølgende skruer og tilhørende dele korrekt, og følg anvisningerne i denne monteringsvejledning. Hvis du bruger andre dele, kan TV'et falde ned og forårsage personskade eller blive beskadiget.
Sørg for at samle beslaget korrekt ved at følge den procedure, der er forklaret i denne brugervejledning.
Hvis nogle af skruerne er løse eller falder ud, kan TV'et falde ned og forårsage personskade eller blive beskadiget.
Sørg for at stramme skruerne tilstrækkeligt på den angivne position.
Hvis du ikke gør dette, kan TV'et falde ned og forårsage personskade eller blive beskadiget.
Sørg for, at TV'et ikke udsættes for stødpåvirkninger under monteringen.
Hvis TV'et udsættes for stødpåvirkninger, kan det falde ned og gå i stykker. Dette kan forårsage personskade.
Sørg for at montere TV'et på en væg, der er plan og vinkelret på gulvet.
Hvis du ikke gør dette, kan TV'et falde ned og forårsage personskade.
Sørg for at sikre kablerne forsvarligt efter korrekt montering af TV'et.
Hvis mennesker eller genstande bliver viklet ind i kablerne, kan det forårsage personskade eller beskadigelse af TV'et.
Du må ikke lade strømkablet eller tilslutningskablet blive klemt.
Hvis strømkablet eller tilslutningskablet er klemt mellem enheden og væggen eller bøjes eller snos, kan ledningstrådene blive blotlagt og forårsage kortslutning eller strømafbrydelse. Dette kan medføre brand eller elektrisk stød.

De skruer, der skal bruges til at fastgøre beslaget til væggen, medfølger ikke.
Brug skruer, der egner sig til det materiale, væggen er lavet af, när beslaget til vægmontering monteres.
Indholdsfortegnelse
Montering af basen på væggen....8
Gør klar til montering af TV'et....9
KD-75XG80□□ 9
KD-65XG81□□ / 65XG80□□.... 10
KD-55XG81□□ / 55XG80□□....11
KD-49XG81□□ / 49XG80□□ / 43XG81□□ / 43XG80□□....12
Vægmontering af TV'et ....14
KD-75XG80□□ 14
KD-65XG81□□ / 65XG80□□ / 55XG81□□ / 55XG80□□ / 49XG81□□ / 49XG80□□ / 43XG81□□ / 43XG80□□....16
Kontroller monteringen....19
Flere oplysninger 19
Specifikationer....19
Montering af TV'et på væggen
Monteringsproceduren varierer afhængigt af TV'et.
Brug beslaget til vægmontering SU-WL450 til at montere TV'et på væggen.
Bemærk
- Hvis TV-foden er monteret på TV'et, skal TV-foden afmonteres først. Se opsætningsvejledningen og følg trinnene i modsat rækkefølge for at afmontere TV-foden.
- Anbring TV'et med skærmen nedad på en jævn og stabil overflade dækket af et tykt og blødt underlag, når de tilhørende dele til beslaget til vægmontering skal spændes, eller når TV-foden skal fjernes fra TV'et, så LCD-skærmens overflade ikke bliver beskadiget.
- Sørg for at opbevare skruerne et sikkert sted væk fra børn.
- Sørg for at have TV-referencevejledningen og installationsvejledningen klar inden installation.
- Find på forhånd en stjerneskruetrækker frem, der passer til skruerne.
• Find TV'ets midtpunkt. - Klargør mindst fire skruer med en diameter på 8 mm og en skrue på 5 mm eller tilsvarende (medfølger ikke). Vælg skruer, der passer til væggens materiale.
Kontrol af dele
Følger med SU-WL450
- Kontroller, at alle dele forefindes.
A Base (20) (1) B Trisse (2)![]() | ![]() |
C PSW 6x20 (4) D P$W 4x20 med bøsning (2)![]() | ![]() |
E Afstandsstykke (20) (2)![]() | F Bælte (1)![]() |
G Bøsning (20) (M4) (2)![]() | H PSW 4x20 (2)![]() |
I Baseadapter (2) J![]() | PSW 4x10 (8)![]() |
K Afstandsstykke (60) (2)![]() | L PSW 6x50 (2)![]() |
M Bøsning (M4) (2) N![]() | PSW 4x50 (2)![]() |
Find en placering
Sørg for, at der er nok plads til TV'et på væggen, og at væggen kan bære en vægt på mindst fire gange TV'ets vægt.
Se følgende tabel vedrørende montering af TV'et på væggen. Flere oplysninger om TV'ets vægt findes i TV'ets Referencevejledning.

text_image
Standardmontering Smal-montering SkæmmidtpunktEnhed: mm
| Modelnavn | Skærmens mål | Mål for skærm-midtpunkt | Længde for montering | ||
| a | b | c | d | e | |
| Standard-montering Smal-montering | |||||
| KD-75XG80□□ | 1.686 | 970 202 | 690 142 | 100 | |
| KD-65XG81□□ | 1.463 | 845 | 173 | 597 142 | 100 |
| KD-65XG80□□ | 1.463 | 845 | 173 | 597 142 | 100 |
| KD-55XG81□□ | 1.241 | 721 | 95 | 460 | 141 100 |
| KD-55XG80□□ | 1.241 | 721 | 95 | 460 | 141 100 |
| KD-49XG81□□ | 1.101 | 645 | -15* | 314 | 119 |
| KD-49XG80□□ | 1.101 | 645 | -15* | 314 | 119 |
| KD-43XG81□□ | 970 | 570 | 23 | 315 | 119 |
| KD-43XG80□□ | 970 | 570 | 23 | 315 | 119 |
* Beslaget skal placeres under skærmmidtpunktet.
Bemærk
- Tallene i oversigten kan variere en smule afhængigt af monteringen.
- Hvis TV'et monteres på en væg, vipper TV'ets øverste del lidt fremad.
Tegningen nedenfor viser, hvor stor afstand der skal være mellem TV'et og loftet og fremspringende dele af væggen.
Enhed: mm

text_image
300100 100 100- For at sikre tilstrækkelig ventilation og forhindre ansamling af støv og snavs:
- Læg ikke TV'et fladt ned, og montér det ikke på hovedet, bagvendt eller sidevendt.
— TV'et må ikke installeres på en hylde, et tæppe, en seng eller i et skab.
— TV'et må ikke dækkes til med stof, f.eks. gardiner, eller andre ting, f.eks. aviser osv. - Installer ikke TV'et som vist nedenfor.
Luftcirkulationen afspærres.

text_image
VægBemærk
- Hvis kablerne skal føres i væggen, skal du lave et hul, som de kan føres igennem, før monteringen påbegyndes.
Lav et hul i væggen uden for basens (20) Ⓐ, baseadapter ① og afstandsstykkets (20) Ⓔ, afstandsstykkets (60) Ⓔ perimeter, så kablerne ikke kommer i klemme.
2 Vælg vægmonteringsform. Afstand fra TV'ets bagside til væggen kan vælges som vist nedenfor.
2-a Standardmontering
2-b Smal-montering
Se tabellen i trin 1.
ADVARSEL
- Når 2-b vælges, begrænses adgangen til stikket bagpå.

text_image
2-a 2-b3 Se tabellen nedenfor vedrørende placering af baseadapterens fitting. Ved valg af 2-b springes dette trin over.
| Modelnavn Krogplacering | |
| KD-75XG80□□ | |
| KD-65XG81□□ | b |
| KD-65XG80□□ | |
| KD-55XG81□□ | |
| KD-55XG80□□ | c |
| KD-49XG81□□ | |
| KD-49XG80□□ | |
| KD-43XG81□□ | d |
| KD-43XG80□□ | |

text_image
a b c d 10 20 30 40 50 60 70 80 90 10101011 10101011Tilpas baseadapter ① med en skrue (PSW 4x10) Ⓙ til base (20) Ⓐ ved valg af 2-a.

4 Bestem positionerne for skruerne til montering af base (20) Ⓐ.
Se specifikationerne på side 19.
Ved valg af 2-a bruges hulpositionerne i baseadapter ①.
ADVARSEL
- Væggen, som TV'et skal monteres på, skal som minimum kunne klare en belastning på fire gange TV'ets vægt (Flere oplysninger om TV'ets vægt findes i TV'ets Referencevejledning.).
- Kontroller bæreevnen for den væg, som TV'et skal hænges op på. Du kan eventuelt forstærke væggen.
Montering af basen på væggen
- Brug mindst fire skruer med en diameter på 8 mm eller tilsvarende (medfølger ikke).
- Sæt fire skruer i hullerne på baseadapter ① med base (20) Ⓐ (kun 2-a).
- Monter basen (20) Ⓐ horisontalt på væggen.

text_image
2-a I A
text_image
2-b AGør klar til montering af TV'et
Der henvises til installationsvejledningen for installation af fod.
KD-75XG80□□
1 Markér installationsstedet på væggen.
- Brug afdækningstape osv. (medfølger ikke) til at markere TV'ets placering i nærheden af basen eller baseadapteren. Se nedenstående tabel.

text_image
Skærmmidtpunkt Afdækningstape (1.000) (300) a b d cEnhed: mm
| Modelnavn | Længde tilmarkering | Mål forskærm-midtpunkt | ||
| a | b | c | d | |
KD-75XG80□□ 1.686 564 150 202
2 Montér de tilhørende dele til beslaget til vægmontering. Læs afsnittet "Følger med SU-WL450" under "Kontrol af dele" på side 5 for at få oplysninger om monteringsdele.
Bemærk
- Fastgør monteringsdelene med skruer.
- Hvis der bruges en elektrisk skruetrækker, skal drejningsmomentet indstilles til ca. 1,5 N·m {15 kgf·cm}.
- Sørg for at gemme de brugte eller ubrugte dele på et sikkert sted til senere brug. Gem vejledningen til senere brug.
Standardmontering (2-a)

text_image
Trisse Ⓑ Skrue (+PSW 6 x 20) Ⓔ Afstandsstykke (60 mm) Ⓔ Skrue (+PSW 6 x 50) Ⓔ Bælte ⒻSmal-montering (2-b)
Bemærk
- Du kan ikke bruge nogle af stikkene bag på TV'et, hvis du bruger denne monteringstype.

3 Slut de nødvendige kabler til TV'et.
Sørg for at tilslutte kablerne før montering af TV'et på væggen. Du kan ikke tilslutte kablerne, når TV'et er monteret. Se den Referencevejledning, der fulgte med TV'et.
Bemærk
- Lad en autoriseret person trække kablerne i væggen.
- Saml forbindelseskablerne i et bundt for at undgå at træde på dem inden vægmontering.
4 Afmonter TV'ets TV-fod.
- Fjern én side af TV-foden af gangen. Hold godt fast på TV-foden med begge hænder, mens de andre personer løfter TV'et op.

- Gentag foregående trin og fjern den anden side af TV-foden.
Bemærk
- Der kræves tre eller flere personer til at afmontere TV-foden.
- Vær forsigtig og brug ikke unødig kraft ved afmontering af TV-foden fra TV'et da det kan forårsage at TV'et falder, hvilket kan resultere i tilskadekomst af personer eller fysisk skade på TV'et.
- Vær forsigtig ved håndtering af TV-foden for at undgå at beskadige TV'et.
- Vær forsigtig når du løfter TV'et, når TV-foden er afmonteret, da TV-foden kan vælte og forårsage personskade.
- Vær forsigtig, når du fjerner TV-foden fra TV'et for at forhindre, at det vælter og beskadiger overfladen, som TV'et er placeret på.
KD-65XG81□□ / 65XG80□□
1 Montér de tilhørende dele til beslaget til vægmontering. Læs afsnittet "Følger med SU-WL450" under "Kontrol af dele" på side 5 for at få oplysninger om monteringsdele.
Bemærk
- Fastgør monteringsdelene med skruer.
- Hvis der bruges en elektrisk skruetrækker, skal drejningsmomentet indstilles til ca. 1,5 N·m {15 kgf·cm}.
- Sørg for at gemme de brugte eller ubrugte dele på et sikkert sted til senere brug. Gem vejledningen til senere brug.
Standardmontering (2-a)

text_image
Trisse Ⓑ Skrue (+PSW 6 x 20) Ⓓ Afstandsstykke (60 mm) Ⓔ Skrue (+PSW 6 x 50) ⒢ Bælte ⒻSmal-montering (2-b)
Bemærk
- Du kan ikke bruge nogle af stikkene bag på TV'et, hvis du bruger denne monteringstype.

2 Slut de nødvendige kabler til TV'et.
Sørg for at tilslutte kablerne før montering af TV'et på væggen. Du kan ikke tilslutte kablerne, når TV'et er monteret. Se den Referencevejledning, der fulgte med TV'et.
Bemærk
- Lad en autoriseret person trække kablerne i væggen.
- Saml forbindelseskablerne i et bundt for at undgå at træde på dem inden vægmontering.
3 Afmonter TV'ets TV-fod.
- Fjern én side af TV-foden af gangen. Hold godt fast på TV-foden med begge hænder, mens de andre personer løfter TV'et op.

- Gentag foregående trin og fjern den anden side af TV-foden.
Bemærk
- Der kræves tre eller flere personer til at afmontere TV-foden.
- Vær forsigtig og brug ikke unodig kraft ved afmontering af TV-foden fra TV'et da det kan forårsage at TV'et falder, hvilket kan resultere i tilskadekomst af personer eller fysisk skade på TV'et.
- Vær forsigtig ved håndtering af TV-foden for at undgå at beskadige TV'et.
- Vær forsigtig når du løfter TV'et, når TV-foden er afmonteret, da TV-foden kan vælte og forårsage personskade.
- Vær forsigtig, når du fjerner TV-foden fra TV'et for at forhindre, at det vælter og beskadiger overfladen, som TV'et er placeret på.
KD-55XG81□□ / 55XG80□□
1 Montér de tilhørende dele til beslaget til vægmontering. Læs afsnittet "Følger med SU-WL450" under "Kontrol af dele" på side 5 for at få oplysninger om monteringsdele.
Bemærk
- Fastgør monteringsdelene med skruer.
- Hvis der bruges en elektrisk skruetrækker, skal drejningsmomentet indstilles til ca. 1,5 N·m {15 kgf·cm}.
- Sørg for at gemme de brugte eller ubrugte dele på et sikkert sted til senere brug. Gem vejledningen til senere brug.
Standardmontering (2-a)

text_image
Trisse Ⓑ Skrue (+PSW 6 x 20) Ⓒ Afstandsstykke (60 mm) Ⓔ Skrue (+PSW 6 x 50) ⒢ Bælte ⒻSmal-montering (2-b)
Bemærk
- Du kan ikke bruge nogle af stikkene bag på TV'et, hvis du bruger denne monteringstype.

2 Slut de nødvendige kabler til TV'et.
Sørg for at tilslutte kablerne før montering af TV'et på væggen. Du kan ikke tilslutte kablerne, når TV'et er monteret.
Se den Referencevejledning, der fulgte med TV'et.
Bemærk
- Lad en autoriseret person trække kablerne i væggen.
- Saml forbindelseskablerne i et bundt for at undgå at træde på dem inden vægmontering.
3 Afmonter TV'ets TV-fod.

- Vær forsigtig når du løfter TV'et, når TV-foden er afmonteret, da TV-foden kan vælte og forårsage personskade.
- Vær forsigtig, når du fjerner TV-foden fra TV'et for at forhindre, at det vælter og beskadiger overfladen, som TV'et er placeret på.
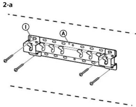
KD-49XG81□□ / 49XG80□□ / 43XG81□□ / 43XG80□□
1 Afmonter TV'ets TV-fod.

- Læg TV'et på et blødt stykke stof, så du ikke beskadiger skærmens forside.
- Når du monterer dit Beslag til vægmontering, må du ikke bruge de skruer, der blev fjernet fra TV-foden.
- Opbevar den fjernede TV-fod og de tilhørende skruer et sikkert sted – utilgængeligt for børn. Du får brug for delene, hvis TV'et engang skal stå på et bord. TV-foden kan ikke købes særskilt.
ADVARSEL
- Kontroller, at tv'et er placeret lodret, før det tændes. Tv'et må ikke tændes, mens LCD-panelet vender nedad, da dette kan medføre et uensartet billede.
- Hvis tv'ets overflade udsættes for tryk eller stødpåvirkninger, kan tv'et gå i stykker eller beskadiges.
- Læg tv'et, så skærmen kommer til at ligge på en stabil og plan overflade, og tv-foden hænger ud over kanten af overfladen. Hvis forsiden af tv'et og den nederste del af tv-foden placeres på samme niveau, kan skærmen beskadiges af den ulige vægtfordeling.
- Når tv-foden afmonteres fra tv'et, skal du holde godt fast i tv-foden med begge hænder.
2 Montér de tilhørende dele til beslaget til vægmontering. Læs afsnittet "Følger med SU-WL450" under "Kontrol af dele" på side 5 for at få oplysninger om monteringsdele.
Bemærk
- Fastgør monteringsdelene med skruer.
- Hvis der bruges en elektrisk skruetrækker, skal drejningsmomentet indstilles til ca. 1,5 N·m (15 kgf·cm).
- Sørg for at gemme de brugte eller ubrugte dele på et sikkert sted til senere brug. Gem vejledningen til senere brug.
Standardmontering (2-a)

text_image
Skrue (+PSW 6 x 20) © Trisse Ⓑ Skrue (+PSW 6 x 50) Ⓛ Afstandsstykke (60 mm) ® Blødt underlag Bælte ⒻSmal-montering (2-b)
Bemærk
- Du kan ikke bruge nogle af stikkene bag på TV'et, hvis du bruger denne monteringstype.

3 Slut de nødvendige kabler til TV'et.
Sørg for at tilslutte kablerne før montering af TV'et på væggen. Du kan ikke tilslutte kablerne, når TV'et er monteret.
Se den Referencevejledning, der fulgte med TV'et.
Bemærk
- Lad en autoriseret person trække kablerne i væggen.
- Saml forbindelseskablerne i et bundt for at undgå at træde på dem inden vægmontering.
Vægmontering af TV'et
KD-75XG80□□
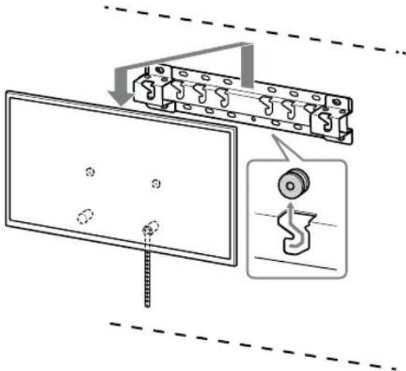
1 Løft TV'et.
- For placering af trisserne Ⓑ tpå basen eller baseadapteren, se oversigten i trin 3 i "Find en placering" på side 7.
- Sørg for, at bagsiden af TV'et berører basen eller baseadapteren, når du holder TV'et.
Bemærk
- Hold TV'et sikkert med begge hænder og sørg for, at bæltet Ⓕ og bunden af TV'et er i overensstemmelse med afdækningstapen.
- Vær tre personer til at bære TV'et, og den person, der er foran TV'et, fører de andre til at justere placeringen.

- Vær meget forsigtig, når TV'et installeres på væggen, især for den person, der støtter TV'et nedenunder, da TV'et kan falde, og forårsage alvorlig kropsskade eller endda dødsfald.

- Lad forsigtigt TV'et glide ned og hæng trisserne Ⓑ, som er fastgjort bag på TV'et, til basen eller baseadapteren, og bemærk hullernes form.
- Efter montering af TV'et på væggen kontrolleres, at trisserne Ⓑ er fastgjort korrekt i basen eller i baseadapteren.
- Slip begge hænder langsomt for at sikre, at TV'et ikke falder.

- Når du har installeret TV'et på væggen, skal du fjerne afdækningstapen osv. fra væggen.

DK
ADVARSEL
- Fastgør bæltet Ⓕ ordentligt til væggen.

text_image
2-a 2-b F F- Brug en skrue med en diameter på 5 mm eller tilsvarende (medfølger ikke).
Bemærk
- Prøv forsigtigt at trække TV'ets bund mod dig selv for at sikre dig, at det ikke kan flyttes fremad. Hvis bunden kan flyttes, er den ikke fastgjort korrekt, og bæltet (F) skal sikres ordentligt igen.

text_image
KD-65XG81□□ / 65XG80□□ / 55XG81□□ / 55XG80□□ / 49XG81□□ / 49XG80□□ / 43XG81□□ / 43XG80□□1 Løft TV'et.
- For placering af trisserne Ⓑ på basen eller baseadapteren, se oversigten i trin 3 i "Find en placering" på side 7.
- Sørg for, at bagsiden af TV'et berører basen eller baseadapteren, når du holder TV'et.

- Hold TV'et fast med begge hænder.
- Lad forsigtigt TV'et glide ned og hæng trisserne Ⓑ, som er fastgjort bag på TV'et, til basen eller baseadapteren, og bemærk hullernes form.
- Efter montering af TV'et på væggen kontrolleres, at trisserne Ⓑ er fastgjort korrekt i basen eller i baseadapteren.
- Slip begge hænder langsomt for at sikre, at TV'et ikke falder.

- Fastgør bæltet Ⓕ ordentligt til væggen.

text_image
2-a 2-b F F- Brug en skrue med en diameter på 5 mm eller tilsvarende (medfølger ikke).
Bemærk
- Prøv forsigtigt at trække TV'ets bund mod dig selv for at sikre dig, at det ikke kan flyttes fremad. Hvis bunden kan flyttes, er den ikke fastgjort korrekt, og bæltet (F) skal sikres ordentligt igen.
Kontroller monteringen
Kontroller følgende punkter.
- Trisserne Ⓑ skal hænge ordentlig i basen eller i baseadapteren.
- Ledningen og kablet må ikke være snoet eller klemt.
- Bæltet Ⓕ skal være stramt uden at hænge.
ADVARSEL
- Forkert placering af strømkablet osv. kan medføre brand eller give elektrisk stød, hvis der opstår en kortslutning. Kontroller, at monteringen er sikker.
Flere oplysninger
Hvis TV'et skal afmonteres, udføres monteringsproceduren i omvendt rækkefølge.

Vægt (kun base): (ca.) [kg]
0,8
Design og specifikationer kan ændres uden varsel.
Ikke la strømledningen eller forbindelsesledningen komme i klem.
Hvis strømledningen eller forbindelsesledningen blir klemt mellom enheten og veggen, eller blir bøyd eller vridd med makt, kan de interne lederne bli eksponert og forårsake en kortslutning eller et elektrisk brudd. Dette kan forårsake brann eller elektrisk støt.

Luftsirkulering er blokkert.

text_image
VeggMerknad
3 Koble de(n) nødvendige kabelen(e) til TV-en.
Sørg for at kablene kobles til før du installerer TV-en på veggen. Du kan ikke koble til kablene når TV-en er installert. Se referanseveiledningen som er inkludert med TV-en.
Merknad
- Overlat kabelføring inne i veggen til en lisensiert entreprenør.
- Før veggmontering bør du samle sammen tilkoblingskablene for å hindre at du tråkker på dem.
2 Koble de(n) nødvendige kabelen(e) til TV-en.
Sørg for at kablene kobles til før du installerer TV-en på veggen. Du kan ikke koble til kablene når TV-en er installert. Se referanseveiledningen som er inkludert med TV-en.
Merknad
- Overlat kabelføring inne i veggen til en lisensiert entreprenør.
- Før veggmontering bør du samle sammen tilkoblingskablene for å hindre at du tråkker på dem.
2 Koble de(n) nødvendige kabelen(e) til TV-en.
Sørg for at kablene kobles til før du installerer TV-en på veggen. Du kan ikke koble til kablene når TV-en er installert. Se referanseveiledningen som er inkludert med TV-en.
Merknad
- Overlat kabelføring inne i veggen til en lisensiert entreprenør.
- Før veggmontering bør du samle sammen tilkoblingskablene for å hindre at du tråkker på dem.
3 Koble de(n) nødvendige kabelen(e) til TV-en.
Sørg for at kablene kobles til før du installerer TV-en på veggen. Du kan ikke koble til kablene når TV-en er installert. Se referanseveiledningen som er inkludert med TV-en.
Merknad
- Overlat kabelføring inne i veggen til en lisensiert entreprenør.
- Før veggmontering bør du samle sammen tilkoblingskablene for å hindre at du tråkker på dem.
- Bruk en skrue med 5 mm diameter eller tilsvarende (følger ikke med).
Merknad
- Hold TV-en godt fast med begge hender.
2 Installer TV-en på sokkelen eller sokkeladapteren.
- Bruk en skrue med 5 mm diameter eller tilsvarende (følger ikke med).
Merknad
Kontroller følgende punkter.
NemManual













