MPG4064BT - Mp3-afspiller DENVER - Gratis brugsanvisning og manual
Find enhedens vejledning gratis MPG4064BT DENVER i PDF-format.
Brugerspørgsmål om MPG4064BT DENVER
0 spørgsmål om dette apparat. Besvar dem du kender, eller stil dit eget.
Stil et nyt spørgsmål om dette apparat
Download vejledningen til din Mp3-afspiller i PDF-format gratis! Find din vejledning MPG4064BT - DENVER og tag din elektroniske enhed tilbage i hånden. På denne side er alle dokumenter nødvendige for brugen af din enhed offentliggjort. MPG4064BT af mærket DENVER.
BRUGSANVISNING MPG4064BT DENVER
Denne MP4-afspiller er en fuld multimedia-afspiller. Det betyder, at den kan vise fotos, optage og afspille live audio og afspille musik- og videofiler. Disse filer skal først lokaliseres på din computer, inden du kan flytte dem til din afspiller.
Musikfilerne er alminderigvis i formatet "MP3" eller "WMA". MP3 er det mest alminderige audioformat, og dette format anbefales til din afspiller. Du kan kobe dine yndlingsnumre som MP3- aller WMA-filer på internettet.
Videofiler er lidtmere komplekse,fordi derfindes sa mange forskellige mader, hvorpa en video kan vare indkodet. Din afspiller leveres med en video software, der kan konvertere de feste almindelige videoformater til et format, der kan vises pa din medieafspiller.
Billedfil er skal vare i formatet JPG eller BMP.Det burde icke va re noget problem, da det er sandsynligt, at alle eller de fleste biledfilerei dette ojeblik befinder sig pa din computer, allerede er i et af disse to formater.
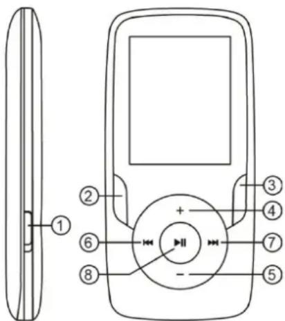
Oversigt over afspilleren

| Emne | Beskrivelse | Emne | Beskrivelse |
| ① | POWER ON/OFF | ⑤ | Vol - |
| ② | TILBAGE | ⑥ | FORRIGE |
| ③ | MENU | ⑦ | NÉ STE |
| ④ | Vol + | ⑧ | AFSPIL / PAUSE / TÊ ND - SLUK |
Start her!
Opladning:
Nár du vil oplade din afspiller, skal du forbinde den til din computer via det medfolgende USB-kabel. En fuld opladning tager typisk 3-5 timer.
Først skal du sikre dig, at din afspiller er tæ ndt (står på ON). Det er den knap, der sidder på sideren af afspilleren. Hvis du holder afspilleren med dens front imod dig, skal du skubbe knappen mod venstre. Du vil nu få vist velkomstskærmen, og afspilleren starter op.
När afspilleren er tænde, skal du sætte det[lille mini-USB-stik på USB-kablet i USB-porten på din afspiller, som vist herunder.
Sæt derræst det større stik pa kablet i en ledig USB-terminal pa din computer.
USB-terminalen skal vare en hojhastigheds USB 2.0 terminal.
Skærmen på din afspiller blinker og viser et ikon med en afspiller forbundet til en computer. Dette betyder, at afspilleren oplader korrekt.
Hvis din afspiller ikke allerede er forbundet til din computer, skal du forbinde den via USB-ktablet.
Du vil muligvis fà vist et pop-up vindue pà din computer, der spörger dig, hvad du vil gère med den nye enhed, der er blevet tilsluttet (hvis du ikke fær davon meddefalse, er det ikke noget problem). Luk dette vindue.
Åben,mappen'Denne computer'(Computer'i Vista).Denne mappe ligger ofte paskrivebordet.Du kan ogsa gà ind i Start/Computer for at Åbne mappen.Imappevinduet kan du se de forsellige drev,der er forbundet til din computer."C:" er din computers harddisk. "D:" og sommetider "E:" vil almindeligvis re dit CDeller DVD-drev.Nar du forbinder din afspiller til din PC,vil computeren automatisk give afspilleren et "drev-bogstav".Det kan vare et hvilket som helst bogstav,men vil typisk vare drev F,G eller H.Billedet herunder viser et eksempel pa,hvordan mappevinduet 'Denne Computer' ser ud.
Hvis du ikke er sikker på, hvilket drev der hører til din afspiller, kan du teste det ved at dobbeltklikke på det drev, du mener er din MP4-afspiller, og se hvad,mappen indeholder. Din computer vil vise ffolgende mapper: Musik, Video, Billeder, E-bog. Hvis du ikke kan se disse ikoner i det drev, du har Åbnet, er det ikke det drev, der hører til afspilleren, du har Åbnet. Prov et andet drev. Når du ved, hvilket drev der tilhører MP4-afspilleren, kan du begynde at flytte filer fra din computer til din afspiller.
Hvis du stadig ikke er sikker på, hvilket drev der hører til din afspiller, kan du prove følgende: Tag stikket til afspilleren ud af computeren og sæt det i igen, mens mappevinduet er Åbent. Når du tilslutter afspilleren igen, vil du se et nyt drevkommen til syne i mappevinduet 'Denne Computer'. Dette vindue er din MP4-afspiller.
Som du kan se, er der allerede oprettet mapper til hvr enkelt type mediefiler i din afspiller. MP3-filer skal læ gges i machen "Musik". Videofiler skal læ gges i machen "Video". Billedfter skal læ gges i machen "Billeder".
Hold mappevinduet Åbent og find de mapper, hvor dine MP3-filer aller andre mediefiler ligger. De feste har disse filer ligngende i mappen Dokumenter/ Musik. Men det kan væ re, at dine mediefiler ligger et andet sted på computeren. Du SKAL vide, hvor dine filer ligger, for du kan flytte dem til afspilleren. Hvis du har hentet musik ned fra hjemmesiden music.com, vil disse musikfiler typisk væ re gemt i en mapperpe på skrivebordet med titlen "emusic".
Du kopierer filer fra din PC til din afspiller ved simpelthen at tra kke dem fra det ene vindue til det andet. Hvis dine MP3-filer f.eks. ligger i,mappen Musik,kal du flyttemed fra,mappen Musik til den musikmappe, der ligger i vinduet med MP4-afspillerens drev.
Hvis du foretræ kker det, kan du også anvende kopier og sæ t ind, ℝ du flytter filer fra det ene vindue til det andet. Højreklik på den fil, du vil kopiere, og væ lg "kopier". Gå dernæ st ind i vinduet med MP4-afspilleren, højreklik og væ lg "sæ t ind". Dermen kopieres filen til din afspiller.
Disse filer ligger nu i din afspiller. Flyt video, billeder og tekstfiler på samme@måde. Du skal blot sørge for atkommen dem i de rigtige mapper! Når du har flyttet alle dine mediefiler over i afspilleren, skal du blot tage stikket til afspilleren ud af computeren, tænde afspilleren, og du er klar til at afspille!
Hvis du foretræ kker at lade Window Media Player synkronisere dine filer, er din Video MP4-afspiller ogsa kompatibel med Window Media Player og du kan lade dette program stå for synkroniseringen, narr musikfiler overføres.
Når du vil tænde afspilleren, skal du skubbe kontakten on/off på sideren af afspilleren over på positionen ON.
Forst vises en kort velkomstvideo. Herefter vises hovedmenuen. Som standard vises musikskrmen, nar afspilleren tæ ndes.
När du vil skifte mellem Funktionerne, skal du trykke på knappen Næ ste eller Forrige. När du ser den Funktion, du vil anvende, skal du trykke på knappen Menu for at abne funktionen.
Musik
I hovedmenuen skal du trykke på knappen Fremad for at gå til Funktionen Musik og deren st trykke på knappen Menu.
Herefter vil du fà vist menuen MP3-afspilning. Denne skæ rm viser musiktitlen og en timer over afspilningen samt andre ikoner for tillæ gsfungktoner.
Tryk på knappen AFSPIL for at afspille en musikfil.
Tryk på knappen AFSPIL under afspilning, hvis du vil pause afspilningen. Tryk på knappen AFSPIL igen for at genoptage afspilningen.
Tryk pÅ knappen N' STE, hvis du vil springe til næ ste musikfil.
Nár du vil vende tilbage til hovedmenuen, skal du holde knappen Tilbage inde i 2 sekunder.
Video
I hovedmenuen skal du væ lge functioren VIDEO og trykke på knappen Menu.
Du fãr vist en liste over alle de mapper, der ligger i afspilleren, tillige med alle de videoer, du har gemt i afspilleren.
Tryk på knappen NÉ STE for at gå til den video, du vil se. Tryk på knappen AFSPIL for at afspille filen.
Hvis du vil vende tilbage til menuen video, skal du trykke på knappen Menu.
Nár du vil vende tilbage til hovedmenuen, skal du holde knappen Tilbage inde i 2 sekunder.
Billeder
I hovedmenuen skal du væ lge functioren BILLEDER og trykke på knappen Menu. Du fær vist en liste over alle de mapper, der ligger i afspilleren, tillige med alle de billedfiler, du har gemt i afspilleren.
Tryk på knappen NÉ STE for at scrolle gennem listen, til du finder den billedfil, du vil se.
Tryk på knappen Menu, hvis du vil gå tilbage til menuen BILLEDER.
Nár du vil vende tilbage til hovedmenuen, skal du holde knappen Tilbage inde i 2 sekunder.
Optagelse
I hovedmenuen skal du vå lge Funktionen OPTAGELSE og trykke på knappen Menu. Afspilleren aktiverer OPTAGE-funktionen og viser den tilhørende menu. Tryk på knappen AFSPIL for at starte en optagelse.
Tryk pa gnappen AFSPIL for at pause optagelsen.
Hvis du vil fortse tte optagelsen, skal du trykke pa knappen AFSPIL ingen. Hermed fortsetter optagelsen indenfor samme fil. Tryk pa knappen AFSPIL, när du vil aflutte optagelsen.
Gem filen ved at trykke på knappen Menu. Denne handling gemmer filen og vender tilbage til hovedmenuen.
Bluetooth-tilstand
Gå ind i hovedmenuen, væ lg BLUETOOTH-tilstand og tryk på knappen AFSPIL for at Åbne. Langt tryk på NÉ STE for at.slå Bluetooth til og starte søgningen,tryk på Afspil for at oprette forbindelse og parre. Du kan væ lge mellem forskellige Bluetooth-eheder ved at trykke på "FORRIGE" og "NÆSTE".
Langt tryk på FORRIGE for at slå Bluetooth fra. Hvis du vil ophæ ve en parring med en enched, skal du trykke og holde Menu-knappen i 2 sekunder. Du kan vende tilbage til hovedmenuen ved at trykke gentagne gange på knappen TILBAGE.
Justering af lydstyrken:
Du kan indstille lydstyrken under afspiling ved at trykke pa knappen VOL.
Tryk på knappen Næ ste eller Forrige for at skrue op eller ned for lyden. Mens du trykker, vil du kunne se volumentallet stige eller dale tilsvarende.
Systemkrav mindst:
Windows XP eller nyere. Eldre operativsystemer vil kunne fungere med denen afspiller, safremt din computer har USB 2.0
Windows Media Player (til oprettelse af afspilningslister)
USB 2.0
Indholdet i pakken:
MP4-afspiller
USB 2.0 overforselskabel
retelefoner
ALLE RETTIGHER RESERVERET, COPYRIGHT DENVER ELECTRONICS A/S
DENVER
www.denver-electronics.com

Elektrisk og elektronisk udstyr samt medfølgende batterier indeholder materialer,komponenter og stoffer, der kan væ re skadelige for menneskers sundhed og for miljøet, hvis affaldet (kasseret elektrisk og elektronisk udstyr og batterier) ikke handfteres korrekt.
Elektrisk og elektronisk udstyr og batterier er mæ rket med nedenstäende overkrydsede skraldespand. Den symboliserer, at elektrisk og elektronisk udstyr og batterier ikke mæ bortskaffesammen med usorteret husholdningsaffald, men skal indsamles sæ rskilt.
Som slutbruger er det vigtigt, at du afleverer dine udtjente batterier til de ordninger, der er etablerede. Pá denen măde er du med til at sikre, at batterierne genanvendes i overensstemmelse med lovgivningen og ikke unødigt belaster miljøet.
AlleCOMMuner har etableret indsamlingsordninger, hvor kasseret elektrisk og elektronisk udstyr samt bärbare batterier gratis kan afleveres af borgerne pa
genbrugsstationer og andre indsamlingssteder eller bliver afhentet direkte fra husholdningerne. Nærmere information kan fæs hos kommunens tekniske forvaltning.
Import:
DENVER ELECTRONICS A/S
Stavneagervej 22
DK-8250 Egaa
Danmark
www.facebook.com/denvererelectronics
En kopi af overensstemmelseserkla ringen kan rekvireres ved henvendelse til:
Inter Sales A/S
Stavneagervej 22
DK-8250 Egaa
Danmark
NemManual