MPG4064BT - Reproductor de mp3 DENVER - Manual de uso y guía de instrucciones gratis
Encuentra gratis el manual del aparato MPG4064BT DENVER en formato PDF.
Preguntas de los usuarios sobre MPG4064BT DENVER
0 pregunta sobre este aparato. Responde a las que conoces o haz la tuya.
Hacer una nueva pregunta sobre este aparato
Descarga las instrucciones para tu Reproductor de mp3 en formato PDF gratis! Encuentra tus instrucciones MPG4064BT - DENVER y toma tu dispositivo electrónico nuevamente en la mano. En esta página están publicados todos los documentos necesarios para el uso de su dispositivo. MPG4064BT de la marca DENVER.
MANUAL DE USUARIO MPG4064BT DENVER
El reproductor de video MP4 es un completeo reproductor multimedia. Esto significa que做不到ar fotografias, grabar y producirá audio en vivo y producirá música y ARCHivos de video. Estos archivos deben estar ubicados en primer lugar en suordenador antes de que pueda trasladarse al reproductor.
Los ARCHivos de música está generalmente en la forma de ARCHIVOS "MP3" o "WMA". MP3 es el formatting de audio más habitual y el formatting recomendado para su reproductor. Puedeadirir ARCHIVOS MP3 o WMA de sus caniones favoritas en Internet.
Los ARCHivos de video son ligeramente más complicados, ya que existen muchasomanas en las que codificar un video. Su reproductor se presenta con un softwarede video que convertirá la mayoría de las formas de video en un formatting que puedamostrarse en el reproductor.
Es Neededo que las fotografias estén en formatting JPG o BMP. No se preocupe—es muy probable que todas o que la mayoría de las fotografías queonga en el ordinador ya estén en uno de这些东西 dos FORMATs.
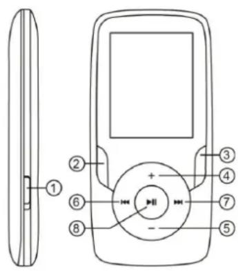
Su reproductor

| Elems to | Descripción | Elems to | Descripción |
| ① | ALIMENTACIÓ N CONECTADA | ⑤ | Volumen Abajo |
| ② | RETURN | ⑥ | ANTERIOR |
| ③ | MENU | ⑦ | SIGUIENTE |
| ④ | Volumen ARRIBA | ⑧ | REPRODUCCIÓ N / PAUSA / ON OFF |
i Empiece ahora!
Carga:
Para cargar el reproductor deben conectarlo a su ordinador personal mediante en cable USB que se adjunta. Una entrega completa normalmente tarda 3-5 horas.
En primer lugar, asegúrese que su reproductor se oculta en la posición ON. Éste es el botón situado a un lado del reproductor. Si mira a la parte frontal del reproductor, mueva el botón a la izquierda. Verá el video de bienvenida y el reproductor se encenderá.
Una vez que el reproductor está encendido, conecte el extremo(PC) del cable USB en el puerto USB del reproductor, tal y como se muestra debajo.
Posteriormente, conecte el extremo más largo del cable en un puerto USB disponible de su orderador. Asegúrese que el puerto es un puerto USB 2.0 de alta velocidad.
La pantalla del reproductor parpadeará y做不到 un icono que muestra un reproductor conectado a un ordinador. Esto indica que el reproductor se está cargando correctamente.
Mover archives de su ordinador a su reproductor.
Si el reproductor no está conectado todas al orderador, conectelo ahora usingo el cable USB.
Puede que vea una ventana emergente en su ordinador, Solicitándole que deseahacer con el nuevo dispositivo (si no la ve no se preocupe). Cierre esta ventana.
Abra la ventana de Mi PC (ordenador con Vista). Ósta normalmente está situada en el escritorio. Asimismo puede ir a Inicio / ordinador para abrir esta ventana. En esta ventana verá varias unidades que están connectadas a su ordinador. "C:" es el disco duro de su ordinador. "D:" y a veces "E:" serán sus unidades de CD o DVD.
Cuando conecte su reproductor a su PC, su ordinador automatistically le asignará una "letra de unidad". Ésta puede serequalquier letra, pero es muy probable que sea F, G o H. La fotografia que aparece abajo muestra un exemple de lo que podra ver si está en la ventana de Mi PC.
Si no está seguro qué unidad es su reproductor, pueda probara hacer doble click en la unidad que create es su reproductor MP3 para ver lo que hay dentro. Su ordinador disponible de las siguientes carpetas: música, video, fotografías, e-book.
En caso de que no vea estas fotografías en la unidad que ha abierto, ésta no es la del reproductor. Intente con另一边 unidad, una vez que sepa a qué unidad pertenece su reproductor MP3 pueda empezar a mover ARCHivos desde su ordinador a su reproductor.
Si todas no está seguro qué unidad es su reproductor intente loisible: con la ventana abierta, desconnecte el reproductor de su ordinador y vuelva a conectarlo. Cuando lo haya vuelto a conectar, verá una nuevo unidad aparecer en la ventana de Mi PC; esta debe ser su reproductor MP4.
Como puede ver, hay carpetas para cada tipo de medios, que se han Creation en su reproductor. Los ARCHivos MP3 van a "música". Los archivos de video van a "vdeo". Las imagenes van a "fotografías".
Deje esta ventana abierta y encontrar laubicacion de su MP3 uothers archivos multimedia.La mayoria de la gente los tendraren Mis Documentos /MI Música.
Pero puede guardarlos en cualquier lugar. DEBE saberdonde se guardan los archivos antes de que pueda moverlos al reproductor. Si ha descargado desde music.com las canciones normalmente se guardan en una carpeta en el escritorio denominada "emusic".
Para mover ARCHivos desde el PC al reproductor, simplemente muévalos de una planta a另一边. Por exemple, si los archivos MP3 están en Mi Música, muévalos desde Mi Música a la carpeta de música que hay créé en la planta de la unidad MP3.
O si lo prefiere, pueda copiar y pegar los ARCHIVOS desde una ventana a la othera. Para copiar un archivo, Hera cig con el boton izquierdo del raton en los archivos y elija "copiar". Posteriormente, en la ventana MP3, Hera cig con el boton derecho del raton y elija "pegar". Esto copiará el archivo en el reproductor.
Estos archivos está ahora en su reproductor. Mueva videos, fotografías y documents de la mesma forma. iSimplye asegúrese que les pone en las carpetas correctas! Una vez que haya movido todos los archivos multimedia, simplement desenchufe el reproductor del ordinador, enciéndalo y está preparado para reproducirlo.
Si preferere usar Window Player para sincronizar los ARCHivos, su reproductor de video MP3 es compatible con windows media player y se sincronizará para transferir canciones.
Uso del reproductor
Para encender el reproductor, mueva el interruptor on / off en la parte superior del reproductor a la posicion ON.
Verá un video rápido de bienvenida. Posteriormente verá el menu principal. La pantalla por defecto es el modo música.
Para navegar entre modelos, pulse los botones adelante o atrás. Cuando vea el modo que deseña usar, pulse el botón Menu para entrada en este modo.
Modo Música
Des el menu principal, use le boton adelante para navelgar por el modo Música y pulse le botón Menú.
Verá el menu principal de reproducción MP3.Esta pantalla muestra el<tuló de la canción y otros iconos indican las options de la canción.
Para reproducir una canción, pulse el botón PLAY.
Para hacer una pausa en la canción, pulse el botón PLAY cuando se reproduce la canción. Para volver a la reproducción, vuelva a pulsar el botón PLAY.
Para avanzar a lasuma cancellation, pulse el boton ADELANTE.
Para volver al menu principal, pulse y mantenga pulsado el botón return durante 2segundos.
Modo video
Desel em nuc principal, navegue a modo VIDEO y pulse el boton Menu.
Verá una lista de las carpetas que tiene en el reproductor como todos los videos que ha cargado en el reproductor.
Use el botón ADELANTE para desplazarse hacía abajo hasta el video que deseee reproduir. Pulse el botón PLAY para reproducir el video.
Para volver al menu del video, pulse el botón Menu.
Para volver al menu principal, pulse y mantenga pulsado el botón return durante 2segundos.
Modo fotografias
Desel menu principal, navegue a modo FOTOGRAFIAS y pulse el boton Menu.
Verá una lista de las carpetas que dispone en su reproductor como las fotografías que haya cargado en el reproductor.
Use el botón ADELANTE para desplazarse hacía abajo hasta la fotografia que deseeyver.
Pulse el botón PLAY para ver la fotografia.
Pulse los botones ADELANTE o ATRÁS para moverse entre las fotografías.
Para volver al menu de FOTOGRAFÍAS, pulse el botón Menu.
Para volver al menu principal, pulse y mantenga pulsado el botón return durante 2segundos.
Modo grabación
Desel emenu principal, navegue a modo GRABACIO N y pulse Menu.
Verá la pantalla del modo GRABACIó N. Pulse PLAY para起初ar la grabación.
Pule el botón PLAY para hacer una `pausa en la grabación.
Si deseña continuar grabando, vuelva a pulsar PLAY. Esto inicia va la reproducción bajo el medio del tiempo archival. Pulse PLAY cuando haya finalizzato.
Para guardar el archivo, pulse el botón Menu. Esto guardará el archivo y le devolverá al menu principal.
Modo Bluetooth
Desiderelmenu principal,naveguealmode BLUETOOTHy pulse el boton REPRODUCIRparaentrar.Pulse durante un periodoprolongado de tiempo SIGUIENTEparaconectarelBluetootheinyinicarlabusqueda;pulseReproducirpara conectarlo y emparejarse. Puede elegirdifferentesdispositivosBluetooth pulsando "ANTERIOR"y"SIGUIENTE".
Pulse durante un periodo prolongado de tiempo ANTERIOR para apagar el Bluetooth. Para eliminar el dispositivo emparejado, mantenga pulsado el botón Menu durante 2segundos. Puede volver al menu principal mediante el botón ATRÁS bajo a bajo.
Ajustar el volumen:
Puede ajustar el volumen@mñtras se está reproduciendo una canción pulsando el botón VOL.
Pulse los botones ADELANTE o ATRÁS paraacular o disminuir el volumen. Mientras lo hace verá los número del volumen subir o bajo.
Requerimientos minimos del sistema:
Windows XP y superior. Los antiguos sistemas operativos funcional en este reproductor siempre que su ordinador disponga de USB 2.0
Windows Media Player (para crearlists de reproduccion)
USB2.0
Contenidos del envase:
Reprodctor de video MP3
Cable de transferencia USB 2.0
TODOS LOS DERECHOS RESERVADOS, COPYRIGHT DENVER ELECTRONICS A/S
DENVER
www.denver-electronics.com


Los equipos electricos y electrónicos, y las pilas o baterías incluidas, contienen materiales, componentes y sustancias que pueda ser perjudiciales para su salute y para el medio ambiente, si el material de esecho (equipos electricos y electrónicos y baterías) no se manipula correctamente.
Los equipos electricos y electrónicos, y las pilas o baterías incluidas,;llevan un symbolo de un cubo de basura cruzado por un aspa, como el que se ve a continua. Este symbolo indica que los equipos electricos y electrónicos, y sus pilas o baterías, nopearian ser eliminados con el resto de basura del hogar, sino que deben eliminarse por分开ado.
Como usuario final, es importante que usted remita las pilas o baterias usadas al centro adecuado de recogida. De esta manière se asegurar de que las pilas y baterías se reciclan según la legislación y no dañarán el medio ambiente.
Todas las ciencias tienen establishos puntos de recogida, en los que pueda depositar los equipos electricos y electrónicos, y sus pilas o baterías gratuitoamente en los centers de reciclaje y enotiros lugarares de recogida, o Solicitar que Sean recogidos de su hogar. Puede Obtener informacion adicular en el departamento的技术ico de su ciudad.
Importer:
DENVER ELECTRONICS A/S
Stavneagervej 22
DK-8250 Egaa
Dinamarca
www.facebook.com/denverelectronics
Por la presente, Inter Sales A/S, declara que esta tablet DENVER (MPG-4064BT) cumple con los requisitos esencias y conoras provisiones relevantes de la directiva europea 1999/5/CE.
Puede encontrar una copia de la Declaración de Conformidad en
Inter Sales A/S
Stavneagervej 22
DK-8250 Egaa
Dinamarca
ManualFácil