HES 6D - Sporák HOOVER - Bezplatný návod k obsluze
Najděte návod k zařízení zdarma HES 6D HOOVER ve formátu PDF.
Dotazy uživatelů ohledně HES 6D HOOVER
0 otázka o tomto zařízení. Odpovězte na ty, které znáte, nebo položte vlastní.
Položte novou otázku o tomto zařízení
Stáhněte si návod pro váš Sporák ve formátu PDF zdarma! Najděte svůj návod HES 6D - HOOVER a vezměte svůj elektronický přístroj zpět do rukou. Na této stránce jsou zveřejněny všechny dokumenty potřebné k používání vašeho zařízení. HES 6D značky HOOVER.
NÁVOD K OBSLUZE HES 6D HOOVER
Bezpečnostné varovania
Dóležité bezpečnostné pokyny
- Precitajte si tietoPokyny pozorne pred instalaciou alebo pouzitim spotrebica.
- Na spotrebic nikdy nedávajte hor'avé materiaíly.
- Poskytnite tieto informácie osobe zodpovednej za instaláciu spotrebica, tym możete znížit náklady za instaláciu.
- Aby ste zabrani nebezpečenstvu, tento spotrebič sa musi instalovat' v sulade s týmito pouynmi.
- Tento spotrebic moze instalovat' a spravne uzemnit' len kvalifikovan'y odbornik.
- Tento spotrebic sa musi pripojit' k obvodu, ktory obsahuje odpajaci prepinač ponukajuci kompletné odpojenie od elektrickej energia.
- Nesprávnou instalaciou spotrebica možete stratit' pravo na záruku.
Prevádzka a obsluha
Riziko zasiahnutia elektrickym prudom
- Nevarte na prasknutej varnej doske. Ak varna doska praskne, spotrebic ihned vypnite od elektrickej siete (istič) a kontaktujte kvalifikovaného technika.
Pred cistenim a udrzbou vypnite a odpojte varnu dosku od elektrickej siete. - Nedodrzanie tohto postupu moze sposobit'zasiahnutie elektrickym prudom alebo smrt'.
Ohrozenie zdravia
- Čepel' skrabky na varnú dosku je odkrytá po zloženi ochranného krytu. Škrabku použivajte so zvyšenou opatrnost'u a vždy ju skladujte mimo dosahu detí.
- Nedodrzanie tychtoPokynov moze sposobit zranenie.
Dóležité bezpečnostné pokyny
Pred použitím a instaláciou si precitajte vsetky bezpečnostné pokyny a uschovajte siarto námod na bezpečnom miesto.
Popis spotrebica
Pohl'ad zhora


- max. 1800/3000 W zona
- max. 1800/3000 W zona
- max. 1800/3000 W zona
- max. 1400/2000 W zona
5-6. flexibiná zónica. 3000/4000 W - Sklokeramická varná doska
-
Ovladanie
-
max. 1800/3000 W zona
- max. 1800/3000 W zona
- max. 1800/3000 W zona
- max. 1400/2000 W zona
- Flexibiná zóna. 3000/4000 W
- Sklokeramická varná doska
- Ovladanie
Ovladaci panel

- Posuvny volic vykonu/chasovača
- Volice volby varnej zony
- Volic uzamknutia
- Tlačidlo zapnutia/vypnutia
- Volic udrziavania teploty
- Volic funkcie Boost
- Voliccasovača
Uvod
Sklokeramická varná doska
Indukcnicievka
Indukovany prud
Ochrana automatickým vypnutím
- Dotknite sa ovládača Časováča na displeji Časováča sa zobraži „0:10" a bliká „0".

- Nastavte cas pomocou posuvného ovládača. (napr. 6)

- Dotknite sa opāt'ovládača Časováča òká „1".

- Dotknite sa ovládača Časováča, na displeji Časováča sa zobráží „0:10" a bliká „0".

- Nastavte Čas pomocou posuvného ovládača (napr. 6)
15

- Dotknite sa opat'ovladača chasovača, bude blikat „1".

- Ked je casovač nastavený, spustí sa ihné jeho odpočitavanie. Dispjez zobrazuje dostávajúcu dobu a indikator casovača bliká 5 sekünd.
Informação o likvidáciu v krajinách mimo Európskéj únie
Bezpečnostní varováni
Vase bezpečnost je pro nás duležita. Přečěte si tyto informace préd použitím varné desky.
Instalace
Zasaženi elektrickým proudem
- Před udržbou ačistěním odpoje spotřebič od elektrické sítě.
- Pripojení k dobře uzemnénému systému napájení je nutné.
- Změny domáciho systému elektrického prípojení smí povádet pouze kvalifikovaný technik.
- Nedodrzením těchtoPokynu muže nastat zasaženi elektrický proudem nebo smrt.
Nebezpeci porezání
Zvyste pozornost - hrany panelu jsou osterreich.
Nedodrzenim tohoto varovani se muzete vazne zranit.
Duležite bezpečností poukyny
- Přečtěte si tyto pokyny požorně prěd instalací nebo použitím spotřebače.
- Na spotbrebič nikdy nedávejte hořlavé materiały.
- Poskytněte tyto informace osobě odpovedné za instalaci spotřebiece,.tim mužete snížit náklady za instalaci.
- Abyste zabranili nebezpeci,除去 spotbrebič se musí instalovat v souladu s těmitoPokyny.
- Tento spotbrebič smí instalovat a správně uzemnit pouze kvalifikovaný odborník.
- Tento spotbrebić se musi pripojit k obvodu, ktery obsahuje odpojovaci prepinač nabízejći kompletní odpojení od elektrické energia.
- Nesprávnou instalaci spotřebiče muzěte ztratit pravo na záruku.
Provoz a obssluha
Riziko zasaženi elektrickým proudem
- Nevařte na prasklé varné desce. Pokud varné deska praskne,spotřebic ihned vypněte od elektrické sítě (jistič) a kontaktujte kvalifikovaného technika.
- Pred Čišěním a Údržbou vypnéte a odpojte varnou desku od elektrické site.
- Nedodrzení tohoto postupu muže zpúsobit zaasaženi elektrický smoudem nebo smrt.
Ohroženi zdraví
- Tento spotbrebič vyhovuje standardüm pro elektr magnetickou bezpečnost.
- Avšak, osoby s kardiostimulátorem nebo jinými elektrickými implantáty (jako jsou inzulinové pumpy) musí kontaktovat doktora nebo vyrobce zařizení prěd použitím varné desky pro zajistěné, ze jejich implantáty nebudou ovlivnény elektromagnetickým polem.
- Nedodrženi těchtoPokynu muže věst k smrti.
Riziko horkého povrchu
- Béhem použiti jsou pristupné casti spotřebie dostatečné horké na zpúsobeni popálení.
- Zabrahte kontaku tēla, oděvů nebo jiních prědmětu kromě vchodného varného nádobí s indukční varnou deskskou, dokud povrch nevychladne.
- Upozorněni: magnetické kovové prédměty na těle se mohou zahrát,Pokud se dostanou do blízkosti varné desky. Zlaté nebo střibrné šperky nebudou ovlivnény.
-
Držte děti mimo dosah.
-
Madla pánvi mohou byt horké na dotek. Zkontrolujte, zda madla pánvi nepřekryvaji jiné varné zony, které jsou zapnuté. Držte madla mimo dosah děti.
Nedodrzeni tchto Poknun muze vest k popalenia opareni.
Riziko pořezání
- Čepel škrabky na varnou desku je odkrytá po sejmutí ochranného krytu. Škrabku použivejte se zvyšenou opatrností a vždy ji skladujte mimo dosah děti.
Nedodrzeni tchtoPokynu muze zpusobit zraneni.
Duležité bezpečnostníPokyny
- Spotbreic nenechaveje bēhem použití nikdy bez dohledu. Vyvréní mûze zpúsobit kour a mûze se vznítit.
Váš spotřebič nikdy nepoužívejte jako pracovní nebo odkládaci plochu. - Na spotbrebiči nenechávejte Žádné náčini ani jiné cizi prédměty.
V blízkosti spotřebiče nenechávejte Žádné magnetické predměty (např. kreditní karty, paměťove karty) nebo elektronická zařizení (např. počítace, MP3 prehrávačé), nebot'mohou byt ovlivné elektromagnetický polem. - Nikdy nepoužívejte váš spotřebic k vyтAPENI mistnosti.
- Po použití spotřebieče vypněte varné zony podle popisu v tomto námodu (napr. pomoci dotekovych ovladaců). Nespoléhejte se na vypnutí varních zón pomoci funkce detekce nádobí.
- Nedovolte dětem hrát si se spotřebičem, ani na nej sedat, stoupat a lézt.
- Do skřínek nad spotřebiečem neukládejte prěděty lákáve pro děti. Dětilezoucí na varnou desku se mohou vázné zranit.
- Během provozu spotřebiečene nenechávejte déti v blízkosti bez dohledu.
- Děti nebo osoby s omezenými senzorickými schopnostmi musí byt pod dohledem osoby odpovedné za jejich bezpečnost. Odpovedné osoba se musí ujistit, ze tyto osoby mohou používat spotřebic bez ohroženi sebe nebo svého okolí.
- Neopravujte ani nemeinte zadné casti tohoto spotbrebié, dokud to není uvedeno v navodu. Veskeré servisni zasahy musi provadét kvalifikovaný servisni technik.
K cisteni varne desky nepouzivejte vysokotlaky parni cistioc. - Na varnou desku nedávejte těžké prédméty.
- Na varnou desku si nestoupejte.
- Nepoužívejte nádobí se zubatými okraji ani netahejte nádobí prěs varnou desku, nebot múžete poskrábat sklo varné desky.
- Nepoužívejte škrabky ani jiné drsné Čistici prostředky k Čistěné varné desky, mohli bystande poskrábat sklo varné desky.
- Pokud je poskozený privodníkabel, musi jej vyměnit pouze kvalifikovánty technik.
- Spotbrebič je určený pro použití v domácnosti.
-
Tento spotbreic smi používat deti od 8 let a starś i a osoby s omezenymi fyzickymi, senzorickymi nebo mentalni schopnostmi nebo bez dostatečnych zkušeností a znalostí, pokud byly poučeny o použiti spotbreic správným způsobem a porozuměly moznám bezpečnostím rizikům. Nedovlete detem hrát si se spotbreićem. Čistěné i ádržbu nesmí provadět deti bez dohledu.
VAROVANI: Vareni na varne descse s oleji a tuky bez dohledu je nebezpecné a muze vest k prehrát a požáru. NIKDY se nepokousejte uhasit plamenyvodou, spotbrebič pouze vypněte a pak prěkryjte plamenPoklickou nebo protipožární prikrývkou. -
Na varné descé nenechávejte kovové prédměty jako jsou nože, vidlicky, lžicky aPoklicky, nebot se mohou zahrát.
- Po použití vypněte varnou desku pomoci ovladace a nespóléhejte na vypnutí pomoci detekce nádobí.
- Spotbrebič není určeny pro ovládání pomoci externiho chasovace nebo systému samostatného dálkového ovládání.
Blahopřejeme ke koupi vaši nové indukčni varné desky. Doporučujeme, abyste věnovali určitý Čas Čtení těchtoPokynú/Návodu k instalaci pro plné porozuměni, jak správně instalovat a obsluhovat varnou desku.
Za ucelem instalace si prectete ccast o instalaci.
Pred použitím a instalaci si prěctěte všechny bezpečnostnéPokyny a uschovejte si unto námod na bezpečné miste.
Popis spotbrebc
Pohled shora

- max. 1800/3000 W zona
- max. 1800/3000 W zona
- max. 1800/3000 W zona
- max. 1400/2000 W zona
5-6. flexibilní zóna. 3000/4000 W
7. Sklokeramická varná deska
8.Ovladani

- max. 1800/3000 W zona
- max. 1800/3000 W zona
- max. 1800/3000 W zona
- max. 1400/2000 W zona
- Flexibilni zona. 3 000/4000 W
- Sklokeramická varná deska
- Ovladani
Ovladaci panel

- Posuvny volic vykonu/chasovace
- Volice volby varne zony
- Volic uzamčeni
- Tlačitko zapnuti/vypnuti
- Volic udržováni teploty
- Volič funkce Boost
- Volic casovace
Uvod
Indukčni vařeni je bezpečná, zdokonalená, učinná a ekonomická technologie vařeni. Funguje pomoci elektromagnetickývibraci vytvářićích teplo prímo v nadobí, namistoprostupování tepla prés sklokeramický povrch. Sklokeramický povrch je horký pouzePokud se dostatečné zahřeje nadobí.

Před použitím vaši nové indukčné varné desky
- Přečtěte si tillo námod, dbeje zejměna na Čast „Bezpečnostní upozorněné".
- Odstraţe veškeré ochranné folie, které se mohou nacházet na varné desce.
Ovladaciprky reagujna dotek,tudiz je nemusite tisknout silou.
- Používejte břísko prstu, nikoliv špíčku.
- Po kaźdem zaregistrovani doteku uslysǐte akustický signal.
- Zajistete, aby byl ovladaci privky vždy Čisté, SUCHá zda se na nich nenacházeji Žádné prédměty (např. náčini nebo utěrký). I tenký film vody můze stěžit obšluhu ovladacích privkú.

- Používejte pouze varné nádobí s dneim vhodnám pro indukční vařeni. Viz symboly na obalu nebo na dne nádobí.
Vhodnost nadobi muzete zkontrolovat pomoci magnetického testu. Presunte magnet bliz ke dnu nadobi. Pokud se prichyti, nadobi je vchodné pro indukci. - Pokud nemáte magnet:
- Nalijtte trochu vody do nadobí, které chcete testovat.
- Postupujte podle krokù „Zahájení vareni".
- Pokud na displeji nebliká a voda se hreje, nadobi je vchodné.
Nadobí z následujicích materialú není vhodné: Čistá nerezová ocel, hliníkové nebo měděné bez magnetického dna, sklo, d'revo, porcelán, keramika a kamenina.


Nepoužívejte nádobi se zákřiveným dne m nebo ostrými okraji.

Ujistete se, zda je dno nadobí hladké, pasuje prěsne na sklo a zda má stejnou velikost jakovarná zona. Používejte nadobí, kterého prüměr je stejný jako zobrażá varná zona. Použitím nadobí s mirné větsím prüměrem využijete energii s maximálné učinností. Pokud použijete menění nadobí, učinnost muže byt nižsí než očekávana.
Nádobí s prùměrem mensím než 140 mm nemusi varná deska detekovat. Nádobí vždy vycentrujte na varné zóně.

Nádobí z varné desky vždy zvedejte - nepřesouvejte, mohy bye ste ji poskrábat.

Rozměry nádobí
Varné zony se až po limit automaticy adaptují na prümér nadobí. Dno nadobí musí mit minimálny prümér odpovídající varné zone. Pro dosaženinejlepší učinnosti vaší varné desky umistěte nadobí doprostřed varné zony.
HES 62
| Varná zónica Prùměr dna indukčné varné desky | ||
| Minimum (mm) Maximum (mm) | ||
| 1, 2, 3 140 220 | ||
| Flexibilní zónica 220 | 220 x 400 | |
| 4 140 140 | ||
HES 6D
| Varná zónica Průměr dna indukčné varné desky | ||
| Minimum (mm) Maximum (mm) | ||
| 1, 2, 3, 4 140 20 | ||
| Flexibilní zónica 220 | 220 x 400 | |
- Stiskněte tlacítko zapnuti/vypnuti ①.
Po zapnutí zazní akustický signaljednou,ovladačcasovače zobrazi
", ovladač volby varné zony zobraź, nebo indikujćí, ze indukćné deska je v pohotovostním režimu.

-
Umistete vchodné nadobí na varnou zónu, kterou chcete použit.
-
Ujistěte se, zda jsou nádobí a povrch varné desky Čistý a suchý.

- Dotkněte se ovladače volby varné zony a kontrolka príslušné zony začne blikat.

- Upravte nastaveni vykonu pomoci posuvného ovladace.
- Pokud nezvolíte vykon do 1 minuty, indukčni varná deska se automaticicky vypne. Musité začit opět od kroku 1.
- Nastavení vykonu mužete upravit kdykoliv během vařeni.


Pokud na displeji bliká ≥slant < stridavé s nastavenim vykonu
Znamená to,Že:
- jste neumistili nadobí na správnou varnou zónu nebo,
pouzité nádobí není vhodné pro indukčí vaření nebo, - pánev je prífiš malá nebo nesprávně vycentrovaná na varné zone.
Ohrev se nespustí,Pokud není na varné desce vchodné nádobí. Displej se automaticky vypne po 1 minuté,pokud neumistíte vchodné nádobí na varnou zónu.
Po dovareni
- Požadovanou varnou zónu k vypnutí zvolte dotekem symbolu varné zony.

- Varnou zónu vypněte dotekem a potažením ovladace dolea. Ujistěte se, zda displej zobraź 0"

- Varnou desku vypnete stisknutim tlacitka zapnu/ypnu

- Dbejte na horky povrch.
H se zobrazi u varne zony, ktera je priliš horká na dotek. Zmizi, když je povrch dostatečné vychladly na bezpečnou teplotu. Zbytkové teplo mužete vyuzit také pro úsporu energia,Pokud chcete ohrát dalsi nadobi.

Použití funkce Boost
Aktivace funkce boost.
-
Dotkne tse symbolo volby priislu sné varne zony.
-
Dotkněte se ovladace boost B, indikátor zony zobraź „b" a vykon dosáhne Maxima.

Zrušeni funkce Boost
- Dotkněte se volíce varné zóny, pro kterou chcete zrušit funkci boost.


- a: Dotkněte se ovladace boost „B“, pak se varná zóna vrátí na puvodnínastavení.
b: Dotkněte se posuvného ovladace, varná zóna se nastávi na zvolený vykon.


- Funkci mużete použit pro všechny varné zony.
- Varna zona se vrati na puvodni nastaveni po 5 minutach.
- Když je funkce boost 1. varné zony aktivní, vykon druhé varné zony je automaticky omezen na uroven 2 a obracene.
- Pokud se puvodni nastaveni teploty rovná 0, vrátí se na uroven 15 po 5 minutách.
Použití funkce udržováni teploty
Aktivace funkce udržováni teploty
- Dotkněte se symbolu udržováni teploty kontrolka zony zobraź „l".

Zrušeni funkce udržovani tepla
- Dotkněte se volíce volby varné zóny.

- a: Dotkněte se posuvného ovladace, pak se varná zóna vrátí na zvolenou uroven.

b: Dotkněte se volíče funkci B, varná zóna se vrátí na dřive nastavený vykon.
Flexibilni oblast
- Tuto oblast lze použit jako jegnu varnou zónu nebo dvě samostatné zony, dle požadavkú vařeni.
- Flexibilni oblast obsahuje dva nezávislé induktory, ktere lze ovladat samostatné. Pri použiti jako jegna zona,Pokud presunete varnou nadobu z jederne zony na druhou v ramci flexibilni oblasti, bude zachovan stejný vykon puvodni varné zony a chast nepokrytá nadobim se automaticky vypne.
DULEZITE: ujistete se, zda je nadobí uprostřed{jné varné zony. V pripadě použiti velkého nadobí, ovalné, Čtercové nebo dlouhé nadoby se ujistete, zda je umistěna uprostřed varné zony prekryvajici obě loga.
- K aktivaci flexibilni oblasti jako jegne velké varne zony jegnoduše stiskněte odpopvidajíc tlacitka.

- Nastavení vykonu funguje jako u bežného nastavení.
- Pokud prśunete nádobí ze prědní na zadní Čast (nebo obracene), flexibilní oblast automaticý ziistí novou pozici, uchová steíný vykon.
- Pro pridani dalshiho nadobistisknete opet odpvidajic tlacitka k zjiisteni nadobi.
Dve nezávislé zony
Pro použiti flexibilni oblasti jako dvě samostatné varné zony s odlišnám nastavením vykonu stisknéte opodvidají tlacitka.

Uzamčeni ovladacích prvkú
- Mûzete uzamknout ovladaci panel préd nechtěnám použitím (například préd náhodnou aktivác varné zony détmi).
- Když jsou ovladače uzamčené, všechny ovladače kromě ovladače zapnutí/vypnutí jsou neaktivní.
Uzamčeni ovladacích prvkú
Dotkne se symbolu uzamceni Indikator casovace zobrazi „Loc".
K odemčeni ovladaču
- Dotkněte se a podržte symbol uzamčeni
- Nyní muzete začit použivat vaši indukčné varnou desku.

Když je varná deska v uzamčeném režimu, vsechny ovladače jsou neaktivné kromě zapnutí/vypnutí ①, vždy múžete varnou desku v prípadě nouze vypnout pomoci tlacítka.
zapnutí/vypnutí ①, ale pro další obsluhu musite nejdřive varnou desku odemknout.
Detekce malych predmetu
Když necháte na varné desce prědmět nevhodné velikosti nebo nemagnetický prědmět (např. hliník), nebo jíný malý prědmět (např. nuž, vidlicku, kliče), varné zóna prějde automaticicky po 1 minute do pohotovostního režimu. Ventilátor chladi indukční varnou desku po dobu 1 minuty.
Ochrana automatickym vypnutim
Automaticke vypnuti je bezpečnostní funkce ochrany indukčí varné desky. Vypne ji automaticicky,Pokud ji zapomenete vypnout.Počateční provozní casy pro rúzně vykony jsou zobrazné v niže uvedené tabulce:
| Výkon Udržováni | tepla | 1-5 6-1 | 0 11-14 15 | ||
| Počátečné provozní Čas (hodiny) 2 | 8 4 2 1 |
Po sundání nádobí indukčni varná deska ihned prestrepane hrát a automaticky se po 2 minutách vypne.

Osoby s kardiostimulatorem musi pouziti varne desky konzultovats doktorem.
Použitíčasovace
Casovač muzete použit dvěma rúznymi zpúsoby:
- Mûzete jej použít jako minutku. V tomto pripadě Časovač nevypné zádnou varnou zónu po uplynuti nastavené doby.
- Mûžete jej nastavit k vypnutí varních zón po uplynutí nastavené doby.
- Casovač muzete nastavit až na 99 minut.
Pokud nezvolite zádnou varnou zónu
- Ujistete se, zda je varná deska zapnutá.
Poznámka: minutku muzete použit i když nezvolite zhádnou varnou zónu.
- Dotkněte se ovladace Časovace, na displeji Časovace se zobraź „0:10" a bliká „0".

- Nastavte Čas pomoci posuvného ovladace. (napr. 6)

- Dotkněte se opět ovladače Časováče Šká „1".

- Čas nastavte dotekem posuvného ovladace (napr. 9), nyní je Časovač nastaven na 9 minut.
0:56

- Po uplynuti nastaveného Času bude znít akustický signal 30 sekund a indikátor Časovace zobraź „0:00".

Nastavení Časováče pro vypnutí varních zón
Pokud je Časovač nastaven pro Jednu varnou zónu:
- Dotkne te se volice varne zony, pro kterou chcete nastavit casovač.

- Dotkněte se ovladace chosovace, na displeji chosovace se zobraź „0:10" a blíká „0".

- Nastavte Čas pomoci posuvného ovladače (napr. 6)
15

- Dotkněte se opět ovladace Časováče, bude blikat „1".

- Nastavte Čas dotekem posuvného ovladače (napr. 9), nyní je nastaven Časovač na 56 minut.
0:56

- Když je Časovač nastaven, spustí se ihned jeho odpočitávání. DispJE zobrazije zbývajici dobu a indicator Časovace bliká 5 sekund.
POZNÁMKA: Červéná tečka vedle urovně vykonu bude svítit pro indikaci zvolené varné zony.
- Když Časovač uplyne, odpopídajíc varná zóna se automaticky vypne.


Ostatni varné zony budou v provozu dál,Pokud byly prédtim zapnuté.

Pokud je chasovac nastaven pro vice nez jegnu zónu:
- Když nastavite Časovač pro několik varních zónNJajednou, desetinné tečky priślustrých varních zón sviti. Minuty zobrazují min. Časovace. Tečka odpovidajíc varné zony bliká.



(nastaveni na 15 minut)
(nastaveni na 45 minut)
- Po uplynuti nastavené doby se prislusná varna zona vypne. Pak se zobrazi dalsi Časovač a odpovidajíci zona bliká.


Dotknete se volice varne zony, opovidajci casova se zobrazna indicatoru.
Doporucenik vareni

Zvyste pozornost pri smazeni na oleji nebo tuku, ktery se velmi rychle zahreje, zejmena poukud pouzivate funkci PowerBoost. Pri extremne vysokych teplotach se muze olej a suk vznitit a prexistavuje vazné riziko pozaru.
Tipy k va'rení
Kdyz zaenePokrm vrit, snizte nastaveni teploty.
- PoužitímPoklicky zkráté dobu vařeniá ušetře energhiuchovámtepla.
- Minimalizujte množství tekutin a tuku pro zkracné doby vařeni.
- Začnéte vařit na vysshím stipni a pak snižte, když sePokrm dostatečné zahrěje.
Dušeni, vačení rýze
- Dušeni nastáva pod bodem varu, kolem 85^ , když bublinky pomalu stoupají ke hladině. Je to klicem k chutné polévce a jemnému dušeni, nebot chut' se Rozvijí bez prevařeni jidla. Táké bystande měli vařit tímo zpúsobem vaječné a moučné omáčky pod bodem varu.
- NekteréPokrmy, včetné vařeni rýze zpùsobem absorpce, mohou vyžadovat vyší nastavení než nejnižík zajišěné dobrého uvařeni ve správnou dobu.
Opékaní steaku
Pro přípravu št'avnatych chutných steaků:
- Přilžné 20 minut prečením nechte maso odležet pri pokojové teplotě.
- Zahreje panev na smazeni.
- Potrte obe strany steaku olejem. Kapnete malé mnozstvi oleje na horkoupanev a pak polozte steak na Rozpalenoupanev.
- Během pečeni steak jednou otočte. Přesné doba pečeni závisí od tlouš'tky steaku a stupné požadovaného propečeni. Časy se mohou menit od 2 - 8 minut na jestnu stranu. Zatlacte na steak pro kontrolu stavu propečeni - tuzsí znamenáVICE „propečeny".
- Nechte steak odstát na teplém taliri několik minut préd podáváním k uvolnéni.
Smażenis michánim
- Zvolte wok nebo velkoupanev na smazeni o vhodné velikosti a z vhodného materialu pro indukčni vařeni.
- Pripravte si vsechny ingrediente. Smazeni s michanim musi byt rychlé. Pokud priapravujete velké množstvi, priapravujtePokrmyv mensich dávkach.
- Pánev krátce predehřejte a pridejte dvě lízíce oleje.
- Nejdrive pecte maso, deje jej stranou a udrzujte teple.
- Pripravte zeleninu. Když je horká, ale stále křupava, snižte vykon varné zony, vratte maso do pánve a pridejte omáčku.
- Ingredience jemne promichejte a dobre prehreje.
- Ihned servirujte.
Nastavení teploty
Nizhe uvedená nastavení jsou pouze informační. Přesné nastavení závisí od několika faktoru, včetné námobí a množstvi pripravovanýchPokrmů. Experimentujte s indukční varnou deskou pro zjiistěné nastavení, ktera vám nejlip vyhovují.
| Nastavení teploty | Vhodné pro |
| 1 - 2 · jemný ohřev | malých množstvíPokrmù · topení Čokolády, mála aPokrmù, které se snadno spálí · jemné dušeni · pomalé ohřívání |
| 3 - 5 · ohřev | rychlé dušeni · vařeni rýže |
| 6 - 11 · palačinky | |
| 12- 14 · vařeni | vařeni těstovin |
| 15/P · smažení s m | icháním · opěkányí · vařeni polévky · vařeni vody |
Nastavení jsou pouze informativné. Přesné nastavení závisí na několika faktorech, včetné nádobí a pripravovaného množství tokru. Experimentujte s varnou deskskou pro zjiistěnénejlepsích nastavení.
Péce a Čišění
| Co? Jak? Duležité! | ||
| Každodenní znečistěné sklokeramické desky (otisky prestù, skrvny z jidla nebo fleky bez obsahu cukru) | 1. Vypněte varnou desku. 2. Aplikujte Čiustč na varnó desky, dokud je sklo stále teplé (nikoliv horké)! 3. Oplachněte a vysušte utěrkou nebo papírovou utěrkou. 4. Zapněte varnou desku. | Když je napájení varné desky vypnuté, na varné desce se neobjeví indikace horkého povrchu, ale varné deska mûže být stále horká! Zvyšte pozornost. Drsné škrabky, nylonové škrabky a brasivníčiustěce mohou poškrábat sklo. Vždy si prečtěte Štǐtek na vyrobku, zda je vchodné pro sklokeramiku. Nikdy nenechávejte zbytky Čiasticno prostředku na varné desce: mohou zanechat skvrny. |
| VvřenéPokrmy, roztavené a horké skvrny sladkych pokrmù na skele. | Odstraťe je ihned škrabkou vhodnou pro sklokeramiku, dbeje na horké varné zony: 1. Odpoje napájení varné desky. 2. Držte škrabku v uhlu 30° a oškrabte nečistoty z varné desky. 3. Znečistěné odstraťe bavlněnou nebo papírovou utěrkou. 4. Proved'te kroky 2 až 4 postupu „Každodenní čiustěné sklokeramické desky" výše. | Odstraťe skvrny a cukrovéPokrmy co nejdříve. Pokud je necháte vychladnout na sklokeramice, jejich odstraněné mûže být obtízné, nebo mohou trvale poškodit skleněný povrch. Riziko pořezání: po sejmúti ochranného krytu škrabky se odkryje ostrá Čepel. Maximálné zvyšte pozornost a vždy škrabku skladujte mimo dosah děti. |
| Skvrny na ovládacím panelu. | 1. Vypněte napájení varné desky. 2. Nečistoty namočte. 3. Utrěte oblast dotekových ovladačú Čistou hubkou nebo utěrkou. 4. Oblast dūkladné vysušte papírovou utěrkou. 5. Opět zapnéte napájení varné desky. | Varná deska mûže vydat akustický signál a sama se vypnout a ovládací panel nemusi být funkčné, pokud se na něm nacházi tekutina. Oblast ovládacího panelu dūkladné očistěte préd opětovnám zapnutím varné desky. |
Tipy a triky
| Problém Możná príčina | Co dělat? | |
| Varnou desku nelze zapnout. | Bez napájení. Zkontrolujte, zda je varná deska prípojena k elektrické siti a tato je funkční. Zkontrolujte, zda není výpadek elektrické energia ve vaši domácnosti nebo vaší oblasti. Pokud i po kontrole problém trvá,kontaktujte kvalifikovného technika. | Zkontrolujte, zda není výpadek elektrické energie ve vaší domácnosti nebo vaší oblasti. Pokud i po kontrole problém trvá,kontaktujte kvalifikovného technika. |
| Dotekové ovladačene reagují. | Ovladaci panel je uzamčený. | Odemkněte ovladaci panel. Viz Čast „Použití varné desky" ohledné funkéri. |
| Dotekové ovladače se obtízně ovladaji. | Müze se na rich nacházet vodní film nebo používáte špičku prstu. | Zkontrolujte, zda jsou ovladaci privky Čisté a pri ovladání používejte břísko prstu. |
| Poškrábané sklo. Drsné rámobí. | Nádobí. Nevhodné Čisticí prostředky. | Použijte nádobí s rovným a hladkým dneim. Viz „Volba správného nádobí". Viz „Péche a Čistěné". |
| Některé nádobí vydává praskavý zvuk. | Müze to být zpúsobeno konstrukcí nádobí (vrstvy rúznych materiálů vibruji rúzně). | Je to normálí a nepředstavuje to závadu. |
| Indukční deska vydává tiché hučeni prí použití na vysocké teplotě. | Je to zpúsobeno technologí indukčnínoho vařeni. | Je to normálí, ale zvuk ztichné nebo zmízi po zvyşěné výkonu. |
| Zvuk ventilatór u z varné desky. | Chladici ventilátor varné desky chrání elektroniku prěd prehrátím. Mûze chvili dobíhat i po vypnutí varné desky. | Je to normálí a nevyžaduje Žádný zásah. Neodpojujte napájení varné desky, dokud ventilatór běží. |
| Nádoby se nezahřivaji a na displeji se zobraź symbol | Indukční deska nemúze detekovat nádobí, protoze není vchodné pro indukčnívařeni. Indukční deska nemúze detekovat nádobí, protoze je príliš malé pro varnou zónu nebo není uprostřed. | Použijte nádobí vchodné pro indukčnívařeni. Viz Čast „Volba správného nádobí". Nádobí vycentrujte a ujistěte se, zda prüměr dna opodídá varné zóně. |
| Indukční deska se neočekávaně vypne, zni akustický signál a zobrázi se kód zámady (standardné střidavě s jegnou nebo dvěma chíslicemi na displeoji chasovace). | Technická zámada. Poznačte | si Číslo zámady a symboly, vypněte napájení indukční desky a kontaktujte kvalifikovaného technika. |
Pokud nastane nestandardní situace, indukční varná deska se automaticky prepne do ochrannesho režimu a zobrazí odpovídajíci ochrannes kódy.
| Problém | Možná príčina Co dělat? | |
| F1-F6 Vadný teplotné senzor. Kontaktujte dodavatele. | ||
| F9-FA Vadný teplotné senzor IGBT. Kontaktujte dodavatele. | ||
| FC Vadné propojení mezi displejem a hlavní deskou. | Kontaktujte dodavatele. | |
| E1/E2 Ne standardné napěti. Zkontrolujte napájení. | Zapnéte po obnovení standardného napětí. | |
| E3/E4 Vysoká teplota tepltního senzoru sklokeramické varné desky. | Restartujte po ochlazení varné desky. | |
| E5 Vysoká teplota IGBT senzoru. Restartujte po ochlazení varné desky. | ||
Vyse uvedene body jsou reseni beznych provoznich zavad.
Nedemontujte varnou desku svépomocne, abyste zabranili riziku a poškození varné desky.
Technické udaje
| Varná deska HES 62, HES 6D | |
| Varné zony | 4 zony |
| Napájecí napěti | 220 - 240 V~ 50/60 Hz |
| Příkon | 7200 W |
| Rozměry g × š × v (mm) | 590 x 520 x 60 |
| Rozměry pro vestavbu A × B (mm) | 560 x 490 |
Hmotnost a rozměry jsou príblízné. Z důvodu neustálého vylepšování nasich vyrobku si vyhrazujeme pravo na změnu technickych udajú a designu.
Instalace
Požadavky na instalaci
Vyřízněte otvor v pracovní desce podle rozměru uvedenych na obrázku.
Pro instalaci ponechte minimalne 5 cm volného prostoru kolem otvoru.
Ujistete se, zda je sila pracovni desky nejmene 30 mm. Zvolte teplu odolny material pracovni desky, abyste zabranili deformaci zpusobene teplem z varne desky.

| L(mm) | W(mm) | H(mm) | D(mm) | A(mm) | B(mm) | X(mm) |
| 590 | 520 | 60 | 56 | 560+4 | 490+4 | 50 mini |
| +1 | +1 |
Ujistete se, zda je varna deska dobre vetrana a zda nejsou blokované juices vetraci otvory. Zkontrolujte, zda je varna deska v dobrém stavu.

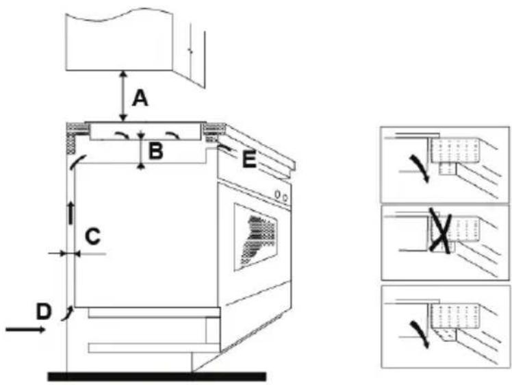
Poznámka: Bezpečná vzdálenost mezi varnou deskskou a skřínkou nad ni musi byt nejmène 760 mm.

| A(mm) B(mm) C(mm) D E | ||||
| 760 | 50 mini | 20 mini | Vstup vzduchu | Vystup vzduchu min. 5 mm |
Pred instalaci varné desks se ujistěte:
- zda je pracovni deska rovná a zda nebrání instalaciŽádné strukturalní privky.
- zda je pracovní deska z teplu odolného materiálu.
-Pokud instalujete varnou desku nad troubu,truba musi mit vestaveny chladici ventilator. - zda instalace vyhovuje všem platným standardům a prēpipisům.
- zda je včleněné vchodné odpojovaci zařizení mezi varnou desku a napájecí kabel, které je umistěné podle platních predpisu a směrnic.
Odpojovaci vypinač musi byt schvaleného typu a musí nabízet 3 mm volného prostoru mezi kontakty ve vypnutém stavu (nebo všech aktivních [fázovych] vodičú,Pokud mistrí predpisy povolují:tuto změnu prepisù).
- zda je odpojovaci zařizení snadno pristupné i po instalaci spotřebače.
- zda instalace vyhovuje mistem predpisum o instalaci.
- zda používáte teplu odolné a snadno Čistitelné povrchy (jako je keramická dlaždice) na okolních stěnách kolem spotřebruče.
Po instalaci varné desky se ujistěte:
- zda není prívodníkabel dosažitelnýpres šuplík nebo prostor pod varnou deskskou;
- zda je dostatečné prutok vzduchu k chlazení varné desky;
- pokud je varná deska instalovaná nad šuplíkem, musí byt instalované ochranné mezidno poddnem varnéisky.
- zda je odpojovaci spinač snadno pristupné spotrebitelem.
Před upevněním držáků
Spotbrebic postavte na stabilni, hladký povrch (použijte baleni). Netlačte na ovladaci privky vyčnivajíci z varné desky.
Nastavení pozice držáků
Varnou desku pripevnéte k pracovni desce pomoci 4 držákù na spodní straně varné desky (viz obrázek) po instalaci.
Nastavte pozici držáku podle tlouš'tky pracovni desky.

Upozornění
- Indukčni varnou desku musi instalovat kvalifikovaný technik. Náš servis nabízí profesonály. Nikdy ji neinstalujte svépomocné.
- Varnou desku neinstalujte nikdy primo nad mycku nadobi, chladnicku, mraznicku, praacku nebo susicku, nebot vlhkost muze postkodit elektroniku varne desky.
- Indukcni varnou desku instalujte tak ay mohlo teplo dobreunikat zajsteni jej spolehlivosti.
- Zdi kolem a plochy nad varnou deskskou by mely byt odolné vuci teplu.
- Abyste zabranili nebezpeci, vrstvené pracovni plochy a lepidla musi byt odolné vuci teplu.
Připojeni varné desky k elektrické siti

Tuto varnou desku musí k elektrické siti pripojovat kvalifikovaný elektrikář. Pred pripojením varné desky k elektrické siti zkontrolujte:
- zda je elektrický systém v domácnosti vchodné pro príkon varné desky.
- zda napétí v elektrické siti opovídá parametrüm uvedenyím na varné desce.
- zda napajeci kabel odpovidá parametrum uvedenym na vyrobním štítku.
Pro pripojeni varne desky k elektrické siti nepoužívejte adaptéry nebo redukce, nebot mohou zpúsobit prehrát a požár. Prívodni kabel se nésmi dotýkat Žádnych horkych cásti a musí byt veden tak, aby teplota nepresáhlva 75^ v Žádném bodě.

Požádejte elektríkaré o kontrolu, zda je elektrický systém v domácnosti vchodné pro prípojení. Jakékoliv změny musí provadět kvalifikovaný technik. Napajeni musí byt provedeno v souladu s platnymi standardy, zpúsob prípojení je uveden nizé.



- Pokud je kabel poškozený nebo je nutné jej vyměnit, tuto Činnost musí provést kvalifikovany servisní technik, aby se zabránilo nebezpečí.
- Pokud pripojite spotbreic primo k elektrické siti pomoci vsepolového odpojovaciho zaizeni, odstup mezi kontakty ve vypnutém stavu musí byt nejmène 3 mm.
- Instalatér musi zajistit správnou instalaci v souladu s platnymi směrnicemi a predpisy.
Kabel se nesmi stlačovat ani ohýbat.
Kabel pravidelné kontrolujte a smí jej měnit pouze kvalifikovánty technik.
Informace pro užívatele k likvidaci elektrickych a elektronickych zařizení (domácnosti)


Tento symbol na produktech anebo v pruvodnich dokumentech znamená, ze použité elektrické a elektronické vyrobky nesmi byt pridány do bežného komunálniho opadu.
Ke správné likvidaci, obnově a recyklaci doručte tyto vyrobky na určená sběrná mista, kde budou prijata zdarma. Alternativné v některych zemích mužete vrátit své vyrobky mistrínu prodejci pri koupi ekvivalentniho nového produktu.
Správnou likvidací tohoto produktu pomúžete zachovat cenne prirodní zdroje a napomáháte prevenci potencialnich negativnich dopadù naŽivotné prostředí a lidské zdraví, což by mohly být dusledky nesprávné likvidace opadù. Dalí podrobnosti si vyžádejte od mistrího uradu nebonejblžsiho sberného mista.
Pří nasprávné likvidaci tohoto druhu odpadu mahou být v souladu s národními prědpisy udělenyPokuty.
Pro podnikové uživatele v zemích Evropské unie
Chete-li likvidovat elektrická a elektronická zařizení, vyžádejte si potřebné informace od svého prodevjce nebo dodavatele.
Informace k likvidaci vostatnich zemich mimo Evropskou unii
Tento symbol je platné jen v Evropské unii.
Chcete-li tento vyrobek zlikvidovat, vyzádejte si potřebné informace o správném zpúsobu likvidace od mistrénych uradů nebo od svého prodevjce.
SnadnýManuál