JC4800VWY - соковижималка GORENJE - Безкоштовний посібник користувача
Знайдіть посібник до пристрою безкоштовно JC4800VWY GORENJE у форматі PDF.
Завантажте інструкції для вашого соковижималка у форматі PDF безкоштовно! Знайдіть свій посібник JC4800VWY - GORENJE і поверніть собі контроль над електронним пристроєм. На цій сторінці опубліковані всі документи, необхідні для використання вашого пристрою. JC4800VWY бренду GORENJE.
ПОСІБНИК КОРИСТУВАЧА JC4800VWY GORENJE
Блok Двигуна Важиь 6,5кг, Тому Ноюптібно підінімати обома рукуп.
He npommbaIte YacTnHcOKOBnDaBnHOBaVa BOIOU, Tempeatypa koi6JIbSe 3a 80^
YBara: Ye npuctri npn3NaueHn BnKJIuHNO dIy nObyTOBOro BnKOpNCtAHN.
He BnKOpNCToBvIe TnpJaIaIy ChI DeTani iHxN X BnPo6HnKiB, 3a BnHЯTKOM Tnx, kI peKOMeHdyE KOMpaHia Gorenje. BnKOpNCtAHnra TaKOrO npHaIaIy ChI DeTaIe NpN3BeDe Do BTPaTI rapaHTII.
Ipeed TmM, Jk BMnkaTn npncpti, nepeBipTe, cn yci deTani npabunbHO BCTaHOBneHi.
He po36npaIte cokOBnIaBnIOBaU, KOJI npIlaJ yBIMKHeHNI. BLOK DnIgYHa NOBInHeN
3aIIuHaTnCS cyxIM. BInuABJIIOUOCh cIK 3 BeJIINKOi KINbKOCTI npOyKTIB, He 3aIIuHaIte COKOBIXMamkny ppaIIOBAtN DOBSe, HIX 10 XBNH 3a OINH pa3. IOTIM DaIte npICSTPOIO DOCTaTHbO OxONoHyTN. PICsRA BNIKOpNCtAHNN 3aBXKn BiD'EDHyTe npICSTpiB iD MepeXi.
Ye o6IaHaHnHaNo3HaueHo BiIDNOiDHO Do DInpeKTHBn EC 2012/19/EC 0do BIXoHIObeKTPnHOrO Ta eJekTPOHORO 6IaHaHnHa - WEEE. IInpeKTHBa BN3Haac BmOrn Do 3bnpAHnTa nepepo6Kn BiXoIDe JeleKTPnHoro N eJekTPOHORO 6IaHaHnHa, kki 3aCTOCOBYOTbcra B Ycbomy CBpOneicbKomy coU03i.
Плд чашю дя соку розміцени pe3инова прokладka, зав_dякny якій Beсь сік (pa3OM i3 M'якOTTH)ВNTiKae i3 HOCиКДЯ ВNTOKу соку.Перед ТИМ, як 3рбntи сік,notpiбHo розмістNTи pe3инову прokладу тak,яК Вka3aHO Ha MaJIHKNY.


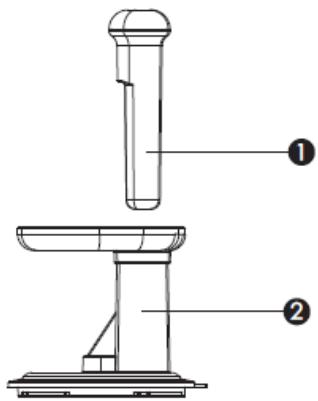
②
Pocnioidhictb 360py


2


PozbpaaiTe B 3BOpOTbOMy HanpMky.
BnKopncTaHnI npilaIy
Прилад мас Три (3) Налштувань.

- ON-CTapTДВИrga:ВИЖIMCOKy
- REV - peBepc. Лше коли сось застягл o Bamnotpiбно npочисти.
- OFF- ceHTpaIbHa no3nizia. PpnilaB BMKHeHO.
Будляпаск, помиTe BCE peTeьно, nepшни полacrВ в прлад. Псю помиВання, поладыnpodukTВ OTbip Для подач 3a дономогою wTOBxaua.
Будь паста, поіжтун haкршiTь Твердіnpodукти, takі як морква, nepeДВИКОПИСТАHHЯМ.
Пися ВИКОРИСТАнгЯ, ВИМКИть i ВIDКЛЮчITь Maшини. Будь Ласka, ВИТрипь руки, перш Нж TopkaТИСЕ до ВИМКаuya.
He 3myuYte B nIOOn NiD Yac npnroTyBaHnra coky, uO6 3anobirtn nooKoJKeHHIO deTaJIe npnilady.
Поради
BnKOpNCToByIe CbIXi 6pykTu Ta OBOU, aJxE B Hnx MICTbC8 6ilbwe coky. OcO6nbo NiXoJrTb IJIa COKOBxMamKn aHaHacn, 6ypKn, nariHci celepN, Jbnyka, oripKn, MOPKBa, WIIINHaT, DInHi, NOMiOpN, rpaHaTn, anJIbCSHH Ta BnHOrpaI.
ToHky 3KipKy MoXHa He 3HIMaTn. 3HIMaTe JIWe TOBCTy 3 aEnbCINiB, aHaHacIB Ta CInpIX 6byRkIB. TaKoX 3HIMaTe 6iNy 5KipKy 3 UInTpycOBHX, OCKIbKn BOHa DoJae ripKOTn.
IotyuOny6nyHn ciK, nam'YaTae, 10 KOHCnCTeHcIg COKy 3aJIeXHTb BiD copTy y6lyk. Ym cokOBntiSe y6nyko, Tm pIdshn ciK.
Bùbùpaɪte Taɪkɪn COpt ᶏbʌŋk, 3 ᶣkoR OMOxHa oTpɪmætɪn bɑɡaHɪN Tɪŋ COKy.
Блok ДВИгУна почеспь ВОЛОЮ raHчірКою. Hi в якOMу рази He занурюті БлOK ДВИгУнa у BODY i He миTe ИOrO пД КраHOM.
HabkoJnshc cepeobnue
He BnKndaTe npncTpi pa30m i3 3BnuaHnMn no6yTOBnMn BiXdXoDAMN, a 3daBaTe NOro BV ophiinHn PnHKT npniOmy dIЯ NOBTOpHOi nepepo6Kn. TaKIM YINOM Bn DoonomaraTe 3axnCTNTn DOBkiIIJI.
TapaHTi Ta o6cIyRObyBaHHa
JaKuo Bam Heo6xidaHOpMaia afo y Bac BnHKna npo6Iema, 3BepHiTbcra do LcHTpy o6CnyroByBaHHa KInCTIB KOMNaHii Gorenje y Baui kpaHni (Telefoh MOXHa 3HaHTn Ha rapaHTiHomy TaHOi). JaKuo y Baui KpaHn HemaC LcHTpy o6CnyroByBaHHa KInCTIB, 3BepHiTbcra do MicceBOrO dInIepa afo y BiDin TexHicHoro o6CnyroByBaHHa KOMNaHii Gorenje Domestic Appliances.
Для ВИКОРИСТАНHA TİЛБКИВ ДOMAшньOMY rocnodapCTBI!
GORENJE BAXAÇ BAM ПРИЕMHOTO KOPNUCTYBAHNY ПРИЛАДOM
Mn 3aJIuHaeMo 3a cObOIO npaBO Ha 6yDb-jaKe BHeCEHHa 3MiH!
Описнения на урEDA







- Ппставka 3а НатиckaHe
2.ФyHnIa
3.ИЗТСИСКВАЦВИНТ - Φιπ(tbp
- Kyna
- Ochoha
- KoHTeINHeP 3a COK N OCTaTbU N OT NIODoB e (2)
- YeTeKa 3a NOuNCTBaHe
BaxHo
Mоntаж и дeмоNTаж Инструкця

0



Pa3rna6aHeTo ce n3BbPwBa no o6paTHnpei.
Ynotpe6a
COKON3CTNCKBaKaTa HN NO3BOJBA Da peRyInpaMe KOJIuYeCTBOTO Ha NIOOBN OCTaTbU B coka. KoJIuYeCTBOTO Ha NIOoBNTe OCTaTbUc MoKe Da 6bJe peRyInpaHO, KaKTo e NOKa3aHO Ha KapTINHKaTa No-DoNY.


IIO-maJIko....IIIOOBON oCTaTbU.….IOBeYe
UpeiBtImaTprn(3)HaCTpOien.

- ON (BKJIIOUYEHO) - CstapTnpa MoTopa: 3anoYBa Da npabu cok
- REV (OBPATHO) - e obpaTeH peXIM. Camo KOraTo HeIe o 3aceDHaIOn Tpr6Ba da ro OTnyShITe.
- OFF (ИЗКЛЮЧЕHO) - e на ченьтурална поизся. Това поизворява на урEDA за се ИЗКЛЮЧИ.
I3nJaKHeTBCnUcKO Do6pe npEi Da ro CNoXnTe B ypeDa.Cnei n3nKaBaHe,CnoXeTe npOdyKTnTe B ypeDa c NOMoUta Ha npuCTaBkata 3a HATnCKaHe.
OTcTpaHeTe TBbPdnte cEmKn npEyn ynoTpe6a.
HapekeTe TBbprnte npOdykTu KaTO MOpKOBn Ha TbHNn napYeHua npEi Da rN CNoXHTe B ypeDa.
Cnej ynoTpe6a n3KnUoyTe ypeJa n pkebcheTe 3axpaHbaHeTo. PocSywTe pBcTe cn npdi Da DOKOCBaTe pekcbaHa Ha 3axpaHbaHeTo.
He haTnCKaIte CnIHO IIOJOBeTe NO BpeMe Ha n3CTNCKBaHe, 3a Da IpeJoTbPaTInTe IOBpeKdAneto Ha n3CTNCKBaUmRA BnHT Auger n fniNTbpa Micro-Mesh.
CbBETn
I3noJ3BaIte CBexn IIOIOBE n 3eJIeHcyu, Tb KaTO Te ca no-6oRaTu Ha cOK.
CJIeHNHe PINOIOBE n 3eJIeHcyu ca ocObeHO IOXODaU 3a npriOTBaHe Ha COK B COKN3TnCKBaUKaTa : aHaHAc, YepBeHO UBeKNo, UeINHa, J6bJKN, KpactabuN, MOpKOv, CnHaNaK, DInH, DOMaTn, HAp, NpOPTokAn n rpo3Ne.
He e Heo6xOdmo Da nouchCTBaTe CeKMnTe N da 6eInte PNOIOBte IpeDbapntelHo. PoUcTeTe cAmo No-De6eJIInTe KOpN, KaTO Te3N Ha npOTOKaJIInTe, aHaHaca N CypOBOTO UBeKNo.
ПростаІнструкція