ENA34733W - Kyl frys AEG-ELECTROLUX - Gratis bruksanvisning och manual
Hitta enhetens manual gratis ENA34733W AEG-ELECTROLUX i PDF-format.
Ladda ner instruktionerna för din Kyl frys i PDF-format gratis! Hitta din manual ENA34733W - AEG-ELECTROLUX och ta tillbaka ditt elektroniska enhet i hand. På denna sida publiceras alla dokument som behövs för att använda din enhet. ENA34733W av märket AEG-ELECTROLUX.
BRUKSANVISNING ENA34733W AEG-ELECTROLUX
Slut med at kontrollere, at:
Ta del av vårā tankegångar på www.electrolux.com
INNEHÄLL
| Säkerhetsinformation | 49 |
| Kontrollpanel | 51 |
| När maskinen används Första gängen | 54 |
| Daglig användning | 54 |
| Råd och tips | 56 |
| Underhäll och rengöring | 57 |
| Om maskinen inte fungerar | 58 |
| Tekniska data | 60 |
| Installation | 60 |
| Miljöskydd | 64 |
Med reservation for andringar
SÄKERHETSINFORMATION
För din egen sakerhet och für att du skall kunna användaprodukten på korrekt satt är det viktigt att du noggrant laser igenom denna bruksanvisning, inklusive tips och varninger, innan du installerar och anvanderprodukten forsta gangen. För att undvika onödiga misstag och olyckor är det viktigt att alla som anvanderprodukten har god kännedom om dess skötsel och skyddsanordninger. Spara denna bruksanvisning och se till att den foljer medprodukten on den flyttas eller saljs, sä att alla som anvanderprodukten fär korrekt sakerhetsinformation och information om hur den skätas.
For att minimera risken for skador på person och egendom ar det viktigt att du laser och foljer sakerhetsforeskrifterna i denna bruksanvisning. Tillverkaren ansvarar inte for skador orsakade av att foreskrifterna inte har foljts.
Sakerhet for barn och handikappade
- Denna produkt är inte avsedd att användas av personer (även barn) med nedsatt fysisk eller sensorisk förmåga, aller om de har bristande erfarenhet och kunskap, om de inte instrueras och overvakas aven person som ansvarar for deras säkerhet.
Barn bör alltid övervakas när de använderprodukten for att sakerställa att deinte leker med den.
- Håll allt Förpackningsmaterial utom räckhäll for barn. Risk for kvävning kan foreligga.
- När du skall kasseraprodukten: koppla loss den frän eluttaget och klipp av nit-
kabeln (sà nara Produkten som möjlicht) och demontera dorrarna sà att lekande barn inte utsats for elektriska stotar eller loper risk att blinnestängda.
- Om denna produkt, som har magnetiska dorrättingar, skall ersätta en ädre produit som har en fjäderbelastad spär r i dorrarna, var noga med att göra fjaderspärren obrukbar innan du kasserar den gamla produits. Då finns det ingen risk att produits blir en dödsfälla for barn.
Allman sakerhet
Varning
Se till att ventilationsöppningarna inte blockeras i Produkten's holje erler i inbygg-nadsutrymmet.
- Produktten ar avsedd for Förvaring av matvaror och/eller drycker i ett normalh hushäll enigt beskrivning ienna bruks-anvisning.
- Använd inga mekaniska eller artificiella metoder För att paskynda upptiningsprocessen.
- Använd inga andra elektriska apparater innate i Produkten, (t.ex. en glassmaskin), savida de inte har godkänts for detta an-damål av tillverkaren.
- Var noga med att inte skada kylkretsen.
- I kylkretsen används isobutan (R600a) som köldmedel. Det är en miljövänlig naturgas, men den ar dock brandfarlig. Se till att inga componenter i kylkretsen skadas under transport och installation avprodukten.
Om kylkretsen skadas:
- undvik att komma nara öppen eld och antändande källor
-
ventilera noga rummet därprodukten står
-
Det är farligt attändra specificationerna erller att försoka modifiera denna produkt på nagot satt. En skadad nätkabel kan orsaka kortslutning, brand och/eller elektriska stötar.

Varning Elektriska delar (t.ex. nätkabel, stickkontakt, kompressor) fär endast bytas ut av en certifierad serviceagent eller annan kvalificerad servicepersonal for att undvika fara.
- Natkabeln fär inte forlängas.
- Se till att stickkontakten inte klams eller skadas av produits baksida. En skadad stickkontakt kan overhettas och orsaka brand.
- Set till att stickkontakten ar Åtkomlig\ närprodukten har installerats.
- Drainte i natakeln.
- Satt inte i stickkontakten om eluttaget sitter lost. Risk for elektriska stötar eller brand foreligger.
-
Produktien fär inte användas utan att innerbelysningens lampskydd sitter på plats13) über den inre belysningen.
-
Denna produit ar tung. Var försiktig Near du flyttar den.
- Plocka inte ut matvaro från frysfacet, och ta inte i dem, med våta eller faktiga händer eftersom detta kan leda till skador på huden eller frost-/frysskador.
- Se till attprodukten inte exponeras for direkt solsken under lanya perioder.
- Lampornaa4) som anvands i den har produkten ar specialampor som endast ar avsedda for anvandning i produkten. De lampar sig inte som rumsbelysning.
Daglig anecdging
- Ställ inte heta kärl på plastdelarna iprodukten.
- Förvara inte brandfariga gaser eller vätskor iprodukten aftersom de kan explodera.
-
Placerainte matvaror direkt mot luftutloppet pa den bakre vaggen.15)
-
Fryst mat fár inte friesas omningar den har tinats.
- Förvara fardig fryst mat,enligt tillverkarens anvisningar.
Följ noga rekommendationerna om forvaring fran produktens tilverkare. Se relevant avsnitt iBruksanvisingen. - Placerainte kolsyrade aller mousserande drycker i frysen eftersom detta skapar ett tryck i behallaren som d'a kan explodera och skada frysen.
- Isglassar kan orsaka frostdskador om de konsumeras direkt frän frysen.
Skötsel och rengöring
- Stäng avprodukten och koppla loss den fran eluttagetFore underhäll.
- Rengör inteprodukten med metallföremål.
- Använd inga vassa foremål for att avlågsna frost frän Produkten. Använd i stället en plastskrapa.
- Kontrollera regelbundetproduktsömning av avfrostat vatten. Rengör vid behov tömningskanalen. Om tömningskanalen tãpps ingenkommen vatten att samlas påprodukts botten.
Installation
Viktigt For den elektriska anslutningen, folj noga anvisingarna i respektive avsnitt.
- Packa uppprodukten ochkontrollera att den inte har nagra utvändiga skador. Anslut inteprodukten om den ar skadad pa nagot satt. Rapportera omedelbart eventuella skador till din Återförsäljare, och spara i sö fall forpackningsmaterialiet.
- Vi rekommenderar att du vänter minst fyra timmar innan du nätansluterprodukten sa att oljan kan rinna tillbaka i kompressorn.
- Tillräcklig luftcirculation måste sakerställas runtprodukten, annars overhettas den. För att erhälla tillräcklig ventilation, följ instruktionerna som ar relevanta for installationen.
-
När sä ar möjligt börprodukten baksida vara vänd mot en vagg for att undvika risken for brännskador genomkontakt medprodukten varma delar (kompressor, kondensor).
-
Produktten fär inte placeras nara varme-element eller spisar.
- Sakerställ att elkontakten är Åtkomlig after installation avprodukten.
- Produktken fãr endast anslutas till ett dricksvattensystem. 16)
Service
- Allt arbete avseende elektricitet som kravs for att utfora service på Produkten skall utforas av en behörig elektriker aller annan kompetent person.
Service pà denna produit fár endast utforas av en auktoriserad serviceverkstad. Endast originaldar fár anvandas.
nagon gas som kan skada ozonlagret. Produktken fär inte kasseras tillsammans med det vanliga hushållsavfallet. Isolationsmaterialiet innehäller brandfarliga gaser: Produktken skall därfor kasseras enligt tillämpliga bestämmelser som kan erhällas frän de lokala myndigheterna. Undvik att skada kylenheten, särskilt på baksidan nara kondensorn. Material ienna produit som ar markta med symbolen kan Återvinnas.
Miljöskydd

Denna produit innehälter inte, varken i kylkretsen eller i isolationsmaterialen,
KONTROLLPANEL

A - Strömbrytare På/Av
B - Temperaturknapp
C - Temperatur- och Funktionsdisplay
D - Funktionsnapp
E-OK-knapp
Display

1 Temperaturindikator
2 Larm vid for hog temperatur.
3 Indikator for fonctionen FreeStore
4 Symbol for fonctionen Shopping
6 Symbol for timerfunktion.
Positiv aller negativ temperaturindikator.
8 Symbol for fonctionen Action Freeze
9 Symbol for fack.
16) Om Produkten har en vattenanslutting.
När du sätter på produit Första gangen
Om displayen intealandnr du ansluter produkten till eluttaget,tryckpknapp (A) foratt satta paproducten.
Närprodukten sätts på är den i larmläge: temperaturen blinkar på displayen och du hör en ljudsignal.
Tryck på knapp (E) for att stänga av ljudsignalen (se även avsnittet "Larm om övertemperatur"). Symbolen blinkar fortfarande och på temperaturdisplayen visas den högsta uppnàdda temperaturen.
Förkorrekt Förvaring av dina matvaror, välj Eko-funktionen som garantaratt foljande temperaturer ställs in:
+5°Cikylskapet,
-18°C if friesen.
- Vänta tills temperaturen nár -18 °C i fry- sen innan du lagger in matvaror.
- Se avsnittet "Temperaturreglering" om du vill valja en annan temperatur.
Stanga av Produkten
Häll strömbrytaren (A) intryckt i mer än en sekund for att stänga avprodukten.
Samtidigt visas en nedrakning av tempera-turen fran-3-2-1.
Stanga av kylen
För att stänga av kylen, tryck på knapp D tillsenna enchet är vald och häll sedan knapp A intryckt tills en nedräkning från -3 -2 -1 är klar.
Viktigt Det gär inte att ha endast kylen pasklagen.
Om du stänger av frysen sà stängs även kylen av.
Funktionsmeny
Tryck på knapp (D) für att öppna Funktionsmenyn. Varje fonctionbekräftas genom att man trycker på knapp (E). Om ingen bekräftelse sker inom nagra sekunder lämnas menyn och displayen Återgår till normalåget.
FöljandeFUNKTERVISAS:
Välj kylf Jacket.
Välj frosfacket.
Eko-Eko-funktionen
Tryck på knappen (D) for att välja,enhet och sedan knappen (B) for att välja nödvändig temperatur.
Tryck på knappen (E) für att bekräfte valet.
Temperaturdisplayen visar den installda temperaturen. Den installda temperaturen uppnås inom 24 timmar.
Nägra graders variation kring den installda temperaturen ar normalt och innebär inte att det ar fel på produiten.
Medenna Funktion kan du ha kylskapet avstangt och tomt under exemplelis en semester utan att dalgia lukter bildas.
For att aktivera semesterfunktionen, utfor stegen for att andra den installda temperature. Temperaturdisplayen kan andra den visade temperaten upp till +8^ med 1 ^ C at gangen. +2^ foljs av bokstaven "H". Tryck på knapp (E) for att bekräfta.
Kylskapet ar nuinstellt på semesterfunktionen i energisparläge.
Viktigt Kylskapet måste vara tomt Near Funktionen aktiveras.
Barnlås
Barnåset aktiveras genom att trycka på knapp D tills motsvarande symbol visas på displayen.
Du maste bekräfta valet genom att trycka på knapp E inom nagra sekunder. Du hör en ljudsignal och symbolen föblir tand. Så länger Funktionen ar aktiveradändras ingainstallingar om nàgon trycker på knapparna.
Du kan när som helst stänga av Funktionen genom att trycka på knapp D tills motsvarande symbol börjar att blinka och sedan trycka på knapp E.
Shopping-funktionen
Om du behöver lögga in en större mängd varma matvaror när du har handlat rekommanderer vi att du aktiverar Shopping-funk-
tionen for att kyla matvarorna snabbare och for att inte varma upp andra matvaror iprodukten.
Shopping-funktionen aktiveras genom att trycka på knapp D tills motsvarande symbol visas på displayen. Du maste bekräfta valet genom att trycka på knapp E inom nagra sekunder. Du hör en ljudsignal och symbolen forblir tand.
Shopping-funktionen stängs av automatiskt after cirka 6 timmar. Du kan när som helst stänga av funktionen genom att trycka på knapp D tills motsvarande symbol böjar att blinka och sedan trycka på knapp E.
Eko-funktionen
Tryck på knapp (D) (flera ganger vid behov) tills motsvarande symbol visas på displayen. ECO
Tryck på knappen (E) für att bekräfta valet. Du hör en ljudsignal och symbolen föblirtaland.
I detta lage ställs temperaturerna in automatiskt (+5 °C resp. -18 °C) till de basta forhällandena für forvaring av matvaror. Ställ in en annan temperatur i ett av facken für att stänga av Funktionen.
Tryck på knapp (D) (flera ganger vid behov) tills motsvarande symbol visas på displayen.
Tryck på knappen (E) für att bekräfta valet. Du hör en ljudsignal och symbolen föblir tänd.
Viktigt Om funktionen aktiveras automatiskt visas ikonen FreeStore inte. (Se "Daglig användning").
Aktivering av fonctionen FreeStore leader till ökad energiförbrukning.
Frysen ar lámplig für infrysning av färska matvaror och langvarig forvaring av frysta och djupfrysta matvaror.
Den största mangden mat som kan friesas in på 24 timmar anges på typskylten.
For att frysa in den mangd som anges pataypeskylten, placera matvaronna i direkt kontakt med kylytan (avlagsna ladan aller korgen). Om matvaronna fryses in i ladorna aller korgarna reduceras den maximala kapaciteten nagot.
For att frysa in farska matvaror behover du aktivera Funktionen Infrysning. Tryck pa knapp (D) tills symbolen super visas pa displayen.
Du maste bekräfta valet genom att trycka pa knapp (E) inom nagra sekunder. En ljud-signal avges och displayen visar en animer-ing med linjer.
Efter en forkylningsperiod pa 24 timmar kan du lagga in matvarorna i frysen.
Lagg matvarorna i facket eftersom detta ar den kallaste platsen.
Infrysningsprocessen tar 24 timmar. Lagg inte in andra matvaror for frysning underenna period.
Denna Funktion stängs av automatiskt after 52 timmar.
Du kan när som helst stänga av Funktionen genom att trycka på knapp (D) tills symbolen super börjar att blinka och sedan trycka på knapp (E).
Funktionen Dryckkylning
Funktionen Dryckkylning ar avsedd att anvandas som en sakerhetsvarning nar flaskorlaggs in i frysen for kylning. Funktionen aktiveras genom att trycka pa knapp (D) tills symbolism visas pa displayen.
Du maste bekrafta valet genom att trycka pa knapp (E) inom nagra sekunder. Du hör en ljudsignal och symbolen forblir tand.
Härmed aktiveras en timer med en Förinställd tid på 30 minufter som kan justeras frän 1 till 90 minutes. Tryck på knapp (B) for att ställa in önskad tid.
När den installda tiden loper ut visas foljande indikeringar:
- på displayen 📅 Blinkar symbolen 📁
symbolen m blinkar
symbolen 喜 blinkar
- en ljudsignal avges tills knapp (E) trycks in Var noga med att d' plocka ut flaskorna ur frysen.
Du kan när som helst stänga av Funktionen genom att trycka på knapp (D) tills motsvarande symbol börjar att blinka och sedan trycka på knapp (E).
En temperaturökning i ett fack (t.ex. på grund av ett strömavbrott) indikeras genom att:
-
temperaturen blinkar
-
symbolen für frysen [blinkar]
symbolen blinkar - en ljudsignal avges
När normala Förhällanden har Återställs:
- ljudsignalen stängs av
- temperaturvärdet fortsetter att blinka När du trycker på knapp (E) für att stänga av larmet visas den högsta uppnädda tem
peraturen i encheten på displayen B under nagra sekunder.
Displayen Återgår sedan till normaläge och visar temperaturen i den valda encheten.
Medan larmet pagar kan ljudsignalen stangas av genom att trycka pa knapp (E).
Innan du anvander Produkten forsta gangen, rengör dess insida och alla invändiga tillbehör med ljummet vatten och en liters mängd neutral sapa für att ta bort den typiska lukten hos nyaprodukter. Eftertorka sedan noga.
Viktigt Använd inga starka rengöringsmedel aller skurpulver eftersom södanaprodukter skadar ytfinisen.
DAGLIG ANVÄNDNING
Förvaring av fryst mat
Vid Första uppstart eller afterett uppehäll i avständt lage, látprodukten stá på i minst tvä timmar innan du lagger in nagra matvaror.
Viktigt I handelse av en oavsiktlig avfrostning, t.ex. vid ett strömavbrott och avbrottet varar langre an den tid som anges i den teknska informationen under Temperaturökningstid, maste den tinadematen konsumeras snabbt erler omedelbart tillagas och sedan fryssas in pa nytt (när maten har kallnat).
Upptining
Djupfryst och fryst mat kan, innan den anvands, tinas i kylen aller vid rumstemperatur beroende på den tid som står till forfogande for upptingen.
Smàbitar kān till och med tillagas direkt frān frysén medan de fortfarande ár frysta. Tillagningen tar i detta fall dock lite langre tid.
FreeStore
Kylfacket ar utrustat med en Funktion som mõjiggör snabb nedkylning av matvaror och en jämnare temperatur i kylfacket.

Denna Funktion aktiveras automatiskt vid behov och ger till exemple en snabb temperaturerställning när dörren har/Statt öppen eller när omgivningstemperaturen ar hög.
Viktigt Funktionen FreeStore avaktiveras\ när dörren öppnas och startar direkt igen\ när dörren har stängts.
Flyttbara hyllor
Väggarna i kylén ar fördedda med att antal lopskenor sö att hyllorna kan placeras enigt användarens önskemål.

Flaskställ
Placera flaskorna (med halsarna vanda utat) i den redan positionerade hyllan.
Viktigt Lagg endast in forslutna flaskor om hyllan ar positionerad horisontellt.

Flaskstallet kan dock vinklas for att kunna forvara oppnade flaskor. For att vinkla flaskstallet, dra ut det så langt att framkanten kan flytas upp och placeras på nestsa hogre niva.

For att kunna forvara matforpackninger i olika storlekar kan dorrhyllorna placeras pa olika nivae.
Justera hyllorna på följande satt:
dra forsiktigt hyllan i pilens riktning tills hyl-
lankommen fri och placera den sedan i
önskad position.

SpacePlus-Iada
Den har ladan ar lamplig for forvaring av frukt och gronsaker.
Det finns en avdelare (pà vissa modeller) i lâdan som kan placeras i olika positioner sà att du kan dela in lâdan enligt dina personi-ga behov.
Det finns ett galler (pà vissa modeller) i lâ-dans botten for att separera frukterna och
grönsakerna是从 eventuell fukt som kan bil-das på botten.
Alla delar i ladan kan tas bort for rengoring.

FreshZone-lada
Lådan FreshZone ar lämplig for Förvaring av färska livsmedel som fisk, kott, skaldjur, eftersom temperaturen har ar lagre an övrigadelen av kylen.

Fryslådorna har stopp som forhindrar att lådorna av misstag dras ut helt eller faller ut. For att ta ut en fryslåda ur frysen, dra lådan mot dig tills du nár stoppet och avlågsna sedan lådan genom att vinkla den främre delen uppåt.
RÄD OCH TIPS
Normala ljud under drift
- Det kan horas att svagt porlande och ett bubblande ljud nar koldmedlet pumpas genom spiralroren och rorledningarna. Detta ar normalt.
- När kompressorn är i drift pumpas koldmedlet runt och det hörs ett surroundé och att pulserande ljud是从 kompressorn. Detta är normalt.
- Den termiska utvidgningen kan orsaka ett plotslig Knappende ljud. Detta ar ett naturligt och ofarligt fysikaliskt fenomen. Detta ar normalt.
För att sätta tillbaka ladan, lyft upp den främre delen nagot fort Föra in ladan i dess spär. När ladan har passerat forbi stoppen, skjut in hela ladan på plats.


Tips om energiblesparing
- Oppnainte dorren for ofta och lát den inte stä öppen langre tid an absolut nödvändigt.
- Om ompigningstemperatuen ar hög, och temperaturreglaget ar instal'tp en hög temperatur och produkten ar full med matvaror, kan kompressorn arbeta konti-nuerligt och medfora att frost ellis bil-das p a evaporatorn. Om detta intraffar, stall in temperaturreglaget p en lagre temperatur for att möllgörä automatisk
avfrostning och därigenom också sänka energiförbrukningen.
Tips om kylning av farska livsmedel
For att erhålla bösta resultat:
forvara inte varm mat ell er avdunstandevatskor i kylskapet
- tack over eller forpacka maten, särskilt om den har en stark smak
- placera mat sà att luft kan cirkulera fritt omkring den
Tips om kylning
Praktiska råd:
Kott (alla typer): lagg i plastpasar och placera pa glashyllan ovenfor gronsakslaDan.
Av sakerhetsskal bör kott forvaras på detta satt i högst två dygn.
Tillagad mat och kalla ratter: dessa börtäckas over och kan placeras på valfri hylla.
Frukt och grönsaker: skölj av och rengör noga och lagg i den speciella grönsaksla-dan (eller lådorna i förekommande fall).
Smör och ost: dessaprodukter bör laggas i särskilda, lufttata behällare erler forpackas i aluminiumfolie aller plastpäsar for att evakuera sa mycket luft som möjigt.
Mjölkflaskor: dessa bör ha kapsyl och fövaras lámpligen i dörrens flaskställ.
Bananer, potatis och lökär som inte är forpackade bör inte forvaras i kylskåpet.
Tips on infrysning
Här foljer nagra vardefulla tips som hjälper dig att använda infrysningsfunktionen på basta satt:
Den maxima mangd mat som kan frysas in p24 timmar anges p2 typskylten.
- Infrysningsprocessen tar 24 timmar. Ytterligare mat som skall frysas in bör inte laggas in underenna period.
UNDERHÄLL OCH RENGÖRING

Försiktiget Koppla loss Produkten frän eluttaget innan du ut För pågon form av underhäll.

Kylenheten i denna produit innehäller kolväten: unterhalb och pafylling fär)därfor endast utföras av en auktoriserad servicetechniker.
- Frys endast in farska och rengjorda matvaror av hog kvalitet.
- Dela upp maten i små portioner für en snabbare och fullständig infrysning. Sedan kan du dessutom plocka ut och tina endast den mangd du behöver.
- Slä in maten i aluminiumfolie, eller lagg den i plastpäsar, och se till att Förpackningarna ar lufttata.
- Låt inte färsk, ej infryst mat komma i kontakt med redan infryst mat, detta for att temperaturen inte skall öka i den infrystamaten.
- Magra matvaror häller bättre och langre öän feta. Salt forkortar matens lagringstid.
- Isglass kan, om den konsumeras direkt frän frysfacet, orsaka frysskador på huden.
- Det är lämpligt att anteckna datumet für infrysning på varje separat Förpackning sä att du kan hälla reda på forvaringstiderna.
Observera följande für att utnyttja produktens prestanda på bösta satt:
- Kontrollera att kommersielt infrysta matvaror har forvarats på rätt satt av Återforsäljaren.
- Transportera frysta matvaror fran affaren till frysen sa snabbt som möjigt.
- Oppnainte dorren for ofta och lát den inte stä öppen langre tid an absolut nödvändigt.
- När fryst mat tinas upp försämras den snabbt och fär inte fryss asin på nytt.
- Overskrid inte den forvaringsperiod som anges av matvarans tillverkare.
Frost avlågsnas automatiskt fræn evaporatorn i kylutrymmet varje gang kompressorn stannar under normal användning. Det avfrostade vattnet toms ut via en ranna i en särskild behällare som sitter ovanfor kompressorn på kylskapets baksida, dær vattnet avdunstar.
Det är viktigt att regelbundet rengörav-frostningsvattnets tomningshal i mitten av
kylskapsutrymmet for att undvika att vattnet rinner over och droppar ned på matvarorna. Använd medfoljande specialverktyg som redan sitter i tomningshalet.

Avfrostning av friesen
Frysavdelningen på denna modellär emel-lertid av "frostfri" typ. Detta innebär att det inte bildas nagon frost under drift, varken på innervaggarna eller matvarorna.
Att frostinte bildas beror på en kontinuierlig cirkulation av kalluft, som genereras av en automatiskt kontrollerad fläkt,inne i frysvadelningen.
OM MASKINEN INTE FUNGERAR

Forsiktiget Koppla loss kylen/frysen frän eluttaget innan felsökning utförs. Endast en behörig elektriker eller annan kompetent person fär utföra felsökning som inte beskrivs ienna bruksanvis- ning.
Viktigt Kylen/frysen avger vissa ljud under normal användning (kompressor, cirkulation av köldmedel).
| Problem | Möjlig orsak | Ätgård |
| Kylen/frysen bullrar. | Kylen/frysen står ostadigt. | Kontrollera att kylen/frysen står stadigt (alla fya fötterna skall ha kontakt med golvet). |
| Kompressorn arbetar hela tiden. | Temperaturreglaget kan vara fel-aktigt inställt. | Ställ in en högre temperatur. |
| Dörren är inte stängd ordentligt. | Se avsnittet "Stängning av dörren". | |
| Dörren har öppnats För ofta. | Låt inte dörren/Stä Oppen langre tid än nödvändigt. | |
| Matvarans temperatur är für hög. | Låt matvarans temperatur sjunka till rumstemperatur före fövaring. | |
| Rumstemperaturen är für hög. | Sänk rumstemperaturen. | |
| Funktionen Infrysning är aktive-rad. | Se avsnittet "Funktionen Infrys-ing". | |
| Vatten rinner på kylskå-pets baksida. | Under den automatiska avfrost-ningen tinar frost på baksidan. | Detta är normalt. |
| Vatten rinner in i kylskå-pet. | Vattenutloppet är igentäppt. | Rengör vattenutloppet. |
| Problem | Möjlig orsak | Åtgård |
| Matvaror hindrar vattnet från att rimna till vattenuppsamlaren. | Kontrollera att inga matvaror har kontakt med den bakre vöggen. | |
| Vatten rinner på golvet. | Smälvtavnett rinner inte genom utloppet till avdunstningsbrickan ovanfor kompressorn. | Anslut smälvtavtenutloppet till av-dunstningsbrickan. |
| Det har bildats För myck-et frost och is. | Matvaror År inte ordentlich in-slagna. | Förpacka matvarorna ordentlich. |
| Dörren År inte stängd ordentlich. | Se avsnittet "Stängning av dör- ren". | |
| Temperaturreglaget kan vara fel- aktigt inställt. | Ställ in en högre temperatur. | |
| Temperaturen i kylen/fry- sen År forhög. | Dörren År inte stängd ordentlich. | Se avsnittet "Stängning av dör- ren". |
| Matvarans temperatur År forhög. | Låt matvarans temperatur sjunka till rumstemperatur före fövaring. | |
| Många matvaror förvaras samti-digit. | Förvara färre matvaror samtidigt. | |
| Temperaten i kylskåpet År forhög. | Det cirkulerar ingen kalluft i kylen. | Se till att kalluft cirkulerar i kylen. |
| Temperaten i frysen År forhög. | Matvaror År placerade for nara varandra. | Placera matvaronna sà att kalluft kan cirkulera. |
| Kylen/frysen fungerar inte. | Kylen/frysen År avständ. | Sätt på kylen/frysen. |
| Stickkontakten sitter inte ordent-ligt i eluttaget. | Sätt i stickkontakten ordentligt i eluttaget. | |
| Kylen/frysen fãr ingen ström. Eluttaget År strömlöst. | Anslut en annan elektrisk apparat till eluttaget für att kontrollera. Kontakta en behörig elektriker. | |
| Belysningen fungerar inte. | Lampan År i standby-läge. | Stäng och öppna dörren. |
| Lampan År trasig. | Se avsnittet "Byte av lampan". |
Kontakta vár lokala serviceavdelning om dessa ränd inteloser problemet.
Byte av glödlampan
Gör på foljande satt om glödlampan behöver bytas ut:
- Koppla lossprodukten frän eluttaget.
- Lossa skruven som häller lampglaset på plats.
- Haka loss den rörliga delen genom att trycka på den som figuren visar.
- Byt ut den gamla glödlampan mot en ny lampa med sama effekt (max. effekt anges på lampglaset).
- Satt lampglaset pól plats.
- Dra fast lampglaset med skruven.
-
Anslut produkten till eluttagetigen.
-
Oppna dörren och kontrollera att belys-ningen tänds.

TEKNISKA DATA
| Mätt | ||
| Höjd | 1850 mm | |
| Bredd | 595 mm | |
| Djup | 658 mm | |
| Frystid | 18 h | |
| Nätspänning | 230 V | |
| Frekvens | 50 Hz |
Teknisk information finns på typskylten på vänster sida innate i skåpet och på energietikketten.
INSTALLATION

För din egen sakerhet och für att du skall kunna användaprodukten på korrekt satt, lás noga igenom avsnittet "Sakerhetsinformation" innan du installerarprodukten.
Placering
Installera Produktten på en plats)där omgiv- ningstemperaturen motvarsar den klimatklass som anges på typskylten:
| Klimat-klass | Omgivningstemperatur |
| SN | +10 till +32 °C |
| N | +16 till +32 °C |
| ST | +16 till +38 °C |
| T | +16 till +43 °C |
Placering
Produkten bör placeras på sakert avständ frän varmekällor sösom element, varmvat-
Stängning av dörren
- Rengör dörrtätningarna.
- Justera dörren vid behov. Se avsnittet "Installation".
- Byt vid behov ut defekta dorratningar. Kontakta var lokala serviceavdelening.
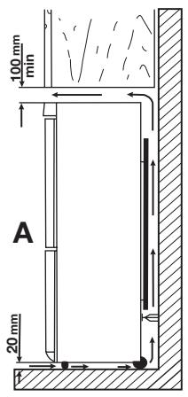
tensberedare, direkt solsken, etc. Se till att luften kan cirkulera fritt rundientruktens baksida.Forattsakerstalla basta prestanda om Produkten placeras under en overhangande vagghenet maste det vara minst 100 mmavstandellanproduktenovansida ochvaggheneten.Produktenbor dock helstinteplacerasunderoverhangende vaggenheter.Produktenkanjusterasinivagmed enllerflerajusterbara fotter.

Varning Det måste gå att koppla bort produkten från elnätet. Stickkontakten måste dārfor vara lätt att komma Åt;när produkten har installerats.


Elektrisk anslutning
Kontrolera fore anslutning till ett eluttag att natspanninger och nattfrekvensen overensstammer med de varden som anges på typskylten.
Produkten mäste jordas. Nätkabelns stickkontakt ar försedd med en kontakt für dettaändamål. Om natspänningsmatningen inte ar Jordad, kontakta en kvalificerad elektrikerfor att ansluta produkten till en separat jordenligt gällande bestammelser.
Tillverkaren ansvarar inte for skador orsaka de av att ovanstaende sakerhetsatgärder inte har foljt.
Denna produit uppyller kraven enligt EG-direktiven for CE-markning.
Bakredistanshallare
De två distanshällarna finns i påsen med dokumentationen.
Montera distanshällarna på följande sätt:
- Lossa skruven.
- Satt distanshällaren under skruven.
- Vrid distanshällaren till rätt position.
- Dra Åt skruvarna igen.

Avvägning
Se till att Produkten stär i våg där den installeras. Justera vid behovprodukten med hjälp av de två främre, justerbara fötterna.

Borttagning av hyllspärrarna
Din produit ar utrustad med hyllsparrar for att lasa hyllorna under transport.
For att ta bort hyllsparrarna:
- Flytta hyllsparrarna i pilens riktning (A).
- Lyft hyllan bakifrån och tryck den framåt tills denkommen fri (B).
- Ta bort sparrna (C).

Omhängning av dorrar

Varning Koppla loss produkten från eluttaget innan du pâbörjar arbetet.
Viktigt Vi rekommenderar att du ber nàgon om hjälp med att hälla ett fast grepp om dörrarna under arbetets gäng.
Gör på foljande satt für att äandra dörrarnas öppningsriktning:
- Oppna dorrarna medprodukten i uppratt position. Lossa skruvarna (t1) och avlagsna den övre dörrens plastlist (t2). Stäng dörren.

-
Lossa den lilla plastkåpan frän plastisten och satt fast kåpan på motsatta sidan (t3).
-
Avlagsna panelen (t4). Använd vid behov en skruvmejsel fösiktigt. Skruva loss skruven på andra sidan. Avlagsna det övre dörfästet (t5). Lagg delarna i en tom plastpåse.

- Avlagsna den övre dörren.
- Skruva loss skruven och avlågsna dorr stoppet (d1). Montera det omvän på andra sidan.

-
Skruva loss det mellersta gängjärnet (m2). Avlagsna distanshällaren av plast (m1).
-
Avlagsna den nedre dorren.

- Avlagsna distanshällaren (m6) och flytten till andra sidan av gängjärnsupp-hängningen (m5).
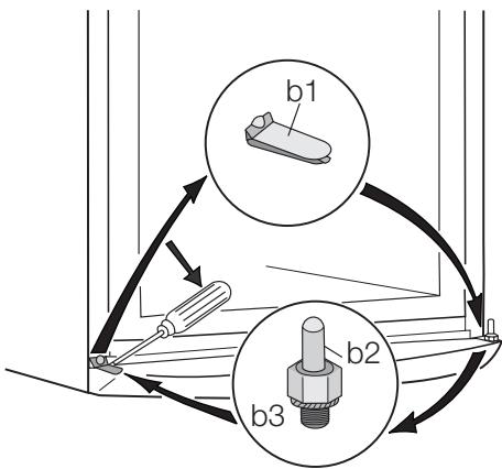
- Avlagsna kapan (b1) med ett verktyg. Skruva loss den nedre gangjärnsupp-hängningen (b2) och distanshällaren (b3) och placera dem på motsatta sidan.
- Satt fast kapan (b1) pa motsatta sidan.

-
Avlagsna stoppen (d1) och flytta dem till dorrarnas andra sida.
-
Avlagsna den vänstra kapsprinten från det mellersta gangjärnet (m3, m4) och flytta den till andra sidan.
- Satt det mellersta gangjärnets (m5) sprint i det vänstra hålet på den nedre dörren.
- Haka fast den nedre dörren på gangjärnsupphängningen (b2).
- Skruva fast det mellersta gängjärnet (m1) på motsatta sidan. Glöm inte plastdistansen (m2) som skall sitta under det mellersta gängjärnet.
- Haka fast den övre dörren på det melersta gangjärnet (m5). Kontrollera att dorrkanterna loper parallelt medprodukten kanter.
- Positionera och fäst det övre gängjär-net (finns i pasan med braupsanvisningar) på motsatta sidan (t6).

- Satt fast panelen (t7) (finns i pAsen med braksanvisingen).
- Öppna den övre dörren och montera den övre panelen (t2) med skruvar (t1). Sätt i magneten (d7). Stäng dörren.
- Ställ tillbakaprodukten på plats,justera in den i vig och vanta sedan minst fyratimmar innan du ansluter den till eluttaget.
Kontrollera sluttigen att:
- Alla skruvar ār ἀτdragna.
- Magnetättingen fær stert ordentlich mot Produkten.
Dorrarna oppnar och stanger ordentigt.
Om rumstemperaturen ar låg (t.ex. på vintern) kanske tätningen inte fær ordentligt. Vänta i sö fall tills tätningen har anpassat sig på naturlig veg.
MILJÖSKYDD
Symbolen à produit ener émballaget anger att produits inte fár hanteras som hushàllsavfall. Den skali stället lamnas in pa uppsamlingsplats for Återvinning av eloch elektronikkomponenter. Genom att sakerstalla att produits hanteras på ratt sättbider du till att forebygga eventuellt
Om du inte vill hänga om dorrama själv kan du kontakta Electrolux Service. En servicetekniker hänger om dem mot en avgift.
negativa miljö- och hälsoeffekter som kan uppstä om Produkten kasseras som vanligt avfall. For ytterligare uppliesninger om Återvinning bör du kontakta lokala myndigheter eller sophämtningstjänst aller affären)där du köpte varan.
Notice-Facile