ENA34733W - Kjøleskap fryser AEG-ELECTROLUX - Gratis bruksanvisning og manual
Finn enhetens veiledning gratis ENA34733W AEG-ELECTROLUX i PDF-format.
Last ned instruksjonene for din Kjøleskap fryser i PDF-format gratis! Finn veiledningen din ENA34733W - AEG-ELECTROLUX og ta den elektroniske enheten tilbake i hendene. På denne siden er alle dokumenter som er nødvendige for bruken av enheten din publisert. ENA34733W av merket AEG-ELECTROLUX.
BRUKSANVISNING ENA34733W AEG-ELECTROLUX
Vedligeholdelse og rengøring
Tryk på knap E for at.slalarmen fra (se og-sa under "Alarm ved for hoj temperatur".
6 Timerfunktionsindikator.
7 Indikator for positiv eller negativ temperatur
8 Indikator for aktiv frysnig.
9 Afdelingsindikator.
10 Indikator for energisparefunktion.
Symbolet blinker stadig, og temperaturindikatoren 日 viser den hojeste temperatur, der er malt.
Vaelg functioren Energispare for at fä korrekt opbevaring med følgende faste indstilinger:
Husk på dette tidspunkt at fjerne drikkevarerne fra fryseren.
Tilberedt mad, palaeg, kolde retter og lignende: Bør pakkes ind og kan stilles pa alle hylder.
| Sikkerhetsinformasjon | 33 | Stell og rengjöring | 41 |
| Betjeningspanel | 35 | Hva må gjøres, hvis... | 42 |
| Første gangs bruk | 38 | Tekniske data | 44 |
| Daglig bruk | 38 | Montering | 44 |
| Nyttrige tips og råd | 40 | Miljøhensyn | 47 |
Med forbeshold om endringer

SIKKERHETSINFORMASJON
For din egen sikkerhets skyld og for a sikre korrekt bruk, bør du lese donne bruksanvis- ningen og dens henvisninger og advarsler før du installerer og bruker apparatet for feste gang. For a unngå unodvendige feil og ulykker er det viktig at du sørger for at alle som skal bruke dette apparatet er fortrolige med hvordan det brukes og kjenner til sikkerhetsfunksjonene. Ta vere på这部分 bruksanvisingen og pass på at den følger med apparatet his vis du selger eller flytter det, sik at alleBrukerne fär informasjon om bruk og sikkerhet sa lenge apparatet beny- ttes.
Av grunner som angår personsikkerhet eller materiell skade er det viktig at alle instruksjonene i brauksanvisningen blir fulgt. Produnten overtar intet ansvar for skader som er forårsaket av at instruksjonene ikke er blitt fulgt.
Sikkerhet for barn og personer med reduserte evner
- Dette apparatet er/DD ke beregnet paa bli brukt av personer (ogsbaarn) med redu-sert fysisk ellr psykisk helse ellr som mangler erfaring ellr kunnskaper om bruken, dersom de/DD ke er gitt innforing ellr instruksjon ombruken av apparatet av en person som er ansvarlig for deres sikkerhet.
Hold øye med barn, sik at de ikke leker med apparatet.
- Hold all emballasje borte fra barn. Det forreligger kvelningsfare.
- Nár apparatet skal vrakes: Trekk stöpselet ut av stikkontakten, kutt av nettkabelen (sá nær inntil apparatet som mulig) og
fjern doren for Å forhindre atlekende barn kan fä elektrisk stot eller kan lukke seg selv innate i apparatet.
- Dersom dette apparatet, som er utstyrt med magnetiske dorpakninger, skal er-statte et gammadt apparat med fjaerlås (smekklås) på doren aller lokket, er det viktig at du ødelegger smekklasen for du kasserer det gamle apparatet. Dette for-hindrer at det gamle apparatet utgjør en dødsfelle for et barn.
Generelt om sikkerhet

Advarsel
Hold ventilasjonsåpningene i apparatets kabinett eller i deninnebygde strukturen fri for hindringer.
- Skapet er beregnet på oppbevaring av matvarer og/eller drikkevarer i en vanlig husholdning, sik som beskrevet i/DDne bruksanvisingen
- Ikke bruk mekanisk verktøy aller ekstra hjelpemidler for Å fremskynde avrimingen.
- Ikke bruk andre elektriske apparater (for eksempel iskremmaskiner) innate i et kjoleskap, med mindre de er godkjent for dette av produsenten.
- Ikke skad kjolekretsen.
- Kjølekretsen i skapet er fylt med kjølemiddelet isobutan (R600a), som er en naturlig og meget miljøvennlig gass, men som likevel er brennbar. Pass på at ingen deler av kjølekretsen blir skadet under transport og installations av skapet.
Dersom kjolekretsen skulle bli skadet:
- unngå Åpen flamme eller kilder som av-gir gnist
-
Luft godt ut i rommet der skapet stared.
-
Det er farlig Å endre spesifikasjonene eller endre dette produktet på noen måte. All skade på ledningen kan före til kortslutning, brann og/eller elektrisk støt.

Advarsel Alle elektriske componenter (stromledning, stopsel, kompressor) ma skiftes av et autorisert serviceverkstedller en elektriker fora unngafare.
- Strømledningen på ilke forlenges.
- Pass på at stopselet ikke klemmes eller skades bak på produitet. EtSAMmenklemtller skadet stopselkan overopphetes og medfore brann.
- Pass pâ at du kan comme til produits stopsel.
- Ikke trekk i stromledningen.
- Ikke sett i stopselet hvis kontakten er los. Det er fare for elektrisk stot uller brann.
-
Dette produktemå违法犯罪uten lampedeksel9) til innvendig belysning.
-
Dette Produktet er tungt. Vær forsiktig nær det flyttes.
- Ikke ta ut varer fra fryseseksjonen aller berør dem med våte/fuktige hender, for dette kan forårsake hudskader aller frostskader.
- Unngå Å utsette produitet for direkte sollys over lengre tid.
- Lyspaer ^10) som brukes i dette produkt er spesialpærer beregnet på husholdningsapparater. De egner seg ikke til rombelysning.
Daglig bruk
- Ikke sett varme gryter på plastdelene i apparatet.
- Ikke oppbevar brannfarlig gass erler vaeske i apparatet. De kan eksplodere.
- Ikke plasser matvarer direkte mot ventilasjonsapningen på bakveggen.11)
- Frosne matvarer må ikke fryses inn igjen nár de har vaert int.
-
Oppbevar frosne fertigretter i samsvar med instruksjonene fra fertigrett-produ-senten.
-
Anbefalingene til oppbevaring fra apparatets produsent mø følges nøye. Les instruksjonene i de gjeldende avsnittene.
- Ikke plasser drikkevarer med kullsyre ell er musserende vin i fryseseksjonen, for det dannes trykk pa beholderen som kan fore til at den eksploderer, som igjen kan skade apparatet.
- Ispinner kan forårsake frostkader hvis de spises like etter at de er tatt ut av fryseren.
Rengjöring og stell
- Slå av apparatet og trekk stopselet ut av stikkontakten for vedlikeholds-ller ren-gjoringsarbeider.
- Ikke bruk metallredskaper til rengjøring av apparatet.
- Ikke bruk skarpe redskaper for Å fjerne rim fra apparatet. Bruk en plastskrape.
- Undersök avlopet for tinevann i kjoleskapet med jevne mellomrom. Rengjör avlopet ved behov. Hvis avlopet er blokkert, vil vannet samle seg i bunnen av apparatet.
Installasjon
Viktig Folg nøye instruksjonene i avsnittene for tikkoling til stromnettet.
- Pakk ut apparatet og kontroller at det ikke er skadet. Ikke kople til et skadet apparat. Meld øyeblikelig fra i butikken der du kjøpte apparatet om eventuelle skader. I sa fall må du ta varre på emballasjen.
- Vi anbefaler at du venter i minst fire timer for du tilkopler apparatet, sik at oljen kan samle seg i kompressoren.
- Det må vare tilstrekkelig luftsirkulasjon rundt hele apparatet, ellers kan apparatet overopphetes. Følg instruksjonene som gjelder installasjonen for øppnø tilstrekkelig ventilasjon.
- Så sant mulig bør produits bakside stå inn mot en vegg, slick at det unngås at man kan berøre ellerkommen i kontakt med varme deler (kompressor, kondensator) og dermed pädra seg brannskader.
-
Apparatet må ikke oppstilles iærheten av en radiator eller komfyr.
-
Forsikre deg om at stikkontakten er tilgengelig etter at apparatet er installment.
- Må bare kobles til drikkevannsforsyning. 12)
Service
- Alt elektrisk arbeid som er nødvendig i forbindelse med vedlikehold av dette apparatet ma utfores av en faglaert elektriker eller annen kompetent person.
- Dette produitet mä kun repareres av autorisert servicesenter, og det mä kun brukes originale resveredeler.
kretsen ell er i isolasjonsmaterialiet. Dette apparatet skal ici avhendes sammen med alminnelig husholdningsavfall. Isolasjonsskummet inneholder brennbare gasser: apparatet skal avfallsbehandles i samsvar med gjeldende bestemmelser om avfallsbehandling. Disse fár du hos kommunen der du bor. Unngå at kjoleenheten blir skadet, særlig på baksiden i nærhen av varmeveksleren. Materialene i dette apparatet som er merket med symbolet , kangjenvinnes.
Miljøvern

Dette apparatet inneholder seks gasser som skader ozonlaget, hverken i kjole
BETJENINGSPANEL

A - Apparatets PÅ/AV-knapp
B - Temperaturvelger
C - Temperatur- og funksjonsdisplay
D-Funksjonsknapp
E-Bekreftelse-knapp
Display

1 Temperaturdisplay.
2 Unnormal temperatur-alarm.
FreeStore-funksjonsindikator.
4 Indikator for shopping-funksjon.
5 Indikator for barnesikringsfunksjon.
6 Indikator for tidsurfunksjon.
Tegn for kuldegrader eller varmegrader
8 Indikator for hurtigfrys-funksjon
9 Kjoleskapindikator.
10 Indikator for oko-funksjon.
Når stopselet er satt inn i stikkontakten, trykker du på tast (A) for Å slå apparatet på, hvis displayet ikke er tent.
For 日 oppbevare maten best mulig, velger du Okomodus-funksjonen, som garanterer at folgende temperaturer er innstilt: +5^ i kjoleskapet -18°C i fryseseksjonen
- Vent til temperaturen i seksjonen nár -18°C før du legger matvarene inn i frysesekjonen.
- For a velge en annen temperatur, se "Regulere temperaturen".
Slå av
Apparatet slås av ved Å trykke inn tast (A) i mer enn 1 sekund.
Slá av kjoleseksjonen
For Å slå av kjøleseksjonden trykker du på knapp (D) til seksjonden er valgt, og deretter trykker du på knapp (A), til en nedtelling fra -3 -2 -1 er ferdig.
Viktig Det er ikke mulig Å bare aktivere kjoleskapet.
Hvis fryseren er slatt av, er och kjoleskapet slatt av.
Funksjonsmeny
Når tast (D) aktiveres, settes funksjonsmenyen i gang. Hver funksjon kan bekrettes ved Å trykke på knapp (E). Hvis valget ikke bekrettes fetter et par sekunder, vil displayet slutte Å vise menyen og gå tilbake til normal drift.
Folgende funksjoner vises:
Velg kjoledelen
Velg frysedelen
Eco okomodus-funksjon
FreeStore -funksjon
Shopping-funksjon
Barnesikringsfunksjon
Drikk-kjolefunksjon Hurtigfrys-funksjon
Regulere temperature
Trykk pa tasten (D) for a velge kjol eller frys og deretter tasten (B) for a stille inn onsket temperatur.
Trykk pà tasten (E) for á bekrefte valget.
Temperaturdisplayet viser innstilt tempera
tur. Den valgte temperaturen nås innen et
dogn.
Svingninger på noen grader rundt den inn-stilte temperaturen er normalt, og betyr ikke at det er feil på skapet.
Feriefunksjon "H"
Feriefunksjonen stiller inn temperaturen pa +15^
Denne funksjonen gjør det mulig Å holde kjøleskapet lukket og tomt mens du er borte lenge (f.eks. sommerferie) uten at det danner seg dårlig lukt.
Feriefunksjorden aktiveres på samme måte som du endrer valgt temperatur. Temperaturdisplayet kan endre den viste temperaturen opptil +8^ , 1^ om gangen. +2^ følges av bokstaven "H". Trykk på tast E forå bekrefte.
Nå er kjoleskapet innstilt på "ferie"-funksjon i energisparemodus.
Viktig Kjoleskapet mæ være tomt nær feriefunksjonden er aktivert.
Barnesikringsfunksjon
Barnesikringsfunksjonden aktiveres hvis du trykker på tast (D) (flere ganger hvis nødvendig) til tilsvarende symbolkommen til syne l .
Du mâ bekrefte valget ved Å trykke på tast (E) innen få sekunder. Det hores et lydsignal, og symbolet fortsetter Å lyse. När denne innstillingen er aktivert, er det ikke mulig Å foreta noen endringer med tastene.
Du kan deaktivere funksjonen til enhver tid ved Å trykke på tast (D) til tilsvarende symbol blinker. Trykk deretter på tast (E).
Shopping-funksjon
Hvis du skal legge inn en større mange deromtemperert mat, for eksempel etter at du har handlet, foreslar vi at du aktiverer Shopping-funksjonen, sik at matvarene avkjoles raskere. Samtidig unngar du at de matvare
ne som allerede befinner seg i kjoleskapet, blir oppvarmet.
Shopping-funksjonen aktiveres ved Å trykke på tast (D) (flere ganger hvis nødvendig) til tilsvarende symbolkommen til syne Du ma bekrefte valget ved Å trykke på tast (E)innen få sekunder. Det hores et lydsignal, og symbolet fortsetter Å lyse.
Shopping-funksjonen slár seg av automatisk etter ca. 6 timer. Du kan deaktivere funksjonen til enhver tid ved Å trykke på tast (D) til tilsvarende symbol blinker. Trykk der-etter på tast (E).
Økomodus-funksjon
Trykk pa tasten (D) (flere ganger hvis nodvendig) til tilsvarende symbol kammer til syne EECO.
Trykk pa tasten (E) for a bekrefte valget. Det hores et lydsignal, og symbolet fortsetter ay lyse.
Nå stilles temperaturen inn automatisk (+ 5^ og - 18^ ), som er den optimale temperaturen for Å lagre mat.
Still inn en annen temperatur i en av skapene for 日 slavav funksjonen.
FreeStore-funksjon
Trykk på tast(E) for Å bekrefte valget. Det høres et lydsignal, og symbolet fortsetter Å lyse.
Viktig Hvis funksjonen aktiveres automatisk, vises ikke FreeStore-symbolet vises ikke (se "Daglig bruk").
Aktiveringen av FreeStore-funksjonden øker energiforbruket.
Hurtigfrys-funksjon
Fryseseksjonen er egnet for oppbevaring av fertig frosne matvarer over lengre tid, og for Å fryse ferske matvarer.
Maksimal mange de matvarer som kan innfry- ses i lopet av 24 timer er oppfort paa typeskiltet.
Hvis du vil fryse inn den(OPM) mengden matvarer som er oppfør paa typeskiltet, plasseres maten i direkte kontakt med kjoleoverflaten (fjern skuffen ell kurven). Dersom maten fryses i skuffene ell kurvene, reduseres maksimalmengden litt.
Innfrysingen tar ca. 24 timer. I lopet av denne perioden ma du ikke legge annen matinn i fryseren.
Denne funksjonen stopper automatisk etter 52 timer.
Du kan deaktivere funksjonen til enhver tid ved Å trykke på tast (D) til Super -indikatoren blinker. Trykk deretter på tast (E).
Drikk-kjolefunksjon
Drikk-kjølefunksjorden skal brukes som et sikkerhetsvarsel nár du plasserer flaskeri fryseseksjorden. Den aktiveres ved Å trykke på tast (D) (flere ganger hvis质地vidig) til tilsvarende symbolkommen til syne
I donne innstillingen er tidsuret aktivt, (det er forhandsinnstilt pa en verdi pa 30 minutter), men du kan endre delle verdien fra 1 og 90 min ved a trykke pa tast (B) og stille inn antall minutter du vil bruke.
Husk à ta ut drikkevarene som befinner seg i fryseseksjonen nár disse signalene opptrer.
Du kan deaktivere funksjonen til enhver tid ved Å trykke på tast (D) til tilsvarende symbol blinker. Trykk deretter på tast (E).
Unormal temperatur-alarm
Temperaturøkning i en av seksjonene (for eksempel på grunn av strømbrudd) vises ved:
- blinkende temperatur
fryseeksjonenblinker
symbollet blinker - det hores et lydsignal
Nárnormale driftsforhold er gjenopprettet:
- lydsignalet slar seg av
FØRSTE GANGS BRUK
Rengjore innate i apparatet
För du tar apparatet i bruk, má du vaske det innvendig samt alt utstyret i lunkent vann tilsatt et nøytralt rengjöringsmiddel for Å fjerne den typiske lukten i flunkende nye apparater. Husk Å tørke nøye.
DAGLIG BRUK
Oppbevaring av frosne matvarer
Nár apparatet slás pá forste gang uller etter en periode der det ilke har vaert ibruk, ma du la apparatet sta pá i minst 2 ti-mer pà hóyeste innstilling før du legger innmatvarer.
Viktig Dersom det oppstår tining, f.eks. på grunn av strombrudd, og hvis strommen er borte lengre enn den verdien som er oppfør i tabellen over tekniske egenskaper under "stigetid", mä den tinte maten brukes opp sä raskt som mulig eller tilberedes öyeblikelig og sö fryses inn igjen (etter avkjøling)
Tining
Dypfrosne erler frosne matvarer kan tines i kjoleseksjonen ell er ved romtemperatur for de skal brukes i forhold til hvor mye tid du har til rådighet.
Små stykker kan och tilberedes mens de ennå er frosne, direkte fra fryseren: I sö fa! tar tilberedningen lenght.
FreeStore
Kjøledelen er utstyrt med en enchet som gir mulighet for rask nedkjøling av matvarer og jevnere temperatur i skapet.
- temperaturverdien fortsetter Å blinke Når du trykker på tast (E) for Å deaktivere alarmen,kommen den høyeste temperatu-ren som ble nàdd i seksjonen til syne B i noen sekunder.
Deretter gár apparatet tilbake til normal drift og viser temperaturen til valgte seksjon. I lopet av en alarmfase kan lydsignalet slås av ved Å trykke på tast (E).
Viktig Ikke bruk kraftige vaskemidler ellerskurepulver, da dette vil skade overflaten.

Denne encheten aktiveres av seg selv ved behov, f.eks. for en raskt temperaturgjen-vinning etter at doren er apnet aller om-givelsestemperaturen er hoy.
Lar deg slå på encheten manuelt ved behov (se " FreeStore-funksjon").
Viktig FreeStore-enheten stopper nár dōren er Åpen og starter på nytt straks nár dōren er lukket.
Flyttbare hyller
Veggene i kjoleskapet er utstyrt med en rekke riller, slick at hyllene kan plasseres etter onske.

Flaskehylle
Plassere flaskene (med apningen fremover)
på den innsatte hyllen.
Viktig Sett bare lukkede Flasker på hyllen dersom den er plassert horisontalt.

Denne flaskehyllen kan vippes opp sik at også apnede flasker kan oppbevares pa hyllen. For Å oppnå dette trekker du hyllen opp sik at den kan svinges oppover og plasseres på;neste høyere niva.

Plassere d\rhyllene
Dorhyllene kan plasseres i ulike hoyder for oppbevaring av matvarebeholdere av forskjellig storrese.
Gå frem som følger for Å justere høyden pÅ hyllene:
trekk hyllen litt erter litt i pilenens retning til den lnsner. Sett den deretter i onsket stilling.

SpacePlus-skuff
Skuffen er egnet for oppbevaring av frukt og grønnsaker.
Det er en skillevegg innate i skuffen, som kan flyttes sik at du kan inndele skuffen etter eget behov.
Det ligger en rist (avhengig av modell) på bunnen av skuffen, for at frukt og grønnsa-
ker seks skalkommenikontaktmedfuktig- het som kan oppsta pa bunnen.
Alle delene i skuffen kan tas ut for rengjor-ring.

FreshZone-skuff
FreshZone-skuffen til Å lagre ferske matvarer, som kjott, fisk, sjomat etc. fordi temperaturen er lavere her enn i resten av kjoleskapet

Fjerning av frysekurver fra fryseren
Frysekurvene har et nivåstopp for Å unngå at de fjernes ved en feil eller faller ut. Når kurven skal fjernes fra fryseren trenkker du den mot deg, og når endepunktet nåsvip-
NYTTIGE TIPS OG RÄD
Nár den skal settes på plass igjen, løfter du kurvens fremside litt og setter den inn i fryseren. Nár du er over endepunktene skyver du kurvene tilbake på plass.


Tips til energisparing
- Ikke Åpne døren ofte eller la den stå Åpen lenger enn absolutn nødvendig.
- Dersom romtemperaturen er hóy, termostabryteren stár på hóyeste innstilling og apparatet er fullt av mat, vil kompressoren gå uavbrutt, noe som fører til at det dannes rim eller is på fordamperen. Hvis dette skjer, dreies termostatbryteren til en lavere innstilling, sik at apparatet avrimes automatisk og strømforbruket reduseres.
Tips til kjøling av ferske matvarer
For best mulig effekt:
- Oppbevar ikke varme matvarer eller dampende væsker i kjøleskapet.
- Dekk til maten eller pakk den inn, saerlig hvis den har sterk lukt.
- Plasser maten sik at luften kan sirkulere fritt rundt den.
Tips til kjoing
Nyttige tips:
Kjott (alle typer): pakkes i plastposer og plasseres på glasshyllen over grønssskufen.
Kjott bor kun oppbevares sik ién, ellermaks. to dager.
Frukt og grønnsaker: renses nøye og plasseris i spezialskuffen(e).
Smør og ost: plasseres i lufttette bokser el-ler pakkes i aluminiumsfolie/plastfolie for a holde luft borte sá godt som mulig.
Melk: Melkebeholderne bør vare lukket og bør oppbevares i flaskehyllen i daren.
Bananer, poteter, lök og hvitlök mA kun oppbevares i kjoleskap dersom de er godt innpakket.
Tips til frying
Her følger noen nyttige tips som gir best mulig frying:
- maksimal mange de matvarer som kan innfryses i lopet av ett dogn er oppfort pa typeskiltet;
- innfrysingen tar et dogn. Det bo r ikke legges flere matvarer inn i fryseren i/DDne perioden;
- kun ferske matvarer av hoy kvalitet og som er godt renset bør innfryses;
STELL OG RENGJØRING

Obs Trekk stopselet ut av stikkontakten for du starter enhver rengjoring av apparatet.

Dette apparatet inneholder hydrokarboner i kjoelenheten: Vedlikehold og pafylling skal derfor kun utfores av autorisert tekniker.
Avriming av kjoleskapet
Under normal bruk blir rim automatisk fjernet fra kjoleseksjonens fordamper hver
- pakk matvarene i små porsjoner, slick at de innfryses raskt og helt til kjernen og slick at det senere blir enklere Å tine kun den mengden du vil bruke;
- pakk maten inn i aluminiumsfolie eller plast og sorg for at pakkene er lufttette;
- ikke la ferske, ufosne matvarerkommen i kontakt med matvarer som allerede er frosne fora hindre at temperaturen oker i disse;
- magre matvarer har longer holdbarhet enn fete; salt reduserer matvarenes oppbevaringstid;
- saftis som spises like etter at de er tatt ut av fryseseksjonen, kan forårsake frostskader på huden;
- det er lurt Å merke haver enkelt pakke med innfrysingsdatoen, sik at du lettere kan falgge med på oppbevaringstiden.
Tips til oppbevaring av frosne matvarer
For at apparatet skal oppnå best mulig effekt, bør du:
- Påse at frosne matvarer har vært oppbe-vart på riktig mæte i butikken.
- Påse at frosne matvarer fraktes fra butikken til fryseren din hjemme på kortest mulig tid.
- Dōrén må ikke apnes for ofte, og ikke stå/APpen lenger enn nødvendig.
- När maten er tint bederves den raskt og kan/DDKE fryses inn igjen.
- Ikke overskrid oppbevaringstidene som matvareprodusenten har merket emballasjen med.
gang motorkompressoren stopper. Smeltevannet ledes ut gjennom et dreneringsrør og ned i en beholder på baksiden av apparatet, over motorkompressoren, hvor det fordamper.
Det er viktig a rengjore dreneringshullet for smeltevann mitt i kjoleseksjonens kanal med jevne mellomrom for a hindre at vannet svommer over og drypper ned pa ma teninne seksjonen. Bruk vedlagte spelialrenser.Den sitter allerede i dreineringshullet.

Avriming av fryseren
Fryseseksjonen på这部分 modellen er en "no frost" type. Dette betyr at det ikke danner seg rim under bruk, hverken på inde indre veggene eller på matvarene.
Det faktum at det ikke danner seg rim skyl- des en kontinuierlig sirkulasjon av kald luft innate i seksjonen, som drives av en viffe som reguleres automatisk.
HVA MÅ GJÖRES, HVIS...

Obs For feilsinking kal stopselet trekkes ut av stikkontakten.
Feil som/DDke er oppfORT i feilsokingsli-sten i donne brauksanvisingen, skal kun utbedres av kualifisert elektriker el-ler faglert person.
Viktig Apparatet lager lyder under normal drift (kompressor, sirkulering av kjolevæske).
| Problem | Mulig ørsak | Løsning |
| Apparatet er støyintensvit. | Apparatet ståkke stødig. | Kontrollere at apparatet er plas-sert stabilt (alle fire føttene skal+vare på gulvet). |
| Kompressoren arbeider uavbrutt. | Termostaten kan+vare feil inn-stilt. | Still inn en varmere temperatur. |
| Døren er ikke lukket skikkelig. | Se etter i "Lukke døren". | |
| Døren har vært øpnet for ofte. | Ikke la døren stå øpen longer enn nodded. | |
| Maten er for varm. | La maten avkjøle seg til romtem-peratur før du legger den inn i ap-paratet. | |
| Romtemperaturen er for hoy. | Reduser romtemperaturen. | |
| Hurtigfrys-funksjorden er slätt på. | Se etter i "Hurtigfrys-funksjon". | |
| Det renner vann på bak-veggen av kjøleskapet. | Under den automatiske avri-mingsprossessen tiner rimet påbakveggen. | Dette er normalt. |
| Det renner vann inn i kjø-leskapet. | Vannavlopet er tilstoppet. | Rengjør vannavlopet. |
| Matvarer forhinder at vannet fær samle seg i vannoppsamlingsbe-holderen. | Pass på at ingen matvarer berørerkbakveggen. | |
| Det renner vann ned i bunnen. | Smeltevannets utløp fær er ikke ned i fordamperbrettet over kompressoren. | Fest smeltevannsrøret til fordam-perbrettet. |
| Det er for mye rim. | Produktene er ikke pakket inn skikkelig. | Pakk inn produktene床位. |
| Døren er ikke lukket skikkelig. | Se etter i "Lukke døren". | |
| Termostaten kan+vare feil inn-stilt. | Still inn en høyere temperatur. | |
| Temperaturen i apparata-tet er for hoy. | Døren er ikke lukket skikkelig. | Se etter i "Lukke døren". |
| Maten er for varm. | La maten avkjøle seg til romtem- peratur før du legger den inn i ap- paratet. | |
| Det er lagt mange matvarer inn i apparatet samtidig. | Legg færre matvarer inn i apparata-tet samtidig. | |
| Temperaten i kjøleska-pet er for hoy. | Det sirkulerer ikke kald luft i ap- paratet. | Pass på at den kalde luften kan sirkulere i apparatet. |
| Temperaten i fryseren er for hoy. | Matvarene ligger for tett inntil hverandre. | Plasser matvarene sik at den kal- de luften kan sirkulere. |
| Apparatet virker ikke. | Apparatet er slätt av. | Slå apparatet på. |
| Stopselet sitter ikke skikkelig i stikkontakten. | Sett stopselet skikkelig inn i stik-kontakten. | |
| Apparatet fær ikke strøm. Stik-kontakten er ikke spenningsfø-rende. | Kople et annet elektrisk apparat ter stikkontakten. Kontakt en kvalifi-sert elektriker. | |
| Lampen lyser ikke. | Lampen er i standby-modus. | Lukk døren og øpne den igjen. |
| Pæren er defekt. | Se "Skifte lyspaere". |
Dersom rådet ikke gir resultater, ta kontakt med nærmesto serviceverksted.
Skifte lyspaere
- Trekk ut stopselet på apparatet.
- Skru skruen ut av lampedekeselet.
- Hekt av den bevegige delen ved Å trykke på den som vist på bildet.
- Skift lyspaeren ut med en paere som har samme effekt (maksimal effekt er pafort pa' lampedekselet)
- Sett lampedekselet på plass.
- Skru inn skruen på lampedekeselet.
- Sett stopselet stikkontakten igjen.
- Apne doren og kontroller at lyset tennes.

Lukke doren
- Rengjor dorpakningene.
-
Om nødvendig, juster doren. Se etter i "Montering".
-
Skift ut defekte pakninger ved behov. Kontakt kundeservice.
TEKNISKE DATA
| Mål | ||
| Høyde | 1850 mm | |
| Bredde | 595 mm | |
| Dybde | 658 mm | |
| Tid, temperaturøkning | 18 t | |
| Spenning | 230 V | |
| Frekvens | 50 Hz |
Les "Sikkerhetsinformasjon" nøyaktig for din egen sikkerhets skyld og for informasjon om korrekt operasjon av apparatet, for apparatet installeres.
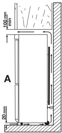
Plassering
Apparatet bør moneres i god avstand fra varmekilder, som radiatorer, varmtvannsberedere, direkte sollys osv. Pase at luften kan sirkulere fritt rundt baksiden av kabinettet. For øppnæ best ytelse nær apparatet er plassert under et overskap, ma minste avstanden mellom toppen av apparatet og skapet vare minst 100 mm. Ideelt sett burde apparatet ikke plasseres under overskap. En uller flere justerbare fotter pa bunnen av kabinettet muliggjør noyaktig vatring.

Adversel Det må vare mulig Å kople apparatet fra stromforsyningen;
stopslet skal derfor alltid vare lett tilgengelig etter montering.


Elektrisk tilkoping
För du setter stöpselet inn i stikkontakten, forsikre deg om at spenningen og frekvensen som er oppfør på typeskitet samsvarer med strømnettet i hjemmet ditt.
Apparatet skal jordes. Stopslet pa nettled- ningen er utstyrt med jordingskontakt. Dersom husets stikkontakt ilke er jordet, skal apparatet kuples til en separat jording i overensstemmelse med gjeldende forskrifter. Kontakt en faglaert elektriker.
Produsenten fraskriver seg ethvert ansvardersom sikkerhetsreglene ikke blir fulgt.
Apparatet ditt er utstyrt med hyllestoppere som gjør det mulig Å lase hyllene under transport.
Gå frem som følger for Å fjerne dem:
- Flytt hyllestopperne i retning mot pilen (A).
- Løft hyllen i bakkant og skyv den for-over til den løsner (B).
- Fjern stopperne (C).

Omhengsling av doren

Advarsel Før du begynner et arbeid pa apparatet, ma du trekke stopselet ut av stikkontakten.
Viktig Vi foreslår at dette arbeidet utfores av to personer, slick at den ene holder dorene godt fast mens den andere arbeider.
- Fjern det lille plastdekselet fra dorens plastlist, og sett det inn på motsatt side (t3).
- Ta av panelet (t4). Hvis det er不同程度 can du bruke et skrujern, men da mà du vare spesielt forsiktig. Skru ut skruene pà den andre sideren. Ta av det Øvre dørfestet (t5). Legg dem i en tom plastpose.

-
Ta av den øvre doren.
-
Skru ut skruen og fjern dørstopperen (d1). Fest den motsatt vei på den andre siden.

- Skru ut det midtre hengselet (m2). Fjern avstandsstykket av plast (m1).
- Ta av den nedre doren.

- Fjern avstandsstykket (m6), og flytt det over på den andre sider av hengselet (m5).
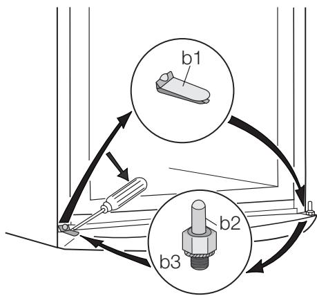
-
Ta av dekselet ved hjelp av et verktoy (b1). Skru ut nedre hengsel (b2) og av-standsstykket (b3), og plasser dem pa motsatt side.
-
Sett inn igjen hengselet (b1) på motsatt side.

- Ta av stopperne (d1) og flytt dem til den andre sider av dorene.
- Ta av den venstre dekselpinnen fra midtre hengsel (m3,m4) og flytt den til den andre sidern.
- Sett pinnen på midtre hengsel (m5) inn i det venstre hullet på den nedre doren.
- Sett den nedre doren inn igjen pa hengselpinnen (b2).
- Skruinnigjen den midtre hengselen (m1) pà motsatt side . Ikke glem av-standsstykket i plast (m2), som skal settes inn under det midtre hengselet.
-
Sett den øvre doren inn igjen pà det midtre hengselet (m5). Pass pà at kantene av doren er parallele med sidekanten av apparatet.
-
Posisjoner og fest det øvre hengselet (du finner dem i posen med bruksanvis- ningen) på motsatt side (t6).

- Sett inn panelet (t7) (som du finner i posen med bruksanvisningen).
- Åpne den øvre doren, og fest toppdekselet (t2) med skruene (t1). Sett inn magneten (d7). Lukk doren.
- Sett apparatet på plass igjen, sett det i vater, og vent i minst fire timer För du setter stöpselet inn i stikkontakten.
Foreta en endelig kontroll for Å vare sikker pa at:
Dersom du ikke selv vil gjennomfrole arbeidet som beskrives over, kan du takontakt med nærmesto servicesenter. Mot regning vil en tekniker ved servicesenteret hengsle om doren på apparatet ditt.
MILJØHENSYN
Symbolet à produit et aller à emballasjen viser at dette produit itkke ma behandles som husholdningsavfall. Det skal derimot brings til et mottak for
resirkulering av elektrisk og elektronisk utstyr. Ved a sorge for korrekt avhending av apparatet, vil du bidra til a forebygge de negative konsekvenser for miljo og helse
som gal händtering kan medføre. For nærmere informasjon om resirkulering av dette produitet, vennligst Kontakt
kommunen, renovasjonsselskapet aller forretningen der du anskaffet det.
EnkelManual