TSP303 - Estação de ancoragem DENVER - Manual de utilização gratuito
Encontre gratuitamente o manual do aparelho TSP303 DENVER em formato PDF.
Perguntas frequentes - TSP303 DENVER
Perguntas dos utilizadores sobre TSP303 DENVER
0 pergunta sobre este aparelho. Responda às que conhece ou faça a sua.
Faça uma nova pergunta sobre este aparelho
Baixe as instruções para o seu Estação de ancoragem em formato PDF gratuitamente! Encontre o seu manual TSP303 - DENVER e retome o controlo do seu dispositivo eletrónico. Nesta página estão publicados todos os documentos necessários para a utilização do seu dispositivo. TSP303 da marca DENVER.
MANUAL DE UTILIZADOR TSP303 DENVER
DESCRIÇÃO DOS COMPONENTES ......2
INSTRUÇÕES DE SEGURANÇA......3
LIGAÇÃO DA ALIMENTAÇÃO....4
RECARREGAR....4
LIGAÇÃO BLUETOOTH....5
RÁDIO FM....5
PORTA USB....6
ENTRADA....6
RESOLUÇÃO DE PROBLEMAS....7
CUIDADO....9

text_image
1 2 2 3 4 6 8 5 7 9
text_image
12 13 11 14 195 16 21 22 10 17 18 19 20 23 24- PEGA
- CAIXA EXTERIOR CORRUGADA
- BOTÃO LIGAR/DESLIGAR
- ENTRADA
- ENTRADA DE ALIMENTAÇÃO CC (15V 1.5A ⊕ ⊕ ⊕)
- PORTA USB
- CARREGADOR 1A (5V)
- PORTA1 MIC
- PORTA2 MIC
- REDUZIR SINTONIZAÇÃO/
- AUMENTAR SINTONIZAÇÃO▶▶
- BOTÃO REPETIR
- BOTÃO EQ
-
VISOR LED
-
REDUZIR ECO
- AUMENTAR ECO
- FONTE
- PAUSA/REPRODUZIR/BOTÃO BT DESLIGAR (DESLIGAR)
- BOTÃO VOLUME (AUMENTAR/BAIXAR)
- LANTERNA LED
- VOLUME MIC (AUMENTAR/BAIXAR)
- INDICADOR DE ALIMENTAÇÃO
- INDICADOR BLUETOOTH
- INDICADOR DE BATERIA (FRACA/CARGA TOTAL)
- PEGA DO TRÓLEI
INSTRUÇÕES DE SEGURANÇA
Para garantir um funcionamento correto do produto e impedir a ocorrência de incêndio ou o risco de choque elétrico, deve ler cuidadosamente toda a informação incluídas nestas Instruções de segurança.

O símbolo do raio com ponta de seta dentro dum triângulo equilátero serve para alertar o utilizador para a presença de “tensão perigosa” e não isolada dentro do envoltório do produto, que pode ser de magnitude suficiente para constituir risco de eletrocussão.
CAUTION
RISCO DE CHOQUE ELÉTRICO
ADVERTÊNCIA: PARA REDUZIR O RISCO DE CHOQUE ELÉTRICO, NÃO RETIRAR A TAMPA (OU A PARTE DE TRÁS). NÃO EXISTEM NO INTERIOR PARTES QUE POSSAM SER REPARADAS PELO UTILIZADOR. AS REPARAÇÕES DEVEM SER REALIZADAS APENAS POR PESSOAL QUALIFICADO.

O ponto de exclamação num triângulo equatorial destina-se a alertar o utilizador da presença de instruções de funcionamento e manutenção importantes no manual que acompanha o aparelho.
DESEMBALAR:
Verificar se todos os itens seguintes estão incluídos na embalagem.
- Unidade principal
- Adaptador de Alimentação de CA
- Manual do Utilizador
INSTRUÇÕES IMPORTANTES:
- Assegurar que a ficha está totalmente introduzida na tomada de parede e que o produto é operado com um fonte de alimentação elétrica que coincida com a tensão nominal.
- Nunca operar o produto caso o cabo ou o adaptador estiver danificado ou demasiado quente.
- Não modificar o cabo ou danificar o mesmo em circunstância alguma como dobrar, torcer ou puxar o mesmo desnecessariamente.
- Não tentar modificar ou reparar ou em circunstância alguma desmontar o produto exceto quando for para o eliminar no fim da respetiva vida útil.
- Nunca desligar o produto com as mãos molhadas.
-
Desligar este produto da tomada de parede antes de efetuar a limpeza e a manutenção. Não utilizar detergentes líquidos ou aerossóis.
-
O cabo de alimentação deve ser retirado da tomada de parede quando o mesmo não for utilizado durante um longo período de tempo.
- Guardar este produto num espaço seco quando não estiver em uso.
- Não usar este produto junto de água, fontes de calor ou outros aparelhos que produzam calor.
- A bateria não deve ser exposta à luz solar direta ou ao fogo.
- Não tentar substituir a bateria. Para reparação e manutenção deve consultar o estabelecimento comercial onde fez a compra ou o centro de assistência ao cliente indicado pelo referido estabelecimento.
CUIDADO: Perigo de explosão se a pilha for incorretamente substituída.
- Não usar qualquer fonte de alimentação exceto a especificamente indicada para este produto.
- Guardar as instruções de funcionamento num lugar seguro.
- Contactar um centro de assistência autorizado se tiver alguma dúvida acerca deste produto.
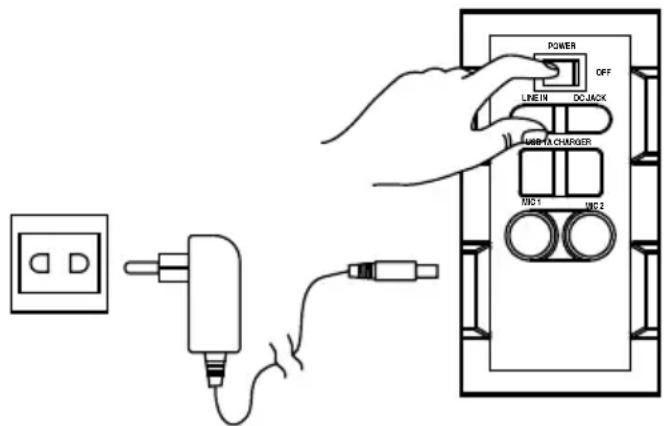
LIGAÇÃO DA ALIMENTAÇÃO
- Desembalar este produto, assegurar que o interruptor LIGAR/DESLIGAR está na posição "OFF".
- Ligar o adaptador CA fornecido para este produto, ligar o adaptador à tomada de parede.
- Indicador Verde da bateria mudará para laranja

text_image
POWER OFF LINE IN DC/JACK USB/A CHARGER WD 1 WD 2RECARREGAR
- O aparelho vem equipado com um alarme indicador de bateria.
- Se o LED da bateria ficar intermitente, significa que o nível da bateria está fraco e é necessário recarregar a mesma.
- Ao ligar a alimentação CA, o LED da bateria ficará vermelho, isso significa que o aparelho está a recarregar.
- Quando o LED da bateria ficar verde, significa que a bateria está totalmente carregada.

É recomendado carregar a bateria durante cerca de seis horas antes de usar o aparelho pela primeira vez.
Poupança de energia: Se este produto estiver inativo durante cerca de 20 minutos, entrará automaticamente no modo em espera. Desligar-se-á automaticamente.
Cuidado: Para manter a bateria recarregável em boas condições, os utilizadores devem verificar o aparelho e colocar o interruptor de Ligar/Desligar no painel traseiro na posição de "Off" sempre que o usar e antes de o guardar, é altamente recomendado que os utilizadores carreguem totalmente a bateria pelo menos uma vez em cada dois meses.

- Depois de o interruptor ser colocado na posição "On", o modo BT Bluetooth é definido como predefinido.
- O indicador LED azul ficará intermitente no modo de emparelhamento. O visor do LED vermelho exibirá "bt"
- Ativar a função Bluetooth no seu dispositivo e procurar por "TSP-303" seguidamente premir para ligar.
- Será ouvido um sinal de som ligado e o indicador de ligação do LED azul deixará de piscar e ficará fixo.
- A ligação Bluetooth está concluída.
- Seleccionar a música a partir do seu dispositivo Bluetooth e começar a reproduzir.
- Premir o botão "Source" e selecionar Rádio, a Frequência do Rádio FM será exibida no visor do LED vermelho.
- Premir a tecla reproduzir/pausa para busca automática e memorizar.
- Premir e manter premidos os botões TU << ou TU >> para escolher a estação seguinte disponível memorizada. Premir ligeiramente os mesmos para sintonização fina.
PORTA USB
- Premir o botão "Source" e selecionar USB. Será exibido USB no visor do LED vermelho.
- Inserir a unidade USB.
- Seleccionar a sua música favorita premindo TU 📄u TU .
- Premir “REP” para repetir uma vez para a canção atual, premir de novo “REP” para repetir todas as canções. Premir o botão três vezes para entrar no modo de reprodução aleatória.

text_image
① SOURCE → ② TU-/↔ TU+/↔ → ③ REPSe o parelho estiver a reproduzir no modo Bluetooth “BT”, mudará automaticamente para o modo USB quando for inserida a unidade de memória USB.
Importante: A porta USB é destinada apenas para a transferência de dados. Não podem ser usados outros dispositivos com esta ligação USB. Não é recomendado o uso dos cabos de extensão USB.
ENTRADA
- Premir o botão "Source" e selecionar LINE. Será exibido LINE no visor do LED vermelho.
- Ligar o seu cabo de 3,5 mm na entrada LINE no painel traseiro e o aparelho entrará no modo LINE IN.
- Pode ligar qualquer dispositivo áudio que tenha uma ficha de saída áudio de 3,5 mm e reproduzir qualquer áudio a partir do dispositivo ligado.

- Recarregar Smartphones funciona com alimentação CA e alimentação CC.
| CUIDADO: Quando o indicadorvermelho de bateria fraca acender, isso significa que o aparelho necessita de ser recarregado e que orecarregamento do smartphone só será feito através do adaptador dealimentação CA. |

- Ligar o Adaptador de Alimentação CA a uma tomada de parede.
- Ligar os seus smartphones/tablets com o cabo USB de recarregamento no painel lateral marcado com “carregador 1A”.
- Ligar o cabo de recarregamento aos seus smartphones/tablets. Tem início o recarregamento.
- Desligar o cabo USB de recarregamento quando os seus smartphones/tablets estiverem totalmente recarregados.
Esta tomada destina-se apenas para carregar dispositivos que exijam 5V e 1A.
Caso contrário pode provocar danos.
KARAOKE
- Este produto permite-lhe fazer karaoke com canções que estão a ser reproduzidas tanto no modo BT USB como no modo LINE IN e aceita 2 microfones ao mesmo tempo.
- Ligar o cabo do seu microfone no painel lateral marcado com "MIC 1" e/ou "MIC 2".
- Ajustar o volume MIC "MIC +/MIC -" ou o volume principal na parte superior do painel de controlo.
- Ajustar o nível Eco "EH+/EH-".
- Começar a cantar.
| ADVERTÊNCIA: - Se o volume do MIC e os níveis ECO forem definidos |
| demasiado alto ou no máximo, pode ouvir o som de reflexão dos agudos. |
| Baixar o volume rapidamente para evitar danos. |

- O "modelo Cliente" tem um Equalizador integrado.
- Premir e selecionar o efeito de som predefinido para a sua música: LIGEIRA, CLÁSSICA, POP, ROCK e JAZZ.
RESOLUÇÃO DE PROBLEMAS
Geral
Sem alimentação
- Verificar se o adaptador CA está inserido com firmeza no aparelho e a tomada elétrica.
- Verificar se o interruptor Ligar/Desligar está na posição Ligar.
- Se a bateria estiver fraca ligar o adaptador CA para carregar e poder operar.s
As teclas não respondem.
- Ligar o interruptor Ligar/Desligar na posição Desligar e seguidamente na posição Ligar para reiniciar o aparelho.
- Desligar o adaptador CA e ligá-lo novamente.
Nenhum som ouvido
- Assegurar que o volume LINE ligado está definido num nível aceitável.
- Assegurar que o dispositivo Bluetooth ligado tem saída de áudio através da saída BT.
- Assegurar que o volume do dispositivo Bluetooth ligado está definido num nível aceitável.
Operações Bluetooth
A qualidade do áudio é fraca
- A receção do Bluetooth é fraca. Deslocar o dispositivo Bluetooth para mais perto da coluna.
Não é possível emparelhar o dispositivo Bluetooth
- Assegurar que o dispositivo Bluetooth e acoluna não estão ligados a qualquer outro dispositivo Bluetooth.
- Assegurar que o LED azul na coluna está a piscar rapidamente (modo de emparelhamento).
- Desligar a alimentação e depois voltar aligá-la novamente, premir o botão BT Off durante 2 segundos para entrar no modo de emparelhamento.
CUIDADO:
- O adaptador CA/CC e o aparelho principal não devem ser expostos a pingos ou jactos de água e objetos contendo líquidos, tal como jarras não devem ser colocadas por cima do aparelho e do adaptador CA/CC.
- Manter uma distância mínima de 10 cm à volta do aparelho para ventilação suficiente.
- A ventilação não deve ser obstruída através da cobertura das aberturas de ventilação com objetos, como jornais, toalhas de mesa, cortinas, etc.
- Não colocar fontes de chama viva, como velas acesas, perto da aparelhagem.
- A ficha elétrica do adaptador CA é usada para desligar o aparelho, o aparelho desligado deve ser mantido pronto a funcionar.
Para desligar completamente a entrada de alimentação, o adaptador CA/CC deve ser completamente desligado da corrente elétrica.
- O adaptador CA/CC não deve estar obstruído ou deve ser facilmente acessível durante o uso a que se destina.
- Não usar o aparelho em climas tropicais.
Acerca da bateria de ácido-chumbo selada:
Este aparelho funciona tanto com a bateria (Modelo nº: Tianchang 6-FM-2.6, 12V, 2600mAh) desligar o adaptador CA da ficha de entrada CC para funcionar a bateria (depois de totalmente carregada), ligar o adaptador CA enquanto a bateria está ligada inicia ao carregamento da mesma. As luzes do indicador LED carregado acendem em vermelho durante o carregamento, quando a bateria está totalmente carregada o indicador fica verde. Carregar totalmente uma bateria descarregada pode levar até 3 horas. Uma bateria totalmente carregada tem uma duração de cerca de 2 horas de reprodução contínua. O tempo de reprodução pode variar com o ambiente em redor, o nível de volume da coluna e o estado da bateria. É aconselhável aguardar 10-20 minutos antes de voltar a carregar a bateria se tiver ficado fraca durante o funcionamento.
TODOS OS DIREITOS RESERVADOS, COPYRIGHT DENVER ELECTRONICS A/S


Equipamentos elétricos e eletrónicos, bem como as pilhas que os acompanham, contêm materiais, componentes e substâncias que podem ser perigosos para a sua saúde e para o meio ambiente, caso os materiais usados (equipamentos elétricos e eletrónicos deitados fora, incluindo pilhas) não sejam eliminados corretamente.
Os equipamentos elétricos e eletrónicos, bem como as pilhas, vêm marcados com um símbolo composto de um caixote do lixo e um X, como mostrado abaixo. Este símbolo significa que os equipamentos elétricos e eletrónicos, bem como as pilhas, não devem ser eliminados em conjunto com o lixo doméstico, mas separadamente.
Como utilizador final, é importante que entregue as suas pilhas usadas numa unidade de reciclagem adequada. Assim, certamente as pilhas serão recicladas de acordo com a legislação e o meio ambiente não será prejudicado.
Todas as cidades possuem pontos de recolha específicos, onde os equipamentos elétricos e eletrónicos, bem como as pilhas, podem ser enviados gratuitamente para estações de reciclagem e para outros locais de recolha ou recolhidos na sua própria casa. O departamento técnico da sua cidade disponibiliza informações adicionais quanto a isto.
Importador:
DENVER ELECTRONICS A/S
Omega 5A, Soeften
DK-8382 Hinnerup
Dinamarca
www.facebook.com/denverelectronics
O(a) abaixo assinado(a) Inter Sales A/S declara que o presente tipo de equipamento de rádio TSP-303 está em conformidade com a Diretiva 2014/53/UE. O texto integral da declaração de conformidade está disponível no seguinte endereço de Internet: http://www.denver-electronics.com/denver-tsp-303/
TSP-303

ManualFácil