DIAMANTE - Okap kuchenny FALMEC - Bezpłatna instrukcja obsługi
Znajdź bezpłatnie instrukcję urządzenia DIAMANTE FALMEC w formacie PDF.
Pytania użytkowników dotyczące DIAMANTE FALMEC
0 pytanie dotyczące tego urządzenia. Odpowiedz na te, które znasz, lub zadaj własne.
Zadaj nowe pytanie dotyczące tego urządzenia
Pobierz instrukcję dla swojego Okap kuchenny w formacie PDF za darmo! Znajdź swoją instrukcję DIAMANTE - FALMEC i weź swoje urządzenie elektroniczne z powrotem w ręce. Na tej stronie opublikowane są wszystkie dokumenty niezbędne do korzystania z urządzenia. DIAMANTE marki FALMEC.
INSTRUKCJA OBSŁUGI DIAMANTE FALMEC
Zakupilisce prestižowy okap kuchenny o gwarantowanej jakosci. Dla uzyskania najepszych wyników zalecamy, by starannie przyestrzegać instrukcji obstugi i konserwacci zawartych w tej broszurze. Ponadto, do zamawiania zapasowych filtrów z weglem drzewnym, wykorzystwyac spezialny kupon zaączony na okładce.




Fig. 02


Fig. 04
Cappa GLEAM / GLEAM Hood - Fig. A1
ATTENZIONE: PANNELLI DI ASPIRAZIONE (A) CON FISSAGGIO TRAMITE PERNI ATTENTION: PANELS OF ASPIRATION (A) WITH FIXING THROUGH PIVOTS

STEP1

STEP2

VERSIONE CON EVACUAZIONE POSTERIORE BACK OUTLET VERSION
STEP1

STEP2

STEP3

Cappa DIAMANTE / DIAMANTE Hood - Fig. A2
ATTENZIONE: PANNELLI DI ASPIRAZIONE (A) CON FISSAGGIO TRAMITE PERNI ATTENTION: PANELS OF ASPIRATION (A) WITH FIXING THROUGH PIVOTS

STEP1

STEP2
VERSIONE CON EVACUAZIONE POSTERIORE BACK OUTLET VERSION

STEP1

STEP2

STEP3

STEP4

AVVERTENZE

Ta instrukcja obslugi musi byc przechowywana razem z urzadzeniem w celu przysztego wykorzystwyania. Jeźeli urzadzenia jest sprzemawane lub przesypane innym stronom, sprawdzić,czy wrazznim przykazywana jest ta instrukcja, dla zapewnienia,ź nowy uzytkownik posiada prawidowej informacja o dziafaniu okapu kuchennego i zna ostrzeżenia. Te ostrzeżenia zostaly podane dla Waszego bezpieczność oraz ostrzeżenia innych osob. W zwiazku z tym prosze je uwaznie przyȩcytać przy instalowaniem i obsługa urzadzenia.
To urzadzenie nie jest przyznaczone do uzytkowania przyze małe daneci lub osoby niesprawne, jejeliNie są one odpowiednio nadzorowane przyze osobe odpowiedzialna dla zapewnienia bezpiecznych uzytkowania urzadzenia. Naleź iy pilnowac małe daneci, by nie bawity sie urzadzeniem.
Urzadzenie musi byc instalowane przyez osobe wykwalifikowan, zgodnie z obowiazujacymi normami. Jeźeli przywod zasilajacy jest uszkodzony, w celu uniknięcia zagrożenia musi on byc wymieniony przyez producenta,.goigo agenta serwisowej lub odpowiednio wykwalifikowan osobe. Wszelkie modyfikacja, któ moga byc wymagane w uładzie elektrycznym w celu zainstalowania okapu kuchennego musza byc wykonywane tylko przyez wykwalifikawanych elektryków.
Niebezpieczne jest modyfikowanie lub proba modyfikowania charakterystyk tego systemu. W przypadku niesprawnosci lub jejeli wymagane są naprawy urzadzenia, nie przybowac rozwiazymić problemu samodzielnie.
Naprawy wykonywane przyez osoby niewykalifikowane moga powodowej szkody. W celu wykonywania wszelkich napraw i innych prac w urzadzeniu, skontatrownik z autoryzowanym centrum serwis/u/czeci zamiennych.
Gdy urzadzenie nie jest uzywane, zawsze sprawdzać,czy wsysztkie czȩci elektryczne (lampy, urzadzenie wymiągowe) są wyłaczone. Przed przyperowadzaniem jakichkolwiek operacje w okapie kuchennym przyecztyAACaś instrukcję.
Okap kuchenny musi byc wykorzystwyany tylko do wyciagania dymow gotowania w kuchniach domowych. Producent nie ponosi odpowiedzialnosci za kaźde innate użcie tego urzadzenia.
Maksymalny cięzar kaźdego przytedmiotu umieszczanego na okapie lub zawieszaneano na nim (jesli to myzliwe) nie sązeprkraczać 1,5 kilograma. Po zainstalowaniu okapu ze stali niedzewnej wycycić go w celu usuniecía pozostañosci kleju ochronnego i plam smaru lub oleju. Producentazole jej czyszczenie szmatka. Producent nie ponosiźadnej odpowiedzialnosci w przypadku uszkodzenia spowodowanego przyżcie rożnych rodzajów detergentów.
OSTRZEŽENIA BEZPIECZENSTWA
C E

Ukfad elektryczny i podłaczenia uziemienia jest zgodnie z międzynarodowymi normami bezpieczność; ponadto są one zgodne z(norma europejska dla zgodnosci elektromagnetycznej.
Nie podłaczać urzadzenia do przywodów kominowych (od bojlerów, kominków, itp.). Upewnić sie, ze napiȩcie sieci odpowiada wartosciom podanym na tabliczce znamionowej umieszczonej wewnatrz okapu kuchennego. Minimalna odlegóść bezpieczędstwa pomiedź płyta kuchenna a okapem kuchennym musi wynosić przyznajmiej 65 cm.
Pod okapem kuchennym nigdy nie gotować na „otwartych" płomieniach.
Sprawdzać frytkownikice podczas ich uzytkowania: przyegrzany olejmöze bycPALny.
Gdy okap kuchenny jest uzywany jegnoczesnie z urzadzeniami spelajacymi gaz lub inne paliwa, upewnic sie, ze jest wystarczajca wentylacja pomieszczenia.
- Nie podpalać potraw pod okapem kuchennym
- Wyciagane powietrze nie moze byc wyrzucane do przywodu kominowego, ktory jest uzywany do wciagania dymów z urzadzen spelajacych gaz lub inne paliwa.
- Przed uzytkowaniem urzadzenia upewnico sie, ze są spejmiane wzystkie przyepisy dotyczę odpradowazania wymiaganegogowietrza.
- Ježeli przywod zasilajacy niedłuczalsny ulegnie uszkodzeniu, to powinien on byc wymieniony u wytrocy lub w SPECIALISTYCZNYM zakadzie naprawczym albo przyez wykalifikowana osobe w celu uniknięcia zagrozenia. Ježeli czyszczenie nie jest wykonywane zgodnia z instrukacja, istnieje ryzyko pożaru.

Przed przypoprowadzianiem operaci czyszczenia lub konserwacci, odaczyc urzadzenie poprzej wyłaczenia wtyczki lub uzychie wylacznika sieciowych. Producent nie ponosi zadnej odpowiedzialnosci za wszelkie szkody, któ moga byc spowodOWane bezposrednio lub posrednio osobom, rzechom i zwierzętom, z powodu nie przestrzegania wzystkich instrukcji podanych w tej instrukcji, a przyded wzystkim ostrzeżen dotycznych instalOWANIA, obstugi i konserwacci urzadzenia.
- Istnieje ryzyko pożaru, jeźeli czyszczenie nie zestania wykonane zgodnia zazoleceniami.
UWAGA: Dostepegne czeci moga nagrzewac sie do wysokich temperatur, jejeli böda stosowane ze sprzetem do gotowania.
-Do montazu komina nalezy zastosowac s Ruby o maksymalnej dugosci 10 mm (dostarczone przyeze produventa).
OSTRZEZENIE: Niezastosowanie sie do zalecen odnosie mocowania shrub i montaizu urzadzenia,. moze spowodowa zagrozenia porazeniem pradem elektrycznym.

SPECYFIKACJE TECHNICZNE
Dane techniczné dotyczę起到 urzadzenia elektrycznych są podane na tabliczkach znamionowych umieszczonych wewnatrix okapu kuchennego.

INSTALOWANIE
(Rozdziat zarezerwowany dla wykwalifikowanych instalatorów okapów kuchennych).
Odlegósminimalna: odlegóscmiedzy najwyzsza czescia wyposazenia ptykuchennej a najnizsca czescia okapu kuchennego Z reguγ, gdy okap kuchenny jest umieszczony nad gazowa ptya kuchenna, odlegósc ta usi winosic co najmniej 65 m (25,6") (zob. rys. 01). Jednakźne, na podstawie interpreteci normy EN 60335-2-31 z dnia 11-07-2002 przyez TC61 (sub-clause 7.12.1 meeting 15 agenda item 10.11), w przypadku okapu Diamante/Gleam, odlegósminalna miedzy ptya kuchenna a dolna czescia okapu maybe zredukowana do 53 c Jesli instrukcje oblsugi ptykuchennej przywiduju wieksza odlegósc, nalezy sie do nich zastosowsa. W wersji okapu pracujacego jako wciag, rura opdrowadzajca zanieczyszczonegowirze nie maybe miecz mnieszzej srednicy d zącza okapu. W mistrzech poziomego ufożenia rury, musi byc on lekko nachylona (oko to 10%) do góry, aby tym lepiej przyenosicgowirze na zewnatrix.
Zmielejszyc do minimum kat zgiecia i sprawdzić, aby minimalna dlugosc przyzwodów ruowych bya jak najbardziej wystarczalna.
Nalezy przyestrzegać obowiażujuchprzejów regulujych usuwaniegowiatrza na zewnatrix budynku. W przypadku rawnoczesnego korzystania z innych urzadzen (kotłów, grzejników, kominków, itp.) zasilanych gazowo lub innymi paliwami,NSEZY zapewni odpowiednia, zgodna z obowiażujucymi przypisami, wentylacja pomieszczenia, w ktorym powietrze zasysane jest przyez okap.Instrukcjemontałowe:zob. sekca „O" niniejszej instrukcji obstugi.

POłAACZENIA ELEKTRYCZNE
(Rozdziat zarezerwowany dla wykwalifikowanych instalatorów).
OSTRZEZENIE!
Przed wykonywaniem jakichkolwiek prac wewnatrz okapu kuchennego, odączy urzadzenia od zasilania sieciowego.
Sprawdzić,czy przewody wewnatrix okapu kuchennego nie są odłaczone lub przycięte; jejeli tak jest, skontaktowac sie z najbliszym centrum serwisowym. Podłaczenia elektryczne musza byc wykonywane przyezosome wykalifikowaną.
Podłączenia musza byc wykonywane zgodnie z obowiażujacymi normami prawnymi. Sprawdzić,czy bezpiecznik i uład elektryczny moga przenosić obciazenia urzadzenia (patrz specyfikacja techniczne w punkcie B).
Niekto're rodzaje urzadzen sWyposazone w kabel bez wtyczki; w takim przypadku musza byc stosowane „znormalizowane" wtyczki, z uwzgliednieniem, ze:
- przewód zółto-zielony musi byc wykorzystwyany do uziemienia;
- przewód niebieski musi byc uzywany dla linii zerowej (neutral);
- przewód brazowy musi byc uzywany jakozazowy; kabel nie moze stykać sie z czeciami gorącymi (powyzej 70^
- zlokadać wtyczke, która jest odpwiednia dla obciązenia kabla zasilania i podłaczać ja do odpwiedniago gniazdka zasilania.
Dla urzadzen, któ przychodź wyposazone w kabel i wtyczke, prosze sie upewnić, ze są one wączone do obwodu odpowiedniego dla takiego urzadzenia.
Prosze poradzić sie osoby wykwalifikowanej. (Patrz specyfikacja techniczne w punkcie B).
Producent nie ponosiźadnej odpwiedzialnosci, są przyestrzejne normy bezpieczędsta.

OKAP KUCHENNY Z WYPROWADZENIEM ZEWNETRZNYM (wyciag)
W tej wersji, dmy i para z kuchni sā wyprowadzane na zewnatrz poprzez kanaf wciagowy. Przewód wciagowy, kóry wystaje z górnej czeci okapu kuchennego musi byc podłuczony do kanafu, kóry wyprowadza dmy i pare na zewnatrz. W tej wersji filtry z węgla drzewnégo, jeźeli są załozone, musza byc wyjete; w tymelu prosze przyegrzej instructurkcje w punkcie F. Gdy okap kuchenny jest uzywany w tym samym pomieszczenići Jednoc三点nie z urzadzeniami spelajacymi gaz lub innate paliwa, musi byc zapewniona odpowiednia wentylacja, zgodnie z norma.
Ostepstwo dla Niemiec:
Gdy rownoczesnie pracuja: okap kuchenny i urzadzenia zasilane energia inna, niz elektryczna, podciasnienie w pomieszczenui nie maye przykraczać 4 Pa (4x10 E-5 bar).

OKAP KUCHENNY RECYRKULACYJNY (z filtrém)
W tej wersji powietrze przyphywa przyez filtry z węglem drzewnym w celu oczyszczenia, nastepnie jest wyprowadzane ponownie do kuchni.
Sprawdzic,czy na silniku zafozone sa filtry z wegla drzewnego,jezeli nie,zainstalowac je zgodnie z instrukcjami w punkcie H.
Ježeli okap jest typu filtrujuść, wyjac zawór Jednokierunkowy załoźny na wylocie silnika.
Dla maksymalnej wydajnosci, gdy wystepuja silne zapachy lub duza ilosc pary, powinna byc uzywana prędkość trzechia, w normalnych warunkach prędkości druga, a prȩdkość pierwsza dla utrzymiwnia czystegogowietrza przyminimalnym zuźyciu energii. Okap kuchenny powinien byc wączany na pośzaku gotowania i pozostawiony wączony aż do znikciecia zapachów.

OBSLUGA
1. ELEKTRONICZNY PULPIT STEROWANIA
Przycisk swiatla
- ON: swiatlo wączone (przycisk swieci sie);
- OFF: swiatlo wyłaczone;
Przycisk -
Naciskać dla zmiejejszania prędkosci silnika
Predkosci 1, 2 i 3 są wskazywane przy licze bę zapalających sie diod LED (wyćzȩć diody LED swiatę i zegara).
Przycisk +
Naciskać dla zȩwieszania prędkość silnika
Pędkosci 1, 2 i 3 są wskazywane przy cz到账ę zapalajczych sie diod LED (wyćzȩć diody LED swiatka i zegara).
(w wersji o 4 prędkosciach przycisk + byska. Prȩdkość czwarta pożostaje wączona na ustawiony czas. Po 15 minutach silnik powraca do prȩdkosci trzechiej).
Przycisk trybu (Mode)
Dziatanie: wącza i wącza silnik okapu.
Funkcja "desired speed" (wymagana prędkość) uzmłwiwa uruchomienie silnika z prȩdkość, któ została wybrana przy odostnim wyłączemium okapu.
Opjonalnie: wersja ze zdalnym sterowaniem (tylko niedtore wersje).
OSTRZEZENIE:
Instalować okap daleko od zródef fal elektromagnetycznych, poniewaź moga one zakłocȩ prawidowej dziafanie ukladu elektronicznego.
Maksymalna odlegósc dziafania: 5 metrow. W przypadku zakfócen elektromagnetycznych innych urzadzen, maksymalna odlegósc dziafaniaMZe boye cniejsza, nz 5 metrow.
Przycisk swiata na zdalnym sterowaniu: właczenia/wyłaczenia swiata.
Przyciski - i +: zwiększanie/zmniejszanie prędkosci (w celu uruchomienia silnika nacisné przyczysk + albo -).
Przycisk zegara: patrz instrukcje ponizej.
Przycisk zegara i alarmu 'zablokowanego filtra'
-Ta fungcja umoziwia automatyczne wyacznanie okapu po 15 minutach przy z ustawiona poprzednio prędkość (przycisk sygnalizuje byskaniem lampki).
- Po okato 30 godzinach pracy przycisk syngalizuje potrzebe umycia filtrów metalowych (przycisk swieci ciaghm czerwonym swiatfem). W celu wyłaczenia alarmu naciskac przycisk przyczek kilka sekund, az czerwone swiatto wyłaczy sie. NatestPNie wyłaczyc okap i wylaczy ponownie dla sprawdzenia,czy alarmzniknqt.










1. FILTRY METALOWE
Celem uzyskania dostepu do filtrów metalowych, naleź zȩć trzy panele przytednie (zob. rys A1 i A2). Aby wyjac filtry mechanicznce, naleź uźć uzychy.
2. FILTRY Z WEGLEM DRZEWNYM
W celu wymiany filtrów z weglem drzewnym, postepowac nausepujać: zdjac filtry metalowe, jak opisano powyzej. Można teraz Łatwo sągnac do dwóch filtrów umieszczonych na koncach silnika.
Jak zakładc nowe filtry - patrz rysunek.
W przypadku okapu ze skrzynka silnika, filtr jest umieszczony na dolnej częsci skrzynki silnika.
Jak zakładc nowe filtry - patrz rysunek.
Aby zamówic nowe filtry węglowe, naleź skont⁺towac są z dystrybutorem/posrednikiem.
TYLKO NA TERENIE WLOCH: Pobrać odpowiedni formularz zamówietenia na filtry ze strony: www.falmec.com (wejsć do menu kaskadowego serwisu klienita).

1
OSWIETLENIE MONTAZ I WYMIANA
Wymiana swietlowski:
a) Odłaczyc urzadzenia od zasilania
b) Zdjacć stalowepanele oraz filtrymetalowe (zob.punkt H1).Odręcić 2+2mocujuce kołki radejkowane stalowych oprawek swietłowki.
c) Wyjac swietłowke obracajac ja o 90^ i wymiNIC na nowa o analogiczny parametrach technicznych (Rura T5, 13W);
d) Powtorzyc w odwrotnej kolejnosci czynnosci z punktu b
e) Ponownie podłaczy urzadzenia do zasilania.
2. ZAROWKA LED (GLEAM)
W tym przypadku, okap wyposañony jest w oświetlienie na zarówki LED o wysokiej wydajnosci, niskim zapotrzebowaniu na prad i dlugotrwate w warunkach normalné fungcjonowania. Wymiany zarówki moga dokonać wyłacznie wykwalifikowani technicy z zastosowaniem oryginalnych czeci zamiennych.
Ciagcta obstuga konserwacyjna zapewnia prawidlowe dziatanie i wydajnosc urzadzenia przydigi czas. Nalezy zwraca szc pegolna uwage na metalowe filtry zatrzymujace tuszcz i filtry z weglem drzewnym. Czeste czyszczenie filtrów i ich mocowan zapewni, ze tuszczne nie beda sie gromadzić w okapie, co powodowały zagrozenia pozarem.
1. METALOWE FILTRY ZATRZYMUJACE TUSZCZ
Zatrzymuja one czastki thuszczu zawieszzone wgowietru,aweic powinny byc czyszczone co miesiac w goracej wodzie z detergentem,bez ich wyginania.
W celu wyjecia i wymiany filtrów, postepowac zgodnie z instrukcjami w punkcie H1. Ta operacja powinna byc przyprzewadzana regularnie. Filtry metalowe moga byc myte w zmywarce do naczyń.
2. FILTRY Z WEGLEM DRZEWNYM
Te filtry zatrzymuja zapachy wystepujace w strumieniu powietrza, ktore przyez nie przyphwa. Powietrze jest oczyszczane przyez wielokrotny przyphwy przyez filtry i zawracane do pomieszczenia kuchni. Filtry z weglem drzewnym nie moga byc czyszczzone i powinny byc wymieniane srednio co 3 - 4 mieseie (zaleznie od uzytkowania). Wymiana filtrów z weglem drzewnym - patrz instrukcje w punkcie H2.
3. CZYSZCZENIE ZEWNETRZNEJ POWIERZCHNI URZADZENIA
Zaleca są czyszczenersie zewnetrznych powierzchni okapów przyznajmiej co 15 dni, aby niedopuści do trawienia stalowych powierzchni przyezsubstjcie oleiste,czy tûste.
Zewnetrna powierzchnia okapu kuchennego powinna byc czyszczona wilgotn szmatk obojetnym plynnym detergentem lub alkoholem denaturowanym.
W przypadku wykończenia odporngo na slady palcow (fasteel), czysci tylko woda i obojtnym mydlem,.miękka szmatka, plukać i dokladnie wycierac doSucha. Nie uzywać produktów, ktore zawieraja substancje scierne, ostrych scierek lub scierek spezialnie przyznaczonych do czyszczenia stali. Uzywanie substancji sciernych lub ostrych scierek nieduichronnie uszkodzi wykończenie stali.
Powierzchnia stali zostanie niedwracalnie uszkodzona, jakeli nie będa przyestrzejane powyźsze instrukcje.
Przechowywać te instrukcje wraz z instrukcjami uzytkowania okapu.
Producent nie ponosi zadnej odpwiedzialnosci za wszelkie uszkodzenia spowodawanie przyestrzeganiem powyzszych instrukcji.
4. CZYSZCZENIE WNETRZA URZADZENIA
Czeci elektryczne lub czeci zespołu silnika wewnatrz okapu kuchennego nie moga byc czyszczone plynami lub Rozpuszczalinikami.

Nie uzywac produktow sciernych.
Wszystkie powyzsze operacja musza byc wykonywane po odłaczeniu urzadzenia od za-silania sieciowego.

GWARANCJA
Nowe urzadzenie jest objete gwarancja.
Warunki gwarancji sa podawane przydystrobura.

Producent nie jest odpowiedzialny za wszelkie niedrawidlowosci w tej instrukci winikajace zblodekow drukowania lub przyklatdu. Producent zastrzega sobie prawo do modyfikowania swoich produktow gdy uzna to za konieczne lub w interesie uzytkownika, bez pogarszania glównych charakterystyk bezpieczenia stwa i dzialania.
INSTRUKCJE MOCOWANIA, OKAPY KUCHENNE ZE SKRZYNKA
Faza 1
- Oprzej na scianie listwe wspornikowa (A-rys. O1), na wysokość odPHYt y kuchennej okresljnej przyez sumę: X + 525 mm, gdzie X sąze zawierać są wy przemżiale od 530 do 650 mm.
- W przypadku otworu odpradowazajacego z tyfu zob. rys. A.
- Sprawdzić przy uzyciu poziomnicy ampułkowej poziome ustawuminium i zaznaczyc na zakończeniach listwy dwa sąjecka, w kórsych zostana wyiercone otwory.
- Wywiercić otwory, wsunć wNie 2 kołki Rozporowe 8 mm i przyzmocowej listwo przy uzyciu szrub.
Faza 2
- Zaccepć okap na listwie wspornikowej (rys. O2).
- Wyregulowac ustawienie okapu przy uzyciu szrub (rys. O2).
Śruba górna (B) pozwala regulowej odlegność od sciany, Śruba dolna (C) przysem wypionowy.
Faza 3
- CelemUniemozliwienia odczepienia sie okapu spowodowanego naciskiem od dotu, nalezy przymocowych akap do sciany koTkami Rozporowyim i srbami korzystajac:
- z odpowiednich otworów (rys. O3) wykonanych z tyfu okapu lub z ewentualnégo zaczepu naPokrywie.
- Wsunac rure (E) w złacze (D) rys. 03.
- W przypadku otworu odpradowazajacego z tyfu zob. rys. A.
Faza 4 (optionalnie)
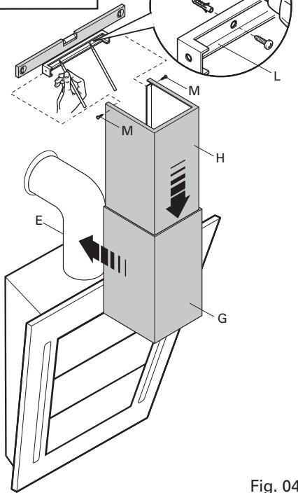
- Ustawic przywołd wentylacyjny (G) i element przytużajcy (H) w połozeniu pokazonym na rys. O4.
- Wsunac element przydńazajcy (H) w element (G) aż do asiagniecia zędanj wysokość.
- Po ustawieniu w optymalnej pozycji, oprzeć o scianie listwe (L), sprawdzić przy uzyciu poziomnicy ampułkowej poziome ustawuminium i zaznaczyć na jej koncach dwa sąjecka, w krórych zostana wyiercone otwory.
- Wywiercić otwory, wsunć wNie 2 kołki Rozporowe ø 4 mm i przymocowej listwo (L) przy uzyciu szrub.
- Przyk来回的 przy uzyciu srb (M) element przydńużajycy (H) do listwy (L).
ProstaInstrukcja