LPE 733A X - Lave-vaisselle SCHOLTES - Notice d'utilisation et mode d'emploi gratuit
Retrouvez gratuitement la notice de l'appareil LPE 733A X SCHOLTES au format PDF.
| Type d'appareil | Lave-vaisselle |
| Capacité | Non précisé |
| Nombre de programmes | Non précisé |
| Consommation d'eau | Non précisé |
| Consommation d'énergie | Non précisé |
| Type de chargement | Panier inférieur, panier à couverts, panier supérieur |
| Fonction de rinçage | Oui |
| Fonction sel régénérant | Oui |
| Options de lavage | Non précisé |
| Entretien et nettoyage | Filtres, bras de lavage, filtre d'entrée d'eau |
| Sécurité | Sécurité générale, coupure arrivée eau et courant |
| Installation | Mise en place et mise à niveau, raccordements eau et électricité |
| Langues du manuel | Français, Anglais, Allemand, Néerlandais, Italien, Espagnol, Russe |
| Conseils environnement | Économies et respect de l'environnement |
| Réglage du lave-vaisselle | Non précisé |
| Durée de garantie | Non précisé |
FOIRE AUX QUESTIONS - LPE 733A X SCHOLTES
Téléchargez la notice de votre Lave-vaisselle au format PDF gratuitement ! Retrouvez votre notice LPE 733A X - SCHOLTES et reprennez votre appareil électronique en main. Sur cette page sont publiés tous les documents nécessaires à l'utilisation de votre appareil LPE 733A X de la marque SCHOLTES.
MODE D'EMPLOI LPE 733A X SCHOLTES
Mise en place et mise à niveau. Raccordements eau et électricité. Conseils pour le premier lavage. Caractéristiques techniques.
Description de l'appareil
Vue d'ensemble du tableau de bord
Charger les paniers
Panier inférieur, panier à couverts, panier supérieur.
Mise en marche et utilisation
Mettre en marche le lave-vaisselle. Charger le produit de lavage. Options de lavage.
Programmes
Tableau des programmes
Produit de rinçage et sel régénérant
Charger le produit de rinçage. Charger le sel régénérant.
Entretien et soin, 10
Coupure de l'arrivée d'eau et de courant. Nettoyer le lave-vaisselle. Éviter les mauvaises odeurs. Nettoyer les bras de lavage. Nettoyage du filtre d'entrée d'eau. Nettoyer les filtres. En cas d'absence pendant de longues périodes.
Précautions et conseils
Sécurité générale Mise au rebut Économies et respect de l'environnement
Anomalies et remèdes
Conserver ce mode d'emploi pour pouvoir le consulter à tout moment. En cas de vente, de cession ou de déménagement, s'assurer qu'il accompagne bien l'appareil. Lire attentivement les instructions : elles contiennent des conseils importants sur l'installation, l'utilisation et la sécurité de l'appareil. En cas de déménagement, transporter l'appareil verticalement ; si besoin est, l'incliner sur le dos.
Mise en place et mise à niveau
- Déballer l'appareil et s'assurer qu'il n'a pas été endommagé pendant le transport. S'il est abîmé, ne pas le raccorder et contacter le revendeur.
- de manière à ce que les côtés et la paroi arrière touchent les meubles adjacents ou le mur. L'appareil peut être encastré sous un plan de travail continu (voir feuille de montage).
- Installer le lave-vaisselle sur un sol plat et rigide. Compenser les irrégularités en vissant ou en dévissant les pieds avant jusqu'à ce que l'horizontalité de l'appareil soit parfaite. Une bonne horizontalité garantit la stabilité de l'appareil et supprime tout risque de vibrations, bruits et déplacements. Pour régler la hauteur du pied arrière, agir sur la douille rouge à six pans située dans la partie avant du lave-vaisselle, en bas et au milieu, à l'aide d'une clé mâle à six pans, ouverture 8 mm. Tourner dans le sens des aiguilles d'une montre pour augmenter la hauteur et dans le sens inverse pour la diminuer. (Consulter la notice d'instructions encastrée jointe à la documentation).
Raccordements eau et électricité
L'adaptation des installations électriques et les travaux de plomberie doivent être effectués par du personnel qualifié. Le lave-vaisselle ne doit pas écraser les tuyaux ou le câ . Utiliser des tuyaux neufs pour effectuer le raccordement de l'appareil au réseau de distribution de l'eau. Ne pas réutiliser les anciens tuyaux.
Les tuyaux d'amenée (A) et d'évacuation (B) de l'eau et le câ peuvent être orientés vers la droite ou vers la gauche pour simplifier l'installation (voir figure).

Raccord du tuyau d'amenée de l'eau
- À une prise d'eau froide : bien visser le tuyau d'amenée à un robinet à embout fileté 3/4 gaz ; avant de visser, faire couler l'eau jusqu'à ce qu'elle devienne limpide et dépourvue d'impuretés qui pourraient engorger l'appareil.
- À une prise d'eau chaude : en cas d'installation de chauffage centralisé (radiateurs), le lave-vaisselle peut être alimenté avec de l'eau chaude de réseau ne dépassant pas 60 °C.
Visser le tuyau au robinet en procédant comme pour la prise d'eau froide.
Si la longueur du tuyau d'amenée ne suffit pas, s'adresser à un magasin spécialisé ou à un technicien agréé (voir Assistance). La pression de l'eau doit être comprise entre les valeurs reportées dans le tableau des Caractéristiques techniques (voir ci-contre). Faire attention à ce que le tuyau ne soit ni plié ni écrasé.
Sécurité anti-fuite
Pour éviter , le lave-vaisselle est équipé d'un dispositif qui coupe l'arrivée de l'eau en cas d'anomalie ou de fuite à l'intérieur de l'appareil.
Quelques modèles sont équipés d'un dispositif de sécurité supplémentaire New Acqua Stop* qui garantit contre même en cas de rupture du tuyau d'arrivée de l'eau.
Attention : tension dangereuse !
Il ne faut en aucun cas couper le tuyau d'amenée de l'eau car il contient des parties sous tension.
Raccord du tuyau d'évacuation de l'eau
Raccorder le tuyau d'évacuation, sans le plier, à une conduite d'évacuation ayant au moins 4 cm de diamètre. Ou bien l'accrocher au bord d'un évier ; l'extrémité libre du tuyau de vidange ne doit pas être plongée dans l'eau.

Un coude en plastique spécial facilite une installation optimale : fixez-le solidement au mur pour éviter que le tuyau ne se déplace et ne déverse l'eau hors du conduit.
La portion de tuyau repérée par la lettre A doit se trouver à une distance du sol comprise entre 40 et 100 cm (voir figure).
L'utilisation de tuyaux de rallonge est déconseillée.
Raccordement électrique
Avant de brancher la fiche dans la prise de courant, s'assurer que :
- la prise dispose d'une mise à la terre et est conforme aux normes ;
- la prise est bien apte à supporter la puissance maximale de l'appareil reportée fixée à la contre-porte (voir paragraphe Description du lave-vaisselle);
- la tension d'alimentation est bien comprise entre les valeurs figurant de la contre-porte ;
- La prise est bien compatible avec la fiche de l'appareil. Autrement, faire remplacer la fiche par un technicien agréé (voir Assistance) ; n'utiliser ni rallonges ni prises multiples.
Après installation de l'appareil, le câble d'alimentation électrique et la prise de courant doivent être facilement accessibles. Le câble ne doit être ni pincé ni trop écrasé. Afin d'éviter tout danger, faire changer le cordon d'alimentation abîmé par le fabricant ou par son service après-vente. (Voir Assistance). Nous déclinons toute responsabilité en cas de non-respect des normes énumérées ci-dessus.
Ruban anti-condensation
Après avoir encastré le lave-vaisselle, ouvrir la porte et coller le ruban adhésif transparent sous le plan en bois pour le protéger contre la formation de condensation.
Conseils pour le premier lavage
Une fois l'installation terminée et tout de suite avant le premier lavage, remplir complètement d'eau le réservoir à sel et ajouter environ 1 kg de sel (voir Produit de rinçage et sel régénérant) : il est tout à fait normal que de l'eau déborde. Sélectionner le degré de dureté de l'eau (voir Produit de rinçage et sel régénérant). Après rem le voyant SEL* s'éteint.
Le manque de rem peut endommager l'adoucisseur d'eau et l'élément chauffant.
| Caracteristiques techniques | |
| Dimensions | largeur 44.5 cm hauteur 82 cm profoneur 57 cm |
| Capacité | 10 couverts standard |
| Pression eau d'alimentation | 0,05 ÷ 1 MPa (0,5 ÷ 10 bar) 7,25 - 145 psi |
| Tension d'alimentation | Voir étiquette des caractéristiques |
| Puisance totale absorbée | Voir étiquette des caractéristiques |
| Fusible | Voir étiquette des caractéristiques |
| CE AIO77 AIO77 | Cet apparéil est conforme aux Directives Communautaires suivantes : - 2006/95/CEE du 16/01/2007 (Basse Tension) et modifications suivantes - 89/336/CEE du 03/05/89 (Compatible Electromagnétique) et modifications suivantes - 97/17/CE (étiquetage) - 2002/96/CE |
- Présent uniquement sur certains modèles.
Vue d'ensemble

- Panier supérieur
- Bras de lavage supérieur
- Clayettes rabattables
- Réglage de la hauteur du panier
- Panier inférieur
- Bras de lavage inférieur
- Panier à couverts
- Filtre lavage
- Réservoir à sel
- Bacs à produit de lavage et réservoir à produit de rinçage
- Plaque signalétique
- Tableau de bord
Tableau de bord
* Uniquement pour modèles tout intégrables. * Présent uniquement sur certains modèles. Le nombre et les types de programmes et d'options varient selon le modèle de lave-vaisselle.
Avant de charger les paniers, débarrasser la vaisselle des déchets les plus importants et vider les verres et les coupes.
Ranger la vaisselle de manière à ce qu'elle ne bouge pas pour éviter tout risque de renversement.
Après avoir chargé le lave-vaisselle, s'assurer que les bras de lavage tournent librement.
Panier du bas
Le panier du bas peut contenir des casseroles, des couvercles, des assiettes, des saladiers, des couverts, etc., selon les exemples de chargement.
Rangez de préférence sur les côtés du panier les plats de service et les grands couvercles, sans toutefois bloquer la rotation du bras de lavage supérieur.

Certains modèles de lave-vaisselle sont pourvus de secteurs rabattables* qui peuvent être placés à la verticale pour ranger des assiettes ou à l'horizontal pour ranger des casseroles et des saladiers.
Panier à couverts
Le panier à couverts peut varier selon le modèle de lave-vaisselle.
Le panier à couverts doit être placé à l'avant dans le panier du bas où il peut glisser parmi les accessoires fixes, ou sur le panier du haut dans le cas d'un lavage à demi-charge (sur les appareils dotés de cette fonction).

- Il est équipé de rabats coulissants qui permettent de mieux ranger les couverts.
Ranger les couteaux et les ustensiles de cuisine pointus et coupants dans le panier à couverts, pointes tournées vers le bas, ou, à plat, sur les clayettes rabattables du panier supérieur.

Panier du haut
Y ranger la vaisselle fragile et légère : verres, tasses à thé et à café, soucoupes, saladiers bas, casseroles basses peu sales, en suivant les exemples de chargement.
- Tasses et tasses à café, couteaux longs et pointus, couverts de service : les placer sur les étagères rabattables.
Étagères rabattables à inclinaison variable
- L'inclinaison permet de gagner de la place dans le panier supérieur, de ranger des verres à pied de longueur différente et d'améliorer les performances de séchage.
Inclinaison B



- Soulever l'étagère rabattable, la faire glisser légèrement et la placer selon l'inclinaison désirée.
Régler la hauteur du panier supérieur
Pour optimiser le rangement de la vaisselle, il est possible de régler le panier supérieur en position haute ou basse.
Ne jamais soulever ou abaisser le panier d'un seul côté.

Ouvrir les butées des glissières du panier à droite et à gauche et sortir le panier. Positionner le panier en position haute ou basse, le faire glisser le long des glissières jusqu'à ce que les roues avant entrent elles aussi, et refermer les butées.
(voir figure).
Si le panier est équipé de poignées Espace double* (voir figure), sortir le panier du haut en fin de course, saisir les poignées sur les côtés du panier et le déplacer vers le haut ou vers le bas ; laisser retomber le panier sans le lâcher.


Vaisseau n'allant pas au lave-vaisselle
- Objets en bois, avec des manches en bois ou en corne, ou ayant des parties collées.
- Objets en aluminium, cuivre, laiton ou étain.
- Vaisselle en plastique thermorésistant.
- Porcelaines anciennes ou peintes à la main.
- Argenterie ancienne. Les pièces d'argenterie non ancienne peuvent par contre être lavées avec un programme délicat après s'être assuré qu'elles ne touchent pas d'autres métaux.
Nous conseillons d'utiliser de la vaisselle lavable au lave-vaisselle.
Mettre en marche le lave-vaisselle
- Ouvrir l'arrivée d'eau.
- Appuyer sur la touche ON-OFF : tous les voyants du bandeau de commande s'allument pendant quelques secondes.
- Ouvrir la porte et doser le produit de lavage (voir plus bas).
- Charger les paniers (voir "Charger les paniers") et fermer la porte.
- Pour sélectionner le programme souhaité, tourner le bouton de SÉLECTION PROGRAMME dans le sens des aiguilles d'une montre : amener le repère en face du symbole ou du numéro du programme. Le voyant de la touche MARCHE/PAUSE clignote.
- Sélectionner les options de lavage (voir ci-dessus).
- Appuyer sur la touche MARCHE pour démarrer, le voyant cesse de flasher (lumière fixe). Le voyant correspondant au lavage s'allume pour signaler le démarrage du programme.
- À la fin du programme, la touche FIN s'allume (lumière fixe). Éteindre l'appareil par pression sur la touche ON-OFF, fermer le robinet d'eau et débrancher la fiche de la prise de courant.
- Attendre quelques minutes avant de sortir la vaisselle pour éviter de se brûler. Décharger les paniers en commençant par celui du bas.
A - Pour réduire sa consommation d'énergie, la machine s'éteint automatiquement dans certaines conditions de non-utilisation.
PROGRAMMES AUTO* : grâce à un capteur spécial, ce modèle de lave-vaisselle peut évaluer le degré de salissure et sélectionner le lavage le plus efficace et le plus économique. La durée des programmes automatiques peut varier du fait de l'intervention du capteur.
Modifier un programme en cours
En cas d'erreur de sélection d'un programme, il est possible de le modifier, à condition qu'il vienne tout juste de démarrer : pour changer un cycle de lavage en cours, éteindre puis rallumer l'appareil par une pression prolongée sur la touche ON/OFF, sélectionner ensuite le nouveau programme et les options désirées.
Introduire de la vaisselle en cours de lavage
(la touche se met à flasher). Ouvrir la porte en faisant attention à la vapeur chaude qui s'échappe et introduire la vaisselle. (lumière fixe) : le cycle redémarre.
pour mettre l'appareil en pause ; le programme et le départ différé éventuellement sélectionné sont stoppés. Pendant cette phase, aucun changement de programme n'est possible.
Interruptions accidentelles
En cas d'ouverture de la porte en cours de lavage ou de coupure de courant, le programme s'arrête. Il redémarre du point où il a été interrompu lorsque le courant revient ou que la porte est refermée.
Charger le produit de lavage
Un bon résultat de lavage dépend aussi d'un bon dosage du produit de lavage. Un excès de produit de lavage ne lave pas mieux et pollue l'environnement.
N'utiliser que du produit de lavage spécial lave-vaisselle. NE PAS UTILISER de produits pour laver la vaisselle à la main. Une utilisation excessive de produit de lavage peut laisser des résidus de mousse en fin de cycle. L'utilisation de pastilles n'est conseillée que pour les modèles qui prévoient l'option PASTILLES MULTIFONCTION. Pour obtenir des performances de lavage et de séchage optimales, utiliser des produits de lavage en poudre, du liquide de rinçage et du sel.
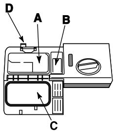
Bac A : Produit de lavage. Bac B : Produit de prélavage.

- Appuyer sur la touche D pour ouvrir le couvercle C.
- Pour doser le produit de lavage, .
- en poudre : bacs A et B.
- pastilles: si le programme en prévoit 1, placer cette dernière dans le bac A et fermer le
couvercle ; s'il en prévoit 2, mettre la deuxième dans le fond de la cuve.
- Eliminer les résidus de produit de lavage sur les bords du bac et fermer le couvercle jusqu'àau déclic.
- Présent uniquement sur certains modèles.
La sélection, la modification ou l'annulation des options n'est possible qu'après avoir choisi le programme de lavage et avant d'appuyer sur la touche Marche/Pause.
Seules les options compatibles avec le programme peuvent être sélectionnées. Si une option n'est pas compatible avec le programme sélectionné (voir tableau des programmes), la LED correspondante clignote rapidement 3 fois.
En cas de sélection d'une option incompatible avec une option ou un programme de lavage précédemment sélectionné, celle-ci clignote 3 fois de suite puis s'éteint, tandis que la dernière sélection effectuée reste allumée.
Pour désactiver une option sélectionnée par erreur, appuyer à nouveau sur la touche correspondante.
Départ différé
Il est possible de différer le démarrage du programme de 3, 6 ou 9 heures.
Après avoir sélectionné le programme de lavage désiré et toute autre option nécessaire, sélectionnez le départ différé en appuyant plusieurs fois de suite sur la touche du départ différé ; les voyants du lavage (3 heures), du séchage (6 heures) et de la fin (9 heures) se mettront à clignoter l'un après l'autre.
Une autre pression sur la touche de départ différé permet de désactiver l'option.
Une fois que la sélection a eu lieu, appuyer sur la touche Marche/Pause pour lancer le compte à rebours. Le délai d'attente sélectionné se met à clignoter et la touche Marche/Pause cesse de clignoter (lumière en fixe).
À l'expiration du délai d'attente, le voyant s'éteint (lumière fixe) et le programme démarre.
Aucune sélection de Départ différé n'est plus possible en cours de cycle.
Demi-charge dans le panier supérieur
Le programme demi-charge permet de laver une petite vaisselle et de faire des économies d'eau, d'électricité et de produit de lavage. Sélectionnez le programme, appuyez sur la touche DEMI-CHARGE : le voyant s'allume et le lavage n'est lancé qu .
Penser à ne ranger la vaisselle et à réduire de moitié la quantité de produit de lavage. Mieux vaut utiliser un produit de lavage en poudre. Cette option n'est pas utilisable avec les programmes Rapide.
Pastilles multifonction
Cette option permet d'optimiser le résultat de lavage et de séchage.
En cas d , appuyer sur la touche PASTILLES MULTIFONCTION. Le voyant correspondant s'allume. L'option “Pastilles Multifonction” prolonge la durée du programme.
L'option "Pastilles Multifonction" reste mémorisée lors des allumages suivants de l'appareil, à moins qu'elle n'ait été désactivée. Cette option est déconseillée pour les programmes qui ne prévoient pas l (voir tableau des options). L'utilisation de pastilles n'est conseillée que pour les modèles qui prévoient l'option PASTILLES MULTIFONCTION.
| Tableau Options | A | B | C |
| Départ différé | Demi-charge | Pastilles multifonction | |
| Auto Super Lavage | Oui | Oui | Oui |
| Auto Normal | Oui | Oui | Oui |
| Quotidien | Oui | Oui | Oui |
| Trempage | Oui | Oui | Non |
| Bio | Oui | Oui | Oui |
| Rapide | Oui | Non | Oui |
| Verres | Oui | Oui | Oui |
- Présent uniquement sur certains modèles.
En cas de vaisselle peu sale ou préalablement rincée à l'eau, réduire considérablement la quantité de produit de lavage. Le nombre et les types de programmes et d'options varient selon le modèle de lave-vaisselle.
| Indications sur lechio des programmes | Programme | Produit de lavage (A) = bac A (B) = bac B | Program- mes prévoyant le séchage | Options | Durée du programme (tolération ±10% Hrs. Min | ||
| Poudre | Liquide | Pastilles | |||||
| Vaiselle et casseroles très sales (déconseilé pour la vaisselle fragile) | Super Lavage | 25 g (A) | 25 ml (A) | 1 (A) | Oui | A-B-C | 2:25' |
| Vaiselle et casseroles normalement sales. Programme standard quotidien. | Normal | 21 g (A)4 g (B) | 21 ml (A)4 ml (B) | 1 (A) | Oui | A-B-C | 1:50' |
| Vaiselle du jour en quantité réduite. (4 couverts + 1 casserole + 1 poèle). | Quotidien 60' | 25 g (A) | 25 ml (A) | 1 (A) | Non | A-B-C | 1:00' |
| Lavage préalable dans l'atte de compléter le chargement au repas suivant | Trempage | Non | Non | Non | Non | A-B | 0:08' |
| Lavage ecologique à faible consommation d'électricité pour vaisselle et casseroles. | Bio* | 25 g (A) | 25 ml (A) | 1 (A) | Oui | A-B-C | 2:35' |
| Cycle économique et rapide pour vaisselle peu sale, tout de suite après l'utilisation. (2 assiettes +2 verres +4 couverts +1 casserole + 1 petite poèle) | Rapide | 21 g (A) | 21 ml (A) | 1 (A) | Non | A-C | 0:25' |
| Cycle économique et rapide pour vaisselle fragile ne supportant pas les haute températures, tout de suite après l'utilisation. (verres à pied panier supérieur + assiettes fragiles dan le panier inférieur). | Verres | 25 g (A) | 25 ml (A) | 1 (A) | Oui | A-B-C | 1:30' |
Remarques :
Pour obtenir des performances optimales avec les programmes "Quotidien" et "Rapide", il est conseillé de respecter le nombre de couverts indiqué.
- Le programme Bio est conforme à la norme EN-50242. Il a une durée de lavage plus longue que les autres programmes, mais c'est aussi celui qui consomme le moins d'énergie et qui respecte le plus l'environnement.
Note pour les laboratoires d'essai : pour toutes informations détaillées sur les conditions d'essai comparatif EN, s'adresser à : ASSISTENZA_EN_LVS@indesitcompany.com
Pour simplifier le dosage du produit de lavage, prenez note que :
1 cuillère à soupe = 15 g de poudre = 15 ml de liquide environ. 1 cuillère à café = 5 g de poudre = 5 ml de liquide environ.
À n'utiliser que des produits de lavage spéciaux pour lave-vaisselle.
Ne pas utiliser de sel alimentaire ou industriel, ni de produits pour lavage de la vaisselle à la main
En cas d'utilisation d'un produit multifonction, il n'est pas nécessaire d'ajouter de produit de rinçage, mais nous conseillons par contre d'ajouter du sel, surtout en cas d'eau dure ou très dure
S'il n'y a pas de rajout de sel ni de produit de rinçage, il est normal que les voyants SEL et PRODUIT DE RINÇAGE restent allumés.
Charger le produit de rinçage
Le produit de rinceage aide au séchage de la vaisselle car il fait glisser l'eau de la surface et évite ainsi la formation de traces ou de taches.
Il faut remplir le réservoir à produit de rinceage :
- quand le voyant PRODUIT DE RINÇAGE* du bandeau / display s'allume ;

- Ouvrir le réservoir en tournant le couvercle (G) dans le sens inverse des aiguilles d'une montre.
- Verser le produit de rinçage sans le faire dé ôt avec un chiffon sec.
- Revisser le couvercle.
Régler la dose de produit de rinçage
Si le résultat du séchage n'est pas satisfaisant, le dosage du produit de rinceage peut être réglé. À l'aide d'un tournevis, agir sur le dispositif de réglage (F) et l'amener sur une des 6 positions au besoin (il est réglé en usine sur la position 4) :
- si la vaisselle présente des traces, l'amen bas (1-3).
- S'il y a des gouttes d'eau ou des taches de calcaire, le régl élevés (4-6).
Réglage de la dureté de l'eau
Chaque lave-vaisselle est équipé d'un adoucisseur d'eau qui, grâce à du sel régénérant spécial lave-vaisselle, fournit de l'eau de lavage sans calcaire.
Ce lave-vaisselle permet d'opérer un réglage pour réduire la consommation et optimiser les performances de lavage selon la dureté de l'eau. Se renseigner auprès de l'organisme distributeur de l'eau.
- Eteindre l'appareil à l'aide de la touche ON/OFF et ouvrir la porte.
- Placer le bouton SELECTION PROGRAMME d'abord sur le 5ème programme (Bio),
- Appuyer sur la touche ON/OFF, les voyants des phases du À chaque programme son degré de durée :
cycle se mettent à clignoter, la sélection du degré de durée est à présent possible. À chaque programme son degré de durée :
Par exemple : 1er 1.
2ème 2, etc., jusqu'au niveau maximum.
(L'adoucisseur d'eau est réglé en usine sur le niveau 3.)
- Pour quitter cette fonction, attendre quelques secondes ou appuyer sur une touche des options ou éteindre l'appareil à l'aide de la touche ON/OFF.
En cas d'utilisation de pastilles de lavage multifonction, remplir tout de même le réservoir à sel.
| Tableau de durété de l'eau | ||||||
| °dH | °fH | mmol/l | niveau | |||
| 0 | 6 | 0 | 10 | 0 | 1 | 1 |
| 6 | 11 | 11 | 20 | 1,1 | 2 | 2 |
| 12 | 17 | 21 | 30 | 2,1 | 3 | 3 |
| 17 | 34 | 31 | 60 | 3,1 | 6 | 4 |
| 34 | 50 | 61 | 90 | 6,1 | 9 | 5* |
| De 0°f à 10°f nous vous conseillons de ne pas utiliser de sel. * ce type de sélection peut légèrement prolonger la durée des cycles. | ||||||
(°dH = dureté en degrés allemands - °fH = dureté en degrés français - mmol/l = millimol/litre)
Charger le sel régénérant
Pour obtenir de bons résultats de lavage, assurez-vous que le réservoir à sel n'est jamais vide. Le sel régénérant élimine le calcaire présent dans l'eau et évite ainsi qu'il ne se dépose sur la vaisselle.
Le réservoir à sel qui se trouve dans la partie inférieure du lave-vaisselle (voir Description) doit être rempli :
- quand le flotteur vert* n'est plus visible à travers le couvercle du réservoir à sel ;
- quand le voyant SEL* du bandeau/display s'allume ;

- Sortir le panier inférieur et dévisser le couvercle du réservoir dans le sens inverse des aiguilles d'une montre.
- mplir le réservoir d'eau à ras bord.
- Utiliser l'entonnoir* (voir figure) pour replir le réservoir de sel à ras bord (1 kg environ). Il est tout à fait normal qu'il y ait un peu d'eau qui déborde.
- Enlever l'entonnoir et éliminer les résidus de sel sur le filetage. Avant de revisser le couvercle, il faut le rincer à l'eau courante en le plaçant tête en bas et en faisant couler l'eau à travers les quatre fentes en étoile situées dans la partie inférieure du couvercle. (Bouchon réservoir à sel avec flotteur vert.)
Nous conseillons d'effectuer cette opération à chaque chargement de sel.
Fermer soigneusement le couvercle pour éviter que du produit de lavage ne pénètre à l'intérieur du réservoir pendant le lavage (cela pourrait endommager irrémédiablement l'adoucisseur).
En cas de rajout de sel, effectuer cette opération juste avant un cycle de lavage pour éliminer aussitôt la solution saline qui a débordé. * Présent uniquement sur certains modèles.
Coupure de l'arrivée d'eau et de courant
- Fermer le robinet d'eau après chaque lavage pour éviter tout risque de fuite.
- Débrancher la fiche de la prise de courant lors du nettoyage de l'appareil et pendant tous travaux d'entretien.
Nettoyer le lave-vaisselle
- Pour nettoyer l'extérieur et le bandeau de commande, utiliser un chiffon humide non abrasif. N'utiliser ni solvants ni abrasifs.
- Pour nettoyer la cuve intérieure et enlever toute tache, utiliser un chiffon imbibé d'eau additionnée d'un peu de vinaigre.
Éviter les mauvaises odeurs
- Laisser toujours la porte entrouverte pour éviter toute stagnation d'humidité.
- Nettoyer régulièrement les joints d'étanchéité de la porte et des bacs à produits de lavage avec une éponge humide. On évitera ainsi les incrustations de déchets d'aliments qui sont les principaux responsables de la formation de mauvaises odeurs.
Nettoyer les bras de lavage
Il peut arriver que des déchets restent collés aux bras de lavage et bouchent les orifices de sortie de l'eau : il est donc utile de les contrôler de temps en temps et de les nettoyer avec une petite brosse non métallique.
Les deux bras de lavage sont démontables.
vers le haut.
Pour démonter le bras supérieur, il faut dévisser la bague de fixation en plastique (tourner dans le sens inverse des aiguilles d'une montre) puis remonter le bras gicleur supérieur, orifices orientés vers le haut.

Pour démonter le bras de lavage inférieur, tirez vers le haut.
Nettoyage du filtre d'entrée d'eau
Si les tuyaux d'eau sont neufs ou s'ils sont restés longtemps inutilisés, avant d'effectuer le raccordement, faire couler l'eau jusqu'à ce qu'elle devienne limpide et dépourvue d'impuretés. Faute de quoi, un encrassement pourrait se produire au point d'arrivée de l'eau et endommager le lave-vaisselle.
A nettoyer périodiquement le filtre d'entrée de l'eau situé à la sortie du robinet.
- Fermer le robinet d'eau.
- Dévisser l'extrémité du tuyau d'arrivée d'eau, retirer le filtre et le laver soigneusement à l'eau courante.
- Remettre le filtre en place et visser le tuyau.
Nettoyer les filtres
Les trois filtres qui composent le groupe filtrant débarrassent l'eau de lavage des résidus d'aliments avant de la remettre en circulation : pour obtenir de bons résultats de lavage, il faut les nettoyer.
Nettoyer les filtres régulièrement.
Ne pas utiliser le lave-vaisselle sans filtres ou avec un filtre mal fixé.
- Après quelques lavages, contrôlez le groupe filtrant et, si nécessaire, lavez-le soigneusement à l'eau courante avec une petite brosse non métallique en procédant comme suit :
- Tourner le filtre cylindrique C dans le sens inverse des aiguilles d'une montre pour le sortir de son emplacement (Fig. 1).
- Exercer une légère pression sur les ailettes latérales du gobelet filtrant B pour le faire sortir (Fig. 2).
- Dégager le filtre inox A (fig. 3).
- Examiner la cavité et éliminer tout résidu de nourriture. NE JAMAIS RETIRER la protection de la pompe de lavage (pièce noire) (fig. 4).




Après avoir nettoyé les filtres, remettre soigneusement le groupe filtrant à sa place. Cette opération est fondamentale pour un bon fonctionnement du lave-vaisselle.
En cas d'absence pendant de longues périodes
- Débrancher les raccordements électriques et fermer le robinet de l'eau.
- Laisser la porte entrouverte.
- Au retour, effectuer un lavage à vide.
Cet appareil a été conçu et fabriqué conformément aux normes internationales de sécurité. Ces avertissements sont fournis pour des raisons de sécurité, il faut les lire attentivement.
Sécurité générale
- Cet électroménager n'est pas destiné à être utilisé par des personnes (enfants compris) dont les capacités physiques, sensorielles ou mentales sont réduites ou qui ne disposent pas des connaissances ou de l'expérience nécessaires, à moins qu'elles n'aient été formées et encadrées pour l'utilisation de cet appareil par une personne responsable de leur sécurité.
- Les enfants doivent être surveillés par un adulte pour éviter qu'ils ne jouent avec l'appareil.
- Cet appareil est conçu pour un usage de type non professionnel à l'intérieur d'une habitation.
- Cet appareil est destiné au lavage de vaisselle à usage domestique. Il ne doit être utilisé que par des adultes et selon les instructions reportées dans cette notice.
- Ne pas installer l'appareil à l'extérieur, même dans un endroit protégé, car il est extrêmement dangereux de l'exposer à la pluie et aux orages.
- Ne pas toucher au lave-vaisselle pieds nus.
- Ne jamais tirer sur le câble pour .
- Fermer le robinet d'eau et avant d'effectuer tous travaux de nettoyage et d'entretien.
- En cas de panne, n'essayer en aucun cas d'accéder aux mécanismes internes pour tenter de la réparer.
- Ne jamais toucher à la résistance.
- Ne pas s'appuyer sur la porte ouverte ou s'y asseoir : l'appareil pourrait basculer.
- Ne pas garder la porte ouverte pour éviter de buter contre elle et de se faire mal. Garder les produits de lavage et de rinçage hors de la portée des enfants.
- Les emballages ne sont pas des jouets pour enfants.
Mise au rebut
- Mise au rebut du matériel d'emballage : se conformer aux réglementations locales, les emballages pourront ainsi être recyclés.
- La Directive Européenne 2002/96/CE sur les Déchets des Équipements Électriques et Électroniques (DEEE) exige que les appareils ménagers usagés ne soient pas jetés dans le flux normal des déchets municipaux. Les appareils usagés doivent être collectés séparément afin d'optimiser le taux de récupération et le recyclage des matériaux qui les composent, et réduire l'impact sur la santé humaine et l'environnement. Le symbole de la "poubelle barrée" est apposé sur tous les produits pour rappeler les obligations de collecte séparée.
Pour de plus amples renseignements sur la mise au rebut des appareils électroménagers, les possesseurs peuvent s'adresser au service public prévu à cet effet ou aux commerçants.
Faire des économies d'eau et d'électricité
- Ne faire fonctionner le lave-vaisselle que quand il est rempli au maximum de sa capacité. Dans l'attente de remplir la machine, lancer le cycle de Trempage pour éviter la formation de mauvaises odeurs (voir Programmes).
- Sélectionner un programme adapté au type de vai .
- Pour de la vaisselle normalement sale, utilisez le programme Eco (économique). I
- Pour une quantité réduite de vaisselle, utilisez utilisation).
- horaires à prix réduit, effectuer les lavages pendant ces heures creuses. Dans ce cas, l'utilisation de l'option Départ différé utilisation) est une aide précieuse pour organiser les lavages.
Produits de lavage sans phosphates, sans chlore et aux enzymes
- Il est vivement conseillé d'utiliser des p et sans chlore, plus indiqués pour la protection de l'environnement.
- Les enzymes développent une action particulièrement efficace à des températures avoisinant 50°C. Les produits de lavage aux enzymes permettent donc de sélectionner des lavages à de basses températures et d'obtenir les mêmes résultats qu'à une température de 65°C.
- Pour bien doser le produit de lavage, il faut tenir compte des indications du fabricant, de la dureté de l'eau, de la quantité de vaisselle et de son degré de salissure pour éviter tout gaspillage. Bien que biodégradables contiennent des éléments qui altèrent l'équilibre de la nature.
Si l'appareil présente des anomalies de fonctionnement, procéder aux contrôles suivants avant de prendre contact avec le service d'assistance technique.
| Anomalies | Causes / Solutions possibles : |
| Le lave-vaiselle ne démarre pas. | • La fiche n'est pas bien branchée dans la prise ou il y a une coupure de courant. • La porte du lave-vaiselle n'est pas bien fermée. • Un Départ différé (voir Mise en marche et utilisation) a été sélectionné. |
| Le lave-vaiselle ne vidange pas. | • Le programme n'est pas encore terminé. • Le tuyau de vidange est plié (voir Installation). • L'évacuation de l'évier est bouchée. • Le filtre est bouché par des déchets de nourriture. |
| Le lave-vaiselle est bruyant. | • La vaisse s'entrechoque ou butte contre les bras de lavage. • Excédent de mousse: le produit de lavage n'est pas bien dosé ou n'est pas approprié (voir Mise en marche et utilisation). |
| La vaisse et les verres représentant des dépôts de calcaire ou une couche blanchâtre. | • Il manque du sel régénérant ou son réglage n'est pas ajusté à la durée de l'eau (voir Produit de rincege et sel). • Le couvercle du réservoir à sel n'est pas bien fermé. • Il n'y a plus de produit de rincege ou son dosage est insuffisant. • La vaisse est en matière au antiadhésif. |
| La vaisse et les verres représentant des traces blanches ou des reflets bleuâtres. | • Le dosage du produit de rincege est excessif. |
| La vaisse n'est pas bien séchéée. | • Il n'y a plus de produit de rincege ou son dosage est insuffisant (voir Produit de rincege et sel). • Le réglage du produit de rincege n'est pas approprié. • Vous avez sélectionné un programme sans séchage. |
| La vaisse n'est pas propre. | • Les paniers sont trop charges (voir Charger les paniers). • La vaisse n'est pas bien rangée. • Les bras de lavage ne tournent pas librement. • Le programme de lavage n'est pas assez puissant (voir Programmes). • Excédent de mousse: le produit de lavage n'est pas bien dosé ou n'est pas approprié (voir Mise en marche et utilisation). • Le couvercle du réservoir à produit de rincege n'est pas bien fermé. • Le filtre est sale ou bouché (voir Entretien et sein). • Il manque du sel régénérant (voir Produit de rincege et sel). |
| Il n'y a pas d'arrivée d'eau/Alarme robinet fermé. (clignotement des voyageants, Séchage et Fin) | • Il y a une coupure d'eau. • Le tuyau d'acciviée de l'eau est plié (voir Installation). • Ouvrez le robinet, l'appareil se mettra en marche au bout de quelques minutes. • L'appareil s'est bloqué. Eteignez l'appareil à l'aide de la touche ON-OFF, ouvre le robinet et au bout de 20 secondes rallumez en appuyant à nouveau sur la même touche. Reprogrammez l'appareil et remetteze-le en marche. |
| Alarme électrovanne d'arrivée de l'eau en panne (clignotement devoyant Séchage) | • Eteignez l'apparéil à l'aide de la touche ON-OFF et rallumez au bout d'une minute. Si l'alarme continue, fermez le robinet de l'eau pour éviter tout risque d'inondation, débranchez la fiche de la prise de courant et prenez contact avec le service d'assistance technique. |
| Alarme sur le tuyau d'arrivée de l'eau/Filtre arrivée eau bouché. (clignotement des voyageants Lavage, Séchage et Fin) | • Appuyer sur la touche ON/OFF pour éteindre l'appareil. Fermer le robinet de l'eau pour éviter tout risque d'inondation, débrancher la fiche de la prise de courant. S'assurer que le filtre d'arrivée de l'eau n'est pas bouché par des impuretés. (voir chapitre "Entretien et Soin") |
English,13
LPE 733

Notice Facile