ETG 44I - Plaque de cuisson ESSENTIELB - Notice d'utilisation et mode d'emploi gratuit
Retrouvez gratuitement la notice de l'appareil ETG 44I ESSENTIELB au format PDF.
| Type d'appareil | Table de cuisson gaz |
| Nombre de foyers | 4 |
| Type d'allumage | Allumage intégré |
| Matériau de la surface | Acier inoxydable |
| Type de grille | Grilles en fonte |
| Commande | Manettes frontales |
| Position des commandes | Avant droite |
| Sécurité gaz | Thermocouple |
| Dimensions (L x P) | Non précisé |
| Puissance totale | Non précisé |
| Type de gaz compatible | Gaz naturel et butane/propane |
| Installation | Encastrable |
| Couleur | Inox |
| Type de brûleurs | Standard et rapide |
| Nettoyage | Facile, surface lisse |
FOIRE AUX QUESTIONS - ETG 44I ESSENTIELB
Questions des utilisateurs sur ETG 44I ESSENTIELB
0 question sur cet appareil. Repondez a celles que vous connaissez ou posez la votre.
Poser une nouvelle question sur cet appareil
Téléchargez la notice de votre Plaque de cuisson au format PDF gratuitement ! Retrouvez votre notice ETG 44I - ESSENTIELB et reprennez votre appareil électronique en main. Sur cette page sont publiés tous les documents nécessaires à l'utilisation de votre appareil ETG 44I de la marque ESSENTIELB.
MODE D'EMPLOI ETG 44I ESSENTIELB
Notice d'utilisation
Pour vous aider à bien vivre votre achat
TABLE DES MATIÈRES
| Informations de sécurité | 2 | Entretien et nettoyage | 9 |
| Consignes de sécurité | 4 | En cas d'anomalie de fonctionnement | 11 |
| Description de l'appareil | 7 | Installation | 12 |
| Utilisation quotidienne | 7 | Caracteristique techniques | 16 |
| Conseils | 9 | Rendement énergétique | 18 |
Sous réserve de modifications.
INFORMATIONS DE SECURITÉ
Avant d'installer et d'utiliser cet apparéil, lisez soigneusement les instructions fournies. Le fabricant ne pourra être tenu pour responsable des blessures et dégât s resultant d'une mauvaise installation ou utilisation. Conservez toujours les instructions dans un lieu sur et accessible pour vous y référer ultérieurement.
Sécurité des enfants et des personnes vulnérables
- Cet apparéil peut être utilisé par des enfants âgés d'au moins 8 ans et par des personnes ayant des capacité physiques, sensorielles ou mentales réduites ou dénuées d'expérience ou de connaissance, s'ils (si elles) sont correctement surveillé(e)s ou si des instructions relatives à l'utilisation de l' apparéil en toute sécurité leur ont été données et si les risques encourus ont été appréhendés.
- Ne laissez pas les enfants jouer avec l'appareil.
- Ne laissez pas les emballages à la portée des enfants et jetez-les convenablement.
- Tenez les enfants et les animaux éloignés de l'appareil lorsqu'il est en cours de fonctionnement ou lorsqu'il refroidit. Les parties accessibles sont chaudes.
- Si l'appareil est équipé d'un dispositif de sécurité enfants, nous vous recommendons de l'activer.
- Le nettoyage et l'entretien par l'usage ne doit pas etre effectués par des enfants sans surveillance.
- Les enfants de moins de 3 ans doivent être tenus éloignés de l'appareil en permanence lorsqu'il est en fonctionnement.
Sécurité générale
- AVERTISSEMENT : L'appareil et ses parties accessibles deviennent chauds pendant son fonctionnement. Veillez à ne pas toucher les éléments chauffants. Les enfants de moins de 8 ans doivent être tenus à l'écart, à moins d'être surveillés en permanence.
- Ne faites pas fonctionner l'appareil avec un minuteur externe ou un système de commande à distance.
- AVERTISSEMENT : Il peut être dangereux de laisser chauffer de laGRAisse ou de l'huile sans surveillance sur une table de cuisson car cela pourrait provoquer un incendie.
- N'essayez JAMAIS d'éteindre un feu avec de l'eau. Éteignez l'appareil puis couvrez les flammes, par exemple avec un couvercle ou une couverture ignifuge.
- ATTENTION : Toute cuisson doit être surveillée. Une cuisson courte doit être surveillée en permanence.
- AVERTISSEMENT : Risque d'incendie ! N'entreposez rien sur les surfaces de cuisson.
- Ne posez pas d'objets métalliques tels que couteaux, fourchettes, cuillères ou couvercles sur la table de cuisson car ils pourraient chauffer.
- N'utilisez pas de nettoyeur vapeur pour nettoyer l'appareil.
- Si le cable d'alimentation est endommagé, il doit être remplaçé par le fabricant, un service de maintenance agrée ou un technicien qualifié afin d'éviter tout danger.
- Si l'appareil est relié directement à l'alimentation électrique, installez un sectionneur avec une ouverture de contact. Il est indispensable de garantir une déconnexion complète conformément aux conditions de surtension de catégorie III. Le fil de terre n'est pas concerné.
-
Lorsque vous acheminez le cable d'alimentation, assurez-vous qu'il n'entre pas en contact direct (par exemple, à l'aide d'un manchon isolant) avec des parties pouvant atteindre des températures supérieures de 50^ à la température ambiente.
-
AVERTISSEMENT : Utilisez uniquement les dispositifs de protection pour table de cuisson concus ou indiqués comme adaptations par le fabricant de l'appareil de cuisson dans les instructions d'utilisation, ou les dispositifs de protection pour table de cuisson intégrés à l'appareil. L'utilisation de dispositifs de protection non adaptations peut entraîner des accidents.
CONSIGNES DE SECURITÉ
Cet apparéil est adapté aux marchés suivants: FR
Installation

AVERTISSEMENT! L'appareil doit être installé uniquement par un professionnel qualifié.

AVERTISSEMENT! Risque de blessure corporelle ou de dommages matériels.
Retirez l'intégralité de l'emballage.
- N'installez pas et ne branchez pas un apparéil endommagé.
- Suivez scrupuleusement les instructions d'installation fournies avec l'appareil.
- Respectez l'espacement minimal requis par rapport aux autres apparéils et éléments.
- Soyez toujours vigilants lorsque vous déplacez l'appareil car il est lourd. Utilisez toujours des gants de sécurité et des chaussures fermées.
- Isolez les surfaces découpées à l'aide d'un matériel d'étanchéité pour éviter que la moisissure ne provoque de gonflements.
- Protégez la partie inférieure de l'appareil de la vapeur et de l'humidité.
- N'installez pas l'appareil pres d'une porte ou sous une fenêtre. Les recipients chauds risqueraient de tomber de l'appareil lors de l'ouverture de celles-ci.
- Si l'appareil est installé au-dessus de tiroirs, assurez-vous qu'il y a
suffisamment d'espace entre le fond de l'appareil et le tiroir supérieur pour que l'air puisse circuler.
Le dessous de l'appareil peut devenir très chaud. Veillez à installer un panneau de séparation ignifuge sous l'appareil pour en bloquer l'accès.
Branchement électrique

AVERTISSEMENT! Risque d'incendie ou d'électrocution.
L'ensemble des branchements électriques doit être effectué par un technicien qualifié.
L'appareil doit etre relié à la terre.
- Avant toute intervention, assurez-vous que l'appareil est débranché.
- Vérifie que les paramètres figurant sur la plaque signalétique correspondent aux données électriques de votre réseau.
Assurez-vous que l'appareil est bien installé. Un cable d'alimentation lâche et inapproprié ou une fiche (si présente) non serrée peuvent être à l'origine d'une surchauffe des bornes.
Utilisez le cable d'alimentation électrique approprié.
- Ne laïsez pas le cable d'alimentation s'emmêler.
Assurez-vous qu'une protection antiélectrocution est installée.
Utilisez un collier anti-traction sur le cable.
Assurez-vous que le cable d'alimentation ou la fiche (si présente) n'entrent pas en contact avec les
surfaces brûlantes de l'appareil ou les récipiens brûlants lorsque vous branchez l'appareil à des prises électriques situées à proximité.
- N'utilisez pas d'adaptateurs multiprisés ni de rallonges.
- Veillez à ne pas endommager la fiche secteur (si présente) ni le cable d'alimentation. Contactez notre service après-vente agréé ou un électricien pour remplaçer le cable d'alimentation s'il est endommagé.
- La protection contre les chocs des parties sous tension et isolées doit être fixée de telle manière qu'elle ne peut pas'être enlevée sans outils.
- Ne branchez la fiche d'alimentation à la prise de courant qu'à la fin de l'installation. Assurez-vous que la prise de courant est accessible une fois l'appareil installé.
- Si la prise de courant est l'âche, ne branchez pas la fiche d'alimentation secteur.
- Ne tirez jamais sur le cable d'alimentation pour débrancher l'appareil. Tirez toujours sur la fiche.
- N'utilisez que des systèmes d'isolation appropriés : des coupe-circuits, des fusibles (les fusibles à visser doivent être retirés du support), un disjoncteur différentiel et des contacteurs.
L'installation electrique doit etre equipee d'un dispositif d'isolement a coupure omnipolaire. Le dispositif d'isolation doit presenter une distance d'ouverture des contacts d'au moins 3 mm. - La fiche de prise de courant doit rester accessible ou un interrupteur doit être installé dans les canalisations fixes conformément aux règles d'installation afin de permettre la déconnexion de l'appareil au réseau d'alimentation en toute circonstance.
Raccordement au gaz
-
Tous les raccordements au gaz doivent être effectuels par une personne qualifiée.
-
Avant l'installation, vérifie que les conditions de distribution locales (nature et pression du gaz) sont compatibles avec le réglage de l'appareil.
Assurez-vous que l'air circule autour de l'appareil. - Les informations concernant l'alimentation en gaz se trouvent sur la plaque signalétique.
- Cet apparéil n'est pas raccordé à un dispositif d'évacuation des produits de combustion. Assurez-vous de brancher l' apparéil selon les réglementations d'installation en vigueur. Veillez à respecter les exigences en matière d'aération.
Utilisation

AVERTISSEMENT! Risque de blessures, de brûlures ou d'électrocution.
- Avant la première utilisation, retirez les emballages, les étiquettes et les films de protection (si prênts).
Utilisez cet apparéil dans un environnement domestique. - Ne modifies pas les caractéristiques de cet apparéil.
Assurez-vous que les orifices de ventilation ne sont pas bouchés. - Ne laïsez jamais l'appareil sans surveillance pendant son fonctionnement.
- Éteignez les zones de cuisson après chaque utilisation.
- Ne posez pas de couverts ou de couvercles sur les zones de cuisson. Elles sont chaudes.
- N'utilisez jamais cet apparéil avec les mains mouillées ou lorsqu'il est en contact avec de l'eau.
N'utilisez jamais l'appareil comme plan de travail ou comme plan de stockage.
Lorsque you versez un aliment dans de l'huile chaude, elle peut élabousser.

AVERTISSEMENT! Risque d'incendie et d'explosion.
- Les graisses et l'huile chaudes peuvent dégager des vapeurs inflammables. Tenez les flammes ou les objets chauds éloignés des graisses et de l'huile lorsque vous vous en servez pour cuisiner.
- Les vapeurs dégagées par l'huile très chaude peuvent provoquer une combustion spontanée.
L'huile qui a servi contient des restes d'aliments pouvant provoquer un incendie à température plus faible que l'huile n'avant jamais servi. - Ne placez pas de produits inflammables ou d'éléments imbibés de produits inflammables à l'intérieur ou à proximé de l'appareil, ni sur celui-ci.

AVERTISSEMENT! Risque d'endommagement de l'appareil.
- Ne laïsez pas de récipients chauds sur le bandeau de commande.
- Ne laïsez pas le contenu des recipients de cuisson s'évaporer complètement.
- Prenez soit de ne pas laisser tomber d'objets ou de recipients sur l'appareil. Sa surface risque d'être endommagée.
- Ne faites jamais fonctionner les zones de cuisson avec des recipients de cuisson vides ou sans aucun recipient de cuisson.
- Ne placez jamais de papier aluminium sur l'appareil.
Utilisez uniquement des recipients stables ayant une forme adaptée et un diamètre supérieur à celui des brûleurs.
Assurez-vous que les recipients sont placés au centre des brûleurs.
Assurez-vous que la flamme ne s'esti pas lorsque vous tournez rapidement la manette de la position maximale a la position minimale. - N'utilisez que les accessoires fournis avec l'appareil.
- N'installez pas de diffuseur de flammec sur le bruleur.
L'utilisation d'un appeareil de cuisson au gaz génère de la chaleur et de
I'humidité. Veilles à ce que la piece où est installé l'appareil soit bien aérée.
L'utilisation intensive et prolongée de l'appareil peut nécessiter une ventilation supplémentaire comme l'ouverture d'une fenêtre, ou une aération plus efficace en augmentant par exemple la puissance de la ventilation mécanique si lapiece en est dotée.
- Cét apparéil est exclusivement destiné à un usage culinaire. Ne l'utilise pas pour des usages autres que celui pour lequel il a été concu, à des fins de chauffage par exemple.
- Ne laïsez pas de liquides acides, tels que du vinaigre, du jus de citron ou du produit détartrant, entraer en contact avec la table de cuisson. Cela peut provoquer l'apparition de taches mates.
La décoloration de l'émail ou de l'acier inoxydable est sans effet sur les performances de l'appareil.
Entretien et nettoyage

AVERTISSEMENT! Ne retirez pas les touches, manettes et joints du bandeau de commande. De l'eau pourrait s'infiltrer dans l'appareil et l'endommager.
Nettoyez régulierement l'appareil afin de maintainir le revêtement en bon état.
- Éteignez l'appareil et laisserez-le refroidir avant de le nettoyer.
- Débranchez l'appareil de l'alimentation électrique avant toute opération de maintenance.
- Ne pulversez pas d'eau ni de vapeur pour nettoyer l'appareil.
- Nettoyez l'appareil avec un chiffon doux humide. Utilisez uniquement des produits de lavage neutres. N'utilise pas de produits abrasifs, de tampons à recycler, de solvants ni d'objets metalliques.
- Ne lavez pas les brûleurs au lavevaisselle.
Mise au rebut

AVERTISSEMENT! Risque de blessure ou d'asphyxie.
- Contactez votre service municipal pour obtenir des informations sur la marche à suivre pourmettre l'appareil au rebut.
-
Débranche l'appareil de l'alimentation électrique.
-
Coupe le cable d'alimentation au ras de l'appareil et mettez-le au rebut.
Aplatissez les tuyaux de gaz externes.
Maintenance
Pour réparer l'appareil, contactez un service après-vente/agréé.
Utilisez exclusivement des pieces d'origine.
DESCRIPTION DE L'APPAREIL
Description de la table de cuisson

1 Brûleur semi-rapide
2 Brûleur rapide
3 Brûleur auxiliaire
4 Manettes de commande
Manette de commande
| Symbole | Description |
| ● | pas d'alimentation en gaz / position Arrêt |
| ☆ | position d'allumage / alimentation en gaz maxi-male |
| Symbole | Description |
| ® | alimentation en gaz mini-male |
UTILISATION QUOTIDIENNE

AVERTISSEMENT! Reportez-vous aux chapitres concernant la sécurité.
Vue d'ensemble des brûleurs

A. Chapeau du brûleur
B. Couronne du brûleur
C. Bougie d'allumage
D. Thermocouple
Allumage du brûleur

Allumez toujours le brûleur avant de poser un réseau dessus.

AVERTISSEMENT! Faites très attention lorsque vous utilisez une flamine neue dans une cuisine. Le fabricant decline toute responsabilité en cas de mauvaise utilisation de la flamine.
- Enforcez la manette et tournez-la vers la gauche jusqu'à la position d'arrivée de gaz maximal (6).
- Maintenez la manette enforcée pendant 10 secondes environ. Cela permet au thermocouple de chauffer. Sinon, l'alimentation en gaz est interrompue.
- Une fois que la flamme brule régulierement, réglez son débit.

Si, après plusieurs tentatives, le brûleur ne s'allume pas, vérifie que la couronne et son chapeau sont correctement placés.

AVERTISSEMENT! Ne maintenez pas la manette de commande enforcée plus de 15 secondes. Si le brûleur ne s'allume pas au bout de 15 secondes, relâchez la manette de commande, tournez-la sur la position d'arrêt et attendez au moins 1 minute avant de réessayer d'allumer le brûleur.

ATTENTION! En cas de coupure d'électricité, vous pouvez allumer le brûleur sans dispositifé lectrique : pour cela,approchez une flamme du brûleur, tournez la manette vers la gauche jusqu'à la position d'arrivée de gaz maximale et enoncez-la. Maintenez la manette de commande enforcée pendant environ 10 secondes pour permettre au thermocouple de chauffer.

Si le brûleur s'eteint accidentellement, tournez la manette de commande sur la position Arrêt et attendez au moins 1 minute avant de réessayer d'allumer le brûleur.

Le générateur d'étincelles peut s'activer automatiquement lorsque vous allumez l'alimentation secteur, après l'in installation ou après une coupure de courant. C'est normal.

La table de cuisson est fournie avec les valves de distribution progressive. Elles rendent le réglage de la flamme plus précis.

AVERTISSEMENT! Abaissez ou coupez toujours la flamme avant desterol les recipients du bruleur.
Arrêt du brûleur
Pour éteindre la flamme, tournez la manette sur la position Arrêt
CONSEILS

AVERTISSEMENT! Reportez-vous aux chapitres concernant la sécurité.
ATTENTION! N'utilisez pas de plats en fonte, en stéatite, en grès, de grils ou de plats à gratin. L'acier inoxydable peut ternir s'il est trop chauffé.

AVERTISSEMENT! Ne place pas le même récipient sur deux brûleurs.

AVERTISSEMENT! Ne place pas de recipients instables ou déformés sur le brûleur afin d'éviter les débordements et les blessures.

ATTENTION! Assurez-vous que le fond des recipients ne dépasse pas au-dessus de la manette de commande sinon la flamme fait chauffer la manette.

ATTENTION! Assurez-vous que les poignées des recipients ne dépassent pas du devant de la table de cuisson.

ATTENTION! Assurez-vous que les recipients de cuisson sont bien centrés sur le brûleur afin de garantir leur stabilité et de réduire la consommation de gaz.
Diamétres des recipients

Utilisez uniquement des
réciements dont le diamètre correspond aux dimensions des brûleurs.
| Brûleur | Diamètre du récipient (mm) |
| Rapide | 180 - 260 |
| Semi-rapide | 120 - 240 |
| Auxiliaire | 80 - 180 |
ENTRETIEN ET NETTOYAGE

AVERTISSEMENT! Reportez-vous aux chapitres concernant la sécurité.
Informations generales
- Nettoyez la table de cuisson après chaque utilisation.
Utilisez toujours un plat de cuisson dont le fond est propre.
- Les rayures ou les taches sombres sur la surface n'ont aucune incidence sur le fonctionnement de la table de cuisson.
Utilisez un nettoyant spécialement adaptable à la surface de la table de cuisson.
Acier inoxydable
- Lavez les éléments en acier inoxydable à l'eau, puis séchez-les à l'aide d'un chiffon doux.
Pour retirer les résidus d'aliments et de graisses brûlés ou les taches tenaces, déposez une petite quantité de détergent doux dessus et laissez-le agir pendant quelques minutes avant de nettoyer.
Pour protégér les surfaces en acier, utilisez des produits nettoyants spécifiquement conçus pour le nettoyage de l'acier inoxydable. - N'utilisez pas de produits nettoyants contenant des produits chimiques corrosifs comme le chlorure. Ne nettoyez pas la surface avec des produits désinfectants, des agents détachants ou anti-rouille, ni avec des produits de nettoyage par immersion.
i Les supports de casserole ne sont pas adaptations au lavage dans un lave-vaisselle. IIs deserve etre laves a la main.
- Retirez les supports de casserole pour nettoyer facilement la table de cuisson.
i Replacez les supports de casserole avec soin afin de ne pas endommager le dessus de la table de cuisson.
- Lorsque vous lavez les supports de casserole à la main, faites bien attention lorsque vous les essuyez, car le revêtement en émail peut présenter des bords coupants. Si nécessaire, retirez les taches tenaces à l'aide d'une pâte nettoyante.
- Àpès avoir lavé les supports de casserole, voirlez à les remettre correctement en place.
- Pour que le brûleur fonctionne correctement, assurez-vous que les bras des supports de casserole sont alignés avec le centre du brûleur.


Nettoyage de la table de cuisson
Enlevez immédiatement : plastique fondu, films plastiques, sucre et alimentés contenant du sucre. Sinon, la saleté pourrait endommager la table de cuisson. Veillez à ne pas vous brûler.
- Une fois que la table de cuisson a suffisamment refroidi, enlevez : traces de calcaire et d'eau, projections de graisse, décolorations métalliques Luisantes. Nettoyez la table de cuisson à l'aide d'un chiffon humide et d'un détergent non abrasif. ÀpRES le nettoyage, séchez la table de cuisson à l'aide d'un chiffon doux.
- Nettoyez les éléments en émail, le chapeau et la couronne avec de l'eau chaude savonneuse et séchez-les soignement avant de les remettre en place.
Nettoyage de la bougie d'allumage
Cette fonctionnalité est obtenue grâce à une bougie d'allumage en céramique
dotée d'une electrode en métal. Veillez à maintenir ces composants propres afin de facilititer l'allumage. Assurez-vous également que les orifices des couronnées des brûleurs ne sont pas obstrués.
Entretien periodique
Contactez périodiquement votre service après-vente pour contrôler l'état du tuyau d'arrivée de gaz et du régulateur de pression si votre installation en est équipée.
EN CAS D'ANOMALIE DE FONCTIONNEMENT

AVERTISSEMENT! Reportez-vous aux chapitres concernant la sécurité.
En cas d'anomalie de fonctionnement
| Problème | Cause probable | Solution |
| Il n'y a aucune étincelle lors-que vous essayez d'activerle générateur d'étincelle. | La table de cuisson n'estpas connectée à une sourced'alimentation électricquolebranchement est incor-rect. | Vérifiéz que la table de cuisson est correctement bran-chée à une source d'alimen-tation électricque. |
| Le fusible a disjoncté. | Vérifiéz que le fusible est bien la cause de l'anomalie.Si les fusibles disjonctent de manière répétée, faites ap-pel à un électricien qualifié. | |
| Le chapeau et la couronne du brûleur sont mal position-nés. | Placez correctement le chanpeau et la couronne du brû-leur. | |
| La flamme s'éteint immédia-tement après l'allumage. | Le thermocouple n'est passuffisamment chauffé. | Maintenez la manette enfon-cée pendant 10 secondesmaximum une fois la flammeallumée. |
| L'anneau de flamme est irré-gulier. | La couronne du brûleur estencrossée par des résidusalimentaires. | Assurez-vous que l'injecteurn'est pas bouché et que lacouronne est propre. |
Si vous ne trouvez pas de solution...
Si vous ne trouvez pas de solution au problème, veuillez contacter votre revendeur ou un service après-vente/agreeé. Veuillez lui fournir les informations se trouvant sur la plaque signalétique. Assurez-vous d'utiliser correctement l'appareil. En cas d'erreur de manipulation
de la part de l'utilisateur, le déplacement du technicien du service après-vente ou du vendeur pourra être facturé, même en cours de garantie. Les instructions relatives au service après-vente et aux conditions de garantie figurent dans le livre de garantie.
Étiquettes fournies dans le sachet des accessoires
Collez les étiquettes adhésives comme indiqué ci-dessous :

A. Collez-la sur la carte de garantie et envoyez cette partie (le cas échéant).
B. Collez-la sur la carte de garantie et conservez cette partie (le cas échéant).
C. Collez-la sur la notice d'utilisation.
INSTALLATION

AVERTISSEMENT! Reportez-vous aux chapitres concernant la sécurité.
Avant l'installation
Avant d'installer la table de cuisson, notez les informations de la plaque signalétique ci-dessous. La plaque signalétique se trouve au bas de la table de cuisson.
Modèle
PNC
Numéro de série
Raccordement au gaz

AVERTISSEMENT! Les
instructions suivantes
concernant l'installation, le
raccordement et l'entretien de
l'appareil doivent être
effectuees par un professionnel
qualifié selon les normes et
reglements locaux en vigueur.
Effectuez un raccordement fixe (« rigide ») ou utilisez un tuyau flexible en acier inoxydable selon les normes en vigueur. Si vous utilisez des tuyaux flexibles métalliques, ils ne doivent pas entrairen contact avec des parties mobiles ni etre
comprimés. Soyez également vigilant lorsque la table est installée avec un four.

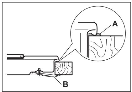
Assurez-vous que la pression de l'alimentation en gaz de l'appareil correspond aux valeurs recommandées. Le raccordement réglabre est relié à la rampe complète par un écrou fileté G 1/2 po. Vissez les pieces sans forcer, ajustez le raccordement dans le sens souhaité, puis serrez le tout.

A. Extrémité du tuyau avec écrou
B. Joint fourni avec l'appareil
C. Coude fourni avec l'appareil
Raccordement rigide :
Effectuez le raccordement en utilisant des tuyaux métalliques rigides (en cuivre avec embout mécanique).
Raccordement « flexible » avec embout mécanique :
Gaz naturel: le raccordement s'effectue avec un tuyau flexible à embout mécanique qui se visse directement sur le coude terminant la rampe de l'appareil.
- Butane/Propane : utilisez un tube souse, équipé de ses colliers, s'il peut être contrôle sur toute sa longueur et si l'appareil ne fonctionne qu'au butane. Si l'appareil fonctionne au propane, utilisez un tuyau flexible avec un embout métallique approprié.
Raccordement avec des tuyaux flexibles non métalliques :
Si le raccordement peut être facilement contrôle dans son ensemble, vous pouvez
utiliser un tuyau flexible. Fixez fermement le tuyau flexible à l'aide de colliers.
Gaz liquéfé
Utilisez un support de tuyau en caoutchouc pour le gaz liquéfié. Intercalez toujours le joint. Continue alors le raccordement au gaz.
L'utilisation d'un tuyau flexible s'applique lorsque :
- il ne peut pas devenir plus chaud que la température ambiente, à savoir plus de 30^ :
- il n'est pas plus long que 1500 ~mm ;
- il ne montre aucun étranglement ;
- il n'est soumis à aucune traction ni—aucune torsion ;
- il n'entre pas en contact avec des bords ni des coins tranchants ;
- il peut être facilement contrôle sur toutes sa longueur afin de vérifier son état.
Vérifiez les points suivants pour contrôler le bon état du tuyau flexible :
- il ne présente aucune fente, coupure, marque de brûlure sur les deux extrémités et sur toute sa longueur;
- le matériel n'est pas durci, mais présente une Elasticité correcte;
les colliers de serrage ne sont pas rouillés ; - la date d'expiration n'est pas dépassée.
Si vous constatiez au moins un de ces défauts, ne réparez pas le tuyau, mais remplacez-le.

AVERTISSEMENT! Lorsque l'installation est terminée, assurez-vous que chaque raccord est etanche. Utilisez une solution savonneuse et pas de flamme!
Remplacement des injecteurs
- Demontez les supports des casseroles.
- Demontez les chapeaux et les couronnés du brûleur.
- À l'aide d'une clé de 7, démonze les injecteurs et remplacez-les par ceux qui sont nécessaires pour le type de
gaz que vous utilisez (voir le tableau dans le chapitre « Caracteristiques techniques »).
- Assemblez les pieces et suivez la même procEDURE dans l'ordre inverse.
- Remplacez la plaque signalétique (qui se trouve pres du tuyau d'arrivée de gaz) par cette correspondant au nouveau type d'alimentation en gaz. Vous trouvezce cette plaque dans le sachet fourni avec l'appareil.
Si la pression de l'alimentation en gaz peut être modifiée ou est différente de la pression nécessaire, vous devez monter un système de réglage de la pression sur le tuyau d'arrivée de gaz.
Réglage du niveau minimal
Pour régler le niveau minimal des brûleurs :
- Allumez le brûleur.
- Tournez la manette en position minimale.
- Retirez la manette.
- À l'aide d'un tournevis fin, ajustez la position de la vis de réglage (A).

- Si vous passez :
du gaz naturel G20/G25 20/25 mbar au gaz liquéfié, serrez entièrement la vis de réglage.
du gaz liquéfié au gaz naturel G20/G25 20/25 mbar, dévissez la vis de réglage d'environ 1/4 de tour.

AVERTISSEMENT! Assurez-vous que la flamme ne s'eteint pas lorsque vous tournezrapidement la manette de la position maximale à la position minimale.
Branchement électrique
- Vérifiez que la tension nominale et le type d'alimentation figurant sur la plaque signalétique correspondent aux valeurs d'alimentation locales.
- Cet apparéil est fourni avec un cable d'alimentation. Une fiche appropriée, capable de supporter la charge indiquée sur la plaque signalétique, doit être adaptée au cable d'alimentation. Assurez-vous que la fiche est branchée dans une prise correcte.
Utilisez toujours une prise de courant de sécurité correctement installée.
Assurez-vous que la prise de courant est accessible une fois l'appareil installé. - Ne tirez jamais sur le cable d'alimentation pour débrancher l'appareil. Tirez toujours sur la fiche.
L'appareil ne doit pas etre raccordé à l'aide d'un prolongateur, d'un adaptateur ni d'une prise multiple (risque d'incendie).Assurez-vous que le raccordement a la terre est conforme aux normes et reglementations.
Le cable d'alimentation ne doit pas etre exposé à une température supérieure a 90^

Assurez-vous de connecter le cable neutre bleu à la borne portant la lecture « N » Connectez le cable de phase marron (ou noir) à la borne portant la lecture « L ». Le cable de phase doit rester connecté en permanence.
Câble d'alimentation
Pour remplaçer le cable d'alimentation, utilisez uniquement le cable spécial ou son équivalent. Le type de cable est : H03V2V2-FT90.
Assurez-vous que la section du cable convient à la tension et à la température de fonctionnement. Le cable de terre jaune/vert doit être plus long d'environ 2 cm que le cable de phase marron (ou noir).
Montage

1.

2.
3.

4.


Si un meuble est installé à 400 mm au-dessus de la table de cuisson, vous nevez laisser une distance de sécurité minimale de 50 mm à gauche ou à droite du bord de la table de cuisson.

5.
6.

7.


8.
9.

A) joint fourni
B) équres fournies

10.

11.

ATTENTION! Installez
l'appareil uniquement sur un plan de travail dont la surface est plane.
Possibilities d'insertion
Le panneau installé sous la table de cuisson doit être facile à retarder et
CHARACTERISTIQUES TECHNIQUES
Dimensions de la table de cuisson
| Largeur | 595 mm |
| Profondeur | 510 mm |
facilitement accessible au cas où une intervention technique serait nécessaire.
Élement de cuisine avec une porte


A. Panneau amovible
B. Espace pour les branchements
Élement de cuisine avec four
Les branchements électriques de la table de cuisson et du four doivent être installés séparément pour des raisons de sécurité et pour permettre un retrait facile du four de l'ensemble.
Diamètres des vis de réglage
| BRULEUR | Ø VIS DE RÉGLAGE 1/100 mm |
| Rapide | 42 |
| Semi-rapide | 32 |
| Auxiliaire | 28 |
Autres caractéristiques techniques
| PUISSANCE TOTA-LE : | Gaz d'origine : | G20/G25 (2E+) 20/25 mbar = 8 kW |
| Gaz de remplacement : | G30 (3+) 28-30 mbar = 567 g/hG31 (3+) 37 mbar = 557 g/h | |
| Alimentation électri-que : | 220-240 V ~ 50/60 Hz | |
| Catégorie de l'appa-reil : | II2E+3+ | |
| Raccordement au gaz : | G 1/2" | |
| Classe de l'appareil : | 3 | |
Brûleurs à gaz pour GAZ NATUREL G20/G25 20/25 mbar
| BRULEUR | PUISSANCE NOR-MALE kW | PUISSANCE MINI-MALE kW | CARACTERISTIQUE DE L'INJECTEUR |
| Rapide | 3,0 | 0,75 | 119 |
| Semi-rapide | 2,0 | 0,45 | 96 |
| Auxiliaire | 1,0 | 0,33 | 70 |
Brûleurs à gaz pour LPG G30/G31 28-30/37 mbar
| BRULEUR | PUISSAN-CE NOR-MALE KW | PUISSAN-CE MINI-MALE KW | CARACTÉ-RISTIQUE DE L'IN-JECTEUR | DéBIT DE GAZ NOMINAL g/h | |
| G3028-30 mbar | G31 37 mbar | ||||
| Rapide | 2,8 | 0,75 | 86 | 204 | 200 |
| Semi-rapi-de | 2,0 | 0,45 | 71 | 145 | 143 |
| Auxiliaire | 1,0 | 0,33 | 50 | 73 | 71 |
Informations de produit selon la norme EU 66/2014
| Identification du modele | ETG44i | |
| Type de table de cuisson | Table de cuisson intégrée | |
| Nombre de brûleurs à gaz | 4 | |
| Efficacité énergétique selon le brû-leur à gaz (EE gas burner) | Arrière gauche - Semi-rapide | 54.4% |
| Arrière droit - Semi-rapide | 55.5% | |
| Avant gauche - Rapide | 55.3% | |
| Avant droit - Auxiliaire | non applicable | |
| Efficacité énergétique de la table de cuisson (EE gas hob) | 55.1% |
EN 30-2-1: Appareils de cuisson domestiques à gaz - Partie 2-1: Utilisation rationnelle de l'énergie - Général
Économies d'énergie
- Avant utilisation, assurez-vous que les brûleurs et les supports de casseroles sont correctement assemblés.
Utilisez uniquement des recipients dont le diametre correspond aux dimensions des brûleurs. - Mettez le écipient au centre du brûleur.
- Lorsque vousCHAUFFEZ de I'eau, n'utilise que la quantite d'eau dont vous avez besoin.
- Si possible, couvrez toujours les recipients avec un couvercle pendant la cuisson.
- Dès que le liquide commence à bouillir, baissez la flamme juste assez pour laisser le liquide frémir.
- Si cela est possible, utilisez un autocuseur Reportez-vous à son mode d'emploi.
EN MATIÈRE DE PROTECTION DE L'ENVIRONNEMENT
Recyclez les matériaux portant le symbole
Déposez les emballages dans les conteneurs prévus à cet effet. Contribuez à la protection de l'environnement et à votre sécurité, recyclez vos produits électriques etlectroniques. Ne jetez pas
les apparèils portant le symbole X avec les ordures ménagères. Emmenez un tel produit dans votre centre local de recyclage ou contactez vos services municipaux.
ETG44i

Protection de l'environnement
Ce symbole apposé sur le produit signifie qu'il s'agit d'un apparéil dont le traitement en tant que déchet est soumis à la réglementation relative aux déchets
d'équipements électriques et électroniques (DEEE). Cet apparéil ne peut donc enaucun cas être traité comme un déchet menager, et doit faire l'objet d'une collecte spécifique à ce type de déchets. Des systèmes de reprise et de collecte sont mis à votre disposition par les collectivités locales (déchéterie) et les distributeurs. En orientant votre apparéil en fin de vie vers sa filière de recyclage, vous contribuerez àprotéger l'environnement et empêcherez toute conséquence nuisible pour votre santé.

Testé dans nos laboratoires
Garantie valde a partir de la date d'achat (ticket de caisse faisant fjoi). Cette garantie ne couve pas les vices ou les dommages resultant d'une mauvaise installation, d'une utilisation incorrecte, ou de l'usure normale du produit.
essential
Service Relation Clients
Avenue de la Motte
CS 80137
59811 Lesquin cedex
Art.8003460;CE0476
Réf. ETG44i
FABRIQUE EN EUROPE
SOURCING & CREATION
21 Avenue de l'Harmonie
59650 Villeneuve d'Ascq Cedex

Faites un geste
eco-citoyen. Recyclece produc en fin de vie.
Notice Facile