ELECTRIC DUMP SYSTEM KIT - Kit d'accessoires pour équipements de jardinage HUSQVARNA - Notice d'utilisation et mode d'emploi gratuit
Retrouvez gratuitement la notice de l'appareil ELECTRIC DUMP SYSTEM KIT HUSQVARNA au format PDF.
| Type d'appareil | Tracteur agricole |
| Fonction principale | Système de vidage électrique |
| Contenu du kit | Bras de vidage, câbles, connecteurs, supports, visserie |
| Installation | Montage sur tracteurs équipés d'un système de vidage électrique |
| Matériau principal | Acier et composants électriques |
| Type de fixation | Vis, clips et supports métalliques |
| Outils nécessaires | Clé 7/16", tournevis Phillips, clé 3/8" |
| Compatibilité | Tracteurs avec système de vidage électrique d'origine |
| Instructions de sécurité | Débrancher la batterie avant installation |
| Poids approximatif | Non précisé |
| Dimensions approximatives | Non précisées |
| Type de connexion électrique | Connecteurs à clips |
| Couleur | Non précisée |
| Garantie | Non précisée |
| Origine | Non précisée |
FOIRE AUX QUESTIONS - ELECTRIC DUMP SYSTEM KIT HUSQVARNA
Questions des utilisateurs sur ELECTRIC DUMP SYSTEM KIT HUSQVARNA
0 question sur cet appareil. Repondez a celles que vous connaissez ou posez la votre.
Poser une nouvelle question sur cet appareil
Téléchargez la notice de votre Kit d'accessoires pour équipements de jardinage au format PDF gratuitement ! Retrouvez votre notice ELECTRIC DUMP SYSTEM KIT - HUSQVARNA et reprennez votre appareil électronique en main. Sur cette page sont publiés tous les documents nécessaires à l'utilisation de votre appareil ELECTRIC DUMP SYSTEM KIT de la marque HUSQVARNA.
MODE D'EMPLOI ELECTRIC DUMP SYSTEM KIT HUSQVARNA
REMARQUE : Les instructions de montage pour les tracteurs équipés d'usine du système de basculement électrique commencent au point 17.
- Commencez par enlever le couvercle de batterie sur le côté gauche de l'unité. Pour enlever le couvercle, poussez en arrière sur la partie en face du support de godet ; le couvercle pivotera ensuite vers le haut.
- Enlevez le connecteur de batterie à l'aide d'une clé de 7/16" et soulevez la batterie pour lasorting.
ATTENTION: Pour éviter une gerbe d'étinçilles au niveau de la batterie, enlevez toujours le conducteur négatif en premier avant d'enlever celui positif.

- Enlevez l'ensacheur et posez-le par terre.
- Déposez l'attache et l'axe de chape de la base de la poignée de basculement et enlevez ensuite cette dernière de la partie supérieure de l'ensacheur.

- Enlevez la poignée de l'ensacheur supérieur à l'aide d'un tournevis Phillips et d'une clé de 3/8".
- Enlevez la poignée de l'ensacheur arrêté à l'aide d'un tournevis Phillips et d'une clé de 3/8".
- Déposez la partie supérieure de l'ensacheur de l'ensemble.

8 À l'aide d'une douille de 7/16", enlevez l'écrou et le boulon de carrossier qui maintainné le support supérieur sur l'ensacheur.

9 Soulevez l'arbre transversal et enlevez le support supérieur de l'ensacheur.

10 Installez le nouveau support supérieur fourni dans le kit en le faisant glisser sur l'arbre transversal et alignez ensuite les trouss de boulons.

11 À l'aide d'une douille de 7/16", remettez en place l'écrou et le boulon de carrossier pour maintainir le support supérieur.

- Remettez en place le couvercle de l'ensacheur et les poignées à l'aide d'une douille de 3/8" et d'un tournevis Phillips.

- Acheminez les câbles des cavaliers de façon à ce que les bouclés à œillet et la prise de commutation se trouvent dans le trou de batterie et la prise de l'actionneur passer dans la plaque arrêté le long du support de l'ensacheur sur le côté gauche du tracteur.

- Remettez la batterie en place.
Veillez à ce que les cables soient acheminés au-dessus de la batterie, à partir de l'angle droit arrêté.

Reliez en premier le cable rouge à la borne positive, puis le cable noir à la borne négative. Veillez à ce que les conducteurs soient posés à plat contre la batterie avant de serrer les pièces.

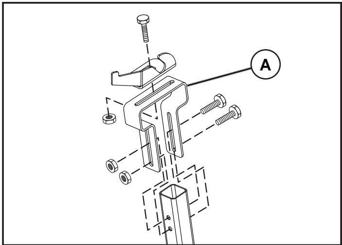
- Déposez les boulons maintainant le support de réglage au tube de support et enlevez ensuite le support de pivot du support de réglage. Remplacez le support de réglage (A) par le modèle haute résistance fourni dans le kit. Effectuez cette opération sur les deux côts du tracteur.
REMARQUE: Il se peut que l'ensacheur doit être régle. Pour les opérations de réglage, consultez le manuel du propriétaire/ opérateur du tracteur.

- À l'aide d'une clé de 9/16" et d'une douille de 9/16", enlevez le boulon et l'écrou qui Maintain le support de l'ensacheur au chassin de support de l'ensacheur.

LES INSTRUCTIONS DE MONTAGE POUR LES TRACTEURS ÉQUIPÉS D'USINE DU SYSTEME DE BASCULEMENT ELECTRIQUE COMMEN-CENT ICI.
- Montez le support inférieur sur le chassinis de support de l'ensacheur et alignez le trou de montage par rapport au trou dans le chassinis. Montez le boulon de carroserie de 2 1 / 2 du kit à travers le trou de montage en veillant à ce que l'extrémité filtée du boulon soit orientée vers la ligne mediane du tracteur. Le support s'allongeant depuis la plaque arrêté devrait être monté entre le chassinis et le support inférieur.
- À l'aide d'une douille de 9/16", montez l'écrou de blocage et la rondelle fournis dans le kit sur le boulon de carrosserie de 2 1/2" et serrez.

- À l'aide de l'axe de chape de 2-3/8", montez l'actionneur sur le support inférieur avec le moteur orienté vers l'avant du tracteur.
- Enforcez une attache dans le trou à l'extrémité de l'axe de chape de 2-3/8".

- Reliez les connecteurs de cable entre l'actionneur et le faisceau. Utilisez les serre-cables fournis dans le kit pour fixer les cables au chassin de l'ensacheur.

- Faites passer le faisceau dans l'ouverture de l'interrupteur et fixez le nouveau couvercle de batterie.
- Branchez le faisceau dans l'interrupteur.
- Introduisez l'interrupteur dans le couvercle de batterie.
- Appuyez sur l'interrupteur pour allonger complètement l'actionneur tout en soutenant l'actionneur de la main droite.


ATTENTION : Veillez à ce que l'actionneur ne force pas sur la plaque arrière.
26. Avec l'actionneur reposant sur la plaque arrière, remontez l'ensacheur à l'arrête du tracteur.

27. Introduisez le couvercle à trou du kit dans le trou de la partie supérieure de l'ensacheur où se trouve la poignée de bas-culument.
28. Détachez la grille du chassinis de l'ensacheur sur le côté gauche du tracteur pour pour avoir accès à l'actionneur.

REMARQUE: Allongez ou raccourcissez l'actionneur pour aligner le trou de montage par rapport à la fente du support supérieur.
29. Une fois l'ensacheur accessible, reliez l'actionneur au support de pivot supérieur à l'aide de l'axe de chape de 1-3/4".
30. Accédez à l'ensacheur et utilisez une attache fournie dans le kit pour fixer l'axe de chape de 1-3/4".
- Utilisez l'interrupteur pourSoulever l'ensacheur et attachez de nouveau la grille de I'ensacheur sur le cote du chassin de I'ensacheur.
- Apposez l'étiquette d'avertissement sur l'aile du tracteur.
POUR UTILISER LE SYSTÉME DE BASCULEMENT ÉLECTRIQUE
REMARQUE : Pour les tracteurs équipés d'usine du système de basculement électrique, le contacteur d'allumage doit être en position « ON » (MARCHE) pour que l'ensacheur bascule. Ce n'est pas le cas des tracteurs rétrofités avec le kit.
AVERTISSEMENT: Tenez les doigts et les objets à l'écart de l'ensacheur pendant le fonctionnement.
POUR FAIRE BASCULER L'ENSACHEUR
Votre tracteur est équipé d'une alarme de basclement d'ensacheur. Pour couper l'alarme, désengagez la commande d'embrayage de l'outil.
ATTENTION: NE posez aucun objet au-dessus de l'ensacheur et ne vous penchez pas au-dessus.
- Placez le tracteur à l'endetroit voulu pour faire basculer l'ensacheur.
Assurez-vous que le groupe boîte-pont est en position neutre. Serrez le frein de stationnement.
Pour faire basculer les couteaux, tournez l'interrupteur de basculement electrique dans le sens inverse des aiguilles d'une montre jusqu'à ce que l'ensacheuratteigne sa position la plus haute.

Pour continuer de faucher, tournez l'interrupteur de basculement électrique dans le sens des aiguilles d'une montre jusqu'à ce que l'ensacheur soit complètement abaisse.

IMPORTANT: Le système de basculément électrique peut être équipé d'un dispositif de protection contre la surcharge. Si l'ensacheur est surcharge, il coupera l'alimentation électrique du système. Le dispositif de protection reviendra automatiquement à l'état initial après 2 minutes environ. Une fois que le système s'est remis à l'état initial, voirlez à ce qu'aucun objet ne soit posé sur l'ensacheur ou appuyé contre lui pour éviter de surcharger le système. Ouvrez légèrement le sac à l'aide de l'interrupteur et utilisez ensuite un petit râteau ou un outil similaire pour vider le sac. Àpres avoir enlevé la charge excessive, faites basculer l'ensacheur à l'aide du système de basculément électrique.
Notice Facile