MODE D'EMPLOI CTH 182T HUSQVARNA
Manuel d'instructions
Merci de lire très attentivement le manuel d'instructions. Assurez-vous d'avoir tout compris avant d'utiliser ce tracteur.
Nous nous réservons le droit d'apporter des modifications sans avis préalable.
- Lisez toutes les instructions soignement. Familiarisez vous avec les commandes pour apprendre à utiliser efficacement cette machine.
- Ne jamais autoriser les enfants ou les personnes qui n'auraient pas lu ce manuel d'utilisation à utiliser ce tracteur de pelouse. La règlementation locale peut de plus interdire l'utilisation de telle machine au-dessous d'un certain âge.
- Ne jamais tondre à proximé de personnes, d'enfants ou d'animaux.
- Ne pas oublier que tout utiliseur ou propriete d'un tracteur de pelouse est responsable des accidents ou dommages causés à une personne ou a ses biens.
- Ne transporte pas de passagers.
-
Tous les utilisateurs doivent rechercher et obtenir une formation personnelle sérieuse et pratique qui devra insister :
-
sur la nécessité absolue d'être attentif et concentré lorsqu'on utilise un tracteur de pelouse,
- le fait qu'un tracteur de pelouse glissant sur une pente ne pourra pas etre arrete en appuyant simplement sur la pedale de frein.
Les raisons principales de cette perte de contrôle sont :
a) l'adhérence insuffisante des pneus,
b) une conduite trop rapide,
c) un freinage insufficient,
d) un tracteur de pelouse inadaptee aux conditions d'utilisation.
e) une mauvaise appréciation des contraintes résultat de la nature du terrain à entretenir et, tout particulièrement de la présence de pentes sur ce terrain,
f) l'attelage incorrect d'une remorque et la mauvaise répartition des masses.
II. PREPARATION
Pour réduire le risque d'incendie - avant l'utilisation, lorsque vous faites le plein et chaque fois que vous cesse de tondre - inspectez le tracteur et éliminez tous les débris accumulés sur le tracteur, la tondeuse et derrière les protections.
- Pendant la tonte, ne porter que des chaussures solides et des pantalons longs. Ne jamais tandre pieds nus ou chaussede sandales.
- Contrôlez systématiquement et soigneusement l'état de la surface à tondre et retarder tous les objets susceptibles de devenir des projectiles lors du passage de la machine.
- ATTENTION - Le carburant est très inflammable.
III. UTILISATION
- Ne jamais demarrer un moteur à l'intérieur dans un espace confiné où des émanations dangereuses de monoxyde de carbone pourrait s'accumulées.
Tondre uniquement à la lumière du jour ou avec une bonne luzière artificielle.
- Avant de tenter de démarrer le moteur, s'assurer que les lames sont débrayées et que la boîte de vitesses est au point mort.
- Ne jamais utiliser un tracteur de pelouse sur des pentes supérieures à 15^ .
-
Se souvenir qu'il n'este pas de pente «sûre». Conduire sur des pentes herbeuses demande une attention particulière. Afin d'éviter tout risque de returnement du tracteur, appliquer avec soin les consignes suivantes :
-
ne pas s'arrête ou démarrer brusquement dans une pente,
- embrayer doucement et ne jamais arrêté le tracteur de pelouse dans une pente, et plus particulièrement dans le sens de la descente.
- conduire toujours lentement dans les pentes, tout comme dans les virages serrés,
- faire attention aux irrégulatés du terrain,
-
ne jamais tondre en travers d'une pente, à moins que le tracteur de pelouse n'ait eté spécialement concu à cet effet.
-
Faire attention lors de la traction de charges ou lors de l'utilisation d'équipements lourds.
-
N'utiliser que des points d'attelage approuvés.
- Limiter les charges à celles qu'il est possible de contrôler avec sécurité.
- Ne pastournertrop brusquement. Rester très prudent lors des conduites en marche arrière.
-
Utiliser les masses de roues oules contrepoids lorsqu'ils sont conseillés dans ce manuel d'utilisation.
-
Faire attention à la circulation lorsque l'on doit utiliser le tracteur près d'une route ou lorsqu'on doit traverser une route.
- Toujours stopper la rotation des lames lorsqu'on doit traverser une surface autre que du gazon.
- Lors de l'utilisation d'accessoires, ne jamais les utiliser ou les déposer à proximité de celui'un.
- Ne jamais utiliser le tracteur à gazon avec un déflecteur ou protecteur défectueux, ou sans les dispositifs de protection en place.
-
Conserver le régime de rotation du moteur et ne jamais le faire fonctionner au dessus de son régime nominal car cela peut être dangereux.
Avant de quitter le siège :
-
débrayer les lames et abaiser le carter de coupe,
-mettre le levier de vitesse au point mort et enclencher le frein de parking,
-
arrête le moteur et-retirer les clés,
-
Débrayer les lames, arrêté le moteur, et débrancher le (s) fil (s) de (s) bougie (s) d'allumage ou retarder la cléf de contact :
-
avant de retirer l'insert broyeur ou avant de retirer la goulotte d'éjection pour la nettoyer.
- avant de contrôle, nettoyer ou travailler sur le carter de coupe,
- avant de-retirer un objet coincide dans le tracteur de pelouse. Dans ce cas inspector aussitot la machine pour s'assurer qu'elle n'est pas endommagée et, si nécessaire, faire ou faire faire impérativement les réparations avant de la remettre en marche et de la faire fonctionner à nouveau.
-
si lamachinemcconcéàvibreranormalement.Dans ce casverifierimmediatementle carterdecoupe.
-
Débrayer systématiquement les lames quand le tracteur n'est pas utilisé ou quand il doit être transporte.
Débrayer les lames puis arrêté le moteur :
-
avant de faire le plein d'essence,
- avant d'enlever le collecteur,
- avant de régler la hauteur de coupe à moins que ce réglage ne puisse s'effectuer du poste de conduite.
Lorsque la tonte est terminée, réduire les gaz avant de couper le moteur et, si le tracteur de pelouse est équipée d'un robinet d'arrêt du carburant, fermer celui-ci.
IV. ENTRETIEN ET ENTREPOSAGE
- S'assurer que tous les écrous, boulons et vis sont bien serrés pour être certain que l'équipement est pré à fonctionner de nouveau, dans de bonnes conditions.
- Ne jamais entreposer le tracteur de pelouse avec du carburant dans le réservoir, dans un batiment où les vapeurs pourrait s'enflammer au contact d'une flamme ou d'une étincelle de l'allumage.
- Attendre le refroidissement du moteur avant d'entreposer la tondeuse autoportée dans un espace fermé.
Pour supprimer les risques d'incendie s'assurer que le moteur, le pot d'échéppement, le logement de la batterie et du réservoir de carburant ne sont pas encrassés par de l'herbe, des feuilles ou des surplus de graisse.
- Vérifier souvent le bac ou le collecteur pour vous assurer qu'il est propre et qu'il n'est pas endommagé.
Pour plus de sécurité, remplacer systématiquement les pieces usées ou détiériorées.
- Si le réservoir de carburant doit être vidangé, procédé à cette opération à l'extérieur.
- Sur les tracteur de pelouse multi-lames, ne pas oublier que la rotation d'une lame peut entraîner celle des autres.
- Quand le tracteur de pelouse est garé, entreposé ou tout simplement inutilisé, régler la hauteur de coupe dans sa position la plus)basse.

ATTENTION: Toujours débrancher le fil de la bougie d'allumage et le placer de telle sorte qu'il ne puisse, enaucun cas,enteren contact avec la bougie afin de prévenir les démarrages accidentels,lors du montage,du transport,des réglages ou des réparations.
ES I. INSTRUCCION
Ces symboles peuvent figurer sur tracteur ou dans les publications fournies avec le produit. Apprenez à comprendre la signification de ces symboles.

Ces symboles peuvent figurer sur tracteur ou dans les publications fournies avec le produit. Apprenez à comprendre la signification de ces symboles.

FR Montage du volant de direction
- Monter les composants du volant de direction en suivant l'ordre indiqué.
- S'assurer que les roues avant sont alignées et que la traverse mediane du volant est perpandiculaire à l'axe du tracteur.
Retirer le bouton de réglage et la rondelle plate qui fixent le siège à l'emballage de carton, le conserver pour le montage du siège sur le tracteur.
Basculer le siège vers le haut et le sortir de l'emballage de carton. Se débarrasser ensuite de l'emballage.
Placer le siège sur son embase de façon que la tête de la vis à épaulement se place dans le trou à l'extrémité de la large fente de l'embase (1).
Pousser le siège vers le bas pour engager la vis à épaulement dans la fente puis repousser le siège vers l'arrière du tracteur.
La position du siège seul, par rapport à la position de la pédale de frein et d'embrayage, est régliable. Rechercheur une position assise correcte en déplacant le siège vers l'avant ou vers l'arrière. Serrer ensuite à fond la vis de réglage (2).
(ES) Asiento
Vérifier que le cable électrique est bien connecté sur le contacteur de sécurité (3) place sous l'embase du siège.

NOTA:
(FR) 1. Capotage de batterie
- Cable (+)
- Câble (-)
- Carrosserie
- Borne de la batterie
- Batterie
NL 1.Accudeksel
- Kabel positieve (+)
- Kabel negative (-)
- Stootwand
- Accuklem
- Accu

GB Install battery
FR Mise en place de la batterie
REMARQUE: Si la batterie est mise en service au-delà de l'année et du mois indiqués sur l'étiquette, recharger la batterie, pendant une heures au moins, à 6-10 A.
A TENTION: Avant de mettre en place la batterie, prendre la precaution de retirer gourmette, montre-bracelet, anneau, etc. Leur contact avec la batterie pouvant entraîner des brûlures.
- Retirer le capotage de la batterie
ATTENTION: La borne positive doit être connectée la première fois afin d'éviter les étincelles qui peuvent se produit à la suite d'une mise à la masse accidentelle.
Retirer les capuchons de protection des bornes et les méttre de côté. Placer la batterie dans son logement, les bornes du côté extérieur. Raccorder en premier le cable rouge (+) à la borne positive de la batterie puis le cable noir (-) à la borne négative. Fixer les deux cables à l'aide des vis et des écrous fournis. Graisser les bornes de la batterie avec uneGRAISSÉ résISTante à l'humidité (vaseline) afin d'éviter la corrosion. Replacer le capotage de la batterie.

Assemblage des composants du collecteur

- Goulotte d'éjection
- Ecrou 3/8
-
Rondelle plate
-
Retirer la goulotte d'éjection (1). Pour cela, libérer les deux attaches élastiques à l'arrière du tracteur et tirer la goulotte d'éjection hors du tracteur.
- Dévisser etsterolles deuxécrous ainsi que les deux rondelles plates des vis situées sur le panneau arriere du tracteur (Voir figure).

- Ecrou frein diam. 3.8
- Rondelle plate
-
Chássis porteur.
-
A l'aide des écrous et des rondelles plates qui ont été retirés précédement du panneau arrêté du tracteur, assembler le châssis porteur du collecteur sur le panneau arrêté comme indiqué sur la figure.
-
Bras support supérieur
- Cheville defixation 10x17mm
- Ecrou frein 3/8
- Vis H 3/8 x 63,5
- Rondelle plate diam. 10,3 mm (13/32")
- Epingle

- Positionner les deux bras supports supérieurs à travers le panneau arrêté du tracteur et puis insérer la chevelle 10 × 17 ~mm et la bloquer à l'aide de l'épingle.
- Assembler chacun des deux bras supports à la face extérieure des tubes verticaux du chassin porteur du collecteur à l'aide des deux vis à tête hexagonale 3/8 x 63,5 mm, des deux rondelles plates 13/32" et des deux écrous frein 3/8 contenus dans la pochette de pieces détachées. Serrer à fond.

- Crochet
- Goulotte d'éjection
-
Trous dans le panneau arrête du tracteur
-
Replacer la goulotte d'éjection dans son logement au travers de la trappe d'éjection du panneau arrêté. Immobiliser la goulotte avec les deux attaches élastiques (Voir figure).
NOTE: Les crochets des attaches élastiques doivent être accrochés uniquement aux troués prévus à cet effet dans la goulotte d'éjection (2) (Voir figure). Ne pas laisser les crochets pénétrer dans les troués du panneau arrêté du tracteur (3) (Voir figure). ce qui empêchérerait la goulotte d'éjection de flotter avec le carter de coupe lorsque le tracteur se déplace sur un terrain irrégulier.
- Armature frontale
- Bande d'étanchéité en vinyle


- Entreposes
- Epingle
- Bande d'étanchéité en vinyle

- Levier de vidayage du collecteur
- Cheville defixation 10 x 44mm
- Epingle
-
Chapeau
-
Le capotage du collecteur doit etre aligné sur lecapotage des ailes arrieresdu tracteur
- Crochet régliable pour la fixation du collecteur
- Etrier de réglage de la position du collecteur
- Loquet de l'ensacheur

Pour assembler le collecteur
- Déplier le sac en faisant basculer complètement vers l'avant le tube antérieur de l'ensacheuse et en poussant la cordure inférieure en vinyle sur le tube.
- Dans le sac, placer les entreprises et les ressorts de retenue sur les goupilles des deux cots du sac, de la façon illustrée.
- Enconcer les cordures en vinyle sur les deux cots du tube antérieur de l'ensacheuse.
REMARQUE : Pour les tracteurs équipés d'un système de basculement électrique, consultez les instructions du kit pour plus d'informations sur les procédures de montage.
Basculement manuel seul :
- Insérer le levier de vidage du collecteur dans le trou prévu à cet effet sur le capotage supérieur du collecteur, puis insérer la cheville et la bloquer à l'aide de l'épingle.
- Poussez le chapeau au-dessus de l'extrémité de la poignée de décharge du sac.
REMARQUE : Ultérieurement la cheville et l'épingle pourront être retirees de façon à permettre l'utilisation du levier de vidage pour débourrer, si besoin est, le canal d'éjection du tracteur.

Positionnement du collecteur
Pour optimiser le fonctionnement du collecteur et son appar-. ence, il est nécessaire de le positionner correctement. Il doit y avoir un jeu de 6 a 9 mm entre le collecteur et la partie arriere du tracteur. La surface supérieure du capotage du collecteur doit se situer exactement dans l'alignement de la surface supérieure du capotage des ailes arrières du tracteur.
Réglage de la position horizontale
- Desserrer les écrous de fixation des crochets d'attelage du collecteur sur les étriers de réglage droit et gauche. Desserrer au minimum afin que les éléments gardent leur position mais puissant néanmoins être déplacés légèrement.
- Déplacer les crochets en avant ou en arrêté, juste de ce qu'il faut pour obtenir la bonne position du collecteur dans le plan horizontal. Bien presserrer les écrous.
Réglage de la position verticale
- Desserrer les écrous de fixation des étriers de réglage du collecteur permettant le réglage dans le plan vertical. Desserrer au minimum afin que les éléments gardent leur position mais puissant néanmoins seront déplacés légèrement.
- Déplacer les étriers vers le haut ou vers le bas, juste de ce qu'il faut pour obtenir la bonne position du collecteur dans le plan vertical. Bien resserrer les écrous.
- Repositionner le collecteur sur ses crochets d'attelage afin d'en vérifier l'ajustement. Si le résultat n'est pas conforme aux instructions, répéter les opérations ci-dessus jusqu'à obtention d'un ajustage parfait.
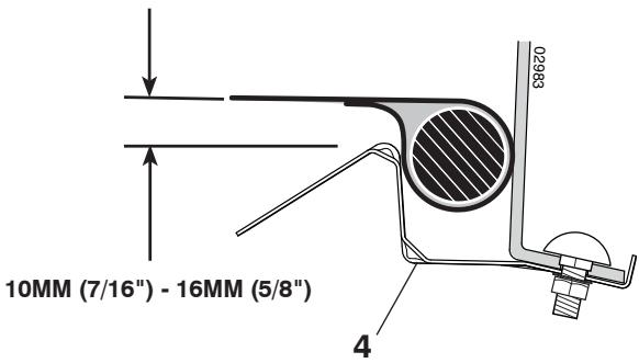
Lorsque le réglage est correct, otez l'ensacheur du tracteur et montez le loquet de l'ensacheur (4) sur la plaque arrêté du tracteur de la façon illustrée. Serrez solidement.
- Installez et baises prudemment l'ensacheuse pour actionner le loquet.
- Mesurez la distance entre l'ensacheuse et le loquet de la façon illustrée. Si la distance n'est pas égale à 10mm - 16mm, otez prudemment l'ensacheuse et répétez le réglage vertical.

Pour optimiser les fonctions ramassage, broyage ou éjection, se reporter au (chapitre 5) de ce manuel d'utilisation.

Les roulettes de jauge sont correctement régles lorsqu'elles se trouvent légarement au-dessus du sol pendant la tonte, le carter de coupe étant à la hauteur désirée pour la coupe.
- Régler les roulettes de jauge lorsque le tracteur se trouve sur un terrain plat.
- Régler le carter de coupe à la hauteur de coupe désirée.
Lorsque le carter de coupe est à la hauteur souhaitée, la roulette de jauge doit être placée légarement au dessus du sol. Fixer la roulette de jauge dans le trou approprié du supportitué sur le carter de coupe à l'aide de la vis, de la rondelle plate 3/8 et de l'écrou frein 3/8-16. Serrer à fond.
- Répéter cette opération pour l'autre côté en plaçant la seconde roulette dans le trou correspondant à celui utilisé pour la première roulette de jauge.
(ES) PARA AJUSTAR LAS RUEDAS CALIBRADO-RAS
3. Description du fonctionnement.
Emplacement des commandes
- Interrupteur de commande des phares
- Commande des gaz
- Pédale d'embrayage et de frein
- Levier de commande de la transmission hydrostatique
- Embrayage/débrayage du carter de coupe
- Relevage et abaisissement du carter de coupe
- Clé de contact/démarrage
- Frein de parking
- Blocage et déblocage de la roue libre
- Réglage de la hauteur de coupe
- Starter
- Rappel Entetien/Compteur Horaire
- Interrupteur de basculement électrique (le cas échéant)
- Levier de paillage

- Interrupteur des phares

- Interruptor de alumbrado

- Interruttore luci

La commande des gaz permet de faire varier le régime du moteur et donc la vitesse de rotation des lames.

= Régime rapide

= Ralenti

2. Accelerador
3. Pédale de frein/D'embrayage
Permet de débrayer et de freiner le tracteur et de démarrer le moteur.

3. Pedal del embrace/Freno
4. Levier de commande de la transmission hydrostatique
Le levier peut etre place dans quatre positions differentes :
N = Position neutre
S = Vitesse lente
F = Vitesse rapide
R = Marche arrête
Le levier peut être déplace progressivement de S à F afin d'obtenir la vitesse désirée.

- Commande d'embrayage et de débrayage du carter de coupe

6. Relevage et abaisissement du carter de coup
Tirer sur le levier vers l'arrière (1) pour relever rapidement le carter de coupe lors du passage sur une surface accidentee. Pour le transport, le carter de coupe doit etre dans sa position la plus elevée (releve au maximum). Pour cela, tirer le levier vers l'arriere jusqu'a sa butee. Pour abaiser le carter de coupe, tirer legerement le levier vers l'arriere (1) puis enfoncer le bouton poussoir (2) situé sur le dessus du levier, ramener ensuite le levier vers I'avant (3) en maintainant la pression sur le bouton poussoir.

La clé de contact a quatre positions différentes.
OFF Le circuitélectrique est coupé (eteint)
ROS ON Sécurité Marche Arrière (ROS) branchée
ON Le circuitélectrique est fermé(allumé)
START Le démarreur du moteur est alimenté
Le dispositif de sécurité marche arrière permet de faire fonctionner une faucheuse ou tout autre équipement quand la marche arrière est enclenchée (Voir Section 5 - "Conduite").
ATTENTION!
Lorsque la machine doit rester sans surveillance, même pour un court instant, toujours arrêté le moteur,mettre le levier de commande de vitesse au point mort (Neutre) etsteroler la clé de contact.
8. Frein de stationnement
Pour enclenger le frein de stationnement :
- Enfoncer à fond la pédale d'embrayage/frein.
- Relever vers le haut le levier du frein de stationnement et le maintainir dans cette position.
- Relâcher la pedale d'embrayage/frein. Relâcher le levier du frein de stationnement qui restera dans sa position verrouillée (en haut).
Pour desserrer le frein de parking, il suffit d'enforcer la pédale d'embrayage/frein pour que le levier du frein de parking soit déverrouille et qu'il revienne automatiquement dans sa position de repos.

9. Blocage et déblocage de la roue libre
Pour remorquer ou déplacer le tracteur sans l'aide du moteur, la commande de roue libre, qui se trouvesur le tablier arrêté du châssis du tracteur, doit être tirée vers l'extérieur et bloquée dans cette position.

9. Acoplamento y Desacoplamente de Rueda Libre
FR 10. Réglage de la hauteur de coupe
Pour régler la hauteur de coupe, tirer vers l'arrière le levier de releavage du carter de coupe et faire tourner simultanément le bouton moité du système de réglage de la hauteur de coupe. Pour augmenter la hauteur de coupe, faire tourner le bouton moité dans le sens des aiguilles d'une montre. Pour la diminuér, le faire tourner en sens inverse.
ES 10. Ajuste de la alta de corte
Lorsque le moteur est froid, tirer le bouton de commande du starter avant d'essayer de démarrer. Dès que le moteur a démarré et tourne régulièrement, repousser le bouton de commande.
(FR) 14. Rappel Entetien/Compteur Horaire
Indique àquel moment exécuter les opérations d'entretien du moteur et de la tondeuse.
17. Interrupteur de basculement électrique (le cas échéant)
Votré tracteur est équipé d'un système de bascurement électrique.

AVERTISSEMENT: Tenez les doigs et les objets à l'écart de l'ensacheur pendant le fonctionnement.
- Pour soulever l'ensacheur, tournez l'interrupteur de basculement électrique dans le sens inverse des aiguilles d'une montre.
- Pour abaisser l'ensacheur, tournez l'interrupteur de basculement électrique dans le sens des aiguilles d'une montre.
REMARQUE: Le contacteur d'allumage doit'être en position « ON » (MARCHE) pour que l'ensacheur bascule.

Votre tracteur est doté d'une fonction de « paillage EZ ». Pour activer la fonction de paillage, déplacez le levier de paillage à gauche. Pour désactiver la fonction de paillage et utiliser le tracteur en mode éjection, déplacez le levier de paillage à droite.
ES 18. Palanca de acolchado
4. Avant de démarrer. 4. Antes del arranque.
(FR) Plein de carburant
Utiliser de l'essence pure (sans ajouter d'huile) sans plomb. Remplir le réserve jusqu'àu bord inférieur de l'orifice de remplissage, jamais plus haut.
ATTENTION!
L'essence est un produit inexplamable. Prendre les précautions nécessaires et faire le plein en extérieur. Ne jamais fumer lors du replissage du réservoir, ou à proximité, et ne pas refaire le plein tant que le moteur est encore chaud. Ne pas trop replir le réservoir, penser à l'expansion de l'essence à la chaleur ce qui risquerait d'entrainer le débordement du réservoir. Toutjours s'assurer, après le plein, que le bouchon du réservoir est correctement visse et serré. Conserver l'essence dans un écipient spécialément concu à cet effet et dans un local frais et aéré. Vérifier régulièrement le réservoir et le circuit d'alimentation en carburant.
L'orifice de replissage avec son bouchon/jauge est accessible après basculement du capot moteur vers l'avant. Le niveau d'huile du moteur doit être contrôle avant chaque utilisation. S'assurer que le tracteur se trouve bien à plat, dévisser le bouchon avec sa jauge, essuyer cette dernière. Remettre en place le bouchon/jauge et le revisser. Attendre quelques secondes et-retirer à nouveau la jauge. Contrôler le niveau de l'huile sur la jauge.

FR Pression de gonflage des pneus
Vérifier régulièrement la pression de gonflage des pneus. La pression de l'air dans les pneus doit être de 1 bar pour les roues avant et de 0,8 bar pour les roues arrirées.
(FR) Demarrage du moteur
S'assurer que le carte de coupe est en position de transport (en position supérieure) et que le levier pour l'embrayage/débrayage du carte de coupe est en position de débrayage.
ES Arranque del motor
FR Tourner la clef de contact en position de démarrage "START".
REMARQUE
Ne pas faire tournier le démarreur pendant plus de 5 secondes à la fois. Si le moteur ne démarre pas, attendre une dizaine de secondes avant de refaire un essai de démarrage.
ES Ponga la llave de encendido en la posicion de arranque "START".
NOTA
FR Laisser revenir la cléf de contact à la position "ON" lorsque le moteur a démarré. Amener la manette de gaz à la position de régime moteur désire. Pour la coupe, positionner la manette dans l'encôche correspondant au régime moteur optimal pour la tonte (accelération maximale du moteur).
Es Dejar que la llave de encendido vuelva a la posicion "ON" cuando ha arrancado el motor. Ponga el acelerador en la posicion deseada. AlURTAR, a plenos gases.
Dopol'avviamento, riportare la chiave su "ON". Regolare il gas sul regime desiderato. Per il taglio: massimo regime "F".
NDraai de startsleutel terug in "ON"-posotie. Schuif de gashendel maar het gewenste toerental. Bij maaien: vol gas.

IMPORTANT! COLD STARTING FOR HYDRO
COLD STARTING FOR HYDRO (BELOW 40^[4^] ) - AFTER STARTING ENGINE AND BEFORE DRIVING, LET TRANSMISSION WARM UP FOR ONE (1) MINUTE BY PLACING MOTION CONTROL LEVER IN NEUTRAL (N) POSITION AND RELEASING CLUTCH/BRAKE PEDAL.

Pour assurer un fonctionnement et un rendement corrects, il est recommandé de purger la transmission avant d'utiliser le tracteur pour la première fois. Cette opération supprimera l'air emprisonné à l'intérieur de la transmission pendant le transport du tracteur.
ATTENTION! SI LA TRANSMISSION A ETE DEPOSE POURSONENTRETIENOUSONREMPLACEMENT,ELLE DEVRA ETRE PURGEE APRES SON REMONTAGE ET AVANT REUTILISATION DU TRACTEUR.
- Placer le tracteur sur une surface plane afin qu'il ne puisse pas rouler dans aucune direction. Le frein de stationnement doit être desserré pour effectuer les opérations suivantes.
- Débrayer la transmission en plaçant la commande de roue libre sur sa position de marche en roue libre (Se référer à la section "TRANSPORT" de ce livre).
- Demarrer le moteur etmettre la commande des gaz en position de ralenti. S'assurer que le frein de stationnement n'est pas serré.
- Déplacer à fond le levier de commande d'avancement en position de marche avant et le maintainir ainsi pendant 5 secondes. Déplacer ensuite à fond le levier en position de marche arrrière et le maintainir ainsi pendant 5 secondes. Répéter ces opérations 3 fois de suite.
- Déplacer le levier de commande d'avancement en position de point mort (N).
- Arrête le moteur du tracteur en amenant la clé de contact sur sa position d'arrêt (OFF).
- Embrayer à nouveau la transmission en replacant la commande de roue libre dans sa position "embrayée" (Voir section "TRANSPORT de ce manuel).
- Redémarrer le moteur et placer la commande des gaz en position de ralenti.
- Faire avancer le tracteur de 1 à 2 mètres en marche avant, puis de la même distance en marche arière. Répéter cette opération 3 fois de suite.
- Le tracteur est maintainant prêt pour une utilisation normale.

PURGAR LA TRANSMISSION
La machine est équipée d'un dispositif de sécurité qui arrête le moteur immédiatement, s'il est encore en fonctionnement, lorsque le conducteur quitte le siège. Le carter de coupe est également muni d'un dispositif de sécurité qui empêche l'embrayage des lames tant que le collecteur ou le déflecteur (en option) ne sont pas correctement mis en place à l'arrêté du tracteur.
ES NOTA!
Abaisser le carter de coupe en amenant le levier vers l'avant. Relâcher doucement la pédale d'embrayage/frein. Embrayer les lames et placer la commande de vitesse d'avancement sur la vitesse d'avancement désirée. Choisir la vitesse d'avancement en fonction du terrain et de la qualité de toute désirée (Généralement, la position optimale correspond à l'encôche prévue à cèteffet auniveau de la commandes des gaz).
Conducción
FR Sécurité Marche Arrière (ROS)
Votre tracteur est équipé d'un dispositif de sécurité de fonctionnement en marche arrière (ROS). Dès que l'opérateur essaie d'enclencher la marche arrière en actionnant l'embrayage de l'équipement, le moteur s'arrête si la clé de contact n'est pas en position ROS "ON" (sécurities marche arrière).
ATTENTION! Il est fortement déconseilé de faire marche arrrière avec l'embrayage de l'équipement enclenché. Mettre la sécurité ROS en position "ON" pour faire marche arrrière avec l'embrayage de l'équipement enclenché uniquement lorsque l'opérateur decide que cette opération est nécessaire pour repositionner le tracteur avec l'équipement enclenché. N'utiliser la faucheuse en marche arrrière que si c'est absolument nécessaire.
UTILISATION DU DISPOSITIF DE SECURITE ROS
- Mettre le levier de contrôle sur la position neutre (N).
- Laisser tournier le moteur et tourner la clé de contact vers la gauche sur ROS "Marche" (ON).
- Regarder en bas et derrière avant de faire marche arrière.
- Déplacer lentement le levier de contrôle sur la position marche arrière (R) pour faire reculer le tracteur.
- Quand les manœuvres avec le dispositif ROS sont terminées, tourner la clé de contact vers la droite sur la position Moteur "Marche" (ON).
FR Conseils pour la tonte
- Retirer de la pelouse, les pierres et autres objets qui pouraient'être propulsés par les lames et doivent ainsi des projectiles dangereux.
- Localiser et marquer les pierres et autres obstacles fixes afin d'eviter une éventuelle collision pendant la tonte.
- Commencer par couper assez haut, puis réduire progressivement cette hauteur de coupe jusqu'à obtention du résultat souhaité.
- Le meilleur résultat de coupe sera obtenu avec un régime de rotation du moteur élevé (Les lames tournent très vite) et une vitesse d'avancement réduite (Le tracteur avance lentement). Si l'herbe n'est pas trop longue, nitropépaissé, vous pouze augmenter la vitesse en passant une vitesse supérieure ou en augmentant la vitesse du moteur, sans compromètement le résultat final.
- Les plus belles pelouses sont celles qui sont tandues souvent. La coupe est plus régulière et l'herbe est mieux répartie sur la surface. Le temps passé pour effectuer la tonte ne sera pas nécessairement plus important, car la vitesse d'avancement pourra être plus élevé sans que l'aspect de la pelouse n'en soit affecté.
- Eviter de tandre une pelouse mouillée, car la qualité de la coupe ne pourrait être correcte du fait de l'enforcement des roues du tracteur dans le sol.
- Nettoyer le carter de coupe, et en particulier le fond, au jet ou au nettoyeur à haute pression, après chaque utilisation. Une raclette peut être utile pour décoller l'herbe fraîche du carter ou de la goulotte d'éjection.
Pour vider le bac (Basculement manuel seulement)
Votre tracteur est équipé d'une alarme sonore qui vous avertit lorsque le bac est plein. Pour arrêter l'alarme, débrayer les lames.
- Amener le tracteur la ou vous souhaitez le décharger.
- Vérifier que la boîte de vitesse est au point mort. Engagez le frein de stationnement.
- Tirer le leiver de vidange du bac vers le haut puis vers l'avant afin d'ouvrir le bac et vider l'herbe coupée.
- Remetre ensuite le levier dans sa position initiale. Vérifier que le collecteur est bien refermé et qu'il se trouve dans la bonne position avant de réembrayer les lames.

Interrupteur de basculement électrique (le cas échéant)
A VERTISSEMENT: Tenez les doigts et les objets à l'écart de l'ensacheur pendant le fonctionnement.
REMARQUE: Le contacteur d'allumage doit'être en position « ON » (MARCHE) pour que l'ensacheur bascule. Voitre tracteur est équipé d'une alarme sonore qui vous avertit lorsque le bac est plein. Pour arrêter l'alarme, débrayer les lames.
- Amener le tracteur la ou vous souhaitez le décharger.
- Vérifier que la boîte de vitesse est au point mort. Engagez le frein de stationnement.
Pour faire basculer les couteaux, tournez l'interrupteur de basculement electrique dans le sens inverse des aiguelles d'une montre jusqu'à ce que l'ensacheuratteigne sa position la plus haute.
Pour continuer de faucher, veillez à ce que l'espace autour du tracteur soit dégagé et tirez soigneusement en avant jusqu'à ce que l'ensacheur ait éliminé l'amas d'herbe. Lorsque l'ensacheur aura éliminé l'amas d'herbe, arrêtez le tracteur, assurez-vous que la boîte-pont est en position neutre, serrez le frein de stationnement et tournez l'interrupteur de basculement dans le sens des aiguilles d'une montre jusqu'à ce que l'ensacheur soit complètement abaisse.
ATTENTION: NE posezagleun objet au-dessus de l'ensacheur et ne vous penchez pas au-dessus.
IMPORTANT: Le système de basculement électrique peut être équipé d'un dispositif de protection contre la surcharge. Si l'ensacheur est surcharge, il coupera l'alimentation électrique du système. Le dispositif de protection reviendra automatiquement à l'état initial après 2 minutes environ. Une fois que le système s'est remis à l'état initial, voirlez à ce qu'aucun objet ne soit posé sur l'ensacheur ou appuyé contre lui pour éviter de surcharger le système. Ouvrez légèrement le sac à l'aide de l'interrupteur et utilisez ensuite un petit râteau ou un outil similaire pour vider le sac. Àpres avoir enlevé la charge excessive, faites basculer l'ensacheur à l'aide du système de basculement électrique.


- Ne jamais utiliser un tracteur sur des pentes excédant 15^ . Les risques de renversement étant alors très importantes.
- Ne jamais rouler parallètement à la pente du fait des risques de renversement. Tout jours rouler perpendicularément à la pente, aussi bien en montant, qu'en descendant.
- Ne jamais arrêté ou démarrer un tracteur en pente.

ADVERTENCIA!
Déplacez la commande de débrayage pour libérer la position. Déplacez la commande des gaz à mi-chemin entre la mi-vitesse et la vitesse maximum (rapide). Levez la barre de coupe et faites tournier la clé de contact sur STOP.
ES Apagar el motor
Ne jamais laisser la clé de contact sur la machine lorsqu'elle reste sans surveillance afin d'éviter que des enfants ou autres personnes non autorisées ne puissant démarrer le moteur.
ES ADVERTENCIA!
Avant toute intervention sur le moteur ou le carter de coupe suivre les instructions ci-dessous:
- Enconcer la pédale d'embrayage/frein pour verrouiller le frein de stationnement.
- Déplacer le levier de commande d'avancement en position de point mort.
Débrayer les lames.
- Arrête le moteur.
- Débrancher le cable d'allumage de la bougie.
ES ADVERTENCIA!
(2) Connexion des phares

(1) Cubierta
Relever le capot,
- Débrancher les phares,
- Àpres s'être placé devant le tracteur, prendre le capot par les côtes, le faire basculer vers l'avant puis le soulever pour le libérer des encoches qui le retiennent au chassin.
Pour le remetre en place, repositionner les ergots du capot dans les encoches du chassin.
Rebrancher les phares et refermer le capot.

Cubiertadel motor
REMARQUE: Le tracteur doit être entretenu régulierement afin de maintainir ses performances.
ATTENTION! Toujours débrancher le fil de la bougie, afin d'évitertout démarrage accidentel, lors d'une réparation, d'une inspection ou d'une opération de maintenance.
Avant chaque utilisation :
- Contrôler le niveau d'huile et lubrifier, si nécessaire, les points d'articulation,
- Vérifier que tous les boulons, écrous et épingle sont en place et solidement fixés,
- Contrôler la batterie, ses cosses et sa mise à l'air libre,
La recharger doucement à 6 ampères, si nécessaire,
Nettoyer la grille de ventilation du moteur,
Nettoyer le filtré à air,
- Nettoyer le tracteur afin d'évacuer la poussière et les brindilles qui risqueraient d'endommager le moteur ou de provoquer un échauffement anomal.
Vérifier le fonctionnement du frein.
Nettoyage
N'utilisez pas de nettoyeur haute pression pour le lavage. L'eau pourrait s'infiltrer dans le moteur et abréger ainsi la durée de l'appareil.
(ES) Mantenimiento
Vidange de l'huile du moteur
Montez le tuyau de vidange sur la soupape.
- Ouvrez la soupape de vidange en la faisant tourner en sens anti-horaire à l'aide d'une clé de 10mm.
Lorsque l'huile est entierement vidangée, fermez la soupape de vidange en la faisant tourner en sens hora. Serrez légerement à l'aide d'une clé de 10mm pour la fermer solidement. Ne serrez pas trop fort.
- Otez le tuyau de vidange et rangez-le en lieu sûr.
ES PARA CAMBIAR EL ACEITE
Consigner les dates d'intervention après chaque opération d'entretien.
| Selon les besoins | Toutes les 8 H | Toutes les 25 H | Toutes les 50 H | Toutes les 100 H | Toutes les 200 H |
| Vidange de l'huile moteur(sans filtré à huile) | | | • | | | |
| Vidange de l'huile moteur(avec filtré à huile) | | | | • | | |
| Graissage des articulations | | | • | | | |
| Vérification des freins | | | | | | |
| Nettoyage de la grille d'aération | | • | | | | |
| Nettoyage du filtré à air et du pré-filtre | | • | | | | |
| Remplacement de la cartouche du filtré à air | | | | | • | |
| Nettoyage des ailettes defroidissement moteur | | | | • | | |
| Remplacement de la bougie | | | | | • | |
| Vérification du gonflage des pneus | | | | | | |
| Remplacement du filtré à carburant | | | | | | • |
| Nettoyage des cosses de la batterie et des connexions | | | • | | | |
| Vérification du pot d'échéppement | | | | • | | |

Système de détction opérateur et sécurité de marche arrière (ROS)
S'assurer que les dispositifs de sécurité (présence opérateur et marche arrrière) fonctionnement correctement. Si votre tracteur ne fonctionne pas comme il est décrit plus haut,.Remédier au problème immédiatement.
Le moteur ne devrait pas demarrer si la pedale du frein n'est pas complètement appuyée et si l'embrayage de l'équipement n'est pas relaché.
VERIFIER LE CAPTEUR DE PRESENCE OPERATUR :
- Le moteur s'arrêtechaque fois que l'opérateur se lève de son siège sans avoir d'abord enclenché le frein de stationnement.
Le moteur s'arrêtechaque fois que l'opérateur se levede son siège et que l'embrayage de l'équipement estenclenché.
L'embrayage de l'équipement ne devrait jamais être enclenché si l'opérateur n'est pas assis dans son siege.
VERIFIER LE DISPOSITIF DE SECURITE MARCHE


ARRIERE (ROS) :
Le moteur s'arrêtechaque fois que l'opérateur essaie d'enclencher la marche arrière quand la clé de contact est sur la position Moteur "Marche"(ON) et que l'embrayage de I'équipment est enclenché.
Le moteur s'arrêtechaque fois que l'opérateur essaie d'enclencher la marche arrière quand la clé de contact est en position ROS "Marche" (ON) et que l'embrayage de l'équipement est enclenché.

Les lames doivent être parfaitement affutés pour obtenir une belle coupe. L'affutage peut être réalisé à l'aide d'une lime ou d'une meule.
REMARQUE: Il est très important d'affuter les deux extrémités de la lame de façon identique afin d'éviter tout déséquilibrage.
ES Cuchillas
ATTENTION: Les deux lames de la tondeuse sont différentes et chacune d'entre elles doit etreinstalleea sa place dans le carter de coupe. Il est vivement conseilé de travailler sur une lame à la fois pour s'assurer du bon assemblage des composants.
GB 5-Star pattern blade w/ right hand threaded bolt
DE Messerbohrung mit füne-ckiger Aussparung, Gewin-debolzen mit Rechtsgewinde.
FR Lame avec orifice de fixation central (étoile à cinq branches) avec pas de vis à droite
ES Filo cortador de orificio-estrella se cinco+puntas y un tornillo dextrogiro
Lama affettata con aperture stella cinque (5) punte e bol-lone fillettato a destra
NL Mes met 5-hoeleige ster en rechtsgangig schro- efdraad
GB 6-Star pattern blade w/ left hand threaded bolt
DE Messerbohrung mit sechseckiger Aussparung, Gewindebolzen mit Linksgewinde
FR Lame avec orifice de fixation central (étoile à 6 six branches) avec pas de vis à gauche
ES Filo cortador de orificio-estrella de seis puntas y un tornillo levogiro
Lama affettata con aperture stella a sei (6) punte e bollone filettato a sinistra
NL Mes met 6-hoeleige ster en linksgangig schroefdraad


FR1. Boulon de type hexagonal avec filtaga droite
- Circlips
- Rondelle plate
-
Lame
-
6 Star Center Hole
- 6 Star Pattern
- Trailing Edge
- Mandrel Assembly
FR Lame avec orifice de fixation central (étoil à cinq branches):
Cette lame est fixée au moyeu par un boulon avec filtage à droite. On desserre le boulon en le faisant tourner dans le jeu inverse des aiguilles d'une montre et on le reisserre en le faisant tourner dans le sens des aiguilles d'une montre.
GB 6 Star pattern blade
FR Lame avec orifice de fixation central (étoile à six branches):
Cette lame est fixée au moyen par un boulon avec filage à gauche. On déserre le boulon en le faisant tourner dans le sens des aiguilles d'une montre et on le resserre en le faisant tourner dans le sens inverse.


FR Pour avoir une bonne qualite de coupe, il est indispensable que les lames soient bien affuutes. Remplacer immediatement les lames endommagées ou tordues.
POUR REMPLACER LES LAMES:
- Relever le carter de coupe au maximum afin d'avoir accès aux lames.
- Devisser la vis à tête hexagonale avec la rondelle frein et la rondelle plate qui fixent la lame sur le moyeu.
- Mettre en place la nouvelle lame, ou la lame d'origine réaffutée, avec le tranchant tourné vers le haut comme indiqué.
ATTENTION: Pour que la lame soit bien montée, l'alésage central en forme d'étoile de la lame doit être parfaitement emboîté sur l'étoile du moyeu.
- Revisser la vis à tête hexagonale avec sa rondelle frein et sa rondelle plate en respectant l'ordre prescrit.
- Serrer la vis avec un couple de serrage (37-47 Nm).
ATTENTION: La vis de fixation de la lame a été traitée thermément en classe 8, bien respecter le couple de serrage.
(FR) Depose du Carter de Coupe
Effectuer l'intervention à partir du côté droit du tracteur.
- Sortir la courroie d'entrainment de la gorge de la poulie motrice (1).
- Retirer les deux épingle fixant les bras de suspension arrête et sortir les bras en tapotant sur leur axe à l'aide d'un marteau.
- Retirer les épingles (3), (4) et (5) et leur cheville respective.
- Tirer vers l'arrière le levier de commande de releavage du carter de coupe.
- Sortir le carter de coupe de sous le tracteur.
FR Mise en place du carter de coupe
- Pousser le carter de coupe sous le tracteur. Le déflecteur du canal d'éjection doit se trouver du côté droit.
La mise en place se fait dans l'ordre inverse de celui de la dépose.
FR Remplacement de la courroie d'entrainement du carter de coupe
- Déposer le carter de coupe (voir chapitre précédent).
- Sortir la couroie d'entrainment des gorges de poulie en commencerant par la poulie du côte gauche du carter de coupe, puis par les autres poulies.
- Retirer ensuite entiement la courroie du carter de coupe.
- Pour la mise en place de la nouvelle couroie, précérer dans l'ordre inverse. Vérifier que la couroie est correctement positionnée devant tous les guides de couroie.
(FR) (1) Extrémités du carter de coupe
(2) Ecrou de réglage du bras de suspension arrière
Relever le carter de coupe au maximum.
- A partir du milieu de chaque extrémités latérales du carter de coupe, mesurer la distance du bord du carter par rapport au sol.
Ladistance (A) doit être lamés des deux côtés à 6 mm après.
- Si un réglage est nécessaire, ne l'effectuer que d'un seul cotoé en se reférant à l'autre cotoé.
- Abaisser ou soulever un côté du carter de coupe en ajustant la position de l'écrou de réglage de ce côté.
REMARQUE: A trois tours complets de l'écrou de réglage correspond une variation de la hauteur au-dessus du sol, du carter de coupe, de 0,3 cm.
- Contrôler à nouveau la distance au sol après chaque opération de réglage.
FR Réglage du carter de coupe A. Réglage latéral
- Vérifier que la pression, dans les quatre pneus, est correct.
- S'assurer que le tracteur est placé sur une surface plane.
- Relever au maximum le carter de coupe.
- Mesurer les distances A et B.
FR Pour obtenir la coupe la(Meilleure, le bord avant du carter de coupe (B) doit etre situé a 10 mm au-dessous du plan du bord arriere (A).Pour regler la position du bord arriere, proceder de la maniere suivante:
- Desserer l'écrou (1) sur les biellettes de suspension avant, droite et gauche, du carter de coupe.
- Visser les écrous (2) exactement de la même façon sur les biellettes de suspension avant, droite et.gauche.
- Lorsque la distance (A) est correcte, verrouiller ce réglage en desserrant l'écrou (1).
(FR Pour Vérifier Le Frein
Le tracteur a besoin de plus de cinq (5) pieds pour s'arrête complètement lorsqu'il est lancé à pleine vitesse et que la vitesse supérieure est engagée, sur une surface en béton sec ou pavée, les freins ont donc besoin d'être entretenus.
You pouvez aussi vérifiez le frein en:
- Stationnant le tracteur sur une surface plate, en béton sec ou pavée, en appuyant à fond sur la pédale de frein et en engageant le frein de stationnement.
- Libérrez la transmission en plaçant la commande roue libre dans la position « transmission débrayée ». Tirez la commande roue libre hors de et dans la fente et l'âchez de façon à ce qu'elle reste dans la position débrayée.
Les roues arrêtè doivent se verrouiller et patiner si vous essayez de pousser le tracteur à la main vers l'avant. Si les roues arrêtè tournent, le frein a besoin d'être révisé. Adressez-vous à un service après-vente ou à un mécanicien spécialisé.
ES Controller El Freno
FR Remplacement de la couroie d'entrainment
- Désaccoupler le carter de coupe du tracteur comme indiqué précédemment. (Chapitre 6.6).
- Débrancher le connecteur (1) du cable d'alimentation de l'embrayage electromagnetique.
- Démoner le limiteur de débutement de l'embrayage électromagnétique (2).
- Serrer le frein de stationnement et-retirer la courroie d'entrainment de la poulie de guidage (3),puis de la poulie de tension (4).
- A l'arrière, faire passer la couroie entre deux pales de la turbine de refroidissement (5) et faire tourner à la main la turbine dans le sens inverse des aiguilles d'une montre pour dégager la couroie.
- Enfin, dégager la courroie de la poulie motrice (6).
- Levier de la commande d'avancement
- Encoche de position neutre (point mort)
- Vis de réglage

TRANSAXLE MOTION CONTROL LEVER NEUTRAL ADJUSTMENT
Le levier de la commande d'avancement est régé en usine et ne nécessite donc pas d'autres réglages. Pour un réglage eventuel, procéser de la façon suivante:
- Desserrer la vis de réglage (3) située à l'avant de la roue arrrière droite, et la desserrer légèrement.
- Demarrer le moteur et manoeuvrer le levier de la commande d'avancement afin de couver la position neutre où le tracteur n'avance plus et ne recule plus.
- Maintainir le levier dans cette position et arrêté le moteur.
- Tout en maintainant le levier en place, desserrer la vis de réglage.
- Amener le levier dans l'encochrome de position neutre (point mort).
- Serrer à fond la vis de réglage.
REMARQUE: Mettre le carter de coupe en position basse afin de dégager un peu plus d'espace pour effectuer ce réglage.
Après avoir effectué le réglage ci-dessus, si le tracteur peut encore rouler en avant ou en arrêté alors que le levier de la commande d'avancement est au point mort, effectuer les opérations ci-après:
- Desserrer la vis de réglage (3).
- Déplacer le levier de 1/4 à 1 / 2'' (de 5 à 15 mm) dans la direction du déplacement du tracteur.
Resserrer à fond la vis de réglage.
Faire demarrer le moteur et l'essayer.
- Si le tracteur continue à rouler, répéter les opérations ci-dessus jusqu'à obtention du résultat souhaïte.

ES 1. Palanca de Control Del Movimento
Le ventilateur et les ailettes de refroidissement du carter de transmission doivent être maintainus propres pour assurer un refroidissement correct.
Ne pas essayer de nettoyer le ventilateur ou la transmission tant que le moteur est en fonctionnement ou que la transmission est chaude.
- Vérifier le ventilateur de refroidissement afin de s'assurer que ses pales sont en bon état et propres.
- Vérifier l'état des ailettes de refroidissement du carter de transmission qui ne doivent pas être couvertes de poussière, de résidus de coupe ou d'autres matériaux. Afin d'éviter des fuites eventuelles au niveau des joints, ne pas utiliser d'air compré ou de nettoyeur à haute pression pour nettoyer les ailettes.
FLUIDE DE LA POMPE HYDRAULIQUE
La transmission est scelledée en usine et il n'est donc pas nécessaire de contrôle ou de parfaire le niveau du fluide. Dans le cas où la transmission présenteait une fuite ou nécessiterait une intervention, contacter un réparateur agréé de la marque de la transmission.
Le témoin de rappel d'entretien affiche le nombre total d'heures pendant lesquelles le moteur a fonctionné et son clignotement indique qu'il est temps d'executer les opérations d'entretien du moteur. Lorsqu'il est temps d'executer les opérations d'entretien, le témoin de rappel d'entretien clignote pendant deux heures. Pour executer les opérations d'entretien sur le moteur et la tondeuse, consultez le chapitre Entretien de ce manuel.
REMARQUE: Le rappel d'entretien continue à fonctionner si la clé de contact n'est pas sur STOP. Pour que la lecture soit précise, n'oubliez pas de mettre la clé de contact sur STOP lorsque le moteur n'est pas en marche.
Le chassin de votre tracteur est doté d'un port de lavage nécessaire pour le nettoyage. Il est conseilé d'en faire usage après chaque utilisation de la tondeuse.
- Amenez le tracteur sur une surface plane, assez après'une arrivée d'eau pour y brancher votre tuyau d'arrosage.
IMPORTANT : Veillez à ce que la goulotte d'éjection du tracteur ne soit PAS orientée vers votre maison, garage, voiture en stationnement, etc. Retrez l'ensacheuse ou le cache-paillis, si prisent.
- Vérifiez que la commande d'embrayage de l'équipment est en position "DEBRAYEE", mettez le frein de stationnement et arrêtez le moteur.
- Reculez le collier de serrage de l'adaptateur d'embout sur le tuyau d'arrosage (A) et enoncez l'adaptateur dans le port de lavage, à l'extrémité gauche du chassin de la tondeuse (B). Replacez le collier de serrage pour fixer l'adaptateur sur l'embout.
IMPORTANT : Tirez sur le tuyau pour vous assurer qu'il est bien attaché.
Ouvrez l'arrivée d'eau.
- Prenez place sur le fauteuil du tracteur, puis redémarrez le moteur et mettez le levier d'accélérateur en position «Fast» ("").
IMPORTANT : Vérifiez à nouveau que rien ni personne ne se trouve àproximé du tracteur.
- Mettez la commande d'embrayage du tracteur en position "EMBRAYEE". Restez à la place du conducteur jusqu'à ce qu'à la fin du nettoyage.
- Mettez la commande d'embrayage du tracteur en position "DEBRAYEE". Mettez la clé de contact sur STOP afin d'arrêté le moteur du tracteur. Fermez l'accuee d'eau.
- Retirez le collier de serrage de l'adaptateur d'embout pour sorting l'adaptateur du port de lavage.
- Déplacez le tracteur vers une zone sèche, de préférence goudronnée ou pavée. Mettez la commande d'embrayage de l'équipement en position "Embrayée" pour retarder l'excès d'eau et faire sécher le tracteur avant de le ranger.

AVERTISSEMENT: En l'absence de raccord de lavage ou si le raccord de lavage utilisé est endommagé, tout object entrant en contact avec la lame risque étant projeté et représentée un danger pour vous ou toute autre personne.
- Remplacez les raccords de lavage absents ou endommages immédiatement, avant la prochaine utilisation de la tondeuse.
- Bouchez tout évientuel orifice dans la tondeuse à l'aide de boulons et d'écrous.

(FR)Le moteur ne démarre pas
- Manque de carburant dans le réservoir.
- Bougie d'allage défectueuse.
- Le câblage de la bougie d'allumage défectueux.
- Il y a des impuretés dans le carburateur ou dans le circuit du carburant.
Le démarreur n'entraîne pas le moteur
- La batterie est decharge.
- Mauvais contact entre les cosses des cables de batterie et les bornes de la batterie.
- Le levier de commande d'embrayage/débrayage n'est pas en bonne position.
- Le fusible principal est hors d'usage.
- Le contacteur de démarrage est endommagé.
- Le contacteur de sécurité sur la pédale d'embrayage/frein est défectueux ou endommagé.
- La pédale d'embrayage/frein n'est pas suffisamment enforcée.
Le moteur ne tourne pas régulièrement
- Un rapport de vitesse tropélevé est enclenché.
- La bougie est défectueuse.
- Le carburateur est mal reglé.
- Le filtré à air est colmaté.
- La mise à l'air libre du réservoir est bouchée.
- Le réglage de l'allumage est incorrect.
- Il y a des impuretés dans le circuit de carburant.
Le moteur manque de puissance
- Le filtré à air est colmaté.
- La bougie d'allumage est defectueuse
- Il y a des impuretés dans le circuit de carburant.
- Le carburateur est mal régé.
Le moteur chauffe
- Le moteur est en surcharge.
- La prise d'air ou les ailettes de refroidissement sont colmatées.
- La turbine de refroidissement est endommagée.
- Le niveau d'huile est trop bas ou il n'y a pas d'huile dans le moteur.
- Le réglage de l'allumage est incorrect.
- La bougie d'allumage est defectueuse.
La batterie ne charge pas
- Le fusible est hors d'usage.
- Une ou plusieurs cellules sont endommagées.
- Mauvais contact entre les bornes de la batterie et les cosses des câbles de batterie.
L'éclairage ne fonctionne pas
- Les ampoules sont grillées.
- L'interrupteur de commande est défectueux.
- Il y a un court circuit dans le faisceau de raccordement.
Le tracteur vibre
- Les lames de coupe sont mal fixées ou mal positionnées.
- Le moteur est mal fixe.
- Undéséquilibre est apparue à la suite del'endommagement d'une ou de plusieurs lames de coupe ou à la suite d'un mauvais affutage.
Coupe irregulière
- Mauvais affutage des lames de coupe.
- Le carter de coupe n'est pas à l'horizontale.
- L'herbe est haute et humide.
- L'herbe est accumulée sous le carter de coupe.
- La pression de gonflage des pneumatiques n'est pas identique du cote croit et du cote gauche.
- Le rapport de vitesse enclenché est trop élevé.
- La couroie d'entrainment du carter de coupe patine.
ES El motor no arranca
FR Suivre la procEDURE suivante une fois la saison terminée:
- En fin de saison, suivre la procédure suivante pour le remisage. N'utilisez pas de nettoyeur haute pression pour le lavage. L'eau pourrait s'infiltrer dans le moteur et abréger ainsi la durée de l'appareil.
- Nettoyer l'ensemble de la machine et plus particulièrement ment l'intérieur du carter de coupe.
- Effectuer les retouches de peinture qui s'avereient nécessaires afin d'éviter la corrosion.
Vidanger le moteur.
- Retirer la bougie d'allumage et verser une cuillere à soupe d'huile dans le moteur. Faire tournier le moteur à la main pour répartir l'huile et remettre la bougie en place.
- Déposer la batterie et la remisée dans un endroit frais après l'avoir rechargée. La protégé des grands froids.
Remisser la machine à l'abri dans un endroit sec et protégé de la poussière.
ATTENTION!
Ne jamais utiliser d'essence pour effectuer le nettoyage. Utiliser un détergent du commerce et de l'eau chaude.
Entretien et réparations
Pour commander des pieces de rechange, indiquer le nom du modele, sa version, l'année d'achat, l'année de fabrication et le numero de série de la machine. Prendre contact avec le revendeur local pour les révisions sous garantie et pour les réparations. Toutjours utiliser des pieces de rechange d'origine.