7-23 - Déneigeuse HUSQVARNA - Notice d'utilisation et mode d'emploi gratuit
Retrouvez gratuitement la notice de l'appareil 7-23 HUSQVARNA au format PDF.
| Type d'appareil | Déneigeuse |
| Modèles | 7-23 / 9-26 / 10-30 |
| Manuel | Manuel d'utilisation |
| Langues disponibles | Français, Allemand |
| Alimentation | Essence |
| Type de transmission | Non précisé |
| Largeur de déneigement | Variable selon modèle |
| Hauteur de déneigement | Variable selon modèle |
| Type de moteur | 4 temps |
| Poids | Non précisé |
| Roues | Avec pneus adaptés |
| Direction | Manuelle |
| Capacité du réservoir | Non précisé |
| Déflecteur de neige | Orientable |
| Utilisation | Déneigement résidentiel et professionnel léger |
FOIRE AUX QUESTIONS - 7-23 HUSQVARNA
Questions des utilisateurs sur 7-23 HUSQVARNA
0 question sur cet appareil. Repondez a celles que vous connaissez ou posez la votre.
Poser une nouvelle question sur cet appareil
Téléchargez la notice de votre Déneigeuse au format PDF gratuitement ! Retrouvez votre notice 7-23 - HUSQVARNA et reprennez votre appareil électronique en main. Sur cette page sont publiés tous les documents nécessaires à l'utilisation de votre appareil 7-23 de la marque HUSQVARNA.
MODE D'EMPLOI 7-23 HUSQVARNA
Règles de sécurité 3
Explication des symboles 5
Description 6
Montage 14
Carburant 17
Démarrage et arrêt 18
Utilisation 22
Entretien 28
Remisage 41
Caractéristiques techniques 42
Généralités
Ce manuel d'utilisation décrit comment le chasse-neige devra être utilisé et entretenu et de chaque manière ces opérations d'entretien devront être effectuées. Il décrit également les mesures à prendre pour une sécurité maximale, les dispositifs de sécurité, leur fonctionnement, leur contrôle, leur surveillance et les éventuelles réparations nécessaires.
Remarque!
Le chapitre relatif à la sécurité devra être lu et compris de tous ceux en contact avec le chasse-neige.
Le manuel d'utilisation est destiné à un utilisateur (à un personnel) ne possédant aucune des connaissances de base nécessaires pour pouvoir effectuer un entretien plus poussé ou une recherche de pannes suivie des mesures de réparation nécessaires.
Le manuel d'utilisation doit être lu et compris par l'utilisateur avant le montage de la machine. La première chose à faire à la livraison est de trouver le manuel et de le lire. Le manuel d'utilisation décrit toutes les mesures de sécurité indispensables ainsi que toutes les instructions nécessaires pour le montage, l'utilisation et la réparation du chasse-neige.
Les symboles et/ou les avertissements présentés à la page 5 sont utilisés dans ce manuel et/ou sur le chasse-neige. Si les autocollants d'avertissement placés sur le chasse-neige sont abimés ou déformés, de nouveaux autocollants devront être commandés et apposés sur la machine le plus rapidement possible afin de maintenir un niveau optimal de sécurité lors de l'utilisation du chasse-neige. Le chasse-neige utilisé de façon incorrecte peut être dangereux et provoquer des blessures graves, voire mortelles. Il est extrêmement important que le futur utilisateur du chasse-neige lise et comprenne les instructions contenues dans ce manuel.
Identification
Les numéros de type et de série devront toujours être mentionnés au concessionnaire pour toute opération d'entretien et de réparation. Ces numéros sont inscrits sur la plaque d'information de la machine.
Écrivez les numéros de votre chasse-neige ci-dessous afin de les avoir à disposition.
Numéro de type :
Numéro de série :
Préparations
Avant la première chute de neige, la zone de travail du chasse-neige devra être nettoyée de toute branche, pierre, etc., qui autrement risquerait de pénétrer dans la vis d'alimentation. Tout objet fixe devra être marqué afin d'éliminer tout risque de collision avec la vis d'alimentation.


Avertissement!
Le chasse-neige utilisé de façon incorrecte peut être dangereux et provoquer des blessures graves, voire mortelles. Il est extrêmement important que le futur utilisateur du chasse-neige lise et comprenne les instructions contenues dans ce manuel.
Équipement de sécurité personnelle
Celui ou ceux utilisant le chasse-neige devront utiliser l'équipement de sécurité suivant:
- Protège-oreilles.
- Lunettes de protection ou visière.
- Bottes ou chaussures de travail avec revêtement en acier et semelle antidérapante.
Les consignes suivantes devront être suivies par le personnel utilisant le chasse-neige :
- Lire et comprendre les instructions contenues dans ce manuel d'utilisation.
- Ne pas utiliser le chasse-neige en cas de fatigue ou après absorption de médicaments ou d'alcool.
- Le chasse-neige ne peut être utilisé que par des personnes majeures.

Avertissement!
Le carburant utilisé pour le chasse-neige a les propriétés suivantes :
- Le liquide et ses vapeurs sont nocifs.
- Peut causer des irritations de l'épiderme.
- Est extrêmement inflammable.
Des règles de sécurité spéciales concernent le carburant utilisé pour le chasse-neige. Elles sont représentées au chapitre "Carburant", page 17.

Avertissement!!
Le chasse-neige ne doit pas être utilisé si un des dispositifs de sécurité ou de protection est absent, abîmé ou ne fonctionne pas.
Pour prévenir tout accident, un certain nombre de dispositifs de sécurité et de protection sont prévus. Ces dispositifs sont présentés dans la description générale du chasse-neige. Voir pages 6-13.
Il est nécessaire de procéder à un contrôle régulier et à l'entretien des dispositifs de sécurité et de protection. Ces mesures et leur fréquence sont représentées au chapitre "Entretien". Voir page 28.
Sécurité avant l'utilisation
- L'utilisateur devra avoir lu et compris les instructions contenues dans ce manuel d'utilisation.
- L'opérateur devra connaître tous les réglages et pouvoir rapidement arrêter la machine.
- Contrôler qu'aucune personne et qu'aucun animal ne se trouve dans la zone de travail du chasse-neige.
- La zone de travail devra être dépourvue de toute branche, pierre, paillasse ou autre.
- Ajuster la vis d'alimentation à une hauteur de travail correcte.
- Contrôler que tous les dispositifs de sécurité et de protection sont en place et en bon état de marche.
- Contrôler que du carburant ne s'est pas répandu à l'extérieur du réservoir ou sur le sol.
Sécurité durant l'utilisation
Durant l'utilisation du chasse-neige, l'utilisateur devra respecter les consignes de sécurité suivantes :
- Veiller à ce qu'aucune personne non autorisée ne se trouve à proximité du chasse-neige.
- Maintenez mains et pieds à l'écart des parties rotatives.
- Contrôler que le conduit de l'éjecteur est toujours propre.
- La plus grande prudence est de rigueur lors de travail sur les trottoirs, les routes et les pistes cyclables ou à leur intersection. Attention aux obstacles dissimulés par la neige et à la circulation.
- Si la machine a passé sur un corps étranger, arrêtez immédiatement le moteur et retirez le raccord de la bougie. Vérifier que le chasse-neige n'a pas été endommagé. Réparer tout éventuel dommage avant de reprendre le travail.
- Si le chasse-neige commence à vibrer de façon anormale, arrêtez immédiatement le moteur et cherchez la cause de ce problème. Des vibrations anormales sont une indication d'erreur.
- Arrêter toujours le moteur avant de :
quitter la position de travail. - nettoyer la vis d'alimentation et le rotor. inspecter, régler ou réparer le chasse-neige.
- Ne jamais faire tourner le moteur à l'intérieur d'un local clos. Les gaz d'échappement sont asphyxiants.
- Ne jamais utiliser le chasse-neige si les dispositifs de protection prévus ne sont pas en place. Voir la description des dispositifs de protection pages 6-13.
- Veiller à ce que le jet de neige ne rencontre aucun objet fragile comme par exemple des vitres, des voitures etc.
- Ne jamais utiliser le chasse-neige avec une vitesse de transport élevée sur un sol glissant. Contrôler que personne ne se trouve devant le chasse-neige.
- Ne jamais diriger le jet de neige vers des personnes. Contrôler que personne ne se trouve devant le chasse-neige.
- Ne jamais utiliser le chasse-neige sans un bon éclairage. S'assurer d'avoir une bonne adhérence au sol avec les pieds et d'avoir un bon contrôle du guidon et de l'accélération. Marchez! - Ne courrez jamais!
Sécurité après l'utilisation
- Contrôler que toutes les parties mobiles sont bien arrêtées et que le raccord de la bougie est bien débranché avant de procéder à toute opération de nettoyage, de réglage ou de réparation.
- Mettre le levier de vitesse sur la position neutre lorsque le chasse-neige n'est pas utilisé ou lorsqu'il est transporté.
Entretien et remisage
- Contrôler que toutes les vis et tous les écrous sont serrés.
- Ne jamais remiser le chasse-neige avec du carburant dans sa réserve dans un local où des étincelles peuvent se produire, comme par exemple dans un bâtiment contenant une chaudière à gaz ou à fuel. Laisser refroidir le chasse-neige avant de le remiser.
- Pour le remisage à long terme, voir page 41.
- Changer les autocollants d'advertisement en cas de besoin.
- Si le chasse-neige doit être remisé dans un local dont la température est inférieure à 0°C, laissez tourner le moteur pendant au moins 3 minutes avec vis d'alimentation branchée de telle sorte que la neige puisse fondre et que les parties mouillées puissent sécher avant l'arrêt du moteur.
Symboles utilisés dans ce manuel d'utilisation



Le chasse-neige utilisé de façon incorrecte peut être dangereux et provoquer des blessures graves, voire mortelles.
Lire attentivement ce manuel d'utilisation et comprendre les instructions données avant d'utiliser la machine!

La personne conduisant le chasse-neige devra toujours utiliser des protège-oreilles.

La personne conduisant le chasse-neige devra toujours utiliser une visière.

Ce symbole signifie "Contrôle visuel".

Un nettoyage régulier est nécessaire.
Symboles sur le chasse-neige

ATTENTION! DANGER.
Lire les instructions d'utilisation avant d'utiliser la machine.
Danger! Rotor!
Ne pas nettoyer le conduit ejecteur avec les mains.
DANGER! Vis à rotation.
Arrêter le moteur et détacher le câble de la bougie lors de toute opération d'entretien, de réparation et de nettoyage.

DANGER! Tenir les mains et les pieds à l'écart de la machine.
Attention! Ne jamais diriger l'éjecteur vers des personnes.
Maintenir une distance de sécurité.
Rapide
Lent
Utiliser des protège-oreilles.


Démarrage du rotor et de la vis d'alimentation.
Démarrage de la roue d'engrenage.
Starter

- Poignée en caoutchouc.
- Commande de la vis d'alimentation.
- Manivelle de positionnement de l'éjecteur.
- Lever de changement de vitesses avec débrayage.
- Phare (concerne certains chasse-neige seulement).
- Commande du déflecteur (ne concerne pas 7-23).
- Commande des roues.
- Ejecteur.
- Deflecteur.
- Corps d'alimentation.
- Vis d'alimentation (étape 1).
- Embrayage d'angle.
- Sabot.
- Moteur.
- Remplissage d'huile avec jauge.
- Réservoir de carburant.
- Démarreur.
- Bouchon de vidange d'huile.
- Commande d'accélération et d'arrêt.
- Commande du starter. Sur les 9-26 et 10-30, le starter est placé en haut.
- Primer.
- Silencieux.
- Protection pour la courroie.
- Protection du silencieux.
- Rotor (étape 2).
- Racloir.


Consignes de sécurité et protection
Les dispositifs de sécurité suivants installés sur le chasse-neige sont destinés à protéger les personnes et l'équipement. Cet équipement de sécurité devra être l'objet de soins attentifs lors d'opérations de contrôle, d'utilisation et d'entretien.
- Poignée en caoutchouc (1)
- Phare (5). Comme accessoire sur certains chasse-neiges. Corps d'alimentation (10)
- Sabot (13) Silencieux (22) Protection de la courroie (23) Protection du silencieux (24)
Poignée en caoutchouc (1)
Le chasse-neige est équipé de deux poignées en caoutchouc permettant une réduction des vibrations et offrant à l'utilisateur une bonne prise au niveau de la main.
Les poignées en caoutchouc font partie de l'équipement de sécurité du chasse-neige.
Commande de la vis d'alimentation (2)
La vis d'alimentation (11) et le rotor (25) se mettent en marche lorsque la poignée est enfoncée. La poignée se bloque dans cette position lorsque la poignée pour l'entraînement des roues (7) est enfoncée. Dans cette situation, la poignée (2) ne se relâche et ne retourne dans sa position initiale que lorsque la poignée pour l'entraînement des roues (7) est relâchée.
Cette fonction permet à l'utilisateur d'utiliser sa main droite pour les autres commandes durant l'utilisation du chasse-neige.
Manivelle pour le positionnement de l'éjecteur (3)
Cette manivelle permet de positionner l'éjecteur dans la direction désirée. L'éjecteur peut tourner à.

Lever de changement de vitesses avec débrayage (4)
Le levier de changement de vitesse peut être mis sur :
4 vitesses avant (vers la gauche) 2 vitesses arrières (vers la droite) Position neutre
La quatrième vitesse avant et les vitesses arrières sont destinées au transport du chasse-neige.
Lors du changement de vitesse, le débrayage s'effectue automatiquement. La machine est toujours sur la position de débrayage lorsque le levier de vitesse se trouve dans la fourche transversale.
Le levier de vitesse (4) et la poignée d'entraînement de la roue (7) peuvent être utilisés indépendamment l'un de l'autre. Tous les deux débrayent/embrayent la commande du moteur à la roue d'engrenage.
La commande de la roue (7) peut être embrayée indépendamment de la vitesse.
Phare (5)
Le phare fait partie de la livraison de certains chasse-neiges. Sur les autres chasse-neiges, le phare est disponible comme accessoire.
Le phare peut être orienté dans la direction de son choix vers le haut, vers le bas - et est toujours allumé lorsque le moteur est en marche.
Le phare fait partie de l'équipement de sécurité du chasse-neige pour l'utilisation dans l'obscurité.
Commande du déflecteur (6)
Sur le chasse-neige 7-23 la commande du déflecteur est montée directement sur le déflecteur (9). L'illustration montre la commande du déflecteur sur les autres chasse-neiges. La commande du déflecteur permet de positionner le déflecteur (9) à différents angles permettant ainsi l'ajustement de la hauteur désirée du jet de neige.
Commande des roues (7)
Lorsque la poignée est enforcée, la transmission de la boîte de vitesse se connecte à l'entraînement des roues. Si une vitesse est passée, le chasse-neige se met en marche (vers l'avant ou vers l'arrêt).
La poignée pour la commande de la roue (7) bloque la poignée (2) pour la vis d'alimentation et le rotor en position enfoncée.
Cette fonction permet à l'opérateur d'utiliser sa main droite pour les autres commandes durant le fonctionnement.


Ejecteur (8)

AVERTISSEMENT! Ne pas diriger l'éjecteur vers les personnes, les animaux, les voitures ou les fenêtres. Le jet de neige peut contenir des blocs de glace ou autres corps étrangers pouvant provoquer des blessures.
La neige est expulsée de l'éjecteur à grande vitesse. L'éjecteur peut être tourné à l'aide de la manivelle de positionnement (2). Le déflecteur (9) est placé à l'extrémité de l'éjecteur.
Déflecteur (9)
La position du déflecteur détermine l'angle d'élevation du jet de neige. La commande du déflecteur règle le déflecteur (6). Sur le chasse-neige 7-23, la commande du déflecteur est placée directement sur le déflecteur.

Corps d'alimentation (10)
Le corps d'alimentation rassemble la neige autour de la vis d'alimentation (11) et protège l'opérateur.
Le corps d'alimentation fait partie de l'équipement de sécurité du chasse-neige.

Avertissement!
Veiller à ce qu'aucune partie du corps ne soit à proximité de la vis d'alimentation durant le fonctionnement de la machine. Risque de blessures graves.
La vis d'alimentation constitue la première étape dans le transport de la neige à travers le chasse-neige. Elle est alimentée en neige le rotor (25) qui constitue la deuxième étape.

Embrayage d'angle (12)
L'embrayage d'angle adapte et transmet le mouvement de rotation à la vis d'alimentation (11).

Sabot (13)
Le chasse-neige est équipé de deux sabots, un de chaque côté. La position des sabots détermine la distance entre le sol et le racloir (26).
Les sabots font partie de l'équipement de sécurité du chasse-neige.

Moteur (14)
Le chasse-neige est équipé d'un moteur à essence à 4 temps, monocylindrique, et à refroidissement. Ce moteur est prévu pour le fonctionnement en hiver.
Afin de réduire au maximum les vibrations, le moteur est vissé sur un châssis avec quatre amortisseurs de vibrations.

Avertissement!
Le carburant qu'utilise le chasse-neige possède les propriétés suivantes :
- Le liquide et ses vapeurs sont nocifs.
- Peut provoquer des irritations de l'épiderme.
- Est extrêmement inflammable.
Le réservoir de carburant est en plastique et est vissé sur le cylindre du moteur.

Robinet du carburant
Un robinet du carburant se trouve sous le réservoir de carburant. Quand le chasse-neige n'est pas utilisé, le robinet doit être en position "OFF".
Commande d'accélération et d'arrêt (19)
La commande d'accélération et d'arrêt a les trois fonctions suivantes :
- Lorsque elle est en position forcée, le circuit de l'allumage se court-circuite et le moteur s'arrête.
- Juste au-dessus de la position arrêt se trouve le ralenti. C'est là que la commande de l'accélération se positionne.
- Au-dessus du ralenti se trouve une zone où peut être choisi le nombre de rotations (puissance du moteur) désirées.
Commande du starter (20)
Sur les chasse-neiges 9-26 et 10-30, la commande du starter est placée en haut. L'illustration montre la commande du starter sur les autres chasse-neiges.
Le starter est utilisé lors du démarrage à froid pour donner davantage d'essence au moteur.
Primer (21)
Le premier permet à un supplément d'essence d'être pompé dans le carburateur lors du démarrage du moteur par temps très froid.
Silencieux (22)
Le silencieux réduit le bruit du moteur du chasse-neige jusqu'au niveau prescrit et détourne les gaz d'échappement de l'opérateur.

Avertissement!
Le silencieux est chaud durant et après l'utilisation du chasse-neige. Risque de brûlure.
Les gaz d'échappement sont asphyxiants. Ne pas faire tourner le moteur à l'intérieur d'un local clos.
Le silencieux peut produire des étincelles. Risque d'incendie.
Le silencieux fait partie de l'équipement de sécurité du chasse-neige.


Protection pour la courroie (23)
Une chape en plastique protège l'arbre de sortie du moteur avec les poulies et les courroies.
La chape fait partie de l'équipement de sécurité du chasse-neige.
Protection du silencieux (24)
Le silencieux est protégé. Cette protection fait partie de l'équipement de sécurité du chasse-neige.

Rotor (25)
La neige passe de la vis d'alimentation (11) au rotor. Le rôle du rotor est d'expulser la neige à vitesse élevée dans l'éjecteur (8) le long du déflecteur (9).
Racloir (26)
Un racloir est placé sous et derrière la vis d'alimentation (11). Son rôle est de laisser une surface plane et régulière après le passage du chasse-neige.


Le chasse-neige est livré non monté. Les parties suivantes devront être assemblées :
Roues Poignées Ejecteur avec le déflecteur monté - Arbre flexible Manivelle - Bras d'oscillation pour l'engrenage - Bras d'oscillation pour l'embrayage Sabot - Phare (concerne certains chasse-neiges seulement)
Tous les réglages ont été effectués avant la livraison. Si un réglage se révélait cependant nécessaire, voir les instructions au chapitre "ENTRETIEN".
Roues
Monter les roues. Fixer à l'aide des chevilles verrouillables (A).
Contrôler que la pression de gonflement des pneus est de 0,5-0,7 bar.
Poignée
Visser solidement la poignée à l'aide de quatre vis (B).
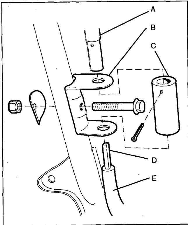
- Poser la douille plastique (C) sur le raccord situé sur le chasse-neige.
- Etaler une fine couche de graisse sur les brides de l'éjecteur et poser l'éjecteur sur la douille plastique.
- Visser solidement les trois supports (D) avec les ressorts (E) et l'élément de friction (F).
Couple de torsion: 5 Nm.
- Régler la vis sans fin selon les instructions dans le chapitre "Entretien".

Axe flexible et manivelle
- Mettre le manchon de raccordement (C) dans le support inférieur de la manivelle (B). L'ouverture pour la goupille doit être orientée vers le haut.
- Introduire par le haut la manivelle (A) dans le manchon de raccordement et monter la goupille. Remarque! Veiller à ce que les ouvertures correspondent bien avant d'insérer la goupille.
- Graisser l'axe flexible (D) et monter le tube de protection divisé (E) à l'axe flexible.
- Tourner lentement la manivelle et engager la gaine (E) dans l'ouverture du support de la vis sans fin et dans la fixation inférieure de la poignée.
REMARQUE! Le tube de protection doit être inséré jusqu'aux positions de fond afin que l'axe flexible soit en prise.
- Fixer le tube de protection à l'aide du crampon et de la vis (F) au milieu.
Couple de torsion: 5 Nm.


Bras d'oscillation pour l'engrenage
- Visser solidement l'articulation à rotule (G) dans le bras de commande inférieur.
- Visser solidement l'articulation à rotule (H) dans le bras de commande supérieur.
Bras d'oscillation pour l'embrayage
- Graisser et installer la goupille cylindrique (K) dans le bras de levier du raccord.
- Insérer la partie supérieure du bras d'oscillation dans l'ouverture sous le levier de changement de vitesse et visser la partie inférieure dans la goupille cylindrique.
- Mont . Monter la plaque et la goupille fendue (L).
- Contrôler que le fonctionnement et le réglage des deux bras d'oscillation. Voir page 32.

Sabots
Monter les deux sabots à l'aide de quatre vis et régler selon les instructions page 35.
Phare
Monter le phare de la façon suivante :
- Gratter la peinture des points de raccordement pour obtenir une bonne mise à terre.
- Monter l'étai et le phare sur le chasse-neige.
- Brancher le câble sur le moteur.



Avertissement!
Le carburant utilisé pour le chasse-neige présente les dangers suivants :
- Le liquide et ses vapeurs sont nocifs.
- Peut causer des irritations de l'épiderme.
- Est extrêmement inflammable.
Les précautions suivantes devront être prises lors de la manipulation du carburant :
- Défense de fumer!
- Conserver l'essence dans un endroit hors de portée des enfants. Ne pas avaler : danger de mort. Si l'essence est avalée, appeler immédiatement un médecin!
- Conserver l'essence dans un local bien aéré!
- L'essence ne doit jamais être remisée dans un local où des étincelles peuvent se produire, comme par exemple dans un BATIMENT contenant une chaudière à gaz ou à fuel.
- Veiller à ce qu'aucun objet dégageant de la chaleur ne se trouve à proximité de l'essence.
Essence
Utiliser de l'essence de qualité avec ou sans plomb. L'indice d'octane recommandé le plus bas est:
Aux États-Unis 83 au moins
Dans les autres pays 91 au moins
L'utilisation d'essence ayant un indice d'octane inférieur à 91 peut provoquer un cognement du moteur qui provoque une augmentation de la température du moteur et endommage le moteur.

Avertissement!
Toujours faire le plein d'essence dans un endroit bien aéré.
- Ne jamais faire le plein lorsque le moteur est chaud. L'essence se dilate et risque de déborder.
- Dévisser le bouchon du réservoir (16A) lentement afin de laisser s'échapper toute pression eventuelle.
- Revisser fortement le bouchon après le remplissage.
- Nettoyer et sécher autour du bouchon.
- Placer le chasse-neige à au moins 3 mètres de l'endroit où l'essence se trouve avant de le démarrer.

Nettoyer régulièrement le réservoir d'essence. Des impuretés dans le réservoir peuvent provoquer des troubles de fonctionnement.


Avertissement
- Lire attentivement et comprendre les consignes de sécurité contenues dans ce manuel.
- Contrôler que tous les dispositifs de sécurité sont en place et qu'ils fonctionnent.
- Veiller à ce que personne ne se trouve dans la zone de travail.
- Ne pas démarrer le chasse-neige dans un local clos.
- Ne pas se tenir près de la vis d'alimentation lorsque le moteur est en marche. Des vêtements amples tels que pan de manteau, écharpe et ce peuvent être entrainés dans la vis d'alimentation.
- Si le plein vient d'être fait, placer le chasse-neige à au moins 3 m de l'endroit où se trouve l'essence avant de le démarrer.
- Contrôler le niveau d'huile tous les jours avant le premier démarrage.
- Mettre le levier de changement de vitesse sur la position neutre.
- Introduire la clé (A).
- Tourner le starter vers la gauche (position starter) (C).
- Mettre la commande de l'accélération sur le ralenti (E). (La commande est fixée dans une position située juste au-dessus de la position arrêt.)
- Lors du démar rage par temps très froid (en dessous de -10°C) appuyer plusieurs fois sur le primer (D).

Avertissement!
Ne pas tirer complètement le câble de démarrage et ne pas relacher la poignée de démarrage afin de ne pas endommager le démarreur.
- Tirer doucement sur la poignée de démarriage jusqu'à ce qu'une résistance se fasse sentir (les crochets grippent). Donner ensuite quelques secousses rapides et fortes.
- Lorsque le moteur démarre, arrêter le starter. Le tourner vers la droite (B). Procéder ensuite selon point 7 ci-dessus.
- Laisser tourner le moteur pendant quelques minutes avant d'utiliser le chasse-neige.






Démarrage à chaud, 7-23
Le démarrage à chaud s'effectue de la même manière que le démarrage à froid à quelques exceptions près :
- Ne pas utiliser le starter. Le starter doit être tourné complètement vers la droite (B).
- Ne pas utiliser le starter.
Arrêt du moteur, 7-23
- Si le chasse-neige est remisé dans un local où la température est inférieure à 0°C, clairser tourner le moteur pendant 3 minutes avec la vis d'alimentation afin que les restes de neige puissent fondre et que les parties mouillées de la machine puissent secher avant l'arrêt du moteur.
- Pour arrêter le moteur, mettez la commande d'accélération sur la position arrêt. La position arrêt est située tout en bas.
- Retirer la clef (A).
- Bouger les commandes de l'accélération et du starter vers l'avant et vers l'arrière quelques fois.
- Mettre la commande du starter en position starter vers la gauche (C).


Avertissement
- Lire attentivement et comprendre les consignes de sécurité contenues dans ce manuel.
- Contrôler que tous les dispositifs de sécurité sont en place et qu'ils fonctionnent.
- Veiller à ce que personne ne se trouve dans la zone de travail.
- Ne pas démarrer le chasse-neige dans un local clos.
- Ne pas se tenir près de la vis d'alimentation lorsque le moteur est en marche. Des vêtements amples tels que pan de manteau, écharpe et ce peuvent être entrainés dans la vis d'alimentation.
- Si le plein vient d'être fait, placer le chasse-neige à au moins 3 m de l'endroit où se trouve l'essence avant de le démarrer.
- Contrôler le niveau d'huile tous les jours avant le premier démarrage.
- Mettre le levier de changement de vitesse sur la position neutre.
- Introduire la clé (A).
- Tourner le starter vers la droite (position starter) (C).
- Mettre la commande de l'accélération sur le ralenti (E). (La commande est fixée dans une position située juste au-dessus de la position arrêt.)
- Lors du démar rage par temps très froid (en dessous de -10°C) appuyer plusieurs fois sur le primer (D).

Avertissement!
Ne pas tirer complètement le câble de démarriage et ne pas relacher la poignée de démarriage afin de ne pas endommager le démarreur.
- Tirer doucement sur la poignée de démarrage jusqu'à ce qu'une résistance se fasse sentir (les crochets grippent). Donner ensuite quelques secousses rapides et fortes.
- Lorsque le moteur démarre, arrêter le starter. Le tourner vers la gauche (B). Procéder ensuite selon point 7 ci-dessus.
- Laisser tourner le moteur pendant quelques minutes avant d'utiliser le chasse-neige.


Démarrage à chaud, 9-26 et 10-30
Le démarrage à chaud s'effectue de la même manière que le démarrage à froid à quelques exceptions après :
- Ne pas utiliser le starter. Le starter doit être tourné complètement vers la gauche (B).
- Ne pas utiliser le starter.
Arrêt du moteur, 9-26 et 10-30
- Si le chasse-neige est remis dans un local où la température est inférieure à 0°C, laisser tourner le moteur pendant 3 minutes avec la vis d'alimentation afin que les restes de neige puissent fondre et que les parties mouillées de la machine puissent secher avant l'arrêt du moteur.
- Pour arrêter le moteur, mettre la commande d'accélération sur la position arrêt. La position arrêt est située tout en bas.
- Retirer la clef (A).
- Bouger les commandes de l'accélération et du starter vers l'avant et vers l'arrêt quelques fois.
- Mettre la commande du starter en position starter vers la droite (C).


Avertissement!
- L'opérateur devra avoir lu et compris les instructions contenues dans ce manuel.
- L'opérateur devra connaître toutes les commandes et pouvoir rapidement arrêter le chasse-neige.
- Contrôler qu'aucune personne et qu'aucun animal ne se trouve dans la zone de travail.
- La zone de travail ne devra contenir ni branches, ni pierres ni autres corps étrangers.
- Régler la vis d'alimentation à la bonne hauteur de travail.
- Contrôler que tous les dispositifs de sécurité et de protection sont à leur place et en bon état de marche.
- Contrôler que du carburant ne s'est pas répandu à l'extérieur du réservoir sur le sol.
Zone
Avant la première chute de neige, la zone de travail du chasse-neige devra être nettoyée de toute branche, pierre, etc., qui autrement risquerait de pénétrer dans la vis d'alimentation. Tout objet fixe devra être marqué avant afin d'éliminer tout risque de collision avec la vis d'alimentation.
Carburant
Contrôler qu'il y a du carburant dans le réservoir du chasse-neige. Voir manutention du carburant page 17.
Huile
Un service régulier devra être effectué. Contrôler le niveau d'huile dans le moteur. Voir page 30.

Pression de gonflement des pneus
Si le chasse-neige n'a pas été utilisé pendant un certain temps, contrôler la pression de gonflement des pneus. La pression de gonflement devra être de 0,5-0,7 bar.
Profondeur de la neige
La profondeur de la neige ne doit pas être supérieure à la hauteur de la vis d'alimentation. Si la couche de neige est trop profonde, repousser la neige à l'aide d'une pelle afin de diminuer la profondeur de la couche de neige.

Transport
Si le chasse-neige est remis à l'intérieur, mettre la position neutre et le faire rouler.
Eviter de démarrer le chasse-neige dans un local clos.
- Démarrer le moteur selon les instructions pages 18 et 20 respectivement.

Avertissement!
Ne jamais passer des vitesses avant aux vitesses arrêtées et vice-versa lorsque la machine est en mouvement.
- Laisser tourner le moteur pendant quelques minutes. Passer ensuite la vitesse désirée.
Le levier de changement de vitesse peut être mis sur:
4 vitesses avant (vers la gauche) 2 vitesses arrière (vers la droite)
- Pour transporter le chasse-neige dans sa zone de travail, relacher la poignée pour l'entrainement des roues (7).
- Placer le chasse-neige face à la zone de travail et relacher la poignée pour l'entrainement des roues (7).





Avertissement!
Lors de l'utilisation du chasse-neige, l'opérateur devra suivre les consignes de sécurité suivantes :
- Veiller à ce que personne ne s'approche à proximité du chasse-neige.
- Tenir mains et pieds à l'écart des parties rotatives de la machine.
- Contrôler que le conduit de l'éjecteur est always proper.
- La plus grande prudence est de rigueur lors de travail sur les trottoirs, les routes et les pistes cyclables ou à leur intersection. Tenir compte d'éventuels obstacles dissimulés par la neige et de la circulation.
- Si la machine a passé sur un corps étranger, arrêter immédiatement le moteur et retirer le raccordement de la bougie. Vérifier que le chasse-neige n'a pas été endommagé. Réparer les eventuels dommages avant de reprendre le travail.
- Si le chasse-neige commence à vibrer de façon anormale, arrêter immédiatement le moteur et chercher la cause du problème. Des vibrations anormales sont une indication de panne.
- Arrêter toujours le moteur avant de :
- quitter la position de travail.
- nettoyer la vis d'alimentation et le rotor, inspecter, régler ou réparer le chasse-neige.
- Ne jamais faire tourner le moteur dans un local clos. Les gaz d'échappement sont asphyxiants.
- Ne jamais utiliser le chasse-neige si les dispositifs de protection prévus ne sont pas en place. Voir la description des dispositifs de protection pages 8-15.
- Veiller à ce que le jet de neige ne rencontre aucun objet fragile comme par exemple des vitres, des voitures etc.
- Ne jamais utiliser le chasse-neige avec une vitesse de transport élevée sur un sol glissant. Contrôler que personne ne se trouve devant le chasse-neige.
- Ne jamais diriger le jet de neige vers des personnes. Contrôler que personne ne se trouve devant le chasse-neige.
- Ne jamais utiliser le chasse-neige sans un bon éclairage. S'assurer de bien adhérer au sol avec les pieds et d'avoir un bon contrôle du guidon et de l'accélération. Marchez! - Ne courez jamais!
- Le silencieux est chaud pendant et après l'utilisation du chasse-neige. Risque de brûlure.
- Le silencieux peut produire des étincelles, Risque d'incendie.
- Orienter l'éjecteur (8) d'une façon appropriée à l'aide de la manivelle (3).
- Choisir une vitesse qui convienne à l'aide de la poignée d'accélération. Voir pages 18 et 20 respectivement.
- Lors du travail dans l'obscurité, allumer le phare pour une bonne visibilité.

- Passer la vitesse avant 1.
- Pousservers le bas la commande de la vis d'alimentation (2). La vis d'alimentation et le rotor se mettent en marche.
- Enfoncez la commande de l'entraînement de la roue (7) de telle sorte que le chasse-neige commence à avancer. Tant que la commande de la roue est enfoncée, il est possible de relâcher la commande de la vis d'alimentation (2). Ceci permet de pouvoir utiliser la main droite pour les autres commandes du chasse-neige.
- Si le chasse-neige avance trop lentement (neige trop molle ou trop petite quantité de neige) passer une vitesse plus élevée (la seconde ou la troisième). Maintenir la main gauche sur la commande de la roue (7) et utiliser la main droite. La quatrième vitesse avant ne s'utilise que pour le transport du chasse-neige.
- Respecter les points suivants durant le travail :
A. Régler l'orientation de l'éjecteur à l'aide de la manivelle (3). Si possible rejeter la neige dans le sens du vent. B. Utiliser la commande du déflecteur (6) pour régler la hauteur du jet de neige. Sur le chasse-neige 7-23 la commande du déflecteur est placée sur le déflecteur. L'illustration montre les autres chasse-neiges. C. Faire se chevaucher chaque tour afin de bien enlever toute la neige.
- Lorsque le déblaiement est terminé, arrêtez le chasse-neige selon les instructions pages 19 et 21 respectivement.



Chaînes
La description ci-dessous explique le montage des chaînes sur le pat gauche. Le montage sur le pat droit s'effectue de la même manière.
Attention!
Le montage est plus facile et les chaînes plus fermement fixées si les pneus sont dégonflés avant le montage, puis regonflés. Pression de gonflement=0,5-0,7 bar.
- Placer la chaîne sur le sol derrière la roue gauche du chasse-neige. Le côté extérieur de la chaîne (les pointes) doit se couvrir vers le bas.
- Faire rouler le chasse-neige en avant jusqu'à ce que la roue se trouve environ sur 1/3 de la chaîne.
- Soulever les extrémités de la chaine sur le pâ. Desserrer un peu les chainons transversaux (A) afin que la chaine recouvre bien tout le pâ.
- Accrocher le verrouillage ouvert (B) dans un des trois chainons afin que la partie extérieure de la chaine soit aussi tendue que possible.
- Accrocher la fixation verrouillable (C) dans l'un des trois chainons afin que la partie extérieure de la chaîne soit aussi tendue que possible.
- Verrouiller la fixation en rabattant son levier pour tendre encore plus la chaîne.



Démontage
- Ouvrir le verrouillage et faire avancer le levier.
Attention!
Le montage est plus facile et les chaînes plus fermement fixées si les pneus sont dégonflés avant le montage, puis regonflés. Pression de gonflement=0,5-0,7 bar.
- Retirer la chaîne.

Les deux roues sontées
Lors de la livraison, les deux roues sont reliées à l'arbre d'entraînement et le chasse-neige est entraîné par les deux roues.
Les deux roues motrices impliquent:
- Bonne praticabilité en cas de grosses quantités de neige ou de la neige très compacte.
- Manœuvrabilité un peu plus difficile dans les virages serrés.
La clavette (A) est montée à travers la roue et l'arbre lorsque les deux roues sont motrices selon illustration à droite.
Une seule roue
La roue gauche peut être dégagée de l'arbre d'entraînement en déplaçant la clavette (A) vers le trou à l'extérieur de la roue et en la montant selon illustration à droite.
Une seule roue motrice:
- Peut s'utiliser si la neige est peu profonde et/ou si elle est poudreuse. Assure une bonne manoeuvrabilité dans les virages serrés.



Avertissement!
Contrôler que toutes les parties mobiles sont bien arrêtées et que le raccord de la bougie est bien débranché avant de procéder à toute opération de nettoyage, de réglage ou de réparation.
Entretien périodique
Les opérations d'entretien devront être effectuées régulièrement pour que le chasse-neige fonctionne de façon satisfaisante. La fréquence de ces différentes opérations de service est mentionnée dans les tableaux ci-dessous.
Avant une utilisation journalière
| Mesure | Voir page |
| Contrôle du niveau d'huile dans le moteur | 30 |
| Remplissage de carburant | 17 |
| Dispositifs de sécurité et de protection | 6-13 |
Avant la salle d'enneigement
| Mesure | Voir page |
| Contrôler le niveau d'huile dans l'engrenage à angle | 31 |
| Contrôler et régler la bougie | 31 |
| Contrôler que toutes les vis sont bien serrées | - |
| Contrôler l'usure et la position du sabot | 35 |
| Contrôler l'usure et la position du racloir | 35 |
| Régler les galets tendeurs | 40 |
| Régler tous les câbles. Voir les chapitres correspondants. Vérifier la friction de la commande du déflecteur (ne concerne pas le 7-23). | 40 |
Graissage
Uncertain nombre d'éléments du chasse-neige devront être graissés régulièrement. Il s'agit de:
Tous les câbles. - Les bras d'oscillation La bride de l'éjecteur La vis d'alimentation L'axe flexible L'axe de transmission
Les câbles du chasse-neige se graissent de la façon suivante:
- Abaisse le chasse-neige afin qu'il repose avec la poignée contre le plancher.
- Détacher les soufflets en caoutchouc des extrémités des câbles et remplir d’huile par 3-4 coups de pompe dans chaque soufflet. Les rattacher avant que l’huile s’écoule.
- Relever le chasse-neige et faire fonctionner la commande 5 à 10 fois pour que l'huile coule le long des câbles.
Après la saison d'hneigement
| Mesure | Voir page |
| Nettoyer le chasse-neige | - |
| Changer l'huile du moteur | 30 |
| Graissage | 28-29 |
| Contrôler que le tuyau pour combustibles est entier et étanché. | - |
Tous les 3 ans
Ces mesures doivent être effectuées dans un atelier autorisé. Par exemple chez un concessionnaire.
| Mesure | Voir page |
| Régier les soupapes | - |
| Régier le carburateur | - |

Bras d'oscillation
- Démonter les parties mobiles des bras d'oscillation en haut et en bas. Voir "MONTAGE" page 15.
- Étaler une fine couche de graisse avant de les remonter.
Bride de l'éjecteur
- Etaler une fine couche dégraissante sur la bride (A) de l'éjecteur et sur la roue d'engrenage (B).
- Faire tourner l'éjecteur une ou deux fois.
Vis d'alimentation
Pour garantir la fonction des goupilles de cisaillement, les deux graisseurS de la vis d'alimentation (D) doivent être lubrifiés régulièrement à l'aide d'une seringue à graisse. Lubrifier jusqu'à ce que la nouvelle graisse ressorte des extrémités.
Axe flexible
Voir aussi au chapitre "Montage" et suivre les étapes suivantes :
- Libérer le tube de protection de l'axe flexible en enlevant le crampon du milieu.
- Dégager le tube de protection de la fixation inférieure de la manivelle et étaler la graisse sur le tube de protection de l'axe flexible.
- Etaler la GRAISSE sur l'axe flexible et remonter toutes les parties.
Arbre de transmission

Le carburant utilisé pour le chasse-neige a les propriétés suivantes :
- Le liquide et ses vapeurs sont nocifs.
- Peut causer des irritations de l'épiderme.
- Est extrêmement inflammable.
- Retirer l'essence lorsque le réservoir n'est plus qu'autiers.
- Coucher le chasse-neige sur le côté gauche. Remarquez ! Prendre les précautions afin que le sabot gauche ne soit pas déformé.
- Desserrer les 7 vis de la plaque de dessous et retirer la plaque.
- Étaler une mince couche de graisse sur l'arbre de transmission (A). Remarque : veiller à ce qu'aucune goutte de graisse ne tombe sur la roue de friction (B) ou sur le disque de pression (C).
- Revisser la plaque de dessous. Couple de torsion : 5Nm.



Changement de l'huile du moteur
L'huile du moteur devra être changée avant l'utilisation du chasse-neige au début de chaque hiver.
S'agissant de la quantité d'huile dans le moteur, voir les caractéristiques techniques.
Type d'huile : SAE 5W-20 ou 5W-10. Huile synthétique.
Le changement de l'huile s'effectue de la façon suivante:
- Faire tourner le moteur pour le chauffer puis l'arrêter. Voir pages 18-19 et 20-21 respectivement.

Avertissement!
L'huile usée est dangereuse pour l'environnement. Il convient d'en disposer selon les mesures prévues pour ce type de produits.
- Placer un récipient sous le bouchon de vidange d'huile (18), retirer le bouchon et laisser s'écouler l'huile dans le récipient.
- Revisser le bouchon (18). Couple de torsion : 20 Nm.
- Rajouter de l'huile par le bouchon de remplissage (15). S'agissant de la quantité et de la qualité, voir les caractéristiques techniques.
Contrôle du niveau d'huile dans le moteur
Le contrôle du niveau d'huile dans le moteur s'effectue de la façon suivante :
- Mettre le chasse-neige sur une surface plane. (Si le chasse-neige penche, le résultat montré ne sera pas correct.)
- Dévisser le bouchon de replissage d'huile (15) et essuyer soigneusement la jauge.
- Revisser le bouchon à fond puis le dévisser de nouveau.
- Lire le niveau d'huile sur la jauge. Le niveau devra se trouver entre "FULL" et "ADD". Si le niveau est en dessous de "ADD", remplir d'huile. En ce qui concerne la qualité de l'huile, voir ci-dessus. Ne pas trop remplir. Le niveau d'huile ne doit pas dépasser "FULL".

9-26, 10-30


Huile dans l'angle d'engrenage
L'huile dans l'angle d'engrenage ne devra jamais être changée. Il est seulement nécessaire d'effectuer des contrôles et de procéder au replissage si besoin est. Le replissage s'effectue de la façon suivante:
- Placer la chasse-neige sur une surface plane et retirer la vis de replissage (12A).
- Si aucun écoulement d'huile ne se produit, cela signifie qu'il n'y a pas assez d'huile.
- Utiliser le bidon avec le flexible et remplir jusqu'à ce que l'huile commence à s'écouler au niveau de l'orifice de remplissage. Utiliser l'huile pour boîtes de vitesses GL 4/5 80W/90.
- Revisser rapidement la vis de remplissage (12A). Couple de torsion : 20 Nm.

Bougie
Ne jamais retirer la bougie lorsque le moteur est chaud! Le filet risque d'être abimé.
- Enlever le raccord de la bougie (A), retirer la bougie et la nettoyer.
- Contrôler l'usure de la bougie. Changer la bougie si les bords des électrodes sont arrondis. Utiliser Champion RJ19LM ou similaire.
- Ajuster l'écartement des électrodes à 0,7 mm.
- Remettre la bougie dans le moteur et replacer le raccord de la bougie (A). Couple de torsion: 20-30 Nm.

Réglage du bras d'oscillation de l'engrenage
Procéder au réglage du bras d'oscillation de l'engrenage comme suit :
- Desserrer l'articulation à rotule (A). 2. Mettre le levier de vitesses en position N.
- Tourner le levier (B) en position supérieure.
- Placer le levier de vitesses en quatrième vitesse. Le levier (B) se bloque dans cette position.
- Desserrer l'ajusteur (C).
- Régler (C) afin que l'articulation à rotule (A) puisse se monter sans qu'il y ait des tensions dans le bras d'oscillation.
- Serrer solidement l'articulation à rotule (A).
- Régler (C) afin qu'il n'y ait aucune tension dans le bras d'oscillation. Verrouiller C dans cette position à l'aide des contre-écrous.



Réglage du bras d'oscillation de l'embrayage
Le réglage du bras d'oscillation de l'embrayage s'effectue de la manière suivante :
- Desserrer l'ajusteur (D) et le faire tourner jusqu'à ce que le levier de commande ait un jeu d'environ 5 mm.
- Verrouiller l'ajusteur à l'aide des deux contre-écrous.

Remplacement de la vis d'alimentation
Les instructions ci-dessous décrivent le remplacement de la vis d'alimentation gauche. La vis d'alimentation droite se remplace de la même manière, les pièces se trouvant placées à l'inverse.
Démontage
- Enlever la partie supérieure du carter d'alimentation (A) (7 vis).
- Retirer de l'arbre la vis d'extrémité (B) avec rondelle.
- Retirer la vis de fixation (C) du racloir en acier.
- Retirer les 5 vis M6 (D) avec écrous et démonter la plaque latérale (E) et les paliers du carter d'alimentation.
- Retirer la goupille de cisaillement. Voir page suivante.
- Sortir la vis d'alimentation (F).
Montage
- Enduire l'arbre d'une fine couche de graisse (G).
- Introduire la vis d'alimentation et monter la goupille de cisaillement. Voir page suivante.
- Monter la plaque latérale (E) du carter d'alimentation avec les paliers et fixer les cinq vis M6 (D) et la vis de verrouillage (C) du racloir en acier.
- Fixer l'arbre dans le palier avec une vis et rondelle. 5 Monter la partie supérieure (A) du carter d'alimentation (7 vis).



Goupille de cisaillement
Le chasse-neige est équipé de goupilles de cisaillement aux emplacements suivants :
La moitié droite de la vis d'alimentation (11A) La moitié gauche de la vis d'alimentation (11B) Le rotor (25A)
Les goupilles de cisaillement limitent le moment dans la transmission de puissance et se brisent en cas de surcharge. Les goupilles brisées se changent de la façon suivante :
- Retirer les parties abimées. (Tête de vis et écrou avec partie de vis).

Seules les goupilles de cisaillement HUSQVARNA peuvent être utilisées. Sinon les éléments du système de transmission de puissance sont détruits.
- Faire tourner le composant (rotor ou vis d'alimentation) jusqu'à ce que les ouvertures correspondent et installer la nouvelle goupille.
- Serrer les écrous de la goupille.

Réglage de la vis sans fin de l'éjecteur
- Poser l'éjecteur afin qu'il ne se trouve pas après des positions externes.
- Déserrer les deux vis du support vis sans fin.
- Appuyer durement la vis sans fin sur les dents de l'éjecteur et serrer les deux vis. Couple de torsion: 20 Nm.

Attention
Pour des raisons de sécurité, les sabots (13) doivent être contrôlés régulièrement et réglés avec la plus grande précision.
Le racloir (25) et les sabots (13) s'usent en cours d'utilisation et doivent être réglés en cas de besoin.
La hauteur du racloir doit être de 5 mm (3/16") pour le déneigement sur des surfaces planes comme l'asphalte ou le béton.
Cette hauteur doit être augmentée pour le déneigement sur un sol irrégulier.
Procéder au réglage comme suit :
- Placer le chasse-neige sur un sol régulier et plan.
- Desserrer les écrous de fixation du racloir et des sabots.
- 2 écrous (A) sur la face extérieure des panneaux latéraux 4 écrous (B) sur la face intérieure des panneaux latéraux 5 écrous (C) à l'arrière du corps d'alimentation
- Appliquer les sabots (13) à plat sur le sol et serrer les 4 écrous (B) avec un couple de 20 Nm.
- Placer une cale de 5mm (3/16") d'épaisseur sous le racloir (25). Choisir une cale plus épaisse pour une utilisation sur des sols irréguliers.
- Appliquer le racloir contre la cale et serrer les 5 écrous (C) et les 2 écrous (A) avec un couple de 20 Nm.
- Retirer la cale, le réglage est terminé.



Changement des courroies
Enlèvement des courroies
Les instructions ci-dessous concernent le changement des deux courroies (la courroie de l'entraînement de la roue et la courroie de la vis d'alimentation/rotor). Si une seule courroie doit être changée, se reporter aux instructions correspondantes dans le texte ci-dessous.
- Démonter l'éjecteur. Voir au chapitre "Montage".
- Retirer la protection pour la courroie (23).
- Tourner l'éjecteur le plus possible vers la gauche.


- Démonter la vis (F) et le crampon, ainsi que le câble flexible et sa gaine (E).

- Desserer les quatre guide-courroies.
- Installer un tirant autour du guidon, par-dessus le corps d'alimentation et autour de l'axe de la vis d'alimentation. Tirer légèrement sur le tirant.

- Retirer les vis suivantes :
- La vis avant (A) de la fixation des cordages d'acier des basculeurs.
- Les deux vis supérieures (B et C) des deux côtés de la fixation du corps d'alimentation.
- Desserrer les vis de dessous (D) des deux cots de la fixation du corps d'alimentation. Remarque! Le trou de dessous du corps d'alimentation est une rainure ouverte.




- Desserrer le tirant peu à peu et prudemment de telle sorte que la fixation supérieure se divise d'environ 10 cm.
- Retirer la courroie de la vis d'alimentation/rotor.
- Desserrer le bras de tension de la vis d'alimentation/ rotor et retirer la courroie de l'entraînement de la roue.

Mise en place
- Desserer le bras de tension de la vis d'alimentation/rotor et retourner la courroie de l'entraînement de la roue.

- Mettre la courroie d'entraînement de la vis d'alimentation/rotor sur la grande poulie. Veiller à ce qu'elle soit maintenue en hauteur, soit tenue par une personne, soit suspendue par un câble en acier ou autre.

- , mesurez la courroie d'entraînement de la vis d'alimentation/rotor sur la poulie supérieure.
- Serrer le tirant de telle sorte que les vis suivantes puissent être installées :
- La vis avant (A) de la fixation des cordages d'acier des dispositifs de tension des courroies. Couple de torsion : 5 Nm.
- Les deux vis du haut (B et C) des deux côtés du raccord du corps d'alimentation. Couple de torsion : 20 Nm.
- Serrer les deux vis du bas (D) des deux côtés du raccord du corps d'alimentation. Couple de torsion : 20 Nm.
- Monter l'axe flexible et sa gaine. Voir page 15, points 3 à 5 :
- Régler les guides-courroies et les galets tendeurs avant d'installer la protection des courroies. Voir ci-dessous.
- Après le réglage, monter l'éjecteur. Voir au chapitre "Montage".

Réglage des guides-courroies
- Régler les guides-courroies pour l'entraînement du rotor et de la vis d'alimentation à 6 et 12 mm. L'illustration montre la poulie vue du dessus.
- Serrer les vis du guide-courroie avec un couple de torsion de 20 Nm.
- Régler les guides-courroies pour l'entraînement de la roue à 7 mm.
- Serrer les vis des guides-courroies avec un couple de torsion de 20 Nm.


Réglage des galets tendeurs
Galet tendeur pour l'entraînement de la vis d'alimentation/rotor
Régler le câblage en acier de telle sorte qu'un jeu d'environ 5 mm subsiste au niveau de la poignée de commande de la vis d'alimentation.

Galet tendeur pour l'entraînement de la roue
Régler le cordage d'acier de telle sorte que la distance entre la partie supérieure de la plaque de fixation et la partie supérieure du dessort soit de 53 mm.
La distance peut être mesurée avec un pied à coulisse.

Réglage de la commande du déflecteur
La friction de la commande du déflecteur se règle de la manière suivante (ne concerne pas le chasse-neige 7-23):
- Desserrer le contre-écrou sur l'axe de commande sous le guidon.
- Serrer l'écrou interieur jusqu'à ce que la commande ne soit ni trop lache ni trop serrée.
- Serrer le contre-écrou sur l'écrou intérieur.

Le chasse-neige est remisé entre les périodes de déblaiement de neige (environ 6 mois = remisage à court terme) ou pendant de plus longues périodes (remisage à long terme). Les différentes périodes de remisage sont décrites ci-dessous.

Avertissement!
Le carburant utilisé pour le chasse-neige a les propriétés suivantes :
- Le liquide et ses vapeurs sont nocifs.
- Peut causer des irritations de l'épiderme.
- Est extrêmement inflammable.

Avertissement!
Les poignées pour l’entraînement des roues (7) et la poignée pour l’entraînement de la vis d’alimentation (2) doivent être en position enfoncée lors de tout remisage.
Remisage à court terme
Le remisage à court terme signifie le stationnement du chasse-neige durant les mois d'été avant la prochaine période d'enneigement. Le remisage à court terme du chasse-neige s'effectue de la façon suivante :
- Vider le réservoir d'essence en desserrant le tuyau après le robinet du carburant, en ouvrant le robinet et en laissant s'écouler l'essence dans un récipient.
- Vider l'essence contenue dans le carburateur à l'aide du raccord de vidange (A). Recueillir l'essence dans un récipient.
- Recouvrir le chasse-neige d'une bache s'il est remisé à l'extérieur.
Remisage à long terme
Le remisage à long terme signifie que le chasse-neige est remisé pour une période supérieure à 6 mois.
Le remisage à long terme du chasse-neige s'effectue de la façon suivante :
- Vider le réservoir d'essence et le carburateur. Voir ci-dessus.
- Retirer la bougie et verser 1/2 dl d'huile de moteur dans le trou.
- Tirer sur la poignée du démarreur 3-4 fois et remettre la bougie.
- Soulever le chasse-neige afin qu'il ne repose pas sur la roue d'entraînement.
- Recouvrir le chasse-neige d'une bache ou d'une protection similaire s'il est remisé à l'extérieur.



| Dimensions et Poids | |||
| Longueur totale, mm | 7-23 | 9-26 | 10-30 |
| Largeur totale, mm | 1400 | 1400 | 1400 |
| Hauteur totale, mm | 600 | 680 | 782 |
| 1130 | 1130 | 1130 | |
| Poids sans essence et sans huile, kg | 90 | 92/97 | 94/99 |
| Dimension des pneus | 4.80-4.00x8 | 4.80-4.00x8 | 4.80-4.00x8 |
| Pression de gonflement, bar | 0,5 - 0,7 | 0,5 - 0,7 | 0,5 - 0,7 |
| Capacité de Déblaiement | |||
| Type | 2 étapes | 2 étapes | 2 étapes |
| Capacité, t/h | 32 | 45 | 53 |
| largeur de travail, mm | 580 | 660 | 762 |
| Profondeur maximale de la neige, mm | 470 | 577 | 577 |
| Longueur maximale de rejet, mm | 14 | 14 | 14 |
| Angle de rotation de l'éjecteur | 180° | 180° | 180° |
| Moteur | |||
| Marque | Tecumseh | Tecumseh | Tecumseh |
| Type | Moteur à essence à 4 temps, refroidissement à l'air | Moteur à essence à 4 temps, refroidissement à l'air | Moteur à essence à 4 temps, refroidissement à l'air |
| Puisance | 5,2 kW, 6 CV/5,2 kW,7CV | 6,6 kW, 9 CV | 7,4 kW, 10 CV |
| Volume du cylindre, cc | 246,5 | 318,3 | 357,6 |
| Système d'allage | Sans disjoncteur | Sans disjoncteur | Sans disjoncteur |
| Essence | |||
| Au moins 91 octanes | Au moins 91 octanes | Au moins 91 octanes | Au moins 91 octanes |
| Volume du réservoir | 4,2 L | 4,2 L | 4,2 L |
| Volume de l'huile | 570 ml | 780 ml | 780 ml |
| Huile | SAE 5W-10/20. | SAE 5W-10/20. | SAE 5W-10/20L. |
| Huile synthétique | Huile synthétique | Huile synthétique | |
| Bougie | Champion RJ19LM ou similaire | Champion RJ19LM ou similaire | Champion RJ19LM ou similaire |
| Transmission de la puissance | |||
| Nombre de vitesses avant | 4 | 4 | 4 |
| Nombre de vitesses arrière | 2 | 2 | 2 |
| Boîte de vitesse | Disque de friction | Disque de friction | Disque de friction |
| Prise du moteur | Courroies avec galets tendeurs | Courroies avec galets tendeurs | Courroies avec galets tendeurs |
| Vitesses | |||
| Avant maxi, km/h | 5,8 | 5,8 | 5,8 |
| Arrière maxi, km/h | 3,2 | 3,2 | 3,2 |
| Niveau Sonore | |||
| Niveau de pression acoustique au niveau de l'oreille de l'opérateur à 3500 t/min mesuré selon ISO 7182, db(A) | 88 | 91 | 91 |
| Niveau de puissance acoustique à 3500 t/min mesuré selon ISO 3745, db(A) | 100 | 102 | 102 |
| Niveau de Vibrations | |||
| Niveau de vibrations dans la poignée à 3500 t/min, mesuré selon ISO 7505 | |||
| A gauche, m/s2 | 1,9 | 2,0 | 2,0 |
| A droite, m/s2 | 1,8 | 1,4 | 1,4 |
Notice Facile