DS 40 GYRO - Perceuse HUSQVARNA - Notice d'utilisation et mode d'emploi gratuit
Retrouvez gratuitement la notice de l'appareil DS 40 GYRO HUSQVARNA au format PDF.
| Type d'appareil | Niveau laser rotatif |
| Précision | ± 1 mm à 10 m |
| Portée | Jusqu'à 300 m avec récepteur |
| Autonivellement | Automatique |
| Plage d'autonivellement | ± 5° |
| Source d'alimentation | Piles rechargeables ou batteries |
| Durée de fonctionnement | Environ 20 heures |
| Type de laser | Classe 2, 635 nm (rouge) |
| Mode de fonctionnement | Rotation continue ou impulsion |
| Indice de protection | IP54 (résistant à la poussière et aux éclaboussures) |
| Poids | Environ 1,5 kg |
| Température de fonctionnement | -10 °C à 50 °C |
| Montage | Filetage standard 5/8" |
| Accessoires inclus | Trépied, récepteur laser, mallette de transport |
| Utilisation recommandée | Chantiers de construction, nivellement, alignement |
FOIRE AUX QUESTIONS - DS 40 GYRO HUSQVARNA
Téléchargez la notice de votre Perceuse au format PDF gratuitement ! Retrouvez votre notice DS 40 GYRO - HUSQVARNA et reprennez votre appareil électronique en main. Sur cette page sont publiés tous les documents nécessaires à l'utilisation de votre appareil DS 40 GYRO de la marque HUSQVARNA.
MODE D'EMPLOI DS 40 GYRO HUSQVARNA
Manuel d'utilisation
Lire attentivement le manuel d'utilisation pour en comprendre le contenu avant d'utiliser Dimas DS 40 Gyro.

Bedienungsanweisung
Explication des symboles 4
Consignes de sécurité 10
Presentation 14
15
Quels sont les composants? 16
Instructions de montage 17
Forage 18
Entretien 24
Déclaration de conformité EU 25
NL Inhoudsopgave
Lire le manuel d'utilisation en entier avant toute'utilisation ou entretien de la machine.

Lire, assimilar et respecter tous les avertissements et toutes les instructions presentes dans ce manuel d'utilisation et sur la machine.

Toujours porter des protections pour les yeux et les oreilles, un casque, un masque, des gants, des pantalons et des bottes de protection lors de toute utilisation de la machine. Une trousse de premiers soins doit toujours être à portée de main.

Ce produit est conforme à la directive CE en vigueur

Contrôler la résistance du toit. Le toit doit être solide.

Contrôler que la fourche agrippe le tube interieur et serrer à l'aide d'une clé de 24mm

Bloquer l'écrou à l'aide d'une clé de 30~mm
Contrôler le contre-écrou sur la poignée en L. Serrer jusqu'à ce qu'il ne pousse presque plus bouger et de manière à ce que son réglage ne soit pas modifié par les vibrations en cas de perçage horizontal.
MAX 0 150 mm/6 in

La perceuse doit être appropriée et adaptée aux dimensions du perçage à effectuer. Diamètre de perçage max. 150~mm

Sens de rotation
La perceuse doit être appropriée et adaptée aux dimensions du.Percage a effectuer.
La perceuse doit être conforme aux directives en vigueur, aux normes UE et aux normes nationales.
Consulter le manuel d'utilisation de la perceuse utilisée
Exemple de perceuse appropriée : Husqvarna DM 225

FR Consignes de sécurité
Ce manuel d'utilisation est concu pour vous aider a utiliser cet équipement en toute sécurité. Il donne aussi des informations sur la maintenance. Les équipements sont concus pour des applications industrielles et destinés à des opérateurs experimentés. Lire le manuel d'utilisation attentivement avant de commencer a utiliser l'équipement.
Si l'utilisateur, après la lecture du manuel d'utilisation, n'est pas sur de comprendre les consignes de sécurité concernant l'utilisation de l'équipement, il doit s'abstenir d'utiliser l'équipement. Contacter le revendeur pour obtenir de plus amples informations.
Ces consignes de sécurité indiquent uniquement les principes de base d'une utilisation de toute sécurité. Une description complète de toutes les situations de danger liées à l'utilisation de l'équipement n'est pas possible dans ces consignes de sécurité. Il est par contre possible de prévenir les accidents en faisant preuve de bon sens.
Lors de la conception et de la fabrication des produits Husqvarna, un sein particulier a ete aporte a la securite des machines, outre leur efficacite et leur simplicité d'utilisation. Pour que l'equipement demeure de toute securite, certains points doivent etre respectes:
- Lire ce manuel d'utilisation et bien en assimilar le contenu avant de commencer à utiliser les machines ou effectuer la maintenance. Il incombe au propriétaire de la machine d'expliquer le contenu du manuel d'utilisation à l'opérateur si ce dernier n'est pas en mesure de le litre.
- Tous les opérateurs doivent receivevoir une formation sur l'utilisation de la machine. Il incombe au propriétaire de garantir que les opérateurs reçoivent une formation.
- Contrôler que les machines sont en bon état de fonctionnement avant de les utiliser.
- Des personnes ou des animaux peuvent detourner l'attention de l'opérateur et l'amener à perdre le contrôle des machines. C'est pourquoi l'opérateur doit toujours être attentif et concentré sur son travail.
- Ne jamais laisser la machine sans surveillance. Lorsqu'il tourne, le trépan augmente le risque de blessures.
- Attention! Les habits, les cheveux longs et les bijoux peuvent se coincer dans les parties en mouvement.
- Les spectateurs se trouvant dans la zone de travail peuvent ettre blesses. Ne jamais demarrer la machine sans avoir verifie que personne, humain ou animal, ne se fouve dans la zone de travail. Delimiter la zone de travail si nécessaire.
- Toujours utiliser un équipement de protection adapté tel que un casque, des chaussures de sécurité, des lunettes de protection et une protection antibruit.
- Travail à proximate de lignes électriques :
Quand des outils hydrauliques sont utilisés sur ou pres de lignes électriques, utiliser des flexibles hydrauliques marqués et agréés comme « non conducteurs d'électricité ». L'utilisation d'autres flexibles peut résultat en des blessures personnelles graves voire mortelles. Si les flexibles doivent être changés, veiller à les replacer par des flexibles de type « non conducteur d'électricité ». Contrôler régulièrement l'iso1ation électricque des conducteurs des flexibles selon les instructions spécifiques.
- Contralr soigneusement qu'aucun conducteur d'electricite ou conduite d'eau ne risquent detre percés.
- Travail à proximé de conduites de gaz:
Toujours contrôle et marquer les emplacements des conduites de gaz. Le forage pres d'une conduite de gaz est toujours synonyme de danger. Veiller à éviter la formation d'étin celles lors du sciage en raison d'un certain risque d'explosion. L'opérateur doit toujours être attentif et concentré sur son travail. La négligence peut cause des blessures personnelles graves voire mortelles.
- Ne jamais utiliser un support endommagé.
- Contrôler que les fixations murales et le rail sont anciés solidement.
- En cas de forage, toujours prévoir une personne à proximé afin de pouvoir obtaining de l'aide en cas d'accident.
- Ne jamais utiliser l'opération s'il ne fonctionne pas correctement.
- Ne jamais modifier les dispositifs de sécurité. Contréler régulièrement qu'ils fonctionnment correctement.
- Les directives à caractère préventif, les autres directives de sécurité générales et les règes de l'inspection du travail doivent toujours être suivies.
- Veiller à toujours avoir à portée de la main une trousse de premiers secours lors de tout travail avec l'équipement.
- Veiller à tener mains et pieds loin des pieces en rotation.
- S'assurer que toutes les pieces sont en etat de fonctionnement et que tous les éléments de fixation sont correctement serrés.
- Remiser les machines dans un local fermé à clé afin qu'elles soient inaccessibles aux enfants et aux personnes ne possédant pas la formation requise pour utiliser ces machines.
-
Toujours contrôler la partie arrêté du mur/de l'étage traversé par le trépan. Delimiter la zone de travail et s'assurer que personne ne risque d'être blessé et qu'aucun équipement ne risque d'être endommagé.
-
Tenir compte du risque d'incendie lors de la formation d'étin celles et du développement de chaleur. S'il n'este pas de reglementation locale en matière de protection contre les incendies pour les foreuses, les découvertes et les affuteuses, respecter les règes applicables au soudage à l'arc.
- Veiller au bon éclairage du poste de travail.
- Éviter tout contact corporel avec les surfaces mises à la terre.
- Adopter une position droite bien équilibrée pendant le forage.
- Toujours arrêté la machine avant un déplacement.
- Maintainir le poste de travail propre et range.
- Contrôler avant de commencer à percer que l'équipement est bien attaché.
- Toujours bien entretenir l'équipment. Pour des performances élevées de toute sécurité, dévelopir l'équipment et la machine propres, sans poussières etGRAisse.
- REMARQUE! Lors du montage/réglage et du démontage de l'équipement, vérifier que la foreuse et le trépan ont bien été démontés.
- Toujours utiliser le collecteur d'eau.

AVERTISSEMENT!
Toujours utiliser les vêtements et équipements de protection agrées. Les vêtements et équipements de protection ne suppriment pas le risque d'accidents. Cependant, l'utilisation de vêtements et déquipements de protection adaptés permet de réduire le degré de gravité des blessures évientuelles en cas d'accident. Contacter le revendeur pour有關ir des informations sur les vêtements et équipements de protection agrées qui sont recommandés.

AVERTISSEMENT!
Cet équipement ne doit enaucun cas etre modifie de sa version d'origine sans l'autorisation du fabricant. Toute modification non autorisée peut entrainer des blessures graves, voire mortelles.

AVERTISSEMENT!
Une utilisation imprudente ou incorrecte de cet équipement peut être dangereuse et entrainer des accidents graves, voire mortels. Il est impératif de dire ce manuel d'utilisation et d'en comprendre le contenu avant d'utiliser l'équipment.
IMPORTANT!
DS 40 Gyro est destiné uniquement aux foreuses électriques monophasées et gainées.
Le diamètre de forage maximal autorisé pour l'utilisation de DS 40 Gyro est de 150~mm . L = 600~mm
Afin de nouveaux ancrer pilier de forage en cas de forage dans un mur ou un plafond, une fixation d'expansion (1) disponible comme accessoire supplémentaire peut être utilisée. Sid. 19 Fig. 6
Sid. 23 Fig. 14
Husqvarna DS 40 Gyro est un système de support téléscopique destiné à l'ancrage des foreuses pour béton et des collecteurs. Le système est constitué de modules et offre de nombreuses possibités de réglage permettant le forage droit ou l'ébarbage dans les murs, les plafonds et les sols. Le support est livré avec 2 piètements. Le piètement GB 40 T est utilisé pour le forage des sols, murs et plafonds comme support au poteau téléscopique. Le piètement pour ébarbage GB 40 AT est utilisé pour le forage des murs et des sols lorsque le piètement est attaché avec une vis d'expansion.
NL Presentatie
Le poteau téléscopique est d'une longueur maximale de 3,1m mais peut être prolongé de 0,75cm à l'aide d'un module d'extension (accessoire supplémentaire). Un seul module d'extension doit être utilisé.
Le pilier de forage pivote sur 360^ permettant ainsi de percer quatre troughs paralleles sans qu'il soit nécessaire de déplacer le piétement.
Seules une clé à ouverture fixe (24/30 mm) et une clé hexagonale de 8 mm sont nécessaires pour modifier les réglages. Les roues de transport sont démontables.
FR Caractéristiques techniques
Longueur telescopique: 1900-3100 mm
Module d'extension 40u: 750 mm
Poids:
Poteau t'élesçique 40: 10,1 kg
Rail mural: 3,8 kg
Pilier de forage: 2,9 kg
Carter d'alimentation: 3,8 kg
Fixation rapide (foreuse) 1,2 kg
Pietement GB 40 T: 4,9kg
Pietement GB 40 AT (avec roues): 7,9kg
Plaque de plafond 40: 1,0 kg
Module d'extension 40u:
(Accessoire supplémentaire) 2,9 kg
Outils: 0,8kg
Fixation d'expansion:
(Accessoire supplémentaire) 0,8kg
Gereedschapset: 0,8 kg
Expansiesteun: (extra accessoire) 0,8 kg


Fig. 2
FR Quels sont les composants?
a. Poteau t'élescpique 40
b. Pilier de forage
c. Carter d'alimentation (x1)
d. Rail mural
e. Poteau/mécanisme de verrouillage
f. Plaque de plafond
g. Piétement (GB 40 T) avec roues de transport
h. Piétement d'ébarbage et extension (GB 40 AT) avec roues de transport
i. Module d'extension
j. Poignée en L
k. Fixation rapide 60mm (moteur de forage)
1. Fixation d'expansion
m. Outils
NL Wat is wat?
Contrôler, avant de commencer à forer, que toutes les vis de fixation sont bien serrées. Des accidents graves risquent de se produit si le bloc en béton reste sur le trépan quand il est retired du sol, du mur ou du plafond. Un seul module d'extension doit être utilisé.
- Monter Husqvarna DS 40 Gyro selon les instructions.
- Placer le piétement avec la longueur du pilier de forage depuis le mur. La vis du poteau doit être vissée.
NL Boren in wanden

WAARSCHUWING!
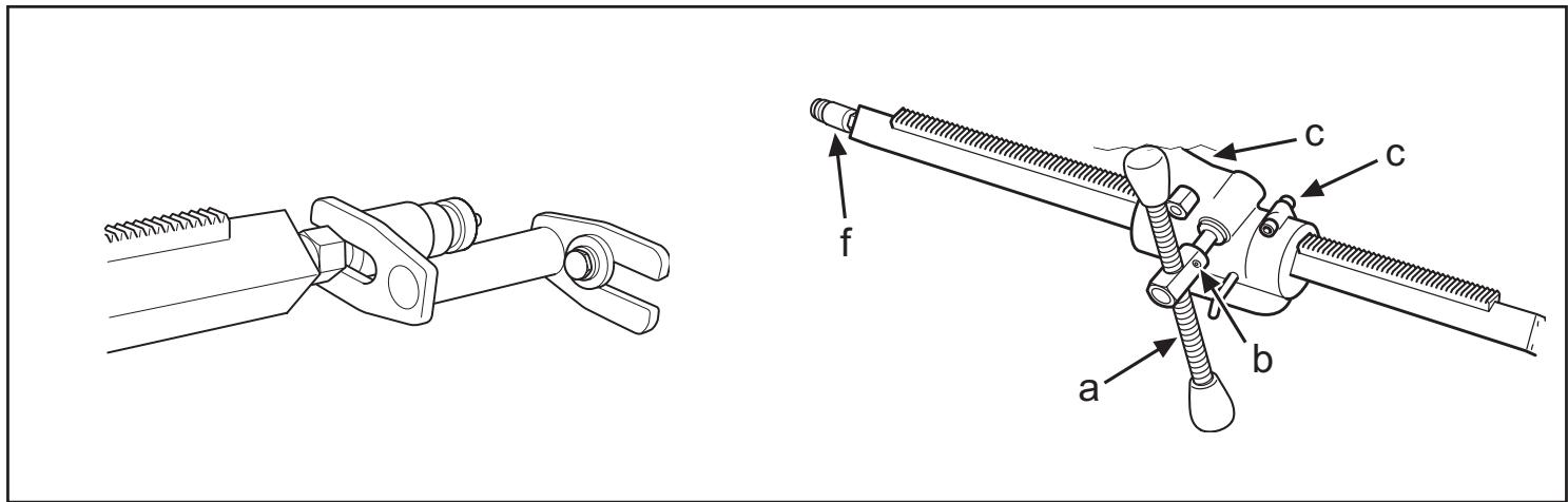
Si le forage est effectué à une hauteur supérieure à 1,5m ,le gros tube extérieur doit être orienté vers le haut ; si le forage est effectué à une hauteur inférieure à 1,5m ,il doit être orienté vers le bas. Contrcler que le poteau est verrouillé dans le piétement à l'aide du boulon de blocage (a) (Fig. 3).
- Attacher le poteau téléscopique au plafond enChoosingant le trou le plus proche du tube interne perforé. Serrer à l'aide de la poignée du poteau (b) et visser à la fin avec une clé de 24mm sans serrer trop fort.
- Desserrer la poignée de verrouillage (c) et tournier le pilier de forage avec le carter d'alimentation.
- Attacher le carter d'alimentation sur le pilier de forage (h) (Fig. 4).
-
Monter la foreuse dans la fixation rapide du carter d'alimentation. Serrer les écrous coniques (d) (Fig. 4/12) à l'aide d'une clé de 24 mm.
-
Wanner hoger dan 1,5m 要去 worden geboard,要去 de grovere buitenpijp omhoog zijn gedraaid en andersom wanner lager dan 1,5m wordt geboard. Controller of de stut met de borgbout (a) in de bodemplaat vastzit (Fig. 3).
- Stut de telescopische stut gegen het plafond, kies het dichtstbijzijdengat in de geperforeerde binnenpijp. Onderstut met de stutknop (b) en zet het LASTe stuk vast met de 24mm sleutel, Niet te hard onderstuten.
- Maak de borgknop (c) los en draai de boorkolom uit het toevoerhuis.
- Zeker het toevoerhuis vast op de boorkolom (h) (Fig. 4).
- Monteer de boormachine in de snelbevestiging op het toevoerhuis. Draai de conische moeren (d) vast met een 24mm sleutel (Fig. 4/12).

Fig. 6
Fig. 7
Forage dans un mur, suite
- Remetre en place, sorter le pilier de forage et attacher avec la poignee en L (d) et l'écrou (g) (Fig 3). En cas d'ébarbage, la poignée en L peut être desserrée et le pilier de forage être régle sur l'angle souhaité en serrant l'écrou (g) à l'aide d'une clé de 30 mm (Fig.4).
- Contrôler la position du trépan. Visser la vis du poteau (f) (Fig. 3/7) sur le mur pour attacher le pilier de forage. Attacher avec un contrôle d'atmosphère de 30~mm (f) (Fig. 3/7) en utilisant une règle en bois ou un instrument similaire comme piece intermédiaire.
- Le pilier de forage peut pivoter à 360^ et se verrouiller sur la position choisisé à l'aide d'une clé hexagonale de 8 mm (e) (Fig. 3/4).
FR Forage dans un mur, fixation d'expansion

REMARQUE!
Contrôler, avant de commencer à forer, que toutes les vis de fixation sont bien serrées. Des accidents graves risquent de se produit si le bloc en béton reste sur le trépan quand il est retire du sol, du mur ou du plafond.
- Percer un trou (15mm) dans le mur et enforcer le boulon d'expansion. Visser le piétement GB 40 AT à l'aide d'une clé de 24~mm (Fig.8).
- Le pilier de forage se monte sur la fixation angulaire du piétement. Serrer la vis de blocage (a) à l'aide d'une clé hexagonale de 8 mm (Fig. 9). Le carter d'alimentation est pivoté de 180^ et remonté sur le pilier de forage. La foreuse peut être remontée dans la fixation rapide. Le pilier de forage peut pivoter de 360^ et être verrouillé en continu sur la position souhaïée à l'aide de la vis de blocage (a).
- Le pilier de forage peut être régé sur la position souhaïée en serrant l'écrou (b) à l'aide d'une clé de 30~mm .
Boren in wanden, expansiesteun

N.B!
(FR) Forage dans le sol

REMARQUE!
Un seul module d'extension doit être utilisé.
Contrôler que personne, à l'étage du dessous, ne risque d'être blessé par les chutes des blocs de béton.
- Monter le support selon les instructions.
- Placer le support sur la position souhaitée.
Boren in vloeren

N.B!
FR Forage dans le plafond

REMARQUE!
Contrôler, avant de commencer à percer, que toutes les vis de blocage sont bien serrées. Des accidents graves risquent de se produit si le bloc en béton reste sur le trépan quand il est retire du sol, du mur ou du plafond. Un seul module d'extension doit être utilisé.
REMARQUE! Compte tenu de l'eau de refroidissement, le forage dans le plafond ne doit être effectué qu'avac un moteur de forage électrique totallyment protégé. Tout autre type de moteur électrique serait court-circuité.
NL Boren in plafond

N.B.!
Forage dans un plafond, suite
- Visser la vis du poteau contre le plafond afin de fixer le pilier de forage sur la position souhaïée et verrouiller à l'aide d'un contre-écrou de 30~mm (a) (Fig.12). Utiliser une règle en bois ou un instrument similaire comme piece intermédiaire.
- Pour attacher de manière encore plus sûre le poteau de forage, une fixation d'expansion (accessoire supplémentaire) peut être utilisée (Fig.14). La fixation est réglée contre la vis du poteau et attachée
au plafond à l'aide d'un boulon d'expansion.
Consolder à l'aide d'un contre-écrou de 30~mm .
Pour qu'il continue à fonctionner comme il se doit, i est essentiel que le support de forage soit maintainu propre et en bon état. Le support doit être nettoyé avec de l'air comprimé, puis séché.
Graissage
Après le lavage, il est important deGRAisser les éléments mobiles du support avec une graisse standard afin d'éliminer tout risque de corrosion sur les surfaces de contact.
Remisage
Le support de forage doit être remisé dans un local sec.
NL Onderhoud
Schoonmaken
Déclaration de conformité EU
Husqvarna Construction Products Sweden AB, SE-443 81 Partille, Suède, tél. +46-31-949000, déclare sous sa seule responsabilité que le support de forage DS 40 Gyro de l'année de fabrication 2004 et ultérieurement est conforme aux dispositions de la DIRECTIVE DU CONSEIL :
- du 22 juin 1998 relative aux machines 98/37/EC, annexe IIA
La norme suivante a ete appliquee: SE-EN 12348
Le moteur de la perceuse doit etre conforme aux directives européennes en vigueur et à la législation nationale.
Partille, le 15 avril 2005
Martin Larsson
Martin Larsson, directeur du service R&D

Notice Facile