KIS 740 B - Réfrigérateur encastrable HOTPOINT - Notice d'utilisation et mode d'emploi gratuit
Retrouvez gratuitement la notice de l'appareil KIS 740 B HOTPOINT au format PDF.
| Type d'appareil | Cuisinière |
| Nombre de foyers | 4 |
| Type de foyer | Vitrocéramique |
| Dimensions (LxHxP) | Non précisé |
| Puissance totale | Non précisé |
| Alimentation électrique | 230 V |
| Installation | Pose libre |
| Type de commande | Manuelle |
| Fonction sécurité | Protection enfant |
| Nettoyage | Surface lisse facile à nettoyer |
| Accessoires inclus | Non précisé |
| Garantie | Non précisé |
| Normes de conformité | Conforme aux normes européennes |
| Consommation énergétique | Non précisé |
| Type d'installation électrique | Branchement direct |
| Instructions fournies | Oui, multilingues |
FOIRE AUX QUESTIONS - KIS 740 B HOTPOINT
Questions des utilisateurs sur KIS 740 B HOTPOINT
0 question sur cet appareil. Repondez a celles que vous connaissez ou posez la votre.
Poser une nouvelle question sur cet appareil
Téléchargez la notice de votre Réfrigérateur encastrable au format PDF gratuitement ! Retrouvez votre notice KIS 740 B - HOTPOINT et reprennez votre appareil électronique en main. Sur cette page sont publiés tous les documents nécessaires à l'utilisation de votre appareil KIS 740 B de la marque HOTPOINT.
MODE D'EMPLOI KIS 740 B HOTPOINT
Consignes de sécurité importantes 22
Conseils pour la protection de
I'environnement 23
Declaration de conformite 23
Avant d'utiliser l'appareil 23
Diametre conseille pour le fond
des cassetoles 24
Table des puissances 24
Installation 25
Branchement électrique 25
Mode d'emploi 26
Nettoyage 28
Diagnostic des pannes 29
La table de cuisson est bruyante 29
Service après-vente 29

Espanol
Ces instructions sont également disponibles sur le site Web : www.hotpoint.eu
VOTRE SECURITE ET CELLE DE VOTRE ENTOURAGE MERITENT Toute VOTRE ATTENTION
Le present manuel contient des messages de sécurité importants qui figurent également sur l'appareil. Nous vous invitons à les dire soigneusement et à les respecter en toute circstante.

Ceci est un symbole d'advertissement concernant la sécurité, il attire l'attention des utilisateurs sur les dangers auxquels eux-memes ou d'autres personnes peuvent etre exposés.
Tous les messages de sécurité sont precedés du symbole de danger et des termes suivants :

DANGER

AVERTISSEMENT
Situation dangereuse pouvant entrainer des léasons graves.
Situation dangereuse pouvant entrainer des léasons graves.
Tous les messages relatifs à la sécurité spécifique le risque potentiel auquel ils se refèrent et indiquent comment réduire le risque de blessures, de dommages et de chocs électriques resultant d'une'utilisation non réglementaire de l'appareil. Assurez-vous de respecter ce qui suit :
- Utilisez des gants de protection pour proceder à toutes les opérations de déballage et d'installation.
- Débranche l'appareil avant de procéder aux opérations d'installation.
- Les opérations d'installation et d'entretien sont du ressort exclusif d'un technicien spécialisé. Celui-ci est tenu de respecter les instructions du fabricant et les normes locales en vigueur en matière de sécurité. Ne procédez à aucune réparation ni àaucun remplacement de piece sur l'appareil autres que ceux spécifique indiqués dans le manuel d'utilisation.
L'appareil doit être mis à la masse.
Le cordon d'alimentation doit etre suffisamment long pour permettre le branchement de l'appareil une fois installe dans son logement.
Pour que l'installation soit conforme aux reglementations en vigueur en matière de sécurité, l'appareil doit être branché au moyen d'un interrupteur omnipolaire avec une distance d'ouverture des contacts d'au moins 3 mm. - N'utilizez ni rallonge, ni adaptateur multiple.
- Ne tirez pas sur le cordon d'alimentation de l'appareil.
- Une fois l'installation terminée, l'utilisateur ne doit plus pouvoir acceder aux composants électriques.
L'appareil a ete conu quenement comme appereil mener gendé à la cuisson des alimentes. Aucune autre utilisation n'est autorise (par ex. chauffer des locaux). Le fabricant decline toute responsabilité en cas d'utilisation incorre cate ou de mauvais reglages des commandes.
L'appareil, ainsi que ses parties accessibles, peuvent atteindre une température très élevé en cours d'utilisation. Veillez à ne pas toucher les résistances chauffantes. Les enfants en bas âge (0-3 ans) et les jeunes enfants (3-8 ans) doivent être tenus à l'écart de l'appareil sauf s'ils se trouvent sous surveillance constante. - Les enfants âgés de 8 ans et plus, ainsi que les personnes représentant des capacité physiques, sensorielles ou mentalles réduites, ou ne possédant ni l'expérience ni les connaissances requises, peuvent utiliser cet apparéil sous la surveillance ou les instructions d'une personne responsable leur ayant expliqué l'utilisation de l' apparéil en toute sécurité, ainsi que les dangers potentiels. Les enfants ne doivent pas journé avec l' apparéil. Ils ne doivent pas le nettoyer, ni procédé à son entretien sans surveillance.
Veillez à ne pas toucher les résistances chauffantes de l'appareil pendant et après l'utilisation. Ne touche pas le four avec des chiffons ou autres matériaux inflammables avant que tous les composants n'aient entierement refroidi. - Ne placez jamais des produits inflammables sur ou à proximé de l'appareil.
Lorsqu'elles atteignent une température trop élevé, les huiles et les matieres grasses peuvent s'enflammer facilement. Prenez garde lors de la cuisson d'aliments riches en graisse et en huile. -
Un panneau de séparation (non fourni) doit être installé dans le compartment sous l'appareil.
-
Si la surface est fissurée, éteignez l'appareil pour éviter tout risque de chocoléctrique (uniquement pour les apparêils avec surface en verre).
L'appareil n'est pas concu pour etre utilise a l'aide d'une minuterie externe ou d'un dispositif de commande a distance séparé.
La cuisson sans surveillance d'un plat contenant de la graisse ou de l'huile sur une plaque chauffante peut s'avérer dangereuse et provoquer un incendie. N'essayez JAMAIS d'éteindre un feu avec de l'eau, mais éteignez l'appareil puis couvrez les flammes à l'aide d'un couvercle par ex. ou d'une couverture anti feu.
Risque d'incendie: ne stockez pas d'objets sur les surfaces de cuisson. - N'utilisez pas d'appareils de nettoyage à la vapeur.
- Les objets métalliques tels que les couteaux, fourchettes, cuillères et couvercles ne doivent pas être placés sur la surface de la table de cuisson car ils peuvent devenir très chauds.
- Àprous l'utilisation, éteignez la table de cuisson à l'aide de sa commande et ne vous fiez pas au détecteur de casserole (uniquement pour les apparèils à induction).
CONSEILS POUR LA PROTECTION DE L'ENVIRONNEMENT

Elimination des emballages
Les matériaux d'emballage sont entierement recyclables comme l'indique le symbole (C). Ne les jetez pas dans la nature et respectez les reglementations locales en vogueur en matière d'élimination des déchets.
Mise au rebut de l'appareil
Le symbole sur l'appareil et sur la documentation qui I'accompagne indique qu'il ne peut en aucun cas ettre traite comme un dechet menager et qu'il doit etre remis a un centre de collecte agree pour le recyclage des equipments electriques et electroniques.
Conseils pour economiser l'énergie
Pour obtenir lesassageurs résultats, nous vous conseillons en outre :
d'utiliser des ustensiles de cuisson et des casseroles d'un diametre identique a celui du foyer ;
d'utiliser exclusivement des ustensiles de cuisson à fond plat;
- dans la mesure du possible, de laisser le couvercle sur la casserole pendant la cuisson;
d'utiliser un autocuseur pour economiser encore plus d'énergie et de temps;
- de placer la casserole au centre du foyer dessiné sur la table de cuisson.
Si laaille des casseroles ne convient pas, les foyers ne s'allument pas. Utilisez exclusivement des casseroles compatibles induction, portant le symbole correspondant (voir la figure ci-contre). Avant d'allumer la table de cuisson, posez la casserole sur le foyer désiré.
Avec les casseroles adequates, les zones de cuisson sont activées lors que la température ambiente est supérieure à 10^
ANCIENS RECIPIENTS

Pour vérifier si la casserole est compatible avec la table à induction, utilisez un aimant : s'il n'y a pas attraction, cela signifie que la casserole ou la poèle n'est pas compatible.
N'tilisez pas les casseroles ayant un fond rugieux susceptible de rayer la surface de la table de cuisson. Contrôlez les recipients.
- Ne posez jamais les casseroles ou les poèles chaudes sur le bandeau de commande de la table de cuisson. Vous risqueriez de l'endommager.
DIAMÉTRE CONSEILLE POUR LE FOND DES CASSEROLES
Placez le plat de cuisson sur la zone de cuisson requise avant d'allumer la table de cuisson.
Pour une bonne cuisson, le diamètre de la base du plat de cuisson devrait etre le meme que celui de la plaque chauffante.
| Diamètre (cm) | Max (cm) | Min (cm) |
| 14,5 | 14,5 | 10 |
| 18 | 18 | 12 |
| 21 | 21 | 15 |
| 24 | 24 | 15 |
| 26 | 26 | 17 |
| Diamètre (cm) | Max (cm) | Min (cm) |
| 28 | 28 | 17 |
| 30 | 30 | 17 |
| FLEXI /CONNEXION | 39 - 18 | 12 |
Grosseur du plat de cuisson
Pour déterminer la grosseur du plat de cuisson, mesure la base du plat (voir la photo) et reportez-vous au tableau pour les largeurs recommendées pour les bases de plats de cuisson, disponible plus bas, pour une utilisation efficace et optimale du système de détction. Chaque zone de cuisson a une limite de détction de plat de cuisson minimum, qui varie selon le matériel utilisé dans la fabrication du plat. Vous devriez utiliser la zone de cuisson la plus ajustée pour le diamètre de votre plat de cuisson.

POSITION CONSEILLEE DES CASSEROLES
Pour obtenir des performances optimes, lorsque vous utilise deux casseroles simultanément, placez-les selon les illustrations ci-dessous :




TABLE DES PUISSANCES
| Niveau de puissance | Type de cuisson | Utilisation des puissances (valeur indicative pouvant être adaptée en fonction de l'expérience et des habits des chacun) | |
| Puisance maxi | Boost | Chauffage rapide | Augmentation rapide de la température de cuisson jusqu'à ébullition de l'eau ou chauffage rapide des liquides. |
| 9-7 | FIRE - bouillir | Faire rissoler, débuter une cuisson, fire des aliments surgelés, porter rapidement à ébullition | |
| Puisance forte | Rissoler - faire revenir - bouillir - griller | Faire revenir, maintainir à ébullition, cuire et griller (cuisson de courte durée, 5-10 minutes). | |
| 7-5 | Rissoler - cuire - cuire à l'étouffée - faire revenir - griller | Faire revenir, maintainir à légère ébullition, cuire et griller (cuisson de durée moyenne, 10-20 minutes), préchauffer | |
| Puisance moyenne | Cuire - cuire à l'étouffée - faire revenir - griller | Cuire à l'étouffée, maintainir une légère ébullition, cuire et faire griller (cuisson de longue durée). | |
| 4-3 | Cuire - mitonner - épaissir - mélanger les pâtes | Cuissons longues (riz, sauscs, viandes, poisson) d'alments baignant dans un liquide (ex. eau, vin, bouillon, lait) et préparation des pâtes. | |
| Cuisons longues (volumes inférieurs à 1 litre : riz, sauscs, viandes, poisson) d'alments baignant dans un liquide (ex. eau, vin, bouillon, lait) | |||
| Puisance faible | 2-1 | Faire fondre - déconceler - maintainir au chaud - mélanger les risottos | Ramollir le beurre, faire fondre délicatement le chocolat, déconceler des aliments peu volumineux et maintainir à température des aliments qui viennent d'être cuits (par ex. sauscs, soupes, potages) |
| Garder au chaud de petites portions à peine cuiniees ou des plats de service et mélanger des risottos (avec l'accessoire approprié pour la plaque à induction). | |||
| OFF | Puisance zéro | Surface de la table | Table de cuisson en veille ou éteinte (chaleur résiduelle après la fin de la cuisson, signalée par la dette H) |
REMARQUE
Pour les préparations courtes nécessitant une parfaite répartition de la chaleur (crêpes, par exemple), il est conseilé d'utiliser des ustensiles inférieurs à 24 cm de diamètre sur le double foyer de 28 cm (selon le modele). Pour les cuissons délicates (par exemple, pour faire fondre du chocolat ou du beurre), il est conseilé d'utiliser les foyer simples plus petits.
Aprs a t l i n e o r t t.
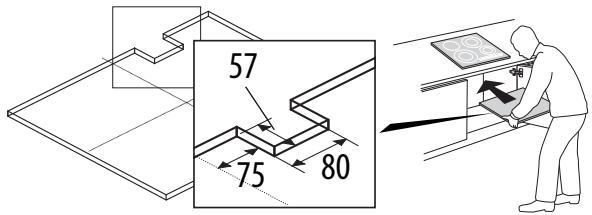
PREPARATION DU MEUBLE POUR UNE INSTALLATION ENCASTREE

AVENTISSEMENT
- Installez une doison de séparation sous la table de cuisson.
- La partie inférieure de l'appareil ne doit pas etre accessible après l'installation.
Si la table de cuisson est installée au-dessus d'un four, il est inutile d'utiliser la cloison de séparation.


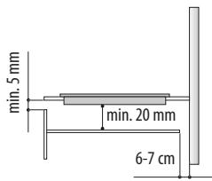
Respectez les cotes indiquées sur la figure pour la distance entre le fond de la table de cuisson et la cloison de séparation.
Pour un bon fonctionnement de la table de cuisson, veillez à ne pas obstruer l'espace minimum entre le plan de travail et la surface supérieure du meuble (min. 5 mm).
Si vous installez un four sous la table de cuisson, vérifie qu'il est équipé d'un système de refroidissement.
N installation pas la table de cuisson au-dessus d'un lave-vaiselle ou d'un lave-linge pour pas exposer les circuits electroniques à la vapeur ou à l'humidité qui risqueraient de les déterminer.
Si you souhaitez realiser une installation bord à bord, appelez le service après-vente et demandez le montage du kit vis 4801 211 00112.
Pour enlever la table de cuisson, utilisez un tournevis (non livre en série) et intervenzez sur les ressorts du pourtour inférieur de l'appareil.
BRANCHEMENT ÉLECTRIQUE

AVERTISSEMENT
- Débranche l'appareil de l'alimentation electrique.
- L'installation doit être effectuee par un personnel qualifie qui connait les reglementations actuelles relatives à la sécurité et à l'installation.
Le fabricant decline toute responsabilité en cas de blessure causée à des personnes ou des animaux et en cas de dommage matériel resultant du non-respect des consignes continues dans ce chapitre.
Le cordon d'alimentation doit etre assez long pour permettre a la table de cuisson etre retiree du plan de travail.
Assurez-vous que la tension spécifiée sur la plaque signalétique située au bas de l'appareil correspond à celle de votre logement.


- Retirez le cache-borne (A) en dévisant la vis et insérez le couvercle dans la charnière (B) du bloc de junction.
- Branchez le cordon d'alimentation dans la bride et reliez les cables au bloc de jonction comme indiqué sur le schema de cablage situé près du bloc de jonction.
- Fixez le cable d'alimentation à l'aide du serre-cable.
- Fermez le couvercle (C) et vissez-le sur le bloc de jonction avec la vis retiree precedemment.
Pour chaque raccordement au réseau, la table de cuisson effectue automatiquement des vérifications pendant quelques secondes.

Branchement à la prise secteur





MODED'EMPLOI

Description du bandeau de commande
Bandeau de commandes


Marché/arrêt de la table de cuisson
Pour allumer la table, appuyez 2 secondes sur la touche ① jusqu'à ce que les afficheurs des foyer s'éclairent. Pour éteindre, appuyez sur cette même touche jusqu'à l'extinction des afficheurs. Tous les foyer sont désactivés.
Si la table de cuisson a déjà été utilisée, l'indicateur de chaleur résiduelle « H » reste actif jusqu'à refroidissement des foyers.
Si on ne selectionne aucune fonction dans les 10 secondes qui suivent la mise en marche de la table de cuisson, elle se désactive automatiquement
Activation et réglage des foyer


Indicateur de puissance Indication de la zone de cuisson selectionnee


Positionnement de la zone de cuisson
Augmentation de la puissance
Fonction Slider

Réduction de la puissance

Placez une casserole sur la zone de cuisson, allumez la table de cuisson, puis activez la zone de cuisson requise en appuyant sur la touche « + » correspondante; « 0 » apparait à l'écran. Il est possible de selectionner le niveau de puissance requis, de 0 min. à 9 max., ou le booster « P » si disponible. Pour augmenter le niveau de puissance, appuyez sur la touche « + ». Pour diminuer le niveau de puissance, appuyez sur la touche « - »
Déactivation des foyer de cuisson
Pour désactiver la zone de cuisson, appuyez sur les touches « + » et « - » correspondantes pendant plus de 3 secondes.
La zone de cuisson s'estint;si elle est encore chaude,la lette « H » est visible sur l'afficheur.
Verrouillage du bandeau de commande
Cette fonction verrouille les commandes pour évider l'activation accidentelle de la table de cuisson. Pour activer le verrouillage du bandeau de commande, activé la plaque de cuisson et appuyez sur la touche de fonction de verrouillage pendant trois secondes; un signal sonore ainsi qu'un témoin lumineux près du symbole de cadenas indiquent l'activation de la fonction. Le bandeau de commande est verrouillé, à l'exception de la fonction Arrêt. Pour déverrouiller les commandes, répéteze ces opérations. Le point lumineux s'éteint et la table est à nouveau active.
L'eau, le liquide ayant débordé des casseroles et les objets posés sur la touche, sous le symbole, peuvent provoquer l'activation ou la désactivation involontaires de la fonction Sécurité Enfants.
Minuterie
La minuterie permet de programmer le temps de cuisson, au maximum 99 minutes (1 heures et 39 minute) pour tous les foyers. Sélectionnez la zone de cuisson à utiliser avec le minuteur, appuyez sur le minuteur (reportez-vous au dessin) et un bip indique la fonction (voir figure).
L'afficheur indique 00 et la LED s'allume. Vous pouvez réduire ou augmenter la valeur programmée sur la minuterie en maintainant la pression sur les touches + et - de la fonction slider. Quand le temps sélectionné est écoué, un signal sonore vous avertit et le foyer s'éteint automatiquement. Pour désactiver la minuterie, maintenez la pression sur la touche Timer au moins trois secondes.
Pour programmer la minuterie d'un autre foyer repêzez les points ci-dessus. L'afficheur de la minuterie correspond toujours au foyer sélectionné ou à la programmation la plus courte.
Pour modifier ou désactiver la minuterie, appuyez sur le bouton du foyer correspondant.
Avis du bandeau de commande
Fonctions spéciales (le cas échéant)
Certains modèles possèdent des fonctions spéciales.
Automatic function
Cette fonction regle automatiquement le foyer sur la puissance nécessaire pour maintainir une faible ébullition. Activez cette fonction après avoir porté un plat à ébullition en appuyant d'abord sur la touche du foyer puis sur la touche
Voyant de chaleur résiduelle
La table est equipee d'un indicateur de chaleur residuelle pour chaque foyer. Cet indicateur signale les foyer dont la tempereature est encore elevée. L'afficheur indique si le foyer est encore chaud. Quand le foyer presente cette signalisation, il est possible, par exemple, de maintainir un plat au chaud ou de faire fondre du beurre.
Lorsque le foyer a refroidi, l'afficheur s'eteint.
Détection des cassetoles

Si la casserole n'est pas compatible avec votre table à induction, si elle est mal positionnée ou que sa talle est inadapté, le message « casserole absence » s'affiche (figure ci-contre). Dans de telles situations, il est recommendé de repositionner la casserole sur la surface de la table de cuisson jusqu'à couver la position de fonctionnement. Si la casserole n'est pas détectée dans un délai de 60 secondes, la table de cuisson s'éteint.
Fonction Booster (Booster si disponible)
Cette fonction associée à certains foyers permet d'exploiter au maximum la puissance de la table de cuisson (par exemple, pour faire bouillir de l'eau rapidement). Pour activer cette fonction, appuyez sur la touche « + » jusqu'à ce que l'afficheur indique « P ». Cinq minutes après l'activation de la fonction Booster, l'appareil règle automatiquement la puissance du foyer sur 9.
FLEXI/CONNEXION
Cet fon t g s i r a n e o i p la vande. Pour activer la FLEXI /CONNEXION, veillez appuyer sur lestouches ^+ et - en meme temps comme indiqued sur la photo ci-dessous.

« Power management » (Fonction si disponible)
Gracé à la fonction « Power management » vous pouvez programmer la puissance maximale de la table comme vous le souhaitez.
Vous pouvez effectuer à tout moment ce réglage qui reste actif jusqu'à la modification suivante.
Si vouprogrammez la puissance maximale, la table rgle automatique la répartition de la chaleur entre les différents foyers de cuisson et garantit que ce seuil n'est jamais dépasse, ce qui permet de gérer tous les foyers en meme temps sans risque de surcharge.
4 niveaux de puissance maxime sont disponibles et apparaissent sur l'affichage: 2,5 - 4,0 - 6,0 - 7,2 kW (7,2 kW est considéré comme la puissance max. de la table de cuisson).
Au moment de l'achat, la table est regliée sur la puissance maximale.
Après avoir branché l'appareil dans la prise électricque, il est possible de régler la puissance requise pendant les 60 premières secondes en suivant les points ci-dessous :
| Étape | Bandeau de commande | Affichage |
| 1 | + Appuyez pendant3 secondes environ | |
| 2 | Appuyez sur la toucheGestion de la puissancepour confirmer l' étapepréciédente | |
| 3 | / + Appuyez pour régler leniveau choisi parmi lesdifférentes optionsdisponibles | Levoyant s'allume en même temps que lesvoyants indiquant les zones de cuissonindividualles utilisées |
| 4 | L'affichage indique le niveau régé quiclignote pendant environ 2 secondes;ensuite, la table émet un signal sonore puiss'éteint d'elle-même ; elle est prête àl'utilisation |
Si une erreur survient pendant le réglage de la puissance, le symbole é s'affiche au centre, associé à un signal sonore continu d'environ 5 secondes. Dans ce cas, refaites la configuration depuis le début. Si l'erreur se repete, contactez le service après-vente.
Quand la puissance maximale disponible est atteinte pendant l'utilisation, le niveau du foyer clignote deux fois et émet un signal sonore si on tente de l'augmenter. Pour obtenir une puissance supérieure sur ce foyer, diminuez manuellement la puissance d'un ou plusieurs foyers actifs.
Activation/Désactivation du signal sonore (non disponible sur les versions à curseur)
Après avoir activé la table, appuyez et maintenez enforcé le bouton « + » situé à droite pendant au moins trois secondes (« verrouillage du bandeau de commande »).

NETTOYAGE

AVERTISSEMENT
N'tutilisez jamais d'appareil à vapeur pour nettoyer la table de cuisson.
- Avant le nettoyage, vérifie que les foyers sont eteints et que l'indicateur de chaleur résiduelle (« H ») a disparu.
Si la surface affiche le logo iXeliumMD suae ciuniere est tratie a xeliumMD. iXeliumMD est un fini exusif a Whirlpool qui garantit un nettoyage parfait et un eclat durable. Donc, si vous avez une ciuniere IXELIUM, nous you recommendns fortement de suivre les consignes de nettoyage suivantes :
Utilisez un chiffon doux (en microfibre, de préférence) imbibe d'eau ou d'un produit de nettoyage courant pour vitres.
Pour augmenter l'efficacite et améliorer les résultats du nettoyage, passez le chiffon humide sur la surface de verre quelques minutes.
IMPORTANT: N'utilisez pas d'éponges abrasives ni d'éponges à récurer, elles pourraient endommager la surface en verre.
- Après chaque utilisation, laissez refroidir la table de cuisson et nettoyez la cuisinière de façon à éliminer les résidus d'aliments incrustés et les taches.
Le sucre et les alimentes a haute teneur en sucre peuvent endommager la cuisiniere et doivent etre enleves immediatement.
Le sel, le sucre et le sable peuvent égratigner la surface en verre.
Utilisez un chiffon doux, une lingette pour la cuisine absorbante, ou un nettoyant pour cuisiniere (suivre les directives du fabricant). - Des déversements de liquide sur la surface de cuisson peuvent faire vibrer ou déplacer les casseroles.
Essuyez soigneusement la cuisine après l'avoir nettoyée.
DIAGNOSTIC DES PANNES
- Lisez et suivez les instructions de la section « Mode d'emploi »
Vérifiez qu'il n'y a pas de coupure de courant. - Essuyez soigneusement la table de cuisson après l'avoir nettoyée.
Si des codes alphanumeriques s'afficient quand vous allumez la table de cuisson, suivez les indications du tableau ci-dessous.
Si vous n'arrivez pas a eteindre la table de cuisson après I'avoir utilisée, debranchez-la.
| CODE D'ERREUR | DESCRIPTION | CAUSES PROBABLES | ERREUR ELIMINEE |
| C81, C82 | Le bandeau de commande s'éteint à cause d'une température trop élevé | La température interne des composants électroniques est trop élevé | Attendez que la table refroidisse avant de l'utiliser à nouveau |
| C83 | Le bandeau de commande indique le code d'erreur de table éteinte en raison d'un problème dans le circuit électronique | La plaque de cuisson a été fournie avec une surtension | La plaque de cuisson peut toujours être utilisée mais appelez le service après-vente |
| C85 | La table ne fournit pas de puissance à la casserole | La casserole ne convient pas à la table de cuisson à induction | Utilisez une autre casserole |
| F02 ou F04 ou C84 | La tension de connexion est erronée ou il y a un problème avec le système d'alimentation | Le capteur détecte une tension différente de la tension d'alimentation | Débranchez la table du secteur et contrôle le branchement |
| F01, F05, F06, F07, F10, F12, F25, F33, F34, F36, F37, F46, F47, F48, F49, F58, F61, F62, F63, F72, F74, F77 | Débranchez la table. Attendez quelques secondes puis rebranchez-la. Si le problème persiste, contactez le ServiceAprès-vente et communiquez le code d'erreur. | ||
LA TABLE DE CUISSON EST BRUYANTE
Les plaques de cuisson à induction peuvent produces ensembles de bruits et vibrations durant le fonctionnement normal, selon le type de substance et la transformation des alimentes, tels que yeux décrits ci-dessous :
- Bruit de contact: ce type de vibrations est dû à l'utilisation de casseroles recouvertes de différents matérieliaux.
- Clic émis en puissance mi-basse : ce bruit se produit pour atteindre la puissance mi-basse requise.
- Bruit ressemblant à un clic rhytmique: ce bruit se produit lorsque plusieurs zones de cuisson sont activées et/ou à force puissance.
Faible sifflement: ce bruit est du au type de conteneur utilise et à la quantité de nourriture qu'il contient. - Bruit de fond: la plaque de cuisson à induction est munie d'un ventilateur charge de refroidir les composants électroniques; ainsi, le bruit du ventilateur se fait entendre durant le fonctionnement et pendant quelques minutes après la désaction de la plaque de cuisson. En augmentant/diminuant les zones de cuisson activées, le bruit du ventilateur peut augmenter ou diminuer.
Ces conditions sont normales et essentielles au bon fonctionnement du système à induction; elles n'indiquent donc pas de défaut ni de dommage.
SERVICE APRES-VENTE
Avant de contacter le Service Avres-vente
- Consultez le chapitre « Diagnostic des pannes » et assurez-vous que vous ne pouvez pas remedier au problème par vous-même.
- Eteignez et rallumez la table de cuisson pour voir si le probleme a ete elimine.
Si le problème persiste après ces contrôle, adressez-vous au Service Àpre- Vente Whirlpool le plus proche.
Pensez à donner:
- une courte description de la panne;
Le type et le modele exacts de la table de cuisson;
le code service - numero qui suit le mot Service sur la plaque signalétique, sous l'appareil (sur la plaque metallique), - voiture adressé complete;
- nombre de téléphone.
SERVICE 0000 000 00000
Si une réparation est nécessaire, veuillez contactez un ServiceAprès-vente agré (qui vous garantira l'emploi de pieces détachées d'origine et une réparation correcte). Les pieces détachées sont disponibles pendant 10 ans.
Notice Facile