KIS 740 B - Frigorífico empotrado HOTPOINT - Manual de uso y guía de instrucciones gratis
Encuentra gratis el manual del aparato KIS 740 B HOTPOINT en formato PDF.
| Tipo de dispositivo | Cocina |
| Número de zonas de cocción | 4 |
| Tipo de zona | Vitrocerámica |
| Dimensiones (AnxAlxPr) | No especificado |
| Potencia total | No especificado |
| Alimentación eléctrica | 230 V |
| Instalación | Libre instalación |
| Tipo de mando | Manual |
| Función de seguridad | Protección infantil |
| Limpieza | Superficie lisa fácil de limpiar |
| Accesorios incluidos | No especificado |
| Garantía | No especificado |
| Normas de conformidad | Conforme a normas europeas |
| Consumo energético | No especificado |
| Tipo de instalación eléctrica | Conexión directa |
| Instrucciones incluidas | Sí, multilingües |
Preguntas frecuentes - KIS 740 B HOTPOINT
Preguntas de los usuarios sobre KIS 740 B HOTPOINT
0 pregunta sobre este aparato. Responde a las que conoces o haz la tuya.
Hacer una nueva pregunta sobre este aparato
Descarga las instrucciones para tu Frigorífico empotrado en formato PDF gratis! Encuentra tus instrucciones KIS 740 B - HOTPOINT y toma tu dispositivo electrónico nuevamente en la mano. En esta página están publicados todos los documentos necesarios para el uso de su dispositivo. KIS 740 B de la marca HOTPOINT.
MANUAL DE USUARIO KIS 740 B HOTPOINT
Manual de instrucciones ENCIMERA Sumario
Instrucciones importantes
para la seguidad 30
Consejos para proteger el medio
ambiente 31
Declaración de conformidad 31
Antes del uso 31
Recipients preexistentes 31
para el fondo de la olla 32
Tabla de potencias 32
instalación 33
instruetiones de uso 34
limpieza 37
Guía para la solución de problemas 37
Ruido generado por la plac
de cocción 37
Servicio de asistencia技术水平 38

Portugues
Instruioni importante privind siguranta 66
RUMOROSITA DEL PIANO DI COTTURA
INSTRUCCIONES IMPORTANTES PARA LA SEGURIDAD
Estas instrucciones también estarán disponibles en el sitio web: www.hotpoint.eu
SU SEGURIDAD Y LA DE LOS DEMÁS SON SUMAMENTE IMPORTANTES
Tanto el manual como el aparato tiene importantes mensajes de seguridad que hay que leer y respetar siempre.

Símbolo de peligro que advierte sobre riesgos posibles para el usuario y lasDEMáspersonas.
Todoos mensajes de seguidad estan precedidos del symbolo de peligro y de losfollowingos:

PELIGRO
Indica una situación peligrosa que, en caso de no evitarse, provoca lesiones graves.

ADVERTENCIA
Indica una situación peligrosa que, en caso de no evitarse, podía provocar lesiones graves.
Todoos mensajes de seguidad especifican el peligro al que se refieren e indican como reduir el riesgo de lesiones, daños y descargas electricas resultantes de un uso no correcto del aparato. Atenerse estrectamente a las siguientes instrucciones:
- Utilice guantes de proteccion para realizar todas las operaciones de desembalaje e instalacion.
- El aparato se debe desconectar de la red electrica antes de efectuarrialquier trabajo de instalacion.
- La instalación y el mantenimiento deben serejecutados por un先进技术 especializado segun las instruetiones del fabricante y de conformidad con las normas locales vigentes en materia de seguridad. No realizar reparaciones o sustituciones de partes del aparato no indicadas especificamente en el manual de uso.
- La puesta a tierra del aparato es obligatoria.
- El cable de alimentación debe ser suficientemente largo para permitir la connexion del aparato, empotrado en el mueble, a la red electrica.
- Para que la instalación sea conforme a las normas de seguidad vigentes, es requisite un interruptor omnipolar con una distancia minima de 3mm entre los contactos.
- No utiliser TOMAS multíples ni prolongadores.
- No tirar del cable de alimentación del aparato.
- Una vez terminada la instalacion, los componentes electricos no deben quedar accesibles para el usuario.
- El aparato está destinado exclusivamente al uso dométrico para la cocción de alimentos. No se admite ningúnotide otherwise. El fabricante declina cualquier responsabilidad por los días producidos por un mal uso del aparato.
- El aparato y sus piezas accesibles se calientan durante el uso. Hay que tener cuidado para no tocar los elementos que generan calor. Los niños entre 0 y 3 años y entre 3 y 8 años deben mantenerse alejados, a menos que estén bajo vigilancia constante.
- Tanto los niños a partir de 8 años como las personas cuyas capacities físicas, sensoriales o mentales estén disminuidas o que carezcan de la experiencia y conocimientos necessarios poderizar este electrodométrico si reciben la supervisión o las instrucciones necessarias bajo el uso del mismo de forma segura y comprenden los riesgos a que se exponen.
- Durante y después del uso no tocar las resistencias del aparato. Evitar el contacto con paños u otros materiales inflamables hasta que todos los componentes del aparato se hayan enfiado lo sufiente.
- No apoyar material inflamable sobre el aparato o cercà de él.
El aceite y la grasa recalentados能把 arder con calidad. Vigilar la coccion de los alimentos ricos en grasa y aceite. - No apoyar en la zona de coccción objetos metálicos como utensilios de cucina (cuchillos, tenedores, cucharas, tapas, etc.), ya que podrán recalentarse.
- Es obligatorio instalar un panel separator (no incluido en el suministro) bajo del aparato.
-
Si la superficie esta agrietada, apague el aparato para evitar una possible descarga electrica (solamente para electrodomesticos con superficie de cristal).
-
El aparato no está destinado a ponserse en funciona por medio de un temporizador externo o de un sistema de mando a distancia por Separado.
- Sidea en la placacomida con grasa o aceite,puede ser peligroso y pueda provocar un incendio.NUNCA intente apagar un fuego con agua.Apague el aparato y bajo cubra la llama,por ejemplo con una tapa o una manta ignificantura.
Peligro de incendio: no almacene cosas en las superficies de cocción. - No实用性 limpiadores a vapor.
- No se debe colocar en la superficie de la placetaos metálicos como cuchillos, tenedores, cucchas y tapas, ya que pueda calentarse.
- Después de usarla, apague la plac con el mando y no se base en el detector de sartenes (solamente para placas de induccion).
CONSEJOS PARA PROTEGER EL MEDIO AMBIENTE

Eliminación del embalaje
El material de embalaje es 100% recicable y está marcado con el símbolo de reciclado (C). Elimine losDistinctostipsde material del embalaje conforma a la normativa local sobre eliminación de desechos.
Eliminación del producto
La correcta eliminación de este producto evita consecuencias negativas para el medio ambiente y la salute.
El symbolo en el aparato o en la documentacion que lo acomaña indica que no se pueda tratar como desecho domestico, sino que debe entregarse en un punto de recogida para el reciclado de aparatos electricos y electronicos.
Ahorro de energia
Para Obtener losolestresultados:
- Utilice ollas y sartenes cuiq diametro de fondo sea igual al de la zona de coccion.
- Utilice exclusivamente ollas y sartenes con fondo plano.
Si es posible, mantenga la olla tapada durante la cocción.
Las ollas a presión permiten ahorrar tiempo y energia.
Coloque la olla en el centro de la zona de cocción SIGNALada en la placà.
DECLARACION DE CONFORMIDAD (€
ANTES DEL USO

IMPORTANTE: si las ollas no son de la dimensa adecuada, las zonas de coccion no se encenderan. Utilice solo ollas que tengan el symbolo de "SISTEMA POR INDUCCION" (figura al bajo). Antes de encender la placac de coccion, colque la olla sobre la zona de coccion deseada. Con las ollas adecuadas, las zonas de coccion no peuvent utilizese a temperatas inferiores a 10^
Para comprar si el recipiente es compatible con la plac de cocción por inducción, utilise un imán: los recipientes que no son compatibles no son detectables magnéticamente.
- Asegürese de que el fondo de las ollas no sea rugoso ya que podra darar la superficie de cocción. Compruebe la vajilla.
No apoye las ollas ni las sartenes calientes sobre la superficie del panel de mandos de la plac. Podrian causar daños materiales.
DIÁMETROS RECOMENDADOS PARA EL FONDO DE LA OLLA
Coloque la olla en la zona de cocccion correcta antes de encender la plac.
Para Obtenerelinesosresultados en la coccion, el diametro de la base del recipienteutilizadodeberia ser igual al de la plac.
| Diámetro (cm) | Máx. (cm) | Mín. (cm) |
| 14,5 | 14,5 | 10 |
| 18 | 18 | 12 |
| 21 | 21 | 15 |
| 24 | 24 | 15 |
| 26 | 26 | 17 |
| Diámetro (cm) | Máx. (cm) | Mín. (cm) |
| 28 | 28 | 17 |
| 30 | 30 | 17 |
| FLEXI/CONEXIÑ | 39 - 18 | 12 |
Tamaño del recipiente
Para determinar el時間 del recipiente, mida la base del recipiente (ver dibujo) y consulte la?sique tabla de anchura recomendada para la base de los recipientes. De este modo,促成a un uso perfecto y podra detectar cui es el recipiente mas adecuado. Cada zona de coccioniene un limite minimo para detectar los recipientes, que varia en funcion del material del recipiente utilizado. Por ello,deferria utilizear la zona de coccion que mayor se ajuste al diametro del recipiente utilizado.

POSICION RECOMENDADA DE LA OLLA
Para Obtener el máximo rendimiento, si utilizes dos ollas a la vez, colocuelas según se indica en las siguientes imagenes:




TABLA DE POTENCIAS
| Nivel de potencia | Tipo de coccción | Nivel (la indicación complementa la experiencia y los hábitos de coccción) | |
| Máx. potencia | Boost | Calentar rápidamente | Ideal para&aumentar en breve tiempo la temperatura de la comida, hervir agua o calentar rápidamente líquidos de coccción |
| 9-7 | Freír - hervir | Ideal para dorar, comenzar una coccción, freírPRODUCTOS congelados, hervir rápidamente | |
| Alta potencia | Dorar - sofreir - hervir - asar | Ideal para sofreir,mantener vivo el hervor, cocinar y asar (5-10 minutos) | |
| 7-5 | Dorar - cocinar - estofar - sofreir - asar | Ideal para sofreir,mantener un hervor ligero, cocinar y asar (10-20 minutos), precalentar accesos | |
| Mediana potencia | Cocinar - estofar - sofreir - asar | Ideal para estofar,mantener un hervor delicado, cocinar y asar (durante是多么 tiempo) | |
| 4-3 | Cocinar -deerhervir - espasar - mantecar pasta | Ideal para cocciones prolongadas (arroz, salsas, carne, pescado) con líquidos deacompañamente (ej. agua, vino, caldo, leche) y para mantecar pasta | |
| Ideal para cocciones prolongadas (volúmenes inferiores a un litro: arroz, salsas, carne, pescado) con líquidos deacompañamente (ej. agua, vino, caldo, leche) | |||
| Baja potencia | 2-1 | Derretir - descongelar -mantener caliente - mantecar arroz | Ideal para ablandar mantequilla, derretir chocolate delicadamente, descongelar productos pequeños ymantener calientes comidas recién cocidas (ej. salsas, sopas, potajes) |
| Ideal paramantener calientes alimentos recién cocidos, mantecar arroz ymantener fuentes de comida calientes (con accesario para la inducción) | |||
| OFF | Potencia cero | Superficie de apoyo | Placa de coccción en posición de stand-by o apagada (possible presencia de calor residual de fin de coccción, señalizarado con H) |
NOTA:
En caso de preparaciones breves que requiren en una distribuccion perfecta del calor (por ejemplo, para las crepes) en la zona doble de 28~cm de diametro, se recomienda utilizear recipientes de no mas de 24~cm de diametro. Para las cocaciones delicadas (por ejemplo, para derretir chocolate o mantequilla) se recomienda utilizear las zonas simples, de menor diametro.
INSTALACION
Desembalar el producto y comprar que no se haya dado durante el transporte. En caso de problemas, contactar con el revendedor o el Servicio de Asistencia al Cliente. Ver las medidas de empotrado y las instrucciones de instalacion en las imagenes de la page 2.
PREPARACION DEL MUEBLE PARA EL EMPOTRADO

ADVERTENCIA
Instalar un panel separator bajo de la plac de cocción.
La parte inferior del producto no debe estar accesible afterwards de la instalacion.
- En caso de instalar un hora abajo, no interponer el panel separator.


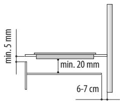
La distancia entre la cara inferior de la plac y el panel separador debe respetar las dimensiones indicadas en la figura.
- Para asegurar el funcionacorrecto del aparato, la abertura minima (min. 5 mm) necessitiesa entre la superficie de apoyo y el lado superior del plano del mueble noDee estobstruida.
- Si bajo de la placá de cocción se instalà un hora, hay que asegurarse de que este provisto de sistemas de enfiambre.
No instale la plac de coccion cerda del lavavajillas ni de la lavadora, para evitar la exposacion de los circuitos electricos a vapor o humedad que podriandarlos.
En caso de instalacion al ras, llamar al serviceo de asistencia para pedir el montaje del kit de tornillos 4801 211 00112.
Para desmontar la placaplicar un destornillador (no suministrado) a los muelles del perimetro de la parte inferior del aparato.
CONEXION ELECTRICA

ADVERTENCIA
- Desconnecte el aparato de la red electrica.
-
La instalación la debe realizar personalrial significado que conozca la normativa vigente sobre seguidad e instalacion.
-
El fabricante declina toda responsabilitad por daños a personas o animales o daños a la propidad derivados del incumplimiento de las precauciones indicadas en este documento.
- El cable de alimentacion debe ser suficientemente长大o para permitir desmontar la placa de la encimera.
Compruebe que el voltaje especificado en la placac de datos situada en la parte inferior del electrodomestico es el本身就是 que para la vivienda.


- Retire la tapa del bloque de conexiones (A) desenroscando el tornillo e introduciendo la tapa en la bisagra (B) del bloque.
- Introduzca el cable de alimentacion en la abrazadera y conecte los cables al bloque de conexiones tal como se muestra en el diagrama de cableado situado unto al terminal.
- Sujete el cable de alimentacion con la pinza para cables.
- Cierre la tapa (C) y atornillela al bloque de conexiones con el tornillo que se ha retirado anteriormente.
Cada vez que se conecta a la red, la placariza automatically una comprobacion duranteunos poco seguidos.


B

C

Conexión a alimentación principal




INSTRUCCIONES DE USO

Descripción del panel de mandos

Panel de mandos
Encendido/apagado de la plaza de cocción
Para encender la plac de cocci, mantener pulsada 2 segundos la tecla ① hasta que se iluminen las pantallas de las zonas de cocci. Para apagarla, volver a presionar la tecla hasta que las pantallas se apaguen. Se desactivan todas las zonas de cocci.
Si la plac de cocción se ha utilisé, el indicator de calor residual "H" permanecerá encendido hasta que las zonas de cocción se enfién.
Si a los 10 seguidos de encender la plaza de coccción no se ha selectionado una función, la placà se apaga automatistically.
Activación y regulación de las zonas de coccción


Funcioncimiento Slider
Aumentar el nivel de potencia

Reducir el nivei de potencia

Coloque laolla en la zona de coccyon, encienda la plac y active la zona de coccyon correcta pulsando el botón "+" correspondiente. Aparecerá "0" en la pantalla. Es possible selectionar el nivel de potencia necesario, desde un min.de 0 a un max.de 9,o reforzar la potencia con la referencia "P" si esta está disponible. Para augmentar el nivel de potencia, pulse el botón "+". Para reducir el nivel de potencia, pulse el botón "-".
Desactivación de las zonas de coccción
Para apagar la zona de cocción, pulse los botones correspondientes " ^+ " y" -" durante más de 3 seguidos.
La zona de coccción se apagará y, si continua estando caliente, aparecerá la leira "H" en la pantalla de la zona.
Bloqueo del panel de mandos
Esta func tion bloquea los mandos para prevenir la activacion accidental de la plac a coccion. Para activar el bloqueo del panel de control, encienda la plac y pulse el boton de la function de bloqueo durante tres segundos; una seminal acustica y un indicator luminoso cerca del symbol del candido indican la activacion. Se bloquean todas las functions del panel de mandos, excepto la de apagado. Para desactivar el panel de mandos, repetir la secuencia de activacion. El punto luminoso se apagar y las functions de la plac volveran a activarse.
El agua, los liquidos desbordados de las ollas o los objetos depositados sobre la tecla bajo del symbolo能把 activar o desactivar accidentlmente el bloqueo del panel de mandos.
Temporizador (Timer)
El temporizador permite programar un tiempo de cocación máximo de 99 minuto (1 hora y 39 minuto) asociable a todas las zonas de coccción.
- + Selección la zona de cocación que se va a utiliser con el temporizador y pulselo (vease la imagen). Sonará una seals acústica. La pantalla indica "00" y el LED se enciende. Es possibleacular y reducir el valor Timer manteniendo pulsadas las teclas "+" y "-" de la función slider. Al Cumplirse el tiempo programado, suena una seals acústica y la zona de cocación se apaga automatistically. Para desactivar el temporizador, pulsar la tecla Timer al menos 3 segundos.
Para programar el temporizador en另一边 zona, repetir los+puntos anteriores. La pantalla del temporizador siempre muestra el temporizador asociado a la zona seleccionada o el temporizador más breve.
Para modifier o desactivar el temporizador, pulsar la tecla de seleccion de la zona de coccioj del temporizador en cuestion.
Avisos del panel de mandos
Funciones especialas (Si procede)
Algunos modelos estan dotados de functions especialas:
Automatic function
Esta func tion selec tion aymaticamente un nivel de potencia adecuado para mantener la ebullici minima.Activar esta func tion una vez alcanzado el hervor, pulsando primero la tecla de la zona y bajo la tecla
Indicador de calor residual.
La plac aee u indcator de calor residual para cada zona de cocion. Este indicatior muestra las zonas de cocacion que todavia estan excessivamente calientes. Si en la pantalla se visualiza, quere decir que la zona de cocacion todavia esca caliente Si el indicatior de una zona esta encendido, esta se podra utilizear para mantener caliente un alimento o derretir mantequilla.
Al enfiarse la zona de cocción, la pantalla se apaga.
Indicador de olla inadequada o ausente.

Si la olla no es compatible con la plac, si está mal colocada o si no es de las dimensiones adecuadas, aparece la indicación de "olla ausente" (figura alazo). En estas situaciones, se recomienda recolocar la olla en la superficie de la plac hasta encontrar la posicion que permita el funcionaimiento. Si en 60segundos no se detecta ninguna olla, la plac se apaga.
Función de ebullición
Funci disponble so in alunas zonas de cccion que permite aprovechar al maximo la potencia de la plac (por ejemplo, para hacer hervir el agua rapidamente).
Para activar la función, pulsar la tecla "+" hasta que la pantalla indique "P". A los 5关键时刻 de uso de la funciona booster, el aparato pone la zona automatically en el nivel 9.
FLEXI/ZONA DE CONEXION
Estamerican.
Para activar el FELEXI /ZONA DE CONEXION, pulse los botones +y - de forma simultanea, tal como se muestra en el paciente dibuju.

"Power management" (si está disponible)
Gracias a la configuración "Power management" el usuario tiene la posibidencia deaabstaringpotenciamaximadeplacsegunsnecidas.
Esta regulación se pueda efectuar en cualquier momento y se mantiene hasta la modificación suiviente.
Unas zajustada la potencia maxima deseada, la placar regulara automatcamente la distribuccion en las distinas zonas de coccion sin superar el umbral establecido, con la ventaja de poder gestionar incluso todas las zonas simultaneamente, sin problemas de sobrecarga.
Están disponible 4 niveles de potencia que se muestran en la pantalla: 2,5 - 4,0 - 6,0 - 7,2kW (7,2 kW se considera la maxima potencia de la placá de coccción) La planta se suministra ajustada en el valor más alto.
Despues de enchufar el aparato a la toma eletrica, durante los primeros 60 segundos es possible ajustar el nivel de potencia requireedoro siguiendo las instruetiones
siguientes:
Paso Panel de mandos Pantalla 1 + Pulse duranteapproximadamente 3segundos 2 La pantalla muestra 3 / + Pulse paraaabstaringel nivelflegido entre lasdifferentesopciones disponibles La luz se enciende junto con laslucres de laszonas de cocción individuales que estanencendidas. 4 + Pulse el botón de gestiónde potencia para confirmarel paso anterior La pantalla muestra el nivelaabstado,queparpadea duranteapproximadamente2segundos. Transcurrido este tiempo,la placemite una seals acústica y se apagautomàtically,indicando que está listapara su uso.
En caso de error alJKLM, aparece el已久的 en el centro, asociado a una seals acústica continua que dura 5 segundos. En tal caso, repetir el procedimiento de configuración desdeel comienzo.Si vuela a presentarse el error,contactar con el service de asistencia.
Durante el uso normal, una vez alcanzado el nivel de potencia maximalo disponible, si el usuario tratate de augmentarlo, el nivel de la zona en uso parpadea dos veces y suena una seals acustica.
Si es necesaria una potencia superior en esta zona, se debe reducirmanualmente el nivel de potencia de una o más zonas de cocción ya activas.
Activación/desactivación de la seals acústica (no disponible en la version con deslizarder)
Despues de encender la plac, mantenga pulsado el boton ^ + ^ y el boton situado mas a la derecha simultaneamente durante al menos tres segundos ("bloqueo del panel de mandos").

Noutilizarunca limpiadorasdevapor.
- Antes de limpiar la plac, asegurar de que las zonas de cocci y el indicator de calor residual ("H") estén apagados.
Si el cristal tiene el logotipo iXeliumTM significa que su plac a hado tratada con iXeliumTM . iXeliumTM es el acabado exclusivo de Whirlpool que garantiza una limpieza perfecta y un brillo duradero. Por tanto, si Tiene una plac IXLIM, le recomendamos encarecidamente que cumpla las siguientes recomendaciones de limpieza:
- Utilice un trapo suave (lo mejor es la microfibia) humedecido con agua o con un limpiacristalescomings.
- Si desea melhorar el的结果ado de la limpieza,cke el cristal en contacto con un paño humedo durante un par de instantos.
IMPORTANTE: No utilise abrasivos, esponjas ni estropajos. Su uso podrá estropear el cristal.
- Después de cada uso, limpie la plac (cuando esté fria) para eliminar los restos incrustados y las manchas de comida.
El azucar o los alimentos con un alto contenido de azúcar podrán dar a la plac, por lo que deben retirarse inmediamente.
La sal, el azucar y la arena podrian rayar la superficie de cristal.
- Utilice un paño suave, papel absorbente de cucina o un limpiador especialico para placas (según las indicaciones del fabricante).
El derramimiento de liquido en la zona de cocción puede hacer que las sartenes vibren o se muevan.
Seque Completely la placas despues de limpiarla.
GUIA PARA LA SOLUCION DE PROBLEMAS
Leer y seguir las instruetiones de la seccion "Instruetiones de uso".
- Comprobar que no haya interruptions de suministro de corriente electrica.
- Secar bien la superficie de la placatauponéslimpiarla.
- Si al encender la placen a la planta se visualiza un numero alfanumérico, seguir las instruetiones de la tabla.
- Después de utiliser la placac de cocación, si no es posible pagarla, desconectarla de la red electrica.
CÓDIGO DE ERROR DESCRIPICón CAUSAS POSIBLES ELIMINACION DEL ERROR C81, C82 El panel de mandos se apaga porque la temperatura es excessiva. La temperatura interior de los circuitos electrónicos es excessiva. Espere a que la placía se enfríe antes de volver a utilisera. C83 El panel de mandos indica el número de error "hob off" (placa apagada) debido a un problema en el circuito electrónico. La placía ha recibido un excesso de voltaje. La placía se pueda seguir realizando, pero llame al Servicio de Asistencia Técnica. C85 La placía no suministra calor al recipientente. El recipientente no es adecuado para la placía de inducción. Utilice(other recipientente adecuado para inducción. F02 o F04 o C84 El voltaje de conexión es incorrecto o problema relativo a la red electrónica. El sensor detecta un voltaje incompatible con el de conexión. Desconecte la placía de la red de suministro electrico y controle la红线 conexión. F01, F05, F06, F07, F10, F12, F25, F33, F34, F36, F37, F46, F47, F48, F49, F58, F61, F62, F63, F72, F74, F77 Desconnecte la placía de la red electrónica.Espereanosometimesy一回事a conectarla.Si el problema continúa, llame al Servicio de Asistencia Técnica e indique el número de error.
RUIDO GENERADO POR LA PLACA DE COCCION
Las placas de induccion poden produir una series de ruidos y vibraciones durante su normal functiacion, en funcion del tipo de material y de como se procesan los alimentos, como los que se describen a continuacion:
Ruido de contacto: este tipo de vibracion se debe al uso de recipientes revestidos de distinctos materiales.
- Sonido de hacer a nivele de potencia medio/bajo: este ruido se produce para encontrar el nivel de potencia medio/bajorequiredo.
- Sonido tipo clic rítimo: este ruido se produce cuando se ponen en funciona bajo varias zonas de coccción y/o la placña para un alto rendimiento.
Ruido de silbido: este ruido depende del tipo de recipiente utilisé y la calidad de comida que contiene.
Ruido de fondo: la placac de inducion esta equipada con un ventilador destinado a enfiar los componentes electronicos; esta es la razon por la que se oye el ruido del ventilador durante el functionamento y también durante uno minuto after des ques del apagado de la plac. El ruido de fond del ventilador puee augmentar o disminuir conforme aume o disminuya el numero de zonas de coccion activadas.
Estas situaciones son normales e imprescindibles para el correcto functiOnamento del systema de induccion; no indican daños ni anomalias.
Antes de Ilamar al Servicio de Asistencia Técnica
1. Intentar resolver el problema consultando el apartado "Guía para la solución de problemas".
2. Apagar y volver a encender el aparato para comprobar si se haSolutionado el problema.
Si el fallo persiste, contactar con el Servicio de Asistencia más cercano.
Indicar:
- una breve descripción del problema;
el tipo de placay elmodelo exactos;
el número de asistencia (que sigue a la palabra Service en la plaza de identificacion), situado bajo del aparato (en la plaza metálica).
su direccion completa;
- su numero de téléphone.
SERVICE

Si fuera necessaria una reparacion, dirigirse a un Centro de Asistencia Tectnica autorizzato (que garantiza la Utilizacion de piezas de recambio originales y una correcta reparacion). Las piezas de recambio estan disponibles por 10 años.
INSTRUÇÉS DE SEGURANÇA IMPORTANTES
Estas instruções está也是非常(disponível) no website: www.hotpoint.eu
A SUA SEGURANÇA E A DE TERCEIROs É Muito IMPORTANTE
Este manuale e o proprioio aparelho possuem mensagens importantes relativas à segurar, que deve ler e respeitar sempre.

Este é o símbolo de perigo, relativo à segurar, que alerta para potecções ricos para o operador ou para terreiros.
Todas as mensagens relativas à segurarça são precedidas do símbolo de perigo e dos termos seguintes:

PERIGO
Indica uma situacao perigosa que, se nao for evitada, provoca lesoes graves.

AVISO
Indica uma situacao perigosa que, se não for evitada, pode provocar lesões graves.
Todas as mensagens relativas à segurarça especialcim o potencial perigo a que se referem e indicam a forma de reduzir o risco de lesões, danos e choques electrolycicos provenrientes de uma utilização Incorrecta do aparelho. Tenha em atençao as instruções segunte:
- Utilize luvas de proteção para realizar todas as operações de desembalagem e instalação.
- Deve desligar o aparelho da rede eletrica antes de efectuar qualquer intervencao de instalacao.
- A instalação e a manutenção devem ser efectuadas por um专业技术 especializzato, deordo com as instruções do fabricante e respeitando as normas locais em vigor em materia de segurança. Não reparou nem substitua nenhuma coisa do aparecido a não ser que especificamente indicado no manual de utilização.
A ligação do aparecido à terra é obligatória.
- O cabo de alimentação deverá ter um comprimento suficiente para permitir a ligação do aparheiro, encastrado no móvil, à rede elétrica.
- Para que a instalação está em conformidade com as normas de segurarça actuais,deer éutilizar um disjuntor multipolar com uma distência minima entre os contactos de 3mm
- Não utilize tomasas multiplas nem extensoes.
- Não puxe o cabo de alimentação do aparecido.
- Após a instalação do aparelho, os componentes electricos devem estar inaccessíveis ao utiliser.
- O aparecido destiná-se apenas a uso dométrico para a cozedura de alimentos. Estão proibidos outros temas de utilizesação (por ex.: aquecer divisões). O fabricante declina toda e qualquer responsabilité por uma utilização inadequada ou por uma regulação errada dos comandos.
- O aparelho e os componentes acessíveis ficam quentes durante o funciona. Seja cuidadoso e evite tocar nos elementos de aquecimento. Bébés e crijanças entre os 0 e os 8 anos de idade, devem ser mantidos afastados excepto se forem constantemente vigiados.
- Este aparecido pode ser realizado por crianças a partir dos 8 anos e por pessoas com capacidades físicas, sensoriais ou mentalais reduzidas ou com falta de experiencia e conheçimento, se tiverem supervisão ou instruções relativamente ao uso deste aparecido de uma forma segura e se comprehenderem os perigos envolvidos.
- Durante e après a utilizesação, não toque nas resistências do aparecido. Evite o contacto com panos ou outros materiais inflamáveis até que todos os componentes do aparecido arrefecam suficientemente.
- Não coloque materiais inflamáveis no aparecido ou perto dele.
- As gorduras e oleos aquecidos incendeiam-se fácilmente. Vigie a cozedura dos alimentos ricos em gordura e oleo.
- Não coloque na zona de cozedura objectos metalicos, como utensílos de cozinha (facas, garfos, colheres, tampas, etc.),.POIS PODER FICAR quentes.
- É obligatório a instalação de um painei de separação, não fornecido com o equipamento, no compartmento por boa do aparelho.
- Se a superficie partir, deslue o aparelho para evitar a correncia de eventuais choques elcctricos (apenas para aparelhos com superficie em vidro).
- O aparecido não de ser activado atraves de um temporizador externo ou de umsystema de commando à distênciaeparado.
- A cozedura com gordura ou oleo numa plac sem vigilência é perigosa e pode resultar em incânvio. NUNCA tente apagar um incânvio com água; deslque o aparecido e tape a chama com uma tampa ou um cobertor anti-fogo. Perigo de incânvio: não guarde objectos nas superfícies de cozedura.
- Não utilizeiros de limpeza a vapor.
- Não coloque objectos metalicos tais como facas, garfos, colheres e tampas sobre a superficie da placá quando possa fazer quentes.
- Após a utilizesçao, deslue o elemento de aquecimento da placar no respectivo commando e nao confie no detector de panelas (apenas para aparelhos de inducao).
CONSELHOS PARA A PROTEÇÃO DO AMBIENTE

Eliminação da embalagem
0 material da embalagem é 100% reciclavel, conforme confirmado pelo síncolo de reciclagem (C). Os diversos materiais da embalagem não devem ser abandonados no meio ambiente, mas sim eliminados em conformidade com as normas estabelecidas pelas autoridades locais.
Eliminação do produits
O*síbolo no produits, ou na documentoação que accompanies o produit, indica que este produits não deve ser tratado como residuo dométrico, devendo ser entrega num centro de recolha que proceeda à reciclagem de equipamentos electricos e electrónicos.
Poupanca de energia
Para obter melhores resultados, recomendamos que:
Use panelas e frigideiras com um diametro de base igual ao da zona de cozedura.
Utilize apenas panelas e frigideiras comundo plano.
Se possivel, mantenha as panelas tapadas durante a cozedura.
Autilização da panela de pressão reduz significativamente o consumo de energia e o tempo de cozedura.
- Coloque a panela no centro da zona de cozedura desenhada na plac.
DECLARATION DE CONFORMIDADE (€
ANTES DA UTILIZACHO

IMPORTANTE: se as panelas não tiverem as dimensionales correctas, as zones de cozedura não se acendem. Utilize apenas panelas que possuem o*símbolo de "SISTEMA DE INDUÇÃO" (Figura ao lado). Antes de ligar a plac, colque a panela na zona de cozedura pretendeda.
Utilizando os tachos adequados, as zonas de cozedura não podem ser usadas a temperatas abaixo de 10^ .
RECIPIENTES PRE-EXISTentes

Utilize um iman para vericar se o fundo do recipient e aproprioado para a plac de inducao: o fundo dos recipientes nao apropriados se nao forem detectaveis magnetically.
- Certifique-se de que o fundo das panelas não está aspero, poised poderia riscar a superficie da plac. Verifique a loça.
- Não apoie os tachos e as frigideiras quentes na superficie do paine do commando da plac. Pode provocar danos.
DIAMETROS ACONSELHADOS DO FUNDO DAS PANELAS
Coloque a panela na zona de cozedura desejada antes de ligar a plac.
Para obter bons resultados de cozedura, o diametro da base da panela devera corresponder ao diametro da plac a do fogao.
Diàmetro (cm) Máx. (cm) Min. (cm) 14,5 14,5 10 18 18 12 21 21 15 24 24 15 26 26 17
Diâmetro (cm) Máx. (cm) Mín. (cm) 28 28 17 30 30 17 FLEXI/LIGAÇÂO 39 - 18 12
Dimensoes das panelas
Para determinar as dimensoes das panelas a utiliser, meça a base das/DDmas (ver imagem) e consulte aabela de diametro de panelas recomendada para umutilização ideal e detecção de panelas adequada. Cada zona de cozedura dispoe de um limite minimo de detecção de panelas, que varia consoante o material da panela realizada. Como tal, devera utilizing a zona de cozedura mais adequada ao diametro da panela que deseja utilizes.

POSICAO RECOMENDADA DA PANELA
Para obter o melhor desempenho, quando usar das panels em simulanteo, colque-as conforme as figuras abaixo:




LABELA DE POTÉNCIAS
Nível de potência Tipo de cozedura Utilização do nthel (a indicação junta a experiência e os hábitos de cozedura) Potência maior Boost Aquecer rapidamente Ideal para fazer rapidamente a temperatura dos alimentos até uma fervura rápida, no caso da água, ou aquecerapidamente os liquidos de cozedura 9-7 Fritar - ferver Ideal para tostar,,iniciar um cozedura, fritar produits congelados, ferver rapidamente. Potência alta Tostar - fritar lentamente - ferver - grelhar Ideal para fazer lentamente,manter fervuras vivas,cozer e grelhar (por um curto periodo de tempo, 5-10 minutos). 7-5 Tostar - cozer - estuar - fritar lentamente - grelhar Ideal para fazer lentamente,manter fervuras ligeiras,cozer e grelhar (por um periodo de tempo médio, 10-20 minutos), pré-aquecer. Potência média Cozer - estuar - fritar lentamente - grelhar Ideal para estuar,manter fervuras delicadas,cozer e grelhar (por um longo periodo de tempo). 4-3 Cozer - ferver lentamente - adensar - cozer massa com molho de manteiga Ideal para cozeduras prolongadas (arroz,molhos,assados,peixe) na presence de liquidos de accompanying (por ex.água,vinho, caldo,leite),cozer massa com molho de manteiga. Ideal para cozeduras prolongadas (volumes inferiores a 1 litro:arroz,molhos,assados,peixe) na presence de liquidos de accompanying (por ex.água,vinho, caldo,leite). Potência baixa 2-1 Derreter - descongelar - manter quente - cozer arroz com molho de manteiga. Ideal para amolecer a manteiga, derreter delicadamente o chocolate,descongelar produits de ICOPEUas dimensoes e manter quentes alimentos abacados de cozinhar (ex.: molhos,sopas). Ideal para manter quentes alimentos abacados de cozinhar,cozer arroz com molho de manteiga e manter a temperatura dos pratos de servir (com o acessório adequado à indução). OFF Potência zero Superfíce de apoio Placa na posicao de espera ou desligada (possível Presence de calor residual do final da cozedura, assinalada com H).
NOTA:
No caso de preparacoes rapiadas e que requirem uma perfeita distribuiacao do calor (por example, panquecas) na zona dupla de 28~cm de diametro (se presente), recomenda-se utilizear acesorios nao superiores a 24~cm de diametro. Para tips de cozedura delicadas (por example, derreter chocolate ou manteiga), recomenda-se utilizear as zonas unicas de diametro inferior.
INSTALAÇÃO
Depois de desembalar o produits, verifique se sofreu danos durante o transporte e, em caso de problemas, contacte o seu revendedor ou o Servico Pós-vesta.
Para as dimensoes do mover de embutir e instruções de instalacao, consulte as imagens na pagsa 2.
PREPARACAO DO MOVEL DE EMBUTIR

AVISO
- Instale um painei de separacao por baixo da placu de cozedura.
- A parte inferior do produit não deve fazer acessível antes a instalacao.
Para instalar umorno por baixo da plac, não coloque o paine del separacao.

A distência entre a parte inferior do aparelho e o painei de separação deve respeitar as dimensoes indicadas na figura.
Para um correto funcaoamento do produto, nao tape a abertura minima entre a bancada de travailho e o lado superior da placao do molev (min. 5 mm).
- Em caso de instalacao de um forno debaixo da plac, certifique-se de que ele está equipado com umsystema de arrefecimento.
Nao instalar a placar por cima do lava-louca ou da maquina de lavar, para que os circuitos electricos nao entream en contacto com vapor ou humidade, o que os pote danificar.
No caso de instalacao com fios,contactar o Servico Pós-vesta e solicitar a montagem do kit de parafusos 4801 211 00112.
Para remove a plac, utilize um chave de fendas (não fornecida) e mexas molas periféricas na parte inferior do produits.
LIGACAO ELETRICA

AVISO
- Desligue o aparelho da corrente elétrica.
- O aparecido deverá ser instalado por um técnicorialico, com conhecimiento das normas vigilentes em materia de instalação e segurar.
- O fabricante rejeita qualquer responsabilitadpe por eventuais danos a pessoas, animais ou bens materiais no caso de incumprimento das diretivas fornecidas nestc capitulo.
- 0 cabo de alimentacao deve ser suficientemente comprido para permitir que a placa possa ser retirada da bancada.
- Certifique-se de que a tensão eletrica indica na chapa de caracteristicas situada no fundo do aparelho, correponde à da habitação na qual vai ser instalado.


1. Retire a tampa do terminal (A) desapertando parafuso e insira a tampa na dobradiça (B) do terminal.
2. Prenda o cabo de alimentacao com a braCADEira e ligue os fios ao Bloco de terminal conforme se aparece no esquema eltro situado perto do terminal.
3. Fixe o cabo de alimentacao com a braçadeira.
4. Fecha a tampa (C) do terminal uso o parafuso queinha retirado anteriorsmente.
A placariverifica automaticamente durantealguns segundodcadagiao a redelettrica.


Ligação à fonte de alimentação




INSTRUÇÉS DE UTILIZACão
Descrição do painel de comandos
Painel de controlo

Ligar/desligar plac
Para ligar a plac, prima durante circa de 2 segundos a tecla ① até que os visores das zonas de cozedura se acendam. Para desligar, toque na mesma tecla até que os visores se apaquem Todas as zonas de cozedura são desactivadas.
Se a placá ja tiver sido'utilizada, o indicator de calor residual "H" permanece activo até que as zonas de cozedura arrefecam.
Se 10 segundos(before de liga apla, não for seleccionada nenhuma funcao, apla desactiva-se automaticamente.

Visor de indicatoria de potencia Indicacao da zona de cozedura selecionada

Posicionalto da zona de cozedura

Diminui o nível de potência

Coloque o recipiente na area de cozedura, ligue a plac, active a area de cozedura pretendida premindo o botao correspondente "+" , aparece "0" no visor. É possivel selecionar o nível de potência desejado desde o minimumo 0 até ao Tmaximo 9 ou booster "P", se disponivel. Para augmentar o nível de potência, pressione o botao "+" . Para diminuir o nível de potência, pressione o botao "-".
Desactivação das zones de cozedura
Para desligar a zona de cozedura, pressione o botão correspondente "+" e "-" durante mais de 3 segundos.
A zona de cozedura desliga-se e, caso ainda esteja quente, a letra "H" aparece na zona do visor.
Bloqueio do paine de comandos
A funcio bloqueia os comandos para evitar a activacao acidental da plac. Para ativar o bloqueio do painei de controlo, lige a plac e prima o botao correspondente a funcio Bloquear durante tres segundos; sera emitido um sinal sonoro, sendo a ativação confirmada por um indicator luminoso perto do sintolo do cadeado. O painei de comandos fica bloqueado, a excepcao da funcio de desactivacao. Para desactivar o bloqueio dos comandos, repita o procedimento de activacao. O punto luminoso apaga-se e a plac fora novamente activa.
A Presence de agua, liquido derramado das panelas ou objectos de qualquer espécie pousados sobre a tecla por baixo do símbolo poder provocar a activação ou desactivação involuntária da função de bloqueio do painel de comandos.
Temporalizador (Timer)
0 temporizador pote serutilado para programar o tempo de cozedura por um maximo de 99 minuto (1 hora e 39 minuto) para todas as zonas de cozedura. + SeLECTIONA a area de cozedura a ser realizada com o religio, prima o religio (ver figura) e um sinal sonoro assimala o funcaoamento. O visor exibe "00" e a indicação LED acende-se. Diminua e aumente o valor do temporizador com as teclas +" e -" e o controlo deslizante. Apo escorrido o tempo programado, é emitido um sinal sonoro e a zona de cozedura desliga-se automaticamente. Para desactivar o temporizador, prima a tecla Timer por 3 segundos.
Repita os pontos acima para programar o temporizador numa zona diferente. O visor do temporizador exibe sempre o temporizador da zona selecionada ou o temporizador mais breve.
Para modifier o desactivar o temporizador, prima o botão de seleção da zona de cozedura do temporizador em quistão.
Avisos do paine de comandos
Funções especialis (se disponível)
Alguns modelos possuem fonções especialis:
Funcao automatica H
A funcão programa automaticamente um nível de potência adequado para fazer a ferrura minima. Active esta funcão quando os alimentos estiverem a ferver, premindo a tecla correspondente à zona, seguido da tecla
Indicador de calor residual.
A plac e este iipada com um indicador de calor residual para cada zona de cozedura. Este indicador mostra quais sao as zonas de cozedura ainda com temperatura elevada.
Se aparecer no visor, a zona de cozedura ainda está quente. Se a zona aparecer esta指示ação, é possível, por exemplo, fazer alimentos quentes ou derreter manteiga
Quando a zona de cozedura fica fria, o visor apaga-se.
Indicator de tacho não adequado ou ausente.

Se a panela nao for compativel com a sua plac de inducao, estiver mal colocada ou nao tiver as dimensoes adequadas, a indicaao de "panela ausente" aparece no visor (figura ao lado). Nestas situações, recomenda-se o reposicionamento do tacho na superficie do fogao ate encontrar a posicao de funcaoamento. Se, no espoço de 60 segundos, nao for detectada nenhuma panela, a plac desiga-se.
Função fervura rápida (Amplificador, quando disponível)
Função existente apenas em各类 zones de cozedura que permit aproveitar ao máximo a potência da plac (por example, para ferver rapidamente a agua). Para activar a função, prima a tecla "+" até o visor exibir "P". Apos 5 minutos deutilização da função Booster, o aparecido programa automaticamente a zona para o niven 9.
FLEXI/ZONA DE LIGAÇÃO
Esta funcao éutilizada caso pretenda utilizear panelas de grandes dimensoes que a zona de cozedura unica nao pode acomodar, p.ex.,cozedura de peixe,grandes.
panelas para a cozedura de carne.
Para ativar a funca o de FLEXI/ZONA DE LIGA CAO, prima os botoes on ^+ e - em simultaneo, tal como ilustradoPGA imagem abaixo.

"Power management" (Função, quando disponível)
Gras à função "Power management", o utilizesporte programar a potência maxima que a placarode atingir, com base nas suas necessidades.
Esta regulação pode ser realizada em quando meço e mantida até a partir de 修改.
Programando a potência Tmaxa desejada, a placar regulara automaticamente a divisao nas varias zonas de cozedura, garantindo que este limiar nunca sera ultrapassado, com a vantage um poder gerir tambem todas as zonas simultaneamente, sem problemas de sobrecarga.
Estao disponiveis 4 niveis potencia maxima, conforme aparecido no visor: 2,5 - 4,0 - 6,0 - 7,2kW (7,2 kW é considerada a potencia maxima da placal) No momento da compra, a placa está programada na potencia maxima.
Após ligar a placà à tomada elétrica, nos primeiros 60 segundés é posível definir a potência pretendida executando os seguentes passos:
Passo Painel de controlo Visor 1 + Prima duranteperia de 3 segundos 2 Prima o botão Gestão de Potência para confirmar o passo anterior 3 - / + Prima para definir o;nível selecionado entre as differentes opções disponíveis 4 Prima o botão Gestão de Potência para confirmar o passo anterior
Caso ocorrna um erro durante a programacao da potencia, surge o sinafo ao centro, associado a um sinal sonoro continuo por 5 segundos. Neste caso, repetir o procedimento de programacao do inico. Casa o erro se repita, contacte o service pós-vesta.
Durante autilização normal, quando o nível de potência Tmaximo disponible for atingido, caso o'utilizar tente augmente-lo, o nível da zona emutilação piscá das vezes e emite um sinal sonoro.
Cas noessite de um potencia supcrior nessa zona, devera diminuir manualmente o nvel de potencia de um ou mais zonas de cozedura ja actvas.
Activação/desactivação do sinal acústico (não disponível na versão com barra deslizante)
Após ligar a plac, prima e mantenha simultaneamente a tecla "+" e a tecla periférica à direira durante pelo menosTRS segundos ("bloqueio do pail de controlo").

- Nunca utilize máquinas de limpeza a vapor.
- Antes de proceder às operações de limpeza, certificque-se de que as zones de cozedura está desligadas e que a indentação de calor residual ("H") desapareceu.
Cas o vidro do seu aparelho contentha o significo iXeliumTM, significa que a sua placu está equipada com um revestamento iXeliumTM. O revestamento iXeliumTM é o acabamento exclusivo da Whirlpool que garante uma limpeza perfeita, bem como um brilho de longa duraçao. Como tal, se o seu aparelho possuir apla
IXELIUM, é aconsehlável que siga as seguintes recomendações de limpeza:
Utilize um pano macio (ideal é microfibras) humedecido com agua ou liquido de limpeza normal para vidros.
Se desejar otimizar os resultados de limpeza, deixe o vidro em contacto com um pano molhado durante algunos minutos.
IMPORTANTE: Não utilize esponjas abrasivas nem esfregões de palha de aço. A sua utilização pode eventualmente danificar o vidro.
- Após cada'utilisation, limpe a plac (após refecer) para remove quaisquer depositos e manchas originadas por residuos de alimentos.
- Açúcar ou alimentos com elevado conteúdo de açúcar, danificam a placá e devem ser removidos de imediato.
Sal, acuca r areia riscam a superficie de vidro.
Use um pano macio, papel de cozinha absorvente ou um produits de limpeza especico para placas (siga as instruções do fabricante).
Os derrames de liquidos nas zonas de cozedura poder causar a vibração ou o movimento das panelas ou dos tachos.
Seque a placacompletamenteantesdealimpar.
GUIA PARA RESOLUÇÃO DE AVARIAS
Leia e siga as instruções da�� "Instruções de utilizesçao".
- Certifique-se de que não existem interruptções no fornecimento de corrente électrique.
Seque bem a superficie da placca(before de a limpar.
Se, ao ligar a plac, o visor做不到igos alfanumericos, proceda de accordo com a segunte tabela.
Se não consuerig desligar a placà antes de a utiliser,DSLige-a da rede eletrica.
Código DE ERRO DESCRIÇÃO POSSível CAUSAS ELIMINAÇÃO DO ERRO C81, C82 A zona de comandos desliga-se devido a temperatas demasiado elevadas. A temperatura interna das peças electrónicas é demasiado elevada. Aguarde até que a placar arrêçava antes de utilizes de novo. C83 O pailen de controlo indica o)código de erro "placa desligada" devido a um problema no circuito electrónico. A placar esteve sujeita a sobretensão. A placar podeContinuar a ser usada, mascontacte o service pós-vendas. C85 A placar não consugue transmitir a potência para o recipientente O recipientente não é indicado para a placar de indução Utilize other recipientente de indução F02 ou F04 ou C84 A tensão de ligação não é correto ou problema na corrente elétrica. O sensor detecta uma discrepança entre a tensão da placar e a tensão electrónica. Desígue a placar da rede eletrica e veríque a ligação. F01, F05, F06, F07, F10, F12, F25, F33, F34, F36, F37, F46, F47, F48, F49, F58, F61, F62, F63, F72, F74, F77 Desígue a placar da corrente elétrica.Aguarde elesgados e ligue-a novamente.Se o problema continua, contacte o service pós-vendas e comunique o)código de erro.
RUIDO GERADO PELA PLACA
As placas de inducao podem gerar various ruidos e vibrações durante a operacao normal, dependendo do tipo de material e do processamento da comida, tal como descripto abaixo:
- Ruido de contacto: este tipo de vibração deve-se à utilização de recipientes feitos de diversos materiais sobrepostos.
- Sons tipo clique a potência media-baixa: este ruído é produzido para atingir a potência media-baixa requerida.
- Sons tipo um clique rítmico: este ruido é produzido quando está a funcional diveras和地区 de cozedura e/ou em elevado desempenho.
Silvo ligeiro: este ruido delve-se ao tipo de contentorutilizando e a quantidade de alimentos que contém.
- Ruido de fundo: o fogão de indução vem equipado com uma ventoinha que se destina a refeccer os componentesétricos sentido por isto que, durante a operação e也是非常few段时间aposterdesigadoapla,poraderouviruroidaoventoinha.Aumentar/diminuirasáreasdecozeduraactivaspode augmentar ou diminuiro u ruido de fundo da ventoinha.
Estasaocondoesnormaiserecssenciaiparofonacionadequado dosystemadeinduao,paraquehajaindicaofofalhasoudanos.
SERVICO Pós-VENDA
Antes de contactar o Servico Pós-Venda
1. Tente SOLUTIONAR o problema consultando o "Gui de resolvedo de problemas".
2. Desligue e volta a ligar a placar para verificar se o problema foi resolvido.
Se après efectuar as verificacoes, o problema persistir, contacte o Servico Pós-Venda mais proxies.
Comunique:
- uma breve descrição do problema;
o tipo e o modelo exacto da plac;
o número de service (número après aPALAVRA Service na chapa de caracteristicas) situado por baixo do aparelho (na placma metálica).
o seu endereço completeness;
o seu numero de téléphone.
SERVICE 0000 000 00000

Se for necessario efectuar alguma reparacao, contacte um Servico Pós-Venda autorizzato (tera a garantia da utilisação de peças sobreselentes originais e de uma reparacao correcta). As peças de substituicao está disponible por 10 anos.
WAZNE INSTRUKCJE BEZPIECZENSTWA
Te instrukcje są również dostepne na stronie: www.hotpoint.eu
PAÑSTWA BEZPIECZENSTWO ORAZ BEZPIECZENSTWO OSÓB TRZECICH JEST BARDZO WAŽNE
Niniejsza instrukcja zawiera wąne informacja dotycznéstwa, z krómyngezy są zapoznać i króych naleź sciéle przystrzegać.

Ten symbol informuje o potencjalnym zagrozeniu dla bezpieczeste sta uzytkownika i osob trzechich.
Wszystkie wiadomosci dotyczne bezpieczestewa besteht poprzedzone tym symbolem oraz nastepujacymi oznaczeniami:

NIEBEZPIECZENSTWO
Oznacza niebezpieczną sytuacje, której ewentualne zaistnioie prowadzi dogowaznych obrażen.

OSTRZEŽENIE
Oznacza niebezpieczną sytuacje, któraj ewentualne zaistnienie mogłowby prowadzić do powaznych obrażen.
Wszystkie komunikaty dotyczne bezpieczeste sta okreslajrrodzaj potencjalnego ryzyka oraz informuja, w jaki sposob zmniejszc ryzyko urazow, szkód oraz porazenia pradem wskutek nieprawidowej obstugi urzadzenia. Nalezy scisce przestrzegać nastepujacych instrukci:
Podczas rozkówania i instalacji naleź uzywać rękawic ochronych.
- Przed przystapieniem do jakichkolwiek czynnosci instalacyjnych urzadzenia sąȩzy odźczyć od zasilania elektrycznégo.
- Instalacja lub konserwacja powinna zostć przyperowadzona przyez technika SPECIALISTZgodnie z instrukcjam producenta oraz obłowiazujacymi lokalnie przyepisami dotyczymi bezpiecznych. Nie naprawiać iNie wymieniść zadnej czemu urzadzenia, sąsi nie jest to konkretnieazolecne w instrukcji obstugi.
- Urzadzenie musi byc uziemione.
- Przewód zasilajczy powinienmieć wystarczajca dlugość,aby uzmiołowic podłaczenia jabudowanego urzadzenia do sieci elektrycznej.
- Aby instalacja była zgodna z obłowȩzujacymi przypepisami bezpiecznych, sąȩzy zamontowej wyłącznik wielobiegunowy ominimalnym odstepie stykol wynoszcym 3 mm.
- Nie wolno stosowacrozgaetziaczy ani przedtuazacy.
- Nie ciagrć kabla zasilajćego urzadzenia.
- Po zakończeniu instalacji uzytkownik nie powinienmieć dostępu do komponentów elektrycznych urzadzenia.
- Urzadzenia jest przyznaczone wyłączne do uzytku domowego do przygotowywnia zwywnosci. Nie dopuszczaa sieźadnych innych zastosowan (np. do ogrzewania pomieszczeni). Producent ne ponsi zadnej odpowiedzialnosci zauszkodzenia i straty spowodOWane niewaSciWym uzyciem lub nieprawidlowa konfiguracja ustawien.
- Urzadzenia oraz了我的ostepne elementy nagrzewaj sie podczas pracy do wysokiej temperatury. Nalezy zachowac ostroznosci i nie dotykać elementów grzejnych. Niemowleta (w wieku 0-3 lat) i mate daneci (w wieku 3-8 lat)Nie powinny zbliacz sie do urzadzenia bez nadzoru osob doroszych.
- Dzieci w wieku 8 lat i starsze, osoby o ograniczonej sprawnosci fizcznej, sensorycznej lub umysłowej oraz osoby bez odpowiednia doświadczenia i wiedzy mogą korzystać z urzędzenia wyłącznie pod nadzorem lub przy odpowiednic instrukcjach dotycznych bezpiecznych uzytkowania urzędzenia i pod warunkiem, ze Rozumieja zagrożenia zwiȩzane z obstęga urzędzenia.
Podczas pracy urzadzenia i po jej zakończeniu nie wolno dotykać grzaȩk. Nie dopuszczć do kontaktu ze sciereczkami lub innym Łatwopalnym materiażem, dopóki wszystkie componenty urzadzenia nie wystygły wystarczȩ公司章程。
- Nie wolno wiktadać do piekarnika materiażówłatwopalnych ani przechowywać ich w是我的y poblizu.
- Przejnzane tuszczne i oleje moga sie latwo zapalic. Nalezy nadzorowac piecenie potraw z duza ilosci tuszczu lub oleju.
- Urzadzenia są obstrugwane przy做的事情 powyzej 8 roku zycia oraz osoby o agraniczonych zdolnosciach fizycznych, sensorycznych lub umysłowych, a sąze niedoswiadczenia, jestli są one nadzorowane lub zostanę poinwuowane w zakresie bezpiecznego korzystania zkiego urzadzenia i są dwiadome zwiazanych z tym zagroź. Dzieci są mogą baweć są urzadzeniem. Urzadzenia są powinno byc czyszczone ani konserwowane przy做的事情 bez nadzoru.
- Nie klausc na polu grzejnym przyrzadow kuchennych (nozy, widelców, lyzek,...), pokrywek ani innych podobnych, poniewaz mogą sie one Rozgrzać do wysokiej temperatury.
- We węcce pod urzadzeniem naleź zainstalowej panel oddzielȩćy, k tym zo stał dostarczy w komplecie.
- Jesli na powierzchni pojawę są出入境ie, naleź wyłącZY urzadzenia, abyunikacja ryzyka porazenia prȩdom elektrycznym (dótczy tylko urzadzenia ze szklaną powierzchni).
- Urzadzenia nie maya węczać przy pomocy zewétrznego timera ani oddzielnégo systemu zdalnégo sterowania.
- Pozostawienie urzadzenia bez nadzoru podczas przyrzadznia potraw z uzyciem oleju i tuszczu要去 spowodowa zagrozenia oraz要去 prowadzić do pozar. Pozaru NIGDY nie wolno gasic wod)! Naleź wyłączyc urzadzenia i przykryc ogień np. pokrywką lub kocem gaśniczym.
Rzyko pozaru: nie przechowywaćźadnych rzejcy na powierzchniach gotowania.
- Nie stosowac urzadzen czyszczących para!
- Na powierzchni płyty nie wolno klasć sztućcow ani pokrywek do garnków, gdyż mogą są one Rozgrzac do wysockiej temperatury.
- Po zakończeni uzywania płyty naleź wyłączyć pole grzejne za pomoczą po.krętła aNie polegać na ukradzie wydkrywania obecnosci naczynia (dotyczy tylko urzadzenia z fungcją indukczy).
PORADY DOTYCZACE OCHRONY ŚRODOWISKA

Utylizacja opakowania
Material z opakowania w 100% nadaje sie do recyclungui i jest oznaczony symbolem (C). Czeci opakowania nie nalezy wyrzuć, lecz utylizowej zgodnie z przypisami okreslonymi przyźlokne wędze.
Utylizacja urzadzenia
Symbol na urzdeniu lub w dokumenta di noiego dozzonej oznaca, ze urzdenia nie wolno traktowac podobnie jak zwykle opdady domowe. Nalezy odda je do punktu zajmujacego sie utylizacja i recy Klingiem urzden elektrycznych i elektronicznych.
Oszczedzanie energii
Aby uzyckańajlesz wyniki pracy urzadzenia, nalezy:
Uzywac garnkow i patelni, ktorych srednica dna jest rowna srednicyPGA grzejngo.
Stosowac tylkogarnki i patelnie o plaskim dnie.
- Jesli toMZlwe, garnki powinny byc nakryte w czasie gotowania.
Dzieki naczyniom ciśnieniowymMZmniejszyczuzycie enerji i skróci dlugosc gotowania.
Naczynia naleź stawiac na Środku pola grzejnégo oznaczonego na płycie.
DEKLARACJA ZGODNOSCI (
PRZED ROZPOCZECIEM PRACY

WAZNE: Jesli naczynia nie sąmaticy wychydlęwych, rozmiarów, pola grzejneNie wącza sie. Stosowac wączie naczyna opatrzone napisem "INDUCTION SYSTEM" (Rysunek obok). Nacznych sądate wędane pole grzejne przy wączeniem pły tkuchennej.
W przypadku stosowania odpowiednich garnków nie要去 za uzywac stref gotowania przy temperaturze poniżej 10^

Aby sprawdzić,czy dno naczyna jest przystosowane do gotowania na indukcynej plycie kuchennej:性和dno naczyna lub patelni nie reaguje na magnes,oznacza to, ze naczynie nie jest przystosowane.
Sprawdzić,czyspd naczyna nie jest chropowaty,aby niedzlo do porysOWANIA powierzchni plyty kuchennej.Srawdzić naczyna.
- Nie opierać gorących garnków i patelni o powierzchnie panelu sterowania. Może to prowadźć do是我的 uzskodzenia.
ZALECANE SREDNICE DNA NACZYN
Przed wącieniem plyty umieszć naczynie naźdanej strefie grzewczye.
Aby uzyská三点 efekty gotowania srednica dna garnka powinna byc równa srednicy pola grzewczego.
Średnica (cm) Maks (cm) Min (cm) 14,5 14,5 10 18 18 12 21 21 15 24 24 15 26 26 17
Średnica (cm) Maks (cm) Min (cm) 28 28 17 30 30 17 FLEXI /ŁACZENIE STREF
GRZEWCZYCH 39 - 18 12
Rozmiar garnka
Aby okreslic Rozmiar garnka, nalezyzmierczyszerokoscantiago (patrz rysunek) i sprawdziw tabeli ponizej zalecane srednice dna garnkow gwarantujace nalemsz parametry uzytkowania i wsiciwe wykrywanie naczynia. Kaźda strefa grzewca posiada ograniczenia minimalej wielksiwykrywanego naczynia, ktore zmieianie sie wazolechno ci od rodzaju materialu, z ktorego wykonane zostalo uzywane naczynie. W zwiazku z tym nalezy wykorystwyac strefy grzewce nalemspie pasujace do srednicy naczynia.

ZALECANE POŁOźENIE NACZYNIA
W celu zapewnienia najlepszej wydajnosci przy rownoczesnym korzystaniu z dwoch naczn alezy je połozyc zgodnie z poniższymi ilustracjami.




Poziom mocy Rodzaj gotowania Użycle poziomu
(wskazanieNSE węsnego dośćwiedzenia oraz nawyckań gotowania) Moc
maksymalna Boost Szybkie podgrzewanie Idealne do podniesienia temperatury potrawy w krótkim czasie, szybkiego zagotowania wody lub podgrzanía plynów 9-7 Smażenie - gotowania Do przyrumieniania, Rozpoczyniania gotowania, smażenia mrożonych produktów, szybkiego gotowania Duźao moc Przyrumienianie -
podsmazanie - gotowanie -
grillowanie Idealne do podsmazania, gotowanie na wolnym ogniu, gotowanie lub grillowanie (krótkie gotowanie, 5-10 minut) 7-5 Przyrumienianie - gotowanie -
duszenie - podsmazanie -
grillowanie Idealne do podsmazania, gotowania na wolnym ogniu, gotowania lub grillowania (średnej dlugość gotowania, 10-20 minut), podgrzewania Gotowanie - duszenie -
podsmazanie - grillowanie Idealne do duszenia, delikatnégotowania na wolnym ogniu, gotowania lub grillowania (dlugi czas gotowania). Średnia moc 4-3 Gotowanie - utrzymywanie na ogniu - zagęszczanie -
gotowanie makaronu al dente Idealne do dlugiego gotowania (ryž, sosy, pieczenie, ryby) z dodatkiem plynów (np. wody, wina, bulionu, mleka), gotowania makaronu al dente. Idealne do dlugiego gotowania (poniȩj"Onego litra objętość: ryž, sosy, pieczenie, ryby) z dodatkiem plynów (np. wody, wina, bulionu, mleka) Małama moc 2-1 Roztapianie - rozmazanie -
utrzymywanie w cieple -
przyrzędzanie risotto Idealne do zmieȩczania masła, delikatnégotrozapiania czekolady, rozmazania małych artykuław spożyczych oraz utrzymywnia w cieple świezo ustogowanych potraw (np. sosy, zupy) Idealne do utrzymywnia w cieple świezo ustogowanych potraw, gotowania risotto oraz utrzymywnia temperatury talerzy, na tkórch;będ Podawane dania (zwyrkorzystaniem SPECIALNych do plyn indukcyjnych), OFF Moc zero Powierzchnia podparcia Plyta kuchenna w połozeniu czuwania lub wyłącza (możliwa obećnosćciepla reszkłowego pozostāgende po zakońceniu gotowania, sygnalizowsa przy bez symbol H)
UWAGA:
W rzie krotkiego gotowania, ktore wymaga Jednakke idealnego rozlozenia ciepla (np. nalesniki) na podwojnym polu o srednicy 28 cm (w zaleznosci od modelu), zaleca sie stosowanie naczy, ktorys srednica nie przechraca 24 cm. Do potraw wymagajych delikatnej obrobki cieplnej (na przykliad topienie czekoladyczy masla) zaleca sie uzywanie pojedynczych pol grzewczych o mniejszej srednicy.
INSTALACJA
Po rozpakowaniu urzadzenia nalezy sprawdzić,czy nie zostano ono uszkodzone w czasie transportu. W razie problemów skontaktuć sie ze sprzedawcą lub autoryzowanym serwisem.
Wymiary do zabadowy oraz instrukcja instalacji patriz rysunki na stronie 2.
PRZYGOTOWANIE MEBLA DO ZABUDOWY

OSTRZEŽENIE
Zainstalowac panel oddzielajcy pod plyta kuchenna.
- Po zainstalowaniu dolna częc urzadzenia nie powinna być juz dostepna.
- W razie instalacji piekarnika pod płytaNie instalowac panelu oddzielajacego.


- Odlegósc między spodem urzadzenia a panelem oddzielajczym powinna byc zgodna z wymiariami podanymi na rysunku.
- Aby zagwarantowac prawidlowa prac urzadzenia, nie wolno blokowac minimalneo otworu miedzy blatem a gorna czeciag btlu mebla (min. 5 mm).
- Jesli pod płyta kuchenna jest instalowany piekarnik, sprawdzić,czy posiada on system chłodzenia.
- Nie instalowac plyty kuchennej na zmywarkach badz pralkach, aby zapobiec kontaktowy bodów elektronicznych z para lub wilgocia, ktoraMZe je uszkodzic.
W przypadku montazu pty rowno z blatem skontaktowac sie z serwisem w celu montazu zestawu szrub 4801 211 00112.
- Aby zdjac phyte, nalezy zwolnic srobkrtem (nie jest dostarczony w komplecie) sprezynzy zajdujace sie w dolnej czeci urzadzenia.

OSTRZEZENIE
- Odłaczycz urzadzenia od zasilania.
- Instalaacja musi byc przypegowadzona przyez wykalifikowanego pracownikka znajacego aktualne przypepiesy dotyczze bezpiecznych i instalaci.
- Producent nie ponosi czadnej odpowiedzialnosci za obrazeniaHOUSE lub zwierzata ni za straty materialnewynikz nieprzestrugania przyepisow podanych w niniejszym rozdzie.
- Przewód zasilajcy powinienmieć wystarczajcă dlugosć, aby umozliwić zdjecie ptyz blatu.
- Upewnicie, ze napięcie podane na tabliczce znamionowej znejdujacej sie w dolne czeci urzadzenia jest zgodne z napięciem w instalacji domowej.


1. Zdjac oslonz zasków (A), odkrcajac srube, a natestpie wsunac oslonz w zawias (B) zasków.
2. Wsunac przewod zasilajcy w uchwyt, a nastepnie podlaczyc poszczegolne zyły przewodu do blokuzacisków w spośb przydstawiony na schemacie połaczenia znajdujocy mię w poplizu zacisku.
3. Zabepieczyc przyżwód zasilajczy w uchwycie.
4. Zamknac oslone (C), a nastepnie przykrećić ja na zacisku przy užciu wczȩnej odkrećonej struby.
Po kāźdym podłączeni upty do sieci przyperowadzana jest automatyczna kontrola trwajća kilka sekund.


B

C

Podłaczenia do zasilania sieciowej




Opis panelu sterowania
Panel sterowania

Przyciski regulacijs pol grzejnych i wyświetlacz
Włącenie/wyłączenie platy kuchennej
Aby właczyc phty, wcisnac przycisk ① na ok. 2 sekundy i przytrzymac, dopoki ni zapalä są wyswietlacze pol grzewczych. Aby wączyc phty, dotknackiego samego przyciski i przytrzymac do czasu węlącenia wyswietlaczy. Wszystkie pola grzejne zestana węlączone.
Gdy ptya juz pracowa, wskaznik ciepla resztkowego "H" swieci, dopoki ptya kuchennaNie wystygnie.
Jesi wciu 10 sekund od wuczenia pty kuchennej nie wybierse sie zdnej funkci, plya wuczy sie automatycnie.
Właczenia i regulacja pól grzejnych



Umieść naczynie na strefie grzewciej, wączej zywoć yzmagnę strefe zywoć odowiedni przyczysk "+" . Na wyswietlaczu pojawie sąsymbol "0". Wybrać wymagany poziom mozy w zakresie od 0 do 9 lub funkȩ golegrodzewania "P", sąsi jest dostepna. Aby zȩkszycz pozium mozy, sąȩzy nacisność przyczysk "+" . Aby zȩnszych golem mozy, sąȩzy nacisność przyczysk "-"
Wylaczenie pola grzejnego
Aby wyłaczyc strefę grzewca, nalezy nacinacja odpwiedni przyczysk {"+" i "-"} przytrzymać przyznad 3 sekundy.
Stefa grzewca zostanie wylacznca i jejli nadal jest goraca, na wyswietlaczu pojawi sie symbol "H".
Blokada panelu sterowania
Funkja blokuje przyciski, aby nie dopućić do przypadkowe go właczenia pły kuchennej. Aber wącć blocade panelu sterujucego, wącz pły grzejna i naci)—przycisk blocady i przytrzymaj go przy trzy sekundy. Sygnat akustyczny i podswietlony wskañnik obok symbolu kłódki swiedźco wączeniu blocady. Panel sterowania jest zablokowy na za wyjátkiem fungcjni włacznia. Aber wącć blocade,NSEZY wykonać tę samā procedure, co przy wącznii. Wącćsi wskañnik swietlny i plya bedzie ponownie aktywna.
Obecnoś wody, plynu, jaki wydosta są z naczynia na plicie, a takze innych przycisku pod symbolem boz boz powodem przypadkowy i niedoanedogo wączenia sie lub wączenia blokady panelu sterowania.
Timer
Timer要去吃吃吃吃吃吃吃吃吃吃吃吃吃吃吃吃吃吃吃吃吃吃吃吃吃吃吃吃吃吃吃吃吃吃吃吃吃吃吃吃吃吃吃吃吃吃吃吃吃吃吃吃吃吃吃吃吃吃吃吃吃吃吃吃吃吃吃吃吃吃吃吃吃吃吃吃吃吃吃吃吃吃吃吃吃吃吃吃吃吃吃吃吃吃吃吃吃吃吃吃
Wybra c s fr g wcz timer, a nepnie nacnac timer (patrz rysunek). Wcienie fungkzi zostanie potwierdzone sygalem dzwiekowym (patrz ilustracja). Na wyswietlaczpojawi si symbol "00" i wczy si kontrlka LED. W celu zmniejszenia lub zwicszenia wartosci timera naezy trzymawcsiiete przyciski "+"i-" funkci suwaka. Po upywie ustawionego czas uzlega si sygnd dwiekowy, a pole grzejne samoczynnie sie wylacza. W celu wylczenia timera naezy trzyma przycziscim terima wciScipty bez co najmiej 3 sekundy.
Aby ustawić timer dla innego pola, naleź powtorzyc powozyszne punkty. Na wyświetlaczu timera widnej zawsze informacja dotyczę timera ustawionego dla wybraneano pola lub timera z najrotszym ustawionym czasem.
W celu modyfikaci lub wyłączenia timera naleź ynocznę przyczysk wyboru pola grzejność dla danego timera.
Informacja dotycznej panelu sterowania
Funkje specialne (jesli dostepne)
Niekotre modele sq wyposazone w funkcie spejalne:
Funkja automatyczna
Funkcja automatycznie ustawia poziom mocy odpowiedni do utrzymywania minimalneo gotowania. Wzucy c t fungcje po doprowadzeniu potrawy do wrzenia. Wym celu nacsnac nadpierrw przycisk dotczyc y pola, a nastepnie przycisc
Wskazniki ciepla resztkowego.
Plyta jest wyposzażona we wskaźnik ciepla resztkowej dla kaźdego pola grzejego. Wskaźnik taki sygnalizuje, króre pola grzejne sąszcie wysoka temperature.
Jesi na wyswietlacu pojawia sie, pole grzejne jest nadal gorace. Jesli przy danym polu swieci sie ten symbol, pole mayaieszce wykorzystafty, na przyklad, roztopic maslo lub utrzyma' temperature potrawy.
Po wystygnięci pola grzejné goświetlacz gasnie.
Wskaznik nieprawidlowego naczynia lub braku naczyna.

Jesi naczynie nie jest przystosowane do przy z ptya indukcyjna, jest nieprawidlowo ustawione lub m iiewa Sciwe wymiary, na wywiwtaczu pojawia sie komunikat "Brak naczyna" (patrz rysunek obok). W takiej sytuacci zaleca sie przystawienie garnka na powierzchni ptyg grzejne a do znalezionia.), wiejsca prawidlowego dlaiania. Jesi w ciagu 60 sekund Nie zostanie wykryte zdne naczynie, plya kuchenna sie wylacy.
Funkcja szybkiego gotowania (Funkcja silnego podgrzewania, jesti jest dostepna)
Funkja jest dostepna Jedynie dla okreslonych pól grzejnych. Pozwala ona na wykorzystanie maksymalnej mocy pty (np. w celu szybkiego doprowadzenia wody do wrzenia). Aby wącć tę fungcjé, naciskać przycisk "+" aź do pijawnienie są na wyświetlaczu "P". Po 5 minutach dzialania funkci booster urȩdzenia automatyczne ustawia dla danego pola poziom 9.
FLEXI/∠ACZENIE STREF GRZEWCZYCH
Ta funkacja wykorzystwyana jest w przypadku duzych naczn, gdy pojedncy zsta grzewcza nie wystarcza np. ryby, duze naczynia na mięsO.
Aby aktywować fungkje FLEXI/ÄCZENIE STREF GRZEWCZYCH, nalezy jegnoczesnie nacisnám przyciski + i - tak jak zu zostaloPokazane na ponieszym rysunku.

"Power management" (Funkcja,{jesi jest dostepna})
Dzieki funkci "Power management" uzytkownik要去ustawic maksymalna moc osiagan przyez dane pole grzejne wedlug wąsnych potrzeb.
Regulacja要去 za przechowadzic w dowolnym momencie a wprovadzone ustawienia zostaja zachowane do kolejnej modyfikacje.
Po ustawieniu zędanj mocy maksymalnej pły automatycznie dokona podzialu mocy na posczególne pola grzejne, gwarantujć, ze ustawiony przy nigdy nie;będzie przekraczany, zaleta jej opcji jest rònwnie sądlę wędniwość sądacznych wyszystkimi polami grzejnych, bez problemów związanych z przyciezenia.
Dostepe n 4 maksymalne poziomy mocy. Przedstawiane sq w nastepujc yposob na wyswietlaczu: 2,5-4,0-6,0-7,2kW (7,2kW stanowi maksymaln muc phyty kuchennej) W momencie zakupu plyta jest ustawiona na maksymaln wartosci mocy
Wciagu pierwszych 60 sekund od podlaczzenia plyt do gniazda zasilania moza ustawic wymagany poziom mocy, wykonujac ponizsze czynosci:
Krok Panel sterowania Wyświetlacz 1 + Nacisnaj na około3 sekundy 2 Nacisnij przyciskZaradzania poziemmocy, aby potworȩćpoprzejni krok Na wyświetlaczu pojawi są komunikatPL 3 / + Nacisnaj, aby wybraćwybrany poziom spoȩródróźnych dostepnych opcj Kontrolka zawicki bazem z kontrolkamiwczenia poszczególnych stref grzewczych 4 Nacisnij przyciskZaradzania poziemmocy, aby potworȩćpoprzejni krok Przez okło 2 sekundy na wyświetlaczu migaustawiony poziom, a nastepnie płyta emitujsygnat dzwiekwowy i wąĆza są. Od tej pory jest gotowa do pracy
W raze wystapienia bldu podzas ustawiania mocy pojawia sie symbol na srodku, towarzysz mu ciagly sygn dzwiekowy trwajcy okayo 5 sekund. W takim przypadku nalezy powtorzyc procedure konfiguracji odocztku. Jesli bld wystapi ponownie, skontaktowc sie z serwisem.
Podczas normalnej eksploataci po osiągnięci maksymalné dostepné go zȩkszyc, wskaznik mocy danego pola grzejnégo migia dwukrotnie emitujć sygnatźwiękowy.
Jesli niedzna jest wyzsza moc na tym polu grzejnym, trzeba ręcznie zmiejejszy poziom mocy jegno lub kilku pozostych wączonych pol.
Aktwyacja/dezaktywacja sygnalu dzwiek战略布局 (opcja niedostepna w wersji z suwakiem)
Po wączeniu pły nacisć Jednoczesnie i przytrzymć przy zędny przyczysk "+" oraz ostatni przyczysk po sprawej stronie ("blokada panelu sterowania").

CZYSZCZENIE

OSTRZEŽENIE
Unika stosowaniaczysikow parwych.
- Przed przystapieniem do czyszczeniaNSE upewnici,czy wszystkie pola grzejne sny wylaczone oraz czyNie swieci sie wskaznik ciepla resztkowego ("H").
Jesni powierzchni szklanej znajduje sie logo iXeliumTM, ptyta jest Pokryta warstw iXeliumTM. iXeliumTM to wyjatkowa powloka Whirlpool, gwarantujaca doskonaclc zystoci dlugotrwaly blask. W zwiazku z tym, jesti posiadaja Paanstwo ptyt z powloka IXELIUM, wysoce wskazane jest przystrzeganie ponizsych zalecen dotyczych czyszczenia:
Uzywacmiiekiej szmatki (najlepiej z mikrofibry) zwilzonej wod lub zwykthym detergentem do czyszczenia szka.
- Chćac poprawić efektywnochźyszczenia, naleź y na kilka minut pozostawić wilgotną sciereczné na powierzchni szklanej.
WAZNE: Nie uzywac gąbek sciernych ani myjek. Ich stosowanie要去 po pewnym czasie zniszczycz szklanq powierzchnie.
- Po kázdym użyciu naleź oczyść płyte (gdy jest zimna), aby us)nęc osady i plamy powstałe od resztek zywnosci.
Cukier oraz potrawy o wysokiej zawartosci cukru niszczamy t aleyny je niedzwocznie uwuac z jej powierzchni.
Sól, cukier piasek mogr yrosac szklanpowierzchnie.
Uzywac miękciej szmatki, chlonnych ręczników kuchennych lub SPECIALNego przyrzadu do czyszczenia płyty (postepowa wedlug instrukcji producenta).
- Płyny rozlane na strefę grzewczą mogłowodowej drgania lub przysuwanie naczyn.
- Po wyczyszczeniukdokladnie osuszyc phyte.
INSTRUKCJA WYSZUKIWANIA USTEREK
Prosz uwaznie przycztya i wykonac instrukcje podane w Rozdziale "Instrukja obshugi".
Sprawdzić,czynie doszto do przerw wzasilaniu elektrycznym.
Dobrze wytrzech powierzchnie pty po jej umyciu.
- Ješli po węcieniu pły na wyświetlaczu pojawaja są kody alfanumeryczne, sąȩ zostepować zgodnia z instrukcjami podanymi w poliższej tabeli.
- Jesli po zakończeniu przy nie można wyłaczycy plty kuchennej, naleź y są odłacZY od zasilania elektrycznych.
KOD BŁEU OPIS PRAWDOPODOBNE
PRZYCZYN USUNI-European KOD BŁEU C81, C82 Panel sterOWANIA wyŁACZA są z powodu zbyt wysokiej temperatury. Temperatura wewnętrzna czȩci elektronicznych jest zbyt wysoka. OdczekAAC,źPHYTA są ochłodzi, a nastepnie wączyć są ponownie. C83 Na panelu sterOWANIA jest wyświetlany kod bŁEU, aPHYTA wyŁACZA są wDyniku problemu związanego z uładem elektronicznym Napiȩcie zasilania pPHY tyny grzewczy jest zbyt wysokie PHYta grzewca są boć nadal uzytkOWANA,{jednakść sąbezy wezwac lokalny autoryzOWANY serwis C85 PHYtaNie sągne dostarczyć mocy do naczynia NacznieNie są przystosowane do gotowania na pPHYcie indukcynej Użyć innego naczynia indukcyjngo F02 lub F04 lub C84 Podlączone napiȩcie jest nieprawidłowe lub wystapiła awaria zasilania Czujnik wykrwyta napiȩcie年内 niedynamagane. Odlączyć pPHY tę od siedci zasilajȩce i sprawdzić podlącenie. F01, F05, F06, F07, F10, F12, F25, F33, F34, F36, F37, F46, F47, F48, F49, F58, F61, F62, F63, F72, F74, F77 Odlączyć pPHY tę od zasilania elektrycznych
OdczekAAC kilka sekund, a nastepnie podlączyć ponownie
Ješli problem wystepuje nadal, skont⁺tawkówć są z lokalnym autoryzOWANY serwisem i podać kod bŁEU
HAŁAS GENERWANY PRZEZ PŁYT KUCHENNA
Indukcyjne pły grzejne moga podcas normalnej przy generowac dzwiek i wibracja, w zaleznosci od materia'u i sposobu obrókji produktów spozymwczych, zgodnia z opistem poniżej:
Dzwiek kontaktu: ten rodzaj drganynika ze stosowania naczyn Pokrywanych roznego rodzaju materiali.
Dzwiek klikniewia w dolnym zakresie mocy: ten dzwiek jest wytwarzany w celu uzyszkania wymaganej mocy w dolnym zakresie.
Dzwiki przypominajce rytmicne klikanie: ten rodzaj dzwieku jest wytwarzany podczas pracy roznych stref grzewczych i / lub wysokiej mocy grzania.
Cichy wysoki dzwiek: ten dzwiek jest zwiazny z rodzajem uzywanego naczynia i ilosci znajdujacej sie wewnatr zwywnosci.
Dzwiek w tle: kuchenka indukcyjna jest wyposażona w wentylator, któ rśluzy do chlodzenia componentów elektronicznych. Dlągo podczas jej działania i przyez kilka minut po wy)—ceniu slyecha szum wentylatora. Z)—szenie / zmniejszenia mocy aktywowanych stref grzewczyh moze powodowej z)—szenie lub z)—szenie d)—w tle.
Jest to normalna cecha systemu indukcyjneo, takie zachowanie nie swiadczy o awari ci zuyszkodzeniu.
SERWIS TECHNICZNY
Przed skontaktowaniem sie z serwisem techniczynm
1. Sprawdzić,czynie można samodzielnie rozwȩzać problemu zgodnia z punktami opisanymi w "Instrukcji wyszukiwania usterek".
2. Wyłaczycki ponownie wącZY uradzdenie, aby sprawdzić,czy usterka nie ustapija.
Jesli po przyprowadzeniu powoyszych kontroli usterka nie znikla, nalezy skontaktowci sie z najblzyszym autorzowanym serwisem techniczynm.
Nalezy podać:
krótki opus uterki;
typidokladnymodelphytgrzejnej;
- numer serwisowy (numer po slewie SERVICE na tabliczce znamionowej) znajdujczy sie pod urzadzeniem (na metalowej ptyte).
- Paśnista doklady adres;
- numertelefonu.
SERVICE
0000 000 0000

Ježeli konieczne jest dokonanie naprawy, prostymo kontakt z autoryzowanym Serwisem Technicznym (zapewnia to uzycie oryginalnych czeci zamiennych oraz prawidowej wykonanie naprawy). Czeki zamiennent są dostepné przy 10 lat.
DÜLEZITÉ BEZPECNOSTNÍ POKYNY
Tento námod je k disposici také na stránkách: www.hotpoint.eu
VAŠE BEZPEČNOST I BEZPEČNOST DALŠÍCH OSOB JE VELMI DULEŽITÁ
V toto navodu a na samotném spotbrebič jsou duležitá bezpečnostní upozorněné, která si musité prečíst a dodržovat je.

Toto je symbol nebezpeci, ktery je dulezitý pro zachovani bezpečnosti a upozorůje na mozná nebezpeci pro uživatele a pro dalí osoby.
Před kázdým upozorněním týkajíím se bezpečnostiNJdete tento symbol nebezpeciá následujíci výrazy:

NEBEZPECI
Oznacuje nebezpečnou situaci, kterou je třeba odvrát, jinak způsobí vázné poraněni.

VAROVÁNÍ
Oznacuje nebezpečnou situaci, kterou je třeba odvrátit, jinak by mohla zpúsobit vázné poraněni.
Vsechny zpravy tykajci se bezpecnosti upozornuji na potenciarni nebezeci a uvadej i postup, jak snizit riziko poraneni, skod nebo urazu elektrickym prudem zpusobené nespravnym pouzitim spotrebiče. Dodržujte nasledujici pravidla:
- Pri rozbalováná a montázi不同程度 ochranné rukavice.
- Pred kazdou montází je nutné spotřebič odpojit od elektrické sítě.
Montáž a udrzbu musi provadět specializovaný technik v souladu s poukny vyrobce a s platnými mistrími bezpečnostními predepísy. Neopravujte ani nevyměñujte zádnou cást spotřebrane,Pokud to není vyslovné požadováno v námodu k použiti.
- Spotbrebič musí byt uzemněny.
- Napajćí kabel musi byt natolik dlouhý, aby umoznil pripojení spotřebiecz jabudovaného do skřínký k elektrické zásuvce.
Montáz musí probíhat v souladu s platnými bezpečnostními prědpíy, a proto je nutné použít vsepólový spínač s minimálné vzdáleností mezi kontakty 3 mm.
- Nepoužívejte vicénásobné zásvuky ani prodlužovác kably.
- Netahejtze za napajeci kabel spotbreicine.
Elektrické současti spotřebie nesmi být po montáži pro uživatele prístupné.
- Spotbreic je urcen vyhradně pro domáci pripravu jídel. Neni povoleno Žádné jiné použití (např. k vyтapestné mistnosti). Vyrobce odmitá jakoukoli opovědnost za nevhodné použití nebo nesprávné nastavení ovladačú.
- Spotbreic a jeho pristupné soucasti se pri pouziti zahrivaji. Je tbreba dbat opatrnosti, abyste se nedotkli topnych tles. Pokud se v blízkosti spotbreic budou pohybovat velmi malé (0-3 roky) nebo malé (3-8 let) déti, musi byt neustále pod dohledem.
- Děti starí 8 let a osoby s fyzickým, smyslovým Či duševním postižením nebo bez patrčných zkušeností a znalostí mohou tento spotřebič použivat pouze pod dohledem nebo tehyd, pokud obdržely informace o bezpečnémpoužití spotřebiče aPokud Rozuměj rizikům, která s používaním spotřebiče souviseji. Nedovolte détem, aby si se spotřebičem hrály. Nedovolte détem, aby bez dohledu provaděly Čištěné a běznou udržbu spotřebiče.
- Behem a po pouziti spotbreiţe se nedotykejte topnych těles. Spotbreiţ nesmí prijit do styku s textiliemi ani jinymi hořlavými materiały, dokud vsechny jeho současti zcela nevychladnou.
- Na spotbrebič ani do jeho blízkosti neumistujte hořlavý material.
- Přehrát uky a oleje se mohou snadno vznítit. Pri pripravě jídel s vytokým obsahem tuku nebo oleje si počínejte opatrně.
- Pod spotbrebič je nutné namontovat oddělováci panel (prodáva se samostatné).
- Pokud povrch spotbrebiče praskne, spotbrebič vypněte, abyste predešli riziku urazu elektrickým proudem (platí pouze pro spotbrebiče se skleněným povrchem).
- Provoz spotbrebicne nelze rridit pomoci externiho casovace nebo samostatneho systemu dalkoveho ovladani.
- Príprava jídel s obahem tuku nebo oleje bez dozoru mûze byt na varné desce nebezpećná a mûze zpúsobit vznik požáru. Pozár se NIKDY nepokousejte uhasitvodou. Mistro toho spotřebic vypněte a zakryjte plamen napříkladPoklicí nebo hasić rouškou. Riziko požáru: Na povrch varné desky nepokládejte Žádné prédměty.
Nepouziveje parni cistice.
Kovové prěděmty, jako jsou nože, vidlicky, lížice neboPoklice, nepokládejte na povrch varné desky, jinak se mohou zahrát.
- Topné těleso po použití vypněte pomoci príslušného ovládaciho prvku a nespólěhejte se na detektor prǐtomnosti pánve (platí pouze pro indukční spotřebiče).
RADY KOCHRANE ZIVOTNIHO PROSTREDA

Likvidace obaloveho materialu
Obal je ze 100% recyklovatelného materialú a je označen recyklačním symbolem (2). Obalový material proto nevyhazujte s domácím odpadem, ale zlikvidujte ho podle platních mistríchů.
Likvidace spotbrebc
Symbol na spotbrebi nebo prislusnych dokladech udavá, ze tento vyrobek nepatři do domáciho odpadu, ale je nutné ho odevzdat do prislusného sberného centra pro recyklaci elektrickych a elektronickych zařizení.
Uspora energie
Chcete-li dosahnout nejlepsich vysledku:
- Používejte nádóby s prúměrem dna stejnám, jako je prümér varné zóny.
- Pouzívejte pouze hrnce a pânve s rovným dnem.
- Je-li to mozné, pouziveje piii vafeniPoklicku.
Pouzivejte jestenergiea casa vam useti tlakovy hnrnc.
Hrnec postavte do strodu varne oblasti vyznačné na varne desce.
PROHLÁSENÍOSOULADUSPRDPISY (€
PREDPOUZITIM

DULEZITE UPOZORENI: Gestlize hrnc nemaj spravne rozmery, varne zony se nezapnou. Pouzivejte pouze hrnc se symbolem "INDUKCNI SYSTEM" (viz vedleji obrazek). Prd zapnutim varne desky postuve nadobu na pozadovanou varnou znu. Pri pouziti vchodnich hrcu se varne zony aktivujv pripad, ze je teplota okoli vyssi nez 10^
STARE NADOBY

Ke kontrole vchodnosti dna hrnce pro indukci varnouISKu pouzijte magnet: hme a pane bez magnetickho dna nejsou k pouziti vchodne.
- Přesveděcte se, zda dno hrnce není drné, protože by mohlo poškrábat povrch varné desky. Zkontrolujte nádóbi.
- Nikdy nestavte horke hrnce a pânve na povrch ovladaciho panelu varne desky. Mohl by se poskodit.
DOPORUCENÉ PRÜMÉRY DNA NÁDOBY
Nejprve umistete hrnec na pozadovanou varnou zonu a az potom zapne te varnou desku.
Abylo pri vaaren dosazeno dobrch yvsledku, prumr dna pouziteho nadobi by mel odpovidat velikosti plotny.
Prümér (cm) Max (cm) Min (cm) 14,5 14,5 10 18 18 12 21 21 15 24 24 15 26 26 17
Prümör (cm) Max (cm) Min (cm) 28 28 17 30 30 17 Funkce „FLEXI /CONNEXION“ 39 - 18 12
Velikost pouziteho nadobi
Aby va'rení probihalo efektivne a cidla varn'ych zón správné fungovala, je t'reba urcit spravnou velikost pouziteho nadobí. Změrte prosím prümér dna hrnc ā pánve (viz obrázek) a vyslednou hodnotu porovnejte s hodnotami doporučenych sǐrek pro dna nadobí, které jsou uvedeny v tabulce nizé. Každá varná zona má minimálni velikostní limit pro detekci nadobí, které se mení i v závislosti na materiálu, ze kterého je použivané nadobí vyrobeno. Proto bye ste měli použit tu varnou zónu, která nejlepé opdová prúmeru dna nadobí.

DOPORUÇENE UMİSTENİ HRNCÜ
Abyste dosáhli co nejlepsích vysledku pri pouziti dvou hrcu soucasne, umistete je na varnou desku podle následujících obrázku:




TABULKAVKONU
Stupečný výkonu Zpùsob vařeni Použití varného stipné
(použití závisí na zkušenostech a kuchařskych návycích) Max. výkon Boost
(Rychlý var) Rychlý ohřev Ideálník rychlému zvyěné teploty jidla, rychlému uvedéné vody do varu nebo rychlému ohřevu tekutin na vařeni. 9-7 Smažení - udržení varu Ideálník osmáhnutí do rúžova, začátku vařeni, smažení mražéných vyrobků, rychlému varu. Vysoký výkon Osmáhnutí do rúžova - opečné - udrženi varu - grilovány Ideálník opečné, udrženi prudného varu, vařeni a grilování (po krátkou dobu 5-10 minut) 7-5 Osmáhnutí do rúžova - vařeni - duženi - opečné - grilovány Ideálník opečné, udrženi lehkého varu, vařeni a grilování (po středné dlouhou dobu 10-20 minut), prědehrátí Vařeni - duženi - opečné - grilovány Ideálník opečné, udrženi mírného varu, vařeni a grilování (po dlouhou dobu). Středníný výkon 4-3 Vařeni - zaćtek varu - zahuštěné - rozpuštěné másla a sýra na těstovinámch Ideálník delísmu vařeni (rýže, omáčky, pečěné, ryby) s tekutinami (např. s vodou, vínem, vyvarem, mlékem), rozpuštěné másla a sýra na těstovinámch. Ideálník delísmu vařeni (množstvi do Jednoho litru - rýže, omáčky, pečěné, ryby) s tekutinami (např. s vodou, vínem, vyvarem, mlékem) Nízký výkon 2-1 Rozpuštěné - Rozmrazovány - udrženi teploty - rozpuštěné másla a sýra na rizotu Ideálník zezměknutí másla, opatrnému roźpustěné Čokolády, Rozmrazoványámalych kousků a k udrženi teploty právořějed (např. omáček, ridkých i hustych polévek) Ideálník udrženi právořěužějed porci jídel v teple, rozpuštěné másla a sýra na rizotu, zahrátí podávacích talířů (vhodněch pro indukci) OFF (VYP) Nulový výkon Odkladová plocha Varná deska v poloze klidového stavu nebo vypnuto (můze být zbytkové teplo z vařeni signalizované ukazatelem H)
POZNÁMKA:
Pri krakodobem vaeni, ktery vzadujedokonaly Rozptytepla (napriklad palacinek) na dvojite varne zone s prumerem 28 cm (je-li k dispozici) doporuucjeme pouzivat nadoi's prumerem do 24 cm. Pro setrnveaeni, napr. Rozpousteni cokolady nebo masla) doporuucjeme pouzit samostnatne zony s mensim prumerem.
INSTALACE
Po yvaleni spotbrebiče se presveděcte, zda se pri dopravě nepoškodil a v pripadě pochybností se obratte na prodejce nebo na servis.
Rozměry otvor pro zabudováni a pokyny k instalaci viz obrázky na strane 2.
PRIPRAVA SKRINKY K VESTAVBE

VAROVÁNÍ
Pod varnou deskou instalujte oddelovacij panel.
- Dolnićast spotrebice musi byt po provedené instalaci nepristupné.
V pripadé instalace trouby pod varnou desku se oddelovaci panel neinstaluje.
Vzdalenost mezi spodni stranou spotrebice a oddelovacim panelem musi opovidat Rozmérum uvedenym na obrázku.
Ke spravnemu fungovani spotrebice nezakryveje minalmni volny prostor mezi pracovni plochou a horni plochou skriky (min. 5 mm).
V pripadé instalace trouby pod varnou desku se presvédçte, ze je vybavena chladicim systémem.
- Neinstalujte varnou desku nad mycku nebo pračku, aby elektrICKé obvody nebyly v kontaktu s párou nebu vlhkosti a nepoškodily se.
V pripeade, zsi prjete, aby varna deska byla zcela zaustene do pracovn plochy, zavoleje do servisu a pozadejete o monta sady sroub 4801 211 00112.
K odstraneni varne desky uvolnete pomoci sroubovaku (neni soucasti dodavky) obvodové pruziny na spodni casti spotrebice.


PRIPOJENI K ELEKTRICKE SITI

POZOR!
- Odpojte spotbrebič od elektrické sítě.
Instalaci musi provest kvalifikovaný pracovnik obeznámeny s platnymi bezpečnostními prědpísey a prědpísey o elektrické instalaci.
Vyrobcse odmita veiskerou opovednost za zraneni osob ic zviirat a skody na majetku, k nimz dojde v dusledku nedodrzeni pravidel shmutych v teto kapitole.
- Napajeci kabel musi byt tak dlouhý, aby varnou desku bylo moźne vyjmout z pracovní desky.
Zkontrolujte, zda udaj o napeti uvedeny na typovem stifiku na spodni strane spotrebice odpoveda napeti v domaci siti.


1. Po vysroubovani srobku odstrahte kryt svorkovnice (A) azasunte ho do zaveshu (B) na svorkovnici.
2. Zapojte privodni kabel do svorky a podle schematu priopojen yznačeného v blizkosti svarkovnice pripojte kabely ke svarkovnici.
3. Napajeci kabel zajistete pomoci kabelove svorky.
4. Uzavřěte kryt (C) a naśroubujte ho na svorskovnici pomoci odstraněného šroubku.
Při kázém prípojení k siti varná deska automatický provede několik sekund trvajíć kontrolu.

Pripojení k elektrickému napajen





Popis ovladaciho panelu
Ovladaci panel

Zapnuti/vypnuti varne desky
K zapnuti varne desky stisknete na asi 2 vteriny tlačitko , až se rozsviti displeje varnych zón. Desku vypnete stiskutim stejného tlačitka, až dispiej zhasne. Vypnou se všechny varné zóny.
Jestlizhe jste již varnou desku pouzili, ukalatel zbytkového tepla „H“ bude svitit tak dlouho, dokud se varné zony neochladí.
Pokud do 10 věřín po zapnutí varné desky nežvolte zádnou funkci, deska se automaticky vampne.
Zapnuti a nastaveni varne zony



Použiti posuvníku
Zyvänsi stipně vykonu

Snizeni stupné vykonu
Postavte hrnc na varnou plochu, zapne tere varnu desku a stisknutim prislusneho tlacitka ^ + ^ activujte pozadovanou varnu zonu. Na displeji se rozviti 0^ . Potefbny teplotni stapen muzete nestavovat od nejniizsiho stapen 9, noe muzete pouzt funkci rychleho varu Booster (^ , je-li k dispozici). Pro zvyjseni teplotniho stapen stisknete tlacitko ^ + ^ . Pro snizeni teplotniho stapen stisknete tlacitko ^ - ^ .
Vypnuti varné zony
Pro vypnuti varné zony podržte príslúsná tlačitka „ + „ stiskutá alespoř na dobu 3 sekund.
Varná zóna se vypne. Je-li stále horká, na příslušné displeji se rozsvití pismeno „H".
Zablokováni ovladaciho panelu
Funkce uplné zablokuje ovladani varne desky, aby nemohlo dojit k nahodnemu zaputi. Ovladaci panel zablokujte. kdyz zapnete varnou desku a stiskete a podržite tlačitko funkce zablokováni tlacitek po dobu tř sekund. Pri aktivaci bazni zvukový signál a u symbolu zámku se Rozsvítí světelný ukazatel. Ovladaci panel je zablokovaný s výjmkou funkce vypnuti. Zablokováni ovladaciho panelu vypnete zopakovámim postupu zaputi. Světelný puntk zhasne a varná deska je opě aktivní.
Voda, tekutiny vyteklé z hrnc nebo jakékoli prěděméty položěné na tlacitku pod symbolem mohou zpúsobit neúmyslné zapnutí nebo zablokováni ovládacho panelu.
Casovač

Casaová lze použit k nastavení doby vařné na maximální ās 99 minut (1 hodina a 39 minut) u věšch varných zón.
Zvolte varnou zónu, kterou chcete nestavit pomoci āsocače, a stisknéte āsocač (viz obrázek). Zazni zvukový signál (viz obrázek). Na displeoji se zobrázi „00“ a rozsvití se kontrlka LED. Hodnotu āsocačme mžěte snizovat a zvyšovat stisknutim a podržením tlacitek „ + “ a „ „ funkce posuvníku. Po uplynú tastaveného ācu zazni zvukový signál a varná zóna se automaticky vypne. Chcete-li āsocač vypnout, stisknéte a podržte tlacitko āscač alespón na 3 vteiny. Pro nastavení āsocač u jiné zóny opakujte vyšev uvedeny postup. Displej āsocač zobrazju vždy āsocač vybrané varné zóny, nebo ten s kratsím nestavením. Chcete-li āsocačzměinit nebo vypnout, stisknéte tlacitko výberu pro zónu āsocače, o který se Jedné.
Upozorněni ovládacího panelu
Speciární funkce (je-li k dispozici)
Nekteré modely jsou vyaveny spezialními funkcem.
Automatickafunkce
Funkce automatickny nestavv hodn y stupen vkykonu k udrzeni minimalinho varu. Tuto funkci zapne to uvedeni jidel do varu; nejprve stiskne tlacitko zony, a pak tlacitko ()
Ukazatel zbytkového tepla

Varná deska je vybavena ukazatelem zbytkového tepla pro kázdou varnou zónu. Tento ukazatel signalizuje, které varné zony dosud nevychladly na bezpečnou teplotu.
Jestlize se na displeji zobrañi, je varná zóna jeste tepla. Na varne zone s tímo ukazelem muzete napriklad udržet jidlo teple, nebo rozehrat málo.
Po ochlazení varne zony displej zhasne.
Ukazatel nesprávné nebo chybějíci nádoby

Pokud není nádoba pro indukčni varnu desku vvhodná, je špatné umistěné nebo nemo odpovidají Rozměry, zobrási na displeji ukazatel „chybí nádoba" (vedlejší obrázek). V těchtó pripeadech se doporučuje présouvat nádóblé po varné desce jen do tédoby, než je Rozpoznáno. jestlje varna deska do 60 věřin nezjistí Žadnou nádóbu, sama se vypne.
Funkce rychleho varu (,Booster^ ,je-li k dispozici)
Tuto funkci maji jen některé varné zony. Funkce umožnjue maximálni využití vykonu varné desky (např. k rychlému vutedí vody do varu). Pro zapnutí tétó funkce stiskné tlačitko „+“, až se na displeji zobrázi „P". Po 5 minutách použítí se funkce rychlého varu Booster vypne a varné deska automaticky dostavi zónu na stupeč 9.
Funkce „FLEXI/CONNEXION ZONE"
Tato funkce se používa v pripadé velkych hrcu, u kterych nepostáčuje plocha jegnotlivych varnch zón, napr. velké kastroly na ryby, maso. Pro aktivaci funkce FLEXI /CONNEXION ZONE stisknéte prosim současně tlacitka + a - tak, jakznázornuju obrazek nizé.

"Power management" (Funkce, je-li k disposici)
S fungki „Power Management" má uživatel možnost v pripadé potreby nastavit maximálí dosaizitelny vykon varnéisky.
Toto nastavení lze provost kdykoli a trva az do nasledujici změny.
Po nastaveni maximaliho pozadovanhevo vykonu varna deska automaticky rfdi rozdeleni vykonu na ruzne varne zony; tim se zajstí, ze tento vykon není nikdy prekrocen, a pritom se regului vsechny zony soucasne bez problém s moznym pretižením.
K dispozici jsou 4 urovné nastaveni maximaliho vkykon, zobrazené na displeji: 2,5 - 4,0 - 6,0 - 7,2 kW (hodnota 7,2 kW je maximaliy vkykon varne desky) V dobe nakupu je varna deska nastavena na maximaliy vkykon.
Po pripojeni spotbrebié k elektrické zasuvce je moźne během prvnich 60 sekund nastavit požadovanou urově výkonu podle nasledujícíchPokynú:
Krok Ovládaci panel Displej 1 + Stiskněte a podržte prřiblžné 3 sekundy. 2 Stisknutím tlacítka funkce Power Management (rǐzení výkonu) potvrdte prěchodázejtík krok. 3 - / + Stisknutím zvolte požadovanou úrovečn z nabízenych možností. 4 Stisknutím tlacítka funkce Power Management (rǐzení výkonu) potvrdte prěchodázejtík krok.
V pripe, ze do slo k chybe pri nastaveni ykonu, objevse uprostred symbol a bude znit nepretrztiy zvukovy signal po dobu asi 5 vterin. V toto priadepostup nastaveni opakujte od zaatku. V pripe, ze se chya opakuje,OCRate se na servisni stredisko.
Jestlizhe je pri beznem pouzivani dosazeno maximni urovné vykonu, a uzivatel se poki si o jeho dalsi zvyşeni, uroven vykonu prišluşné zony dvakrát zabriká a zazni zvukový signál.
Pokud potbrebujete zvyšit vykon dané zony, je nutné ručné snizit uroven vykonu dalízapnute zony, popřipadě vice zón.
Zapnutí/vypnutí zvukového signálu (není k disposzici u verze s posuvnikem)
Po zapnuti varne desky stisknete a nejmene 3 sekundy podrzte tlacitko ^ 一 "a soucasne tlacitko uplne vpravo (zablokovani ovladaciho panelu).

CISTENI

VAROVÁNÍ
- Nepouzivejte cistici pristroje na páru.
- Před Čišěnín vždy zkontrolujte, zda jsou varné zony vypnuté a ukazatel zbytkového tepla (_·H^ ) je zhasnutý.
Nacházi-li se na sklearn logo iXelium™, znamená to, ze vase varná deska je opatrěna povrchem iXelium™. iXelium™ je prvotíridní uprava Whirlpool, ktera zaručuje dokonále vyčěstěné a dlouhotrvajici lesk. Proto tedy,Pokud mate varnou desku iXELIUM, velmi doporučujeme dodržovat následujíci poukny pro Čištěné:
- Používejte měkky hadřík (nejlépe z mikrovlákná) navlhcéný vodou nebo běznám Čstićim prostředkem na sklo.
Budete-lichtä dale zefektivn vysledky cisteni, ponecheje sklo nekolik minut v kontaktu svlhkou textili.
DÜLEZITÉ: K Čišěné varné desky nepoužívejte hrubé houbický ani drátěné. Mohl bye ste jimi poškodit skleněné povrch.
- Po kazdem použí t zvarne desky (až vychladne) odstraťne pripadné nánosy, skvryn a zbytky jidla.
- Varné desc škóć cukr a potraviny s vysokým obsahem cukru. Pokud se na ni dostanou, okamžitě je odstrańte.
Sul, cukr a pisek mohou poskrabat skleneny povrch desky.
K cisteni desky pouzivejte jemny hadrik, absorbcn kuchynske uterky nebo specialni cisticipomucky na varnou desku (respektujte Pokyny vrobce).
- Rozlite tekutiny na varnych zónach mohou roz Vibrovávat nebo posouvat nádBó.
Po yciisteni varnu desku dukladne osuste.
JAK ODSTRANIT PORUCHU
- Pozorné si préçétée a dodržujte pouky v ĸasti „Pouky k použīt".
Zkontrolujte, zda nedoslo k vypadku proudu.
- Po yvčistěni varnou desku pečíve osuste.
- jestlize se po zapnuti varne desky na displeji zobrazi alfanumerické kódy, postupujte podle nasledující tab bulky.
- Pokud se po pouziti varné desky nepodáři desku vypnout, ihned ji odpoje tde elektrické sítě.
CHYBOVÍ KÓD POPIS MOZNÉ PřICINY ODSTRANÉNÍ CHBY C81, C82 OvláDACÍ panel zhasnul z dūvodu príliš vytoké teploty. Vnitřné teplota elektronických dlù je príliš vytoká. Počejte s dalíshím vařením, až se varná deska ochladi. C83 Na ovláDACÍM panelu se v dūsledku závady v elektronickém obvodu zobrázi chybový kód indikujćí vypnutí varné desky. Varná deska byla napájena nadměrnámnapětím. Varnou desku lze i nadále používat, zavolejte však do servisu. C85 Varná deska není schopna prěnášet energii do dna hrnce. Hrnec není vchodné pro indukčné varnou desku. Použijte jiný hrnec vchodné pro indukčné vařeni. F02, F04 nebo C84 Prípojení varné desky nená správné napěti nebo se objevil problém s prívodem elektrického proudu. Čidlo zjistilo jiné napětí, než je prípojavác napětí. Odpoje varnou desku od elektrické sítě a zkontrolujte prípojení. F01, F05, F06, F07, F10, F12, F25, F33, F34, F36, F37, F46, F47, F48, F49, F58, F61, F62, F63, F72, F74, F77 Odpoje varnou desku od elektrické sítě. Počejte několík sekund a znovu ji prípojte. Pokud problem prětrévá, zavolejte do servisu a sdělte zobrazený chybový kód.
HLUK ZAPNUTÉ VARNE DESKY
Za urc'tych okolosti, zavislach predevsim na pouzitem materialu a zpusobu pripravy jidla, mohou indukcni varne desky vydavat pri normalnim provozu zvuky nebo siftt vibrate, jak napriklad:
- praskány: zvuk je vyvolán vibracemi, které jsou vyväřeny na spojovacích plochach rozdilných vrstev material'u hrncu;
- zvuk klepání pri vařeni na nizšim až středním stipni vykonu: tento zvuk se objevtuje pri vařeni na nizšim až středním stipni vykonu;
- rtytmické klepáni: zvuk se objevuje pri vařeni na několika varnych zónach současně nebo pri vařeni na vyskoký vykonny stupné;
slabé syčení: sila tohoto zvuku závisi na použité nádobě a na množstvi vařeného jidla;
- zvuk ventilator: Indukcni deska je vybavena ventilatorem, ktery zajistue chlazenie elektronickych dlu. A proto,Pokud je varna deska zapnuta nebo také nekolik minut po jejim vypnuti, muzete slyset zvuk ventilatoru. Sila zvuku ventilatoru zavisia na poctu aktivovanych varnych zon.
Tento je věj e zéla normalí, ke správněmu provozu indukćni varné desky patri a neznačić zădný druh poruchy.
SERVIS
Než zavoláte do servisniho střediska
1. Ověrte si, zda nemužete vyřěsit problуlemу sami pomoci bodů popsanych v „Jak odstranit porchu".
2. Vypněte a znovu zapnéte spotřebič, abyste zjistili, zda porucha stale trva.
Jestlize porucha tvá i po provedeni výse uvedenych krokú, zavolejte do njblížsiho servisu.
Uvedte:
stručné popis poruchy;
typaprésnymodelspotrefbeic;
- servisni cislo (cislo za slovem Service na typovem stitku) umistene na spodni strane spotbrebcie (na kovové desticke).
svoji uplnou adresu;
sve telefonni cislo s predvolbou.
SERVICE

Jestlje je nutna oprava, obrte se na autorizovane servisni stredisko (ktere je zárukou pouziti originánlich nahrdnich dlu a spravné opravy). Nahrdní dily jsou k dispozici 10 let.
INSTRUCTIONS IMPORTANTE PRIVIND SIGURANTA
Aceste instruclioni sunt disponibile si pe site-ul web: www.hotpoint.eu
SIGURANTA DV. ŞI A CELORLALTE PEROANE ESTE FOARTE IMPORTÁ
Acest manual Şi aparatul sunt dotate cu mesaje importante referitoare la siguranță, care trebuie citite Şi respectate intotdeauna.

Acesta este simbolul de pericol, referitor la siguranță, care va averizeazaș despree riscurile potențiae pentru UTILIZATOR și pentru ceilalti.
Toate mesajele referitoare la siguranta vor fi precedate de simbolul de pericol 日 de urmatorii termeni:

PERICOL
Indica o situatie periculoasa care, dacn u este evitat, va cauza leziuni grave.

AVERTIZARE
Indica o situatie periculoasă care, dacă nu este evitata, ar putea cauza leziuni grave.
Toate mesajele referitoare la siguranta specifica pericolul potenla care se refera si arata cum se pot reduce riscurile de leziuni, pagube si electrocutare care pot fi cauzate de outilizare incorcta a aparatului. Respectati cu stricte urmatoarele instruanti:
- Folosiţi smusi de protectie cánd efectuati toate operatiunile de despachetare si instalare.
- Aparatul trebuie sã fie deconnectat de la rețeaua electrică inaînte de a efectua orice operție de instalare.
- Instalarea Şi进展情况area trebuie sā fié efectuate de câtre un tehnician calificat, in conformitate cu instruktiunile produçatorului Şi cu respectarea normelor locale in vigoare, referitoare la siguranță. Nu reparati Şi nu inlocuiș nicio piesă a aparatului, dacă acest lucru nu este indicat in mod expresîn manualul de Utilizare.
- Impamntarea aparatului este obligatorie.
- Cablul de alimentare trebuie să fie suficient de lung pentru a putea conecta aparatul la rețeaua electrică, după ce a fost incorporat în mobila.
- Pentru ca instalarea să fie conformă cu normeile de siguranță în vigoare, este besoinar un intrerupător omnipolar cu o distanță minimă de 3 mm în contacte.
- Nu utilizati prize multiple tau prelungitoare.
- Nu traje di cablul de alimentare al aparatului.
- Dupa terminarea instalarii, componentele electrice nu trebuie sa mai fie accesibile pentru utiliser.
- Aparatul este destinat in exclusivitate uzului casnic, pentru prepararea alimentelor. Orice alta/utilizare este interzisa (de ex. pentru incalzirea incaperilor). Producedurul nu-si asumnicio responsabilitate pentru folosirea improprie sau pentru reglarea incorrecta a butoanelor.
- Aparatul Şi partirile sale accesibile se pot infierbânta in timpul Utilizări. Aveşi grijă să nu atingeti elementele de incâlzire. Copii foarte mici (0-3 ani) Şi copii iii mici (3-8 ani) nu trebuie lasaşi să se aproprie de aparat, cu exceptia cazurilor in care sunt supravegheata in permanență.
- Copii ci värste pornind de la 8 ani Şi personale cu capacităti fizice, senzoriale sau mintale reduse sau fãră experientă Şi cunostinte pot folosi acest aparat doar dacă sunt supraveheate sau au fost instruite cu privire la Utilizarea in siguranță a aparatului Şi ințeleg riscurile implicate.
- In timpul folosirii.si dupa aceea, nu atingeti elementele de incalzire ale aparatului. Avezi grijca aparatul sa nu vina in contact cu carpe sau cu alte materiale inflamabile pana candid nu s-auracit suficient toate componentele.
- Nu puneti materiale inflamabile pe aparat sau in apropierea sa.
Grasimile si uleiurile supraincalzite se aprind uor. Supraveghei prepararealimentelor cu multa grasime si multulei.
- Nu puneti pe zonele de gătit obiecte metalice, de ex. ustensile de bucătărie (cuțite, furculiţe, linguri, capace etc.), deoarece se pot incălzi.
- Este obligatoriu să se instaleze un panou despártitor - care nu este furnizat in dotare - in compartmentul situat dedesubtul aparatului.
- Daca suprafata este fisurata, opriti aparatul, pentru a evita riscul de electrocutare (numai pentru aparate cu suprafata din sticla).
- Aparatul nu trebuie să fie pus în functiune prin intermediul unui temporizator extern sau printr-un sistem separat de comanda la distanță.
- Este periculos să se găteasca pe plita alimente cu grăsime sau ulei, nesupravegheate, deoarece se poate produc un incendiu. Nu incercați NICIODATA să stingeti un incendiu folosind apă: trebuie să opriți aparatulși apoi trebuie să acoperiti flacără, de exemplu cu un capac sau cu o pătura de incendiu.
Pericol de incendiu: nu depositaţi obiecte pe zonele de gătit.
- Nu utilizati aparate de curățat cu abur.
- Obiectele metalice, de ex. cuțite, furculiţe, linguri și capace etc., nu trebuie puse pe suprafăța plitei, deoarece se pot infierbânta.
- Dupăutilizare,oprìti elementele plitei de la comenzi Şi nu vă bazăti pe detectorul de oale (numai pentru aparate cu inductie).
RECOMANDÁRIPENTRU PROTECTIA MEDIULUI INCONJURÁTOR

Reciclarea ambalajului
Materialul de ambalaj este recicabil 100% si este marcat cu simbolul de reciclare (D). Diferitele parti ale ambalajului nu trebuie aruncate la intamplare, ci trebuie reciclate in conformitate du normele stabilite de autoritatile locale.
Aruncarea la gunoi a produsului
Simbolul de pe produs sau de pe documentaia care il insoeoste indicafaptul c'a est produs nu poate fi aruncat impreunacu deseurile menajere, ci trebuie predat la punctul de colectare corespunzator pentru reciclarea aparatelor elecrice si electronice.
Economisirea energiai
Pentru a obtine cele mai bune rezultate se recomanda urmatoarele:
Utilizi tigai sio ale cu diametrul bazei de dimensionali e Gale cu cele ale zonei de gatit.
Utilizi numai oale si tigai cu baza plata.
Cand gaiti, pe cat posibil, tinei oalele acoperite cu capacul.
Utilizand oala cu presiune se pot reduce si mai mult consumul de energia si durata de preparare.
- Pozitiona oala in milieuc zonei de gait desenate pe plita.
DECLARATIE DE CONFORMITATE (€
INAINTE DE UTILIZARE

IMPORTANT: dacă oalele nu sunt de dimensiunile corecte, zonele de gătit nu pornesc. Utilizati numai oale pe care se află simbolul „SISTEM CU INDUCTIE" (Figura de alături). Inainte de a porni plita, posizionati oala pe zona de gătit dorita. Chiar dacă se utilizeazeă oale adevate, zonele de gătit nu pot fi folosite la temperaturi sub 10^
RECIPIENTE DEJA EXISTENTE

Folosiun magnet pertua a verificacda baza oalei este adecvatapentru plita cu inductie: bazele oaleroi ale cratielor nu sunt adecvat da cau npot atrage magnetul.
- Verificazioni ca baza oalelor sa nu fe asprà, deoarece ar putea zgaria suprafata plitei. Controlati vasele.
- Nu puneti niciodata oalei sì tigāile calde pe suprafaţa panoului de comanda al plitei. Acesta s-ar putea deteriorora.
Inainte de a porni plita, amplasati oala pe zona de gatit dorita.
Pentru rezultate optime, diametrul bazei oalei trebuie sā se potriveasca cū dimensiunea plitei.
Diametru (cm) Max (cm) Min (cm) 14,5 14,5 10 18 18 12 21 21 15 24 24 15 26 26 17
Diametre (cm) Max (cm) Min (cm) 28 28 17 30 30 17 FLEXI /CONEXIUNE 39 - 18 12
Dimensiunea cristitei
Pentru a determina dimensiunea cratiiei, va rugam sa masa t biaza crati e (consulta imaginea) s sa consulta mai jos tabelul cu latimile recomandate pentru bazel cratielor, pentru outilizare optima si o stabilire corecta a dimensiunilor cratielor. Fiecare zona de gatit are o limita minima de detectare a cratielor, care variaaz in functie de materialul din care este realizata cratiu utilizesa. Prin urmare, trebuie sa utilizez zona de gatt care are diametrul cel mai potrivitpentru crati duimevaostra.

POZTIILE RECOMANDATE ALE OALELOR
Dacàutilizati doua oale simultan, asezati-le conform imaginilor de mai jos pentru a obtine performante maxime:




LABEL NIVELURI DE PUTERE
Nivelul de putere Tipul de preparare Utilizarea nivalului
(indicata poate fi modificata in functie de experientăși de obiceurile de a găti) Putere max. Boost Încălzire rapidă Ideală pentru a ridica rapid temperatura alimentelor, până la o fierbere rapidă, în cazul apei, sau pentru Încălzirea rapidă a lichidelor de la gătīt 9-7 Prăjire - fierbere Ideală pentru a rumeni, a incepe prepararea, a prăji produse congelate, a fierbe rapid Putere ridicată 7-5 Rumenire - preparare -Încăbșire - prăjire - frigere la grătar Ideală pentru a rumeni, a menține fierberea, a găti și a frige la grătar (pentru un interval scurt de temp, 5 - 10 minute) Rumenire - preparare -Încăbșire - prăjire - frigere la grătar Ideală pentru a rumeni, a menține fierberea lentă, a găti și a frige la grătar (pentru o durăță medie, 10 - 20 minute), pentru a preîncălzi accesorile Putere medie Preparare -Încăbșire - prăjire - frigere la grătar Ideală pentru a inâbși, a menține fierberea delicată, a găti și a frige la grătar (durăță lungă). 4-3 Preparare - clocotire - ingroșare - condimentarea pastelor făinoase Ideală pentru preparare cu durăță lungă de coacere (orez, sosuri, fripturi, pește) cu lichide (de ex. apă, vin, supă, lapte), condimentarea pastelor făinoase Ideală pentru preparare cu durăță lungă de coacere (volume mai mici de un litru: orez, sosuri, fripturi, pește) cu lichide (de ex. apă, vin, supă, lapte) Putere scăzută 2-1 Topire - decongelare - mentinere la cald - condimentarea pilafului Ideală pentru a inmuia untul, pentru a topi delicat ciocolata, pentru a decongela produse de mici dimensioni și a menține la cald alimentele după terminarea gătitului (de ex. sosuri, ghiveciuri, ciorbe) Ideală pentru a menține la cald mâncarea după terminarea gătitului, pentru a condimenta rizoto și a menține la cald platourile care vor fi servite la masă (cu un accesoriu adecvat pentru inducție) OFF (Oprit) Putere zero Suprațață de sprijin Plita în pozițe de stand-by sau oprită (este posibil că existe caldură reziduală la terminarea gătitului, semnalată cu H)
NOTÁ:
In czul preparatel or cu durata scurta de coacere, care necesit a distribuire perfecta caldurii (de exemplu claite), pe zona dubla cu diametrul de 28 cm (dac a exista) se recomanda sa se utilizeze recipiente care sa nu depaseasca 24 cm diametru. Pentru coacerea delicata (de exemplu topirea ciocolatei sa untului) se recomanda sa se utilizeze zonele simple, cu diametru mai mic.
INSTALAREA
Dupa c a t despachetat produsul, verificati dacau s-a deteriorar in timpl transportulsi, in caz de probleme, contacta vanzatorul sau Serviciul de Asistenca Clienti. Penta. Pentru dimensiunile necare pentru incorporare si pentru instructiunile de instalare, consultata imaginile de la pagina 2.
PREGATIREA MOBILEI PENTRU INCORPORARE

AVERTIZARE
- Installaţi un panou despărțitor sub plită.
- Partea inferioarà a produsului nu trebuie sá mai fie accesibila dupa instalare.
- In cazul instalarii unui cuptor sub plita, nu mai introduci panoul despärftor.

- Distanţa dintre parte a inferioară a aparatului și panoul despărțor trebuie să respecte dimensiunile indicate in figura.
- Pentru corecta fonctionare a produsului, nu blocaţi deschiderea minimă dentre suprafaţa de lucruși latura superioara a blatului mobilei (min.5 mm).
- In cazul instalarii unui captor sub plita, asigurati-va că acesta este prevazut cu sistem de răcire.
Evitati sia instalati plita deasupara masinii de spalase sau rufe, percenta circuitele electronice sa nu vina in contact cu vaporii si cu umiditatea si sa se deteriorioreze.
In cazul instalarii la nivelul blatului, contacta Serviciul de Asistenţa pentru a cere montarea kitului de szuruburi 4801 211 00112.
Pentru scoaterea plitei,utilizati o surbelnita (nu este furnizata) si actionati asupra arcurilor perimetrale din partea inferioar a produsului.
CONECTAREA LA RETEAUA DE ALIMENTARE CU ENERGIE ELECTRICA

AVERTISMENT
- Deconnectati aparatul de la reteaua electrica.
- Instalarea trebuie efectuata de personal calificat care cunoaste reglementarile in vigoare referitoare la instalare si siguranta.
Producatoru nu i s aumr rspunderea pntuvatamare corpale suferite de persone saunimale, respectiv pentru daunel asupra bunurilor, cauzate de nerespectarea indicaiilor din acest capitol.
Cablul de alimentare trebuie s fié suficient de lung pour a permite scoaterea plitei din blatul de lucru.
Asigura-va tensiunea indicata pe placuca cu date tehnice, situata la baza aparatului, corespunde cu tensiunea din locuinţa unde va fi instalat aparatul.


1. Scoatei capacul blocului de conexiuni (A) de suruband surubul si introduceti capacul in balamaua (B) a blocului de conexiuni.
2. Introduci cablul de alimentare in clema s conecta firele la blocul de conexiuni aca cum se indicacn schema de conexiuni situata langb blocul de conexiuni.
3. Fixa cablul de alimentare cu ajutorul clemente.
4. Inchideji capacul (C) si fixati-1 pe blocul de conexiuni insuruband surlubul scos anterior.
La ficare conectare la reea, plita efectueaz\* automat o verificare tamp de cateva secunde.


B

c

Conectarea la reteau de alimentare




INSTRUCTIONS DE UTILIZARE

Descrierea panoului de comanda
Panoul de comanda

Pornire/oprine

Acces rapid

Blocarea panoului de command
Gestionare putere/ Buton pentru functia Cronometrule/Blocare

Blocarea panoului de comand
Pornire/oprine
Comenzi pentru reglaarea zonei de gatiti a afisajului respectiv

Gestionaire putere/ Extraputere Poster/ Automat/Blocare.
Pornirea/oprirea plitei
Pentru a porni plita tinei apasata timp de aprox. 2 secunde tasta ① , pana cnd se lumineaz afisajele zonelr de gatit. Pentru a o opri, apasati pe aceeaistastpana cnd se sting afisajele. Toate zonele de gatit sunt dezactivate.
Dacplita a fost dejautilizata,indicatorulde calduradreziduala,H"ramane activ pana la racirea zonelor de gatit.
Dacă, in interval de 10 secunde după pornerea plitei, nu se seleţează nico functie, plita se dezactivează automat.

Positona oala pe zona de gát, porniì plita, activa zi zona de gát dorita apásánd pe butonul de comanda „+“ - valoarea „0“ se va afiça. Putezi selecţa nivalul de putere dorit, de la min. 0 la max. 9 sau la functia booster „P“, dacă este disponibla. Pentru a mari nivalul de putere, apasa zi pe butonul „+". Pentru a micṣora nivalul de putere, apasa zi pe butonul „-".
Dezactivarea zonelor de gatit
Pentru a dezactiva zona de gatit, apasati pe butoanele corespunzatoare 一 + 一 si 一 + 一 si meinteni apasat timp de 3 secunde.
Zona de gâtit se dezactiveaza sì, dacà este incà fierbinte, pe afiṣajul zonei après litera „H".
Blocarea panoului de comanda
Functia blocheaz comenizile pour a impiedica activare accidentala a plitei. Pentru a activa blocarea panoului de comanda, pornti plita si apasa trei secunde pe butonul corespunzator functiei Blocare; un seminal acustic si indicatorul luminos de langa simbolul sub forma de lacat indicac activare. Panoul de comanda est blocat, cu excepta functiei de oprire. Pentru a dezactiva blocarea comenzilor repetai procedura de activare. Punctuletul luminos se stinge, iar plita este din nou activa.
Prezena apei, lichidele revarsate din oale Sau obiectele de orice tip puse pe tasta de sub symbol pot provoca activarea saudezactivarea accidentala a blocari panoului de comanda.
Timerul (Temporizatorul)
Timerul poate fiutilizat pentru a seta durata de coacere, pentru un maximum de 99 minute (1 ors39 minute),pentru toate zonele de gait.
Alegeti zona de gait la care doriti sfoi ci cronometr, apasati pe cronometru (consultaigi); activare a functiei est indicata printr-un semnal acustic (consultaigi). Pe afaj se vede "00" , iar indicatorul led se aprinde. Se poate reduce sau mari valoarea pentru timer tinand apasate tastele ^ + ^ si 一 ^ ale glisorului. Dupca ce a trecut intervalul del temp setat, se emite un semnal acustic, iar zona de gait se opreste automat. Pentru a dezactiva timerul, tinei apasata tasta Timer cel putin 3 secunde.
Pentru a seta timerul pentru alte zona, repeataj punctele de mai sus. Afiajul timerului arata intotdeauna timerul pentru zona selectata sau timerul cel mai scurt.
Pentru a modifica sau a dezactiva timerul, apasa i pe butonul de selectare a zonei de gait pentru timerul respectiv.
Indicaţii ale panoului de comanda
Funcii speciale (daca exista)
Unele modele sunt dotate cu functii speciale:
Automatic function (Functia automata)
Funcia seteaz a automat un nivel de putere adevat poura a mentine temperatura minima necesara pourtu fierbere.Activa taceastafucie dupac ati dat in clocot mancarea, apasand mai intai pe tasta pertu zona respectiva si apoitpe tasta
Indicator de calduràrezidualà.
Plta est dotata cu un indicator al caldurii residuale pentru ficare zona de gatit. Acest indicator semnaleaz care sunt zonele de gatit care au inca o temperaturi ridicata.
Dacă pe afișaj aparé, zona de gătit șița mai este cală. Dacă zona prezintă această semnalare, se poate menține cală șiâncarea sau se poate topi until, de exemplu.
Cànd zona de gàtit se răcește, afișajul se stinge.
Indicator pentru oală așezata incorect sau pentru absentă oalei.

Dac a oala nu este compatibla cu plita dv. cu inductie, daca este incorcct positiionata sa dac na u este de dimensiunile adecvate, pe afaj apare indicatia "oalabenta" (figura de alatur). In aceste situa i se recomanda s repositionati oala pe suprafata plitei pana cnd gasi poziia de functiorare. Dac in interval de 60 secunde nu este detectata nico oala, plita se opreste.
Funcția fierbere rapida (functia Booster, dacă este disponibilită)
Funcia est prezenta doar la unele zone de gait si permiteexploatarea maxim a puterii pltei (de exemplu pentru a aduce rapid apa la punctul de fierbere).Pentru a activa functia, apasa t pe tasta " + " pana cand pe afisaj apare " P " .Dupa 5 minute deutilizare a functie Booster, aparatul seteaz automat zona la nivelul 9.
FLEXI/CONEXIUNE
Aceastafucie estedestinataoalelorde dimensiuni mari care nu se potrivesc pe zona simpla, de ex., peste, oalarepentru carne.
Pentru activa FLEXI / CONEXIUNE, vă rugam să apasați simulant butoanele + si-, după cum este indicat in imaginea de mai jos.

"Power management" (daca este disponibilitä)
Datorita functiei „Power management", utilizatorul are posibilitatea de a seta puterea maxima la care poate ajunge plita, in functie de exigentele sale.
Această reglare poate fi efectuata in orice moment si este mentinută până la modificarea succesiva.
Setand puterea maximà dorita, plita va regla automat repartizarea pe diferitele zone de gàtit, garantànd cã acest prag nu va fi depásit niciodata, cu avantajul de a putea controla allaote zonele simultan, dar fãră probleme de suprasarcinã.
4 niveluri de putere maxima sunt disponibile și apar pe afisaj: 2,5-4,0-6,0-7,2 kW (7,2 kW reprezinta puterea maxima a plitei)
In momentul cumpararii, plita este setata la puterea maxim.
Dupé ce connecti aparatul la priza electrica, este posibil sá setaṭi nivalul de putere dorit in primele 60 de secunde, urmānd paṣi de mai jos:
Pas Panou de comandã Afișaj 1 + Apăsăși aproximativ 3 secunde 2 Apăsăși pe butonul Gestionare putere pentru a confirmă pasul anterior Pe afișaj apare PL 3 - / + Apăsăși pentru a seta nivalul ale s reinte optiunile existente Se aprinde indicatorul luminos, impreună cu indicatoarele luminoase corespunțătoare zonelor de găt it utilizes 4 Apăsăși pe butonul Gestionare putere pentru a confirmă pasul anterior Pe afișaj apare nivalul setat, care clippește aproximativ 2 secunde, după care plita emite un semnal acustic, apoi se oprește; acum poate fi folosită
In cazul in care se produce o eroare in timpul setarii puteri, apare simbol in miloc, asociat cu un semnal acustic continuu, tamp de aproximativ 5 secunde. In acest caz, repeata procedura de configurare de la inceput. Daca eroarea se produce din nou, contacta Serviciul de Asistența.
In timpul utilizarii normale, cnd se atinge nivelul de putere maxima disponibil, dacuutilizatorul incearca sa-l marea, nivalul pentru zona utilata in mod curent clipeste de doua ori, emtand un semnal acustic.
Daca este necasar o putere superioara pe zona respectiva, trebuie sa reduc manual nivelul de putere pertu una sau mai multe zone de gatit dea active.
Activarea/dezactivarea semnalului acustic (nu este disponibila la versiunea cu glisor)
Dupa pornirea plitei, apasati s tinei apasat simulan butonul ^ + ^ si cel mai din drepta buton, minimum trei secunde (blocarea panoului de comanda'a).

- Nu folositi aparate de curatat cu jet de vapori.
- Inainte de a incepe operatiunile de curătre, asigurați-vă că zonele de gătit sunt oprite șiă indicatorul de caldură reziduală („H“) a disparut.
Dacă sticla poartă sigla iXelium™, plita dumneavoastră este dotata cu tehnologia iXelium™. iXelium™ reprizinta finisajul exclusiv al aparatelor Whirlpool, care garantazează curățare perfectăși strălucire de durăț. Prin urmare, dacă aveți o plita IXELIUM, va sugerămă respectați următoarele recomandări pentru curățare:
- Folosi t ovavetamole (de preferat din microfbr), umezitca apa sau cu detergent obisnuit pentru geamuri.
Dacdorit s imbunatati rezultatele de curatae, azezati o lavet a umeda pe suprafata din sticl a temp de cateva minute.
IMPORTANT: Nu folosi t bureti abrazivi sau de sarma. In timp,utilizarea lor poate duce la deteriorarea sticlei.
- După ficare/utilizare, curățați plita (după ce s-a răcî) pentru a'ințăture depunerileși petelea cauzate de resturile de mamcare.
Zaharul sau alimentete lecu un continut ridicat de zahruri detierea zla s trebuie sa fie indepartate imediat.
- Sarea, zaharul si nisipul pot zgaria suprafaa de sticl.
- Folosi t o capa moale, hartie absorbantă de bucatărie sau produse speciale pentru curățarea plitei (respectaţi instrucțiunile producătorului).
Varsarea lichidelor pe zonele de gatit poate face crati s sa vibreze sa se miste.
- Uscati bine plita dupa curata areaeia.
GHIDUL DE DETECTARE A DEFECTIUNILOR
Citiș urmati instrucțuniile din sectiunea „Instruijni de Utilizare".
- Controli sā nu fe intrerupta alimentarea cu electricitate.
- Uscatu bine suprafata plitei dupa ce ati curatat-o.
Daca, atunci candi porniti plita, pe afisaj apar coduri alfanumerice, procedati conform tabelului urmator.
- Dupä ce aṭi'utilizat plita, dacà nu reusiti s-o opriji, deconnectaṭi-o de la reteaua electrică.
COD DE EROARE DESCRIERE CAUZE POSIBILE ELIMINAREA ERORII C81, C82 Panoul de comandă se deactivaveță din cauza temperaturi prea ridicate Temperatura internă a pieselorelectronice este prea ridicată Aşteptași ca plita SSE se răceascăinainte de a o folosi din nou. C83 Pe panoul de comandă apare codulde eroare „plită oprită" din cauzaunei probleme la circuitul electronic Plita a fost alimentataă cu supratensiune Plita poate fi utilizatañncontinuare, dar luați legătura cuServiciul de Asistență Tehnică C85 Plita nu poate transfera energia larecipientul de gătit Oala nu este adecovătă pentru plita cu inductie Folosiți o altă oală pentru plita cu inductie F02 sau F04 sau C84 Tensiunea de conectare esteincorrectă sau există o problemă alimentarea de la rețea Senzorul detectează o discrepanță intretensiunea aparatului și tensiunea dinrețea Deconnectați plita de la rețea Şicontrolați conexiunea electrică F01, F05, F06, F07, F10, F12, F25, F33, F34,F36, F37, F46, F47, F48, F49, F58, F61, F62,F63, F72, F74, F77 Deconnectați plita de la rețeaua electrică.Aşteptași căva secunde, apoi reconectați-o.Dacă problema persistă, contactați Serviciul de Asistență Tehnică Şocomunicați codul deEROare
ZGOMOT GENERAT DE PLITA
Plitele cu inductie pot genera o series de zgomote s vibratai i n timul functionarii normale, in functie de tipul de material si modul de procesare a alimentenor, cum ar fi cele descrie mai jos:
Zgomot de contact: acest tip de vibraite se datoreaza utilizarii oalelor fabricate din diferite materiale suprapuse.
Sunete asemanatoare unor clicuri, la putere medie-sazută: acest sunet se produce cand se setează puterea sazută-medie dorita.
Sunete asemanatoare unor ticui intermitente: acest zgomot se produc la utilizarea mai multor zone de gatit si/sau la funzionarea cu randament ridicat.
- Suierat slab: acest zgomot este cauzat de tipul de recipient Utilizat si de cantitatea de alimente pe care o contine.
Zgomot de fond: plita cu inductie este echipata cu un ventilator care are rolul de a raci componentele electronic; din acest motiv, puteti auzi zgomotul produc de ventilator in timpul functionarii plitei, precum si timp de cateva minute dupa oprirea acesteia. Prin activarea unui numar mai mare/mai mic de zone de gatit, zgomotul de fond al ventilatorului se poate intensifica, respectiv atenua.
Aceste caractacteristici sunt normale si esentiale pentru fonctionarea corecta a systemului de inducţie si nu indica un defect Sau o deteriorare.
Inainte de a contacta Serviciul de Asistenta Tehnica:
1. Incercati sãrezolvati singuri problema, urmarind punctele descrie in, Ghidul de detectare a defeciunilor".
2. Opriti si porniti din nou aparatul pentru a verifica dacă problema s-a rezolvat.
Dacă problema persistăși după verificarile de mai sus, contactați cel mai apropriat Serviciu de Asistență.
Indiciati intotdeauna:
- o scurtă descriere a defeciunii;
- tipul si modelul exact al plitei;
numarul de Asistenta (este numarul care se afla dupa cuvantul „Service" de pe placuta cu datele tehnice), situat sub aparat (pe placuta metalica).
adresa dv.completa;
numarul dv. de telegram.
SERVICE 0000 000 00000

Daca sunt necesare orice fel de reparati, va rugam contacta un Centru de Asistența Tehnică autorizat (pentru a avea garantța ca se folosesc piese de schimb originale si ca reparatiile vor fi executate corect). Piesele de schimb sunt disponibile tamp de 10 ani.
ÖNEMLİ EMNIYET TALIMATLARI
Bu talimatlar web sitesinde yer almaktadir: www.hotpoint.eu GÜVENLIĞINIZ VE BASKALARING UGVENLIGI COK ÖNEMLIDIR.
Bu kilavuz ve cihazın Kendisi, önmli güvenlik mesajlari sunar. Bunlar okunmali ve her zaman gozetilmelidir.

Bu tehlike isaretidir; güvenlikle ilgilidir ve hem kullanıclar hem de/DDer kisiler icin potansiyel riskler konusunda uyarıcidir. Tum güvenlik mesajlarinda, tehlike sembolü ve Şu kelimeler yer alacaktır:

TEHLIKE

UYARI
Önlem alınmadı durumda ciddi yaralanmaya sebep olacak, tehlikeli bir durumu belirtir.
Önlem alınmadı durumda ciddi yaralanmaya sebep olabilecek, tehlikeli bir durumu belirtir.
Güvenlikle ilgili:tum mesajlar ilgili potansiyel riski belirtir ve cihazin hatali kullanimi nedeniyle yaralanma, zarar ve elektrik soku riskinin{nasil azaltilacagina dair bilgi verir. Sunlara uymaniz gerekir:
- Tüm ambalaj acma ve kurulum islemleri sirasinda koruyucu eldivenler kullanin.
- Herhangi bir kurulum islemine baslamadan once cihazin guc kaynagibaglintisi kesilmelidir.
- Kurulum ve bakim, uzman bir tekniyen tarafindan, üreticinin talimatlarina ve yürüliukteki yerel güvenlik Düzenlemelerine uygün olarakgerekleşirilmelidir. Kilavuzda Özellikle belirtilmediği sucrece bu cihazın herhangi bir parçasin onarmayin vyadehyistirmeyin.
-Cihazin topraklanmasi gereklidir.
- Elektrik kablosu, kabin icine monte edilen cihazin guç kaynagina baglanabilmesi icin yetleri uzunlukta olmaldir.
- KurulumunGPCERLI GUVENLIK DUZENLEMeleriyle uyumlu olmasi icin, kontak açıkligi minuim 3 mm olan uygun buyuklüke bir omnipolar anahtar gerekir.
- Coklu prizler veya uzatma kabolari kullanmayin.
-Cihazi elektrik kablosundan cekmeyin.
-Elektrikli parcalara kurulum sonrasinda kullanici tarafindan erisilmemelidir.
Cihaz, sadece ev icinde yemek piisirmek üzere tasarlanmistir. Baska bir kullanima (ornegin oda istma) izin verilmez. Uretici, urunun hatali kullanimi ya da kontrollerin yanlis ayarlanmasi icin her turlu sorumlulu reddeder.
-Cihaz ve erisilebilir parcalari kullanim sirasinda isinir. Isitici elamanlara dokunmamaya dikkat edilmelidir. Cocuklar (3-8 ya) ve daha kucik cocuklar (0-3 ya), surekli gozetim altinda tutulmadikları surece cihazdan uzak tutulmaldir.
8 Yaşindaki ve daha;buyüzçocuklar ve kılıtlı fiziksel, algınsal veya zihinsel kapasiteye sahip ya da deneyim ve bilgi eksikligi bulunan kılışer, bu cihazı ancak denetim altinda tutulurlarsa ya da cihazın guvenli kullanı konusunda Kendilerine gerekl talimatlar verilirse ve kendileri de soz konusu tehlikeleri anlarsa kullanabilir. Çocuklarin cihazla oynamaları izin verilmemelidir. Temizlik ve kullanıbakı gozetim altinda olmadan;cocuklar tarafindan yapilamaz.
- Cihazin isitma elemanlarina, kullaim sirasinda ve sonrasinda dokunmayin. Cihazin kiyafetlerle vya diger yanici maddelerle, bilesenler tamamen soğumadigün suture temas etmesine izin vermeyin.
- Yanici maddeleri cihazin üstüne veya yakınina koymayin.
- Asiri isitilmis yaglar ve hayvansal yaglar kolayca alev alabilir. Yag ve hayvansal yag açisindan zengin yiyecekleri pişirken dikkatli olun.
-Cihazin altindaki bölmeye, bir ayirici panel (cihazla birlikte verilmez) takilmaldir.
- Egér yüey Çatlarsa, elektrik Şoku sehlikesini ortadan kaldirmak yüzün capatın (sadece cam yüye sahip cihazlar icin).
-Cihaz,ayiri bir kontrl systemiyle ya da harici bir zamanlayiciyla calistirilmak uzere tasaranmamistr.
- Yaq kullanarak yapilan bir piirme islemi sirasinda ocaqin bagindan ayrlmak tehlikel olabilir ve bu durum yanginla sonuclanabilir. Bir yangin ASLA suyla sondurmeye calismayin. Bunun yerine once cihazi kapatin, sonra da alevi bir kapak ya da yangin battaniyesyle ortun.
- Yangin tehlikesi: pişirme yüzeklerinde herhangi bir ᵩya birakmayıniz.
- Buharl temizleme cihazlari kullanmayin.
- Bicak, catal, kasik ve kapak gibi isinabilecek metal objeler ocagün üzerinde birakilmamaldir.
- Kullanimdan sonra, ocaği kontrolünü kullanarak kapatin, bunun icin tava dedektörüne güvenmeyin (sadece indüksyonlu cihazlar icin).
Ambalajlarin atilmasi
Ambalaj malzemesi %100 geri donuturulebilirde ver geri donusum sembolu (2) taır. Ambalajin ceşitli parçaları cevreye atilmamali, ançak yerel)yönnetmeliklere uygun bicimde atilmaldir.
Elden Cikarma

Cihazin ya da cihazla birlakte gelen belgelerin uzerinde bulunan sembolu, bu urun evsel atiklarla ayni muameleye tabi tutulmamasi gerektigini ve mutlaka elektronik atiklarin geri donusum icin uygun bir toplama noktas goturulmesi gerektigini belirtir.
Enerji tasarrufu ipuclari
Optimum sonuclari elde etmek icin suntari onerilir:
Kullandiginz tencere v tavalarin alt genislikleri, pisirme bolgesine esit olsun.
Sadece diz tabanl tenceleri ve tavalari kullanin.
Mümkün olduğunda, tencere kapakları pişirme sirasinda kapal tutun.
Daha fazla enerji ve zaman tasarrufu yapmak icin bir basinl piisirici kullanin.
Tencereyi, ocak uzerinde isaretlenmis olan pisirme bolgesinin ortasina yerlestirin.
UYGUNLUK BEYANI C E
KULLANIMDAN ÖNCE

ONEMLI: Piirme bölgeleri, eiger tenceleri dogru boyutta deilse açilmaz. Sadee "INDUKSIYON SISTEMİ" sembolünü taşyan tenceleri kullann.
Tencereyi, ocağıçmadan.Once gerekli pişirme bolgesin üzerine yerlestirin.
Uygun tencereleri kullanarak, pisirme bölgeleri 10^ altı sicialiklarda kullanilamaz.
ESKI TENCERELER VE TAVALAR

Tencerenin induksiyonlu ocak icin uygun olup olmadigi n kontrl etmek icin bir miknatis kullanin. Eger miknatis tarafindan cekilirse, tavalar ve tencereler induksiyonlu ocakta kullanlabilir.
- Tencereliner alt kismilarin din üldogundan emin olun. Aksi halde ocak czilebilir. Tabaklari kontrol edin.
- Sicak tencereleri veya tavalari asla ocağın kontrol panel yüzeyin üzerine koymayin. Bu, yüzeye zarar verebilir.
ÖNERİLEN TENCERE ALT GENİŞLIKLERİ
Tencereyi, ocagacmadan once gerekli piirme bolgesin uzerine yerlestitir.
Pisirmeden iyi sonuclar almak icin, tencere tabanin capi, isiticiin boyutu ile ayni olmaldir.
Çap (mm) Maks (cm) Min (cm) 14,5 14,5 10 18 18 12 21 21 15 24 24 15 26 26 17
Çap (mm) Maks (cm) Min (cm) 28 28 17 30 30 17 FLEXI/CONNEXION 39 - 18 12
Tencere buyukligi
Tencerenin boyutunu belirlemek icin, tencerenin altini olcun (bkz. Resim) ve mukemel kullanim veogruto taca seci im asagidaki tablo da onerilen tencere alti genisliklerine bakin. Her pisirme bolgesinin bir minimum tencere algilama limiti vardir ve bu, kullanilan tencerenin malzemesine baglidir. Bu nedenle tencerenizin capina en uygun olan pisirme bolgesini kullanmaniz gerekir.

AEEY Yonetmeligine uygundur.
ÖNERİLERN TENCERE KONUMU
En iyi performans icin, iki tencereyi aynianda kullarirken bunları asagida gosterilen sekilde yerleştin:




GUC SEVIYESI TABLOSU
Güç seviyesi Pişirme Türü Seviye kullanı Maks. güçte Canlandir Hzlı istma Su veya Higginsınan pişirme siviları durumunda Higgins kaynatma icin yiyeceklerin sicalsigi,_hizla artirmak icin idealdir. 9-7 Küzartma - kaynatma Küzartma, pişirmeyeCLSAMA, donmuz ürünleri kizartma, Higgins kaynatma icin idealdir Yüksek Güç Küzartma - yavaş kizartma - kaynatma -izgara Yavaş kizartma,yüksek bir kaynama sicalsigi,_koruma, pişirme ve izgara (kisa sureli, 5-10dakika) icin idealdir 7-5 Küzartma - pişirme - kırlik atete pişirme -yavaş kizartma -izgara Yavaş kizartma,düşuk bir kaynama sicalsigi,_koruma, pişirme ve izgara (orta sureli, 10-20dakika), on istma icin idealdir Ortalamagüç Pişirme - kırlik atete pişirme -yavaş kizartma -izgara Kırlik atete pişirme,hafıçte kaynamayıkoruma, pişirme ve izgara(uzun sureli) icin idealdir. 4-3 Pişirme - yavaş kaynatma - kalın-lasırmı - makarna hazırlama Sıvı (örneğin su, Şarap, yüz, et suyu) kullanıralak yapilan uzun sureli pişirmeler (pilav, soslar,rostolar, balık), makarna hazırlama icin idealdir. Sıvı (örneğin su, Şarap, yüz, et suyu) kullanıralak yapilan uzun sureli pişirmeler (bir litretenaz hacimler: pilav, soslar, rostolar, balık) icin idealdir. Düşuk Güç 2-1 Eritme - buz_;özme -yiyecekleri sicals tutma - rizotto hazırlama Tereyağluyumuşatma,;cikolata eritme,küçuk ürünlerin buzunu_;özme ve yeti pişmişiyeceklere (örneğin soslar,_;corbalar) icakin tutmak. Yeni pişmişi yiyecekleri icin tutmak, rizotto hazirlamak ve tabakları icin sekilde sunmak (indüksiyonlu ocalkar icin uygun akesuarlında), KAPALI Srifir Güç Destekleyici yüsey Oçak beklememodunda veya kapalıkdir(olası pişirme sonunda kalan sicalsık, "H"ilebelirlir)
NOT:
28 cm gift piirme bolgesinde (eger varsa) mukemmlisi daqtimi gerektiren hizli pisen yemekler yaparken (mesela krep), capi 24 cm'den buyuk olmayan tavalar kullanin. Hassas piirmeler icin (ornegin cikolata veya tereyaqi eritme), daha kucuk capl tekli bilmeler kullanin.
KURULUM
Uunu ambalajindan gkardktan sonra, nakliye sirasinda herhangi bir hasar meydana gelmis mi konrol edin. Herhangi bir sorun durumunda, saticinizla vya Satis Sonrasi Servisle iletisim kurun. Yerlesik boylutlar ve kurulum talimatlari icin, 2. Sayfadaki resilmere bakin.
KABININ MONTAJ IÇN HAZIRLANMASI

UYARI
Ocagin alteina bir ayirici panel takin.
- Ürünün alt kismina montaj sonrasinda erisilebilmelir.
Eger alt kismda bir firin varsa,ayirici panel takmayin.


Cihazin alk kismi ile ayirici panel arasindaki mesafe belirlenirken, sekilde verilen boyutlara uyulmaldir.
- Ürünün.Doğru bir sekilde calşmasini saglam icin, ocak ile üntenin ist kismi arasinda minimum gerekli mesafe engellenmemelidir (min. 5 mm).
Eger bir tezgah alti firin varsa, firnin bir soogutma sistemine sahip oldugundan emin olun.
Elektronik devrelerin buhar veya nemle temas etmemesi icin ocaig bir bulasik makinesinin veya camaqr makinesinin uzerine kurmayin, aksi halde buhar veya nem cihaza zarar verebiril.
Ocagi sikmek icin, bir tornavida kullanarak (birlikte verilmez) cihazin alt kismindaki cevre klipslerini kaldirn.
ELEKTRIK BAGLANTISI
! UYARI
-Cihazin guc kaynagibaglantisin kesin.
- Kurulum, geçerli güvenlik ve kurulum dizenlemelerini bilen vasfli personal tarafindanGPCklestirilmelidir.
- Üretici, bu böümude sunulan duzenlemelere uyulmamasindan kaynaklanan maddi zararlar ya da bu nedenle
insanlarin veya hayvanlarin yaralanmasi durumunda hiçbir sorumluluk kabul etmez.
- Elektrik kablosu, ocagün tezgahtan kaldirilmasona izin verecek kadar uzun olmalidir.
- Cihazin alt kismindaki veri plakasinda belirtilen gerilimin, evdeki gerilim ile ayni oldugundan emin olun.


1. Vidayi sikerek terminal kapağın (A) cikarin ve kapağ, terminalin menteseine (B) takin.
2. Kabloyu kelepceye takin ve kabolari terminalin yaninda yer alan kablo semasindo gosterildigi gibi terminal bloguna baglayin.
3. Elektrik kablosunu bir kablo kelepcesi ile sabitleyin.
4. Kapaği (C) kapatı ve terminal üzerindeki vidayı, seksartlan vida ile vidalayın.
Sebekeye yapilan her baglanti icin ocak bir kac saniye otomatik kontrolgerekleştrir.



C

Ana guc baglantisi




Kumanda Panosu Açıklamasi
Kumanda panosu

Ocagi ACMA/KAPATMA
Ocagacmak icin, piirme bolgesi ekran yanana kadar duigmesine 2 saniye basili tutun. Kapatmak icin, ekran kapanana kadar ayni duigmeye basin. Tum piirme bologleri devre di si birakilir.
Eger ocak kullanimda ise, artik isi gostergesi "H", piirme bollygereri soguyana kadar yanar.
Eger agildiktan sonraki 10 saniye icinde hicbir fonksiyonu secilmezse, ocak otomatik okayak kapatilir.
Pisirme bolumerinin acilmasi ve ayarlanmasi

Tavayi piirme bolgesine yerlesterin, ocaigacn, karsikgelen" ^+ dugmesine basarak gerekli piirme bolgesini aktiflestrin, ekranda 0'' ckar. Gerekli guc seviyesini 0-9 araliginda secebilirsiniz ya da eger varsa canlandiriciP"secomini yapabilirsiniz.Guc seviyesini artirmak icin" ^+ dugmesine basin. Guc seviyesini azaltmak icin "duqmesine basin.
Pisirme bölgesinin devre disi birakilmasi
Pisirme bolgesini kapatmak icin, karsilk gelen " ^+ ve" - dugmesine 3 saniyeden uzun basili tutun.
Pisirme bolgesi kapanir ve eger halen soguksa bolgenin ekraninda "H"ibaresi ickar.
Kumanda paneli kilidi
Bu fonksiyon, ocagin kazara etkinlestirilmesini onlemek icin kontrlleri kiliter. Kontrol paneli kilidini etkinlestirmek icin ocaqi acn ve Kilit fonksiyonun duigmesine ic saniye basili tutun; sesli bir sinyal duyulur ve kilit sembolunun yaninda bir goste ger yanarak sinyalin etkinlestirildigi belirtir. Kontrol paneli, kapatma fonki-yonu har olmak uzere kilitlenir. Kontrol kilidini devre di birakmak icin, etkinlestirme prosedurunu tekarlayin. Yanan nokta soner ve ocak tekrar etkinlestirilir. Su olmasi durumunda, tavalardan dokulenu vya sembolum altindaki duigmenin uzerinde bulunan nesneler, kontrol paneli kilidini kazara etkinlestirebilir veya devre di birakabilir.
Zamanlayici
Zamanlayi, en fazla 99 dakka (1 saat 39 dakka) olmak üzere timum piirme bolgesleri icin piirme suresini ayarlamak icin kullanilir. Zamanlayi ile kulanlacak piirme bolgesini segin, zamanlayici dugmesine basin (bkz. Sekil); fonksiyunon seildigi bilirten bir sinyal sesi duyulur. Ekranda "00" ckar ve LED gostergesi yanar. Zamanlayici degeri, kaydirma fonksiyonu ile birlikte "+"ve-"dugmelerine basilarak arttilabir vya azalttilabir. Ayarlanan sure doldugunda, bir sesli uyari verilir ve piirme bolgesi otomatik okayapanir. Zamanlayici devre di si birakmak icin, Zamanlayici dugmesine en az 3 saniye boyunca basili tutun.
Zamanlayiciyi baska bir bolge icin ayarlamak icin, yukaridaki adimlari tekrarlayin. Zamanlayici ekrani her zaman secil bolge icin zamanlayiciyi veya en kisa zamanlayiciyi goruntuler.
Zamanlayiciy deve dis birakmak icin, ilgili zamanlayici icin pisirme bolgesi sejm dugmesine basn.
Kumanda paneli uyarilari
Özel İslévler (eşer varsa)
Bazi modellerde özel ilelevler bulunur:
Otomatik islev
Bu fonksiyon, bir kisk ateste kaynatmayi korumak icin uygun bir guc seviyesini otomatik olarak ayarlar. Kaynama noktasina gelindiginde, once ilgili bolgenin duğmesine sonra da duğmesine basarak bu fonksiyonu etkinleşirin.
Kalanisi gostergesi

Ocak, her bir piirme bolgesi icin bir artik isgostergesiyde donatilmstir. Bu gostergeler, piirme bolgeriler halen sicaks kullaniciy uyarr.
Eger ekranda görüntüleniyorsa, pişirme bölgesi halen sicut demektir. Eger bir pişirme bölgésinin artic isi goftergesi yaniorsa, bu bolge mesela bir tabagı sicut tutmak ya da tereyağı eritmekkın kullanilabilir.
Pisirme bolgesi sogodugunda, gostege soner.
Hatali tencere veya tencere yok goftergesi

Eger uygun olmayan, yanlis yerlesterilmis ya da induksyonlu oaginiz icin dokr boyutta olmayan bir tencere kullansaniz, ekranda "no pot" (tencere yok) mesaji cikar (bkz. yandaki resim). Bu durumlarda, calisma icin uygun pozisyonu bulana kadar tencereyi ocak yüezyi uzerine yeniden yerlestirmeniz onerilir. Eger tencere 60 saniye icinde algilanmazsa, ocakapanir.
Hizli kaynama fonksiyonu (eger varsa Canlandirici)
Bu fonksiyon sadece beiliri piirme bolligerinde bulunur ve ocagin maksimum gucunun kullanilmasini saglar (ornegin suyu hizla kaynama noktasina kadar isitmak icin). Bu fonksiyonunu etkinlestirmek icin, ekranda "P" qikana kadar "+"duqmesine basl tutun. Canlandirma fonksiyonunun kullanilmasindan 5 dakika sonra, cihaz bolgyei otomatik olarak 9. seviyege getirir.
FLEXI
Bu fonksiyon tek bir bölgen yeterli olmadiğ mesela balık, et tenceresi gibi buyuk tencerele durumunda kullanilir. FLEXI/CONNNECTION ZONE özelligiin etkinlestirmek icin, resimde gosterildigi gibi + ve -duğmelerine aynianda basin.

"Güç yönetimi" (Fonksiyon varsa)
"Güç yönetimi" fonksiyonu saysinde, kullanı gerektgünde ocağı maksimum güçüne ayarlayabilir.
Ayar istendişi zaman etkinleştileril ve bir sonraki degijsklige kadar korunabilir.
Gerekl maksimum guc ayarlandiginda, ocak cesisli piirme bollgerindeki dagtim otomatik olarak ayarlar ve bu limitin asla asilmamasini saglar. Bunun avantaji, asiri yuklenme sorumlari yaamadan tum bollgereri aynianda yonetebilmektir.
4 maksimum guç seviyesi vindir ve unlar ekranda söyle gosterilir: 2.5 - 4.0 - 6.0 - 7.2 kW (7.2 kW maksimum guç saylir)
Satin alma sirasinda, oak maksimum guce ayarlanmistir
Cihaz fisini elektrik prizine taktiginizda, ilk 60 saniyede gerekli guc seviyesini seksilde ayarlayabilirsiniz.
Adım Kumanda panosu Ekran 1 + Güç)yönetimDMIğmesiylebirlikte yaklassik3saniye basili tutun(adım1) 2 Güç)yönetimDMIğmesinebasarak(adım2)ocenekadişi onaylayin Ekrandaşugöruntüliner! 3 - / + Seçeneklerarasindan seviye.Sectionimi yapın Pişirme bölgleri icin kullanımışıklarylabirlikte,isıkyanar 4 Güç)yönetimDMIğmesinebasarak(adım4)ocenekadişi onaylayin Ekran,ayarlanasanseviyigiösterir vegüsterim yaklassik2saniye boyunca yanip sönner.Bundan sonra ocak sesli bir sinalyvererek kendisini kapatir ve böylece artık kullanımahir olur.
Guc ayari yapilirken bir hata olmasi durumunda, orta kisimda e sembolu gurunir yaklaik 5aniye boyunca bir sesli uyari duyulr. Bu durumda konfigura-syon prosedurin en bastan tekrarlayin. Eger hata tekrarlanirsa, Satis Sonrasi Hizmetiyle itenisime gecin.
Normal kullanimda, eger kullanici maksimum guc seviyesine erisildikten sonra guc seviyesini artirmaya kalkarsa, bolgenin kullanimdaki seviyesi iki kez yanar ve sesli bir sinyal duyulur.
Bu bolgeda huiyuksek bir ayar elde etmek icin, aktif olan piirme bollgelerinden bir veya ikisin guc seviyesini manuel olarak azaltmaniz gerekir.
Sesli sinyalin etkinlestirilmesi/devre dişi birakilmasi
Ocag iactkntan sonra, ^ 喜 + ^ 喜 duigmesine ve saq tarafta en di sta bulunan duigmeye ("kumanda paneli kilidi") ayni and an az ic saniye boyunca basili tutun.

TEMIZLIK

UYARI
Buharl temizleme cihazlan kullanmayin.
- Temizlemeden once, pişirme böglerinin kapatildigiendan ve artik isi gõstergesinin ("H" görtünlendiiginden emin olun.
ÖNEMLI: Asindirici süngler veya ovma sünglerleri kullanmayin. Bunlar kullanilirsa cam zarar börebilir.
Her kullanim sonrasinda, ocaigi (soguduktan sonra) temizleyin ve yemek artikarini ve lekeleri cikarin.
- Seker veya yüksek seker iceriğine sahip yiyecekler ocağa zarar verebilir ve bu yüzden bunlar hemen temizlenmelidir.
Tuz, sekere kum,cam yizeyi cizebilir.
Yumusak bir bez, emici kagit havlu veya ozel bir ocak temizleyici kullanin (Ureticinin talimatlari uygulayin).
- Piisirme bolgesine sivi dokulmeleri, tencerelerin titresmesine veya hareket etmesine neden olabilir.
SORUN GIDERME KILAVUZU
"Kullanim talimatlari' bolumunde verilen talimatlari okuyun ve bunlara uyun.
Elektrik beslemesinin kapali olmadigi ini kontrol edin.
Temizledikten sonra ocagi tamamen kurulayin.
Eger ocak aikken ekranda alfanumerik kodlar ckarsa, talimatlar icin asagidaki tabloya basvurun.
Eger ocak kullanim sonrasinda kapatilamiyorsa, gic baglantisini kesin.
HATA KODU AÇİKLAMA OLASI NEDENLERİ HATA GIDERME C81,C82 Kumanda paneli aşkı yükekatica-lıklar nedeniyle kapaniyor Elektronik parçaların icaticakıç崇高 yükek Oçakı tekrar kullanmadan olce tamamen soğuması bekleyin. C83 Kumanda panelinde oçakı n elektronik devredeki bir sorun:yüzundenkapalı olduğunu belirten hata koduaticayor Pişirme:yüzeyine aşkı gerilim besle-mesi olmʊş Pişirme:yüzeyi halen kullanilabilir�建ak Satı Sonrasi Servisi arayın C85 Oçak tencereye yüz veremiyor Tencere indüsiyonlu oçak ileçinyung雎il Başa bir indüsiyonlu tencere kullanın F02 vya F04 vya C84 Bağlantı gerilimi yanlıysa da yüz beslemesinde sorun var Sensör, cihazın gerilimi ile Schwebeke ger-ilimiarasinda bir tutarsizlik algilyor Oçakı Schwebeke böglantmiş kestin ve elektrik böglantmiş kontrl edin F01,F05,F06,F07,F10,F12,F25,F33,F34,F36,F37,F46,F47,F48,F49,F58,F61,F62,F63,F72,F74,F77 Oçakı yüzicanı baslantmiş kestin.Birkı saniye bekledikten sonra tekrar ileçn.Eşer sorun devam ederse,Satı Sonrasi Servisi arayın ve hata kodunu belirtin
OCAKTAN GELEN SESLER
Induksiyonlu piirme yuzeyleri normal calisma sirasinda bira gurultuye ve titresime neden olabilir. Bu, asagida aciklandigi uzere malzeme turiune ve yiyecegin yapisina baglhdir.
Gürültülü temas: Bu Tür titreşimin sebei, farkl malzemelerden yapilmş tencereleerin üst üste kullanilmasadir.
Orta-dusuk gucte klik sesi gelayor: Bu ses, gerekli dusuk-orta guce ulasmak icin uretilir.
Ritmik klik gibis: Bu ses, birkac piirme ve/veya yuksek performans alanl calisirken uretilir.
Kisik tslama sesi: Bu sesin sebebii kullanlan kabin turü ve bu kabin icindeki yiyecek mktardir.
- Arka plan gürültüssü: Indüksiyonlu pişirici, elektronik bileşenlerin bogutulmasini amaçlayan bir fana sahiptir ve bu nedenle calisma sirasinda ve ocak kapatildiktan sonraki bircak dakikada fan sesi duyulur. Etkinleşirilen pişirme bölgelerin seviyelerin artrin / azaltin. Fanin arka plan gürültüssü azalabilir veya artabilir.
Bu kosullar normaldir, induksiyonlu sistem calismasi icin gereklidir ve herhangi bir aniza ya da hasar anlamina gelmezler.
SATIŞ SONRASI SERVISİ
Satis Sonrasi Servis ile iletisime geçmedenòn:
1. "Sorun giderme kilavuzunu" kullanarak sorunu kendiniz czebiliyor musunuz bakir.
2. Cihazi kapatip acin ve sorun ortadan kalkti mi kontrol edin.
Eger yukaridaki kontrollerden sonra da sorun devam ederse, en yakin Satis Sonrasi Servis ileitetim kurun.
Sunlari her zaman belirtin:
sorunun kisa bir aciklamasi;
urun turi ve tam model numarasi;
Servis numarasi (anma plakasinda Servis kelimesinden sonra gelen numara), cihazin altanda (metal placka uzerinde) yer alir.
tam adresiniz;
- Telefon numaraniz.
SERVISLER

Eger herhangi bir tamire ihtiya duyarsaniz, orjinal yedek parcalarin kullanlmasini ve dogru tamirin yapilmasini garanti alta almak icin, bir yetkili Satis Sonrasi Servis Merkezini arayin. Yedek parcalarin tedavulde bulundurulma suresi 10 yildir.
Indesit Company S.P.A.
Viale Aristide Merloni,47
60044 Fabriano (AN)
www.hotpoint.co.uk
19513644101
FLEXI/ZONA DE CONEXION
Estamerican. Para activar el FELEXI /ZONA DE CONEXION, pulse los botones +y - de forma simultanea, tal como se muestra en el paciente dibuju. "Power management" (si está disponible)
Gracias a la configuración "Power management" el usuario tiene la posibidencia deaabstaringpotenciamaximadeplacsegunsnecidas. Esta regulación se pueda efectuar en cualquier momento y se mantiene hasta la modificación suiviente. Unas zajustada la potencia maxima deseada, la placar regulara automatcamente la distribuccion en las distinas zonas de coccion sin superar el umbral establecido, con la ventaja de poder gestionar incluso todas las zonas simultaneamente, sin problemas de sobrecarga. Están disponible 4 niveles de potencia que se muestran en la pantalla: 2,5 - 4,0 - 6,0 - 7,2kW (7,2 kW se considera la maxima potencia de la placá de coccción) La planta se suministra ajustada en el valor más alto. Despues de enchufar el aparato a la toma eletrica, durante los primeros 60 segundos es possible ajustar el nivel de potencia requireedoro siguiendo las instruetiones siguientes:| Paso | Panel de mandos | Pantalla |
| 1 | + Pulse duranteapproximadamente 3segundos | |
| 2 | La pantalla muestra | |
| 3 | / + Pulse paraaabstaringel nivelflegido entre lasdifferentesopciones disponibles | La luz se enciende junto con laslucres de laszonas de cocción individuales que estanencendidas. |
| 4 | + Pulse el botón de gestiónde potencia para confirmarel paso anterior | La pantalla muestra el nivelaabstado,queparpadea duranteapproximadamente2segundos. Transcurrido este tiempo,la placemite una seals acústica y se apagautomàtically,indicando que está listapara su uso. |
Activación/desactivación de la seals acústica (no disponible en la version con deslizarder)
Despues de encender la plac, mantenga pulsado el boton ^ + ^ y el boton situado mas a la derecha simultaneamente durante al menos tres segundos ("bloqueo del panel de mandos").  Noutilizarunca limpiadorasdevapor. - Antes de limpiar la plac, asegurar de que las zonas de cocci y el indicator de calor residual ("H") estén apagados. Si el cristal tiene el logotipo iXeliumTM significa que su plac a hado tratada con iXeliumTM . iXeliumTM es el acabado exclusivo de Whirlpool que garantiza una limpieza perfecta y un brillo duradero. Por tanto, si Tiene una plac IXLIM, le recomendamos encarecidamente que cumpla las siguientes recomendaciones de limpieza: - Utilice un trapo suave (lo mejor es la microfibia) humedecido con agua o con un limpiacristalescomings. - Si desea melhorar el的结果ado de la limpieza,cke el cristal en contacto con un paño humedo durante un par de instantos.IMPORTANTE: No utilise abrasivos, esponjas ni estropajos. Su uso podrá estropear el cristal.
- Después de cada uso, limpie la plac (cuando esté fria) para eliminar los restos incrustados y las manchas de comida. El azucar o los alimentos con un alto contenido de azúcar podrán dar a la plac, por lo que deben retirarse inmediamente. La sal, el azucar y la arena podrian rayar la superficie de cristal. - Utilice un paño suave, papel absorbente de cucina o un limpiador especialico para placas (según las indicaciones del fabricante). El derramimiento de liquido en la zona de cocción puede hacer que las sartenes vibren o se muevan. Seque Completely la placas despues de limpiarla.GUIA PARA LA SOLUCION DE PROBLEMAS
Leer y seguir las instruetiones de la seccion "Instruetiones de uso". - Comprobar que no haya interruptions de suministro de corriente electrica. - Secar bien la superficie de la placatauponéslimpiarla. - Si al encender la placen a la planta se visualiza un numero alfanumérico, seguir las instruetiones de la tabla. - Después de utiliser la placac de cocación, si no es posible pagarla, desconectarla de la red electrica.| CÓDIGO DE ERROR | DESCRIPICón | CAUSAS POSIBLES | ELIMINACION DEL ERROR |
| C81, C82 | El panel de mandos se apaga porque la temperatura es excessiva. | La temperatura interior de los circuitos electrónicos es excessiva. | Espere a que la placía se enfríe antes de volver a utilisera. |
| C83 | El panel de mandos indica el número de error "hob off" (placa apagada) debido a un problema en el circuito electrónico. | La placía ha recibido un excesso de voltaje. | La placía se pueda seguir realizando, pero llame al Servicio de Asistencia Técnica. |
| C85 | La placía no suministra calor al recipientente. | El recipientente no es adecuado para la placía de inducción. | Utilice(other recipientente adecuado para inducción. |
| F02 o F04 o C84 | El voltaje de conexión es incorrecto o problema relativo a la red electrónica. | El sensor detecta un voltaje incompatible con el de conexión. | Desconecte la placía de la red de suministro electrico y controle la红线 conexión. |
| F01, F05, F06, F07, F10, F12, F25, F33, F34, F36, F37, F46, F47, F48, F49, F58, F61, F62, F63, F72, F74, F77 | Desconnecte la placía de la red electrónica.Espereanosometimesy一回事a conectarla.Si el problema continúa, llame al Servicio de Asistencia Técnica e indique el número de error. | ||
RUIDO GENERADO POR LA PLACA DE COCCION
Las placas de induccion poden produir una series de ruidos y vibraciones durante su normal functiacion, en funcion del tipo de material y de como se procesan los alimentos, como los que se describen a continuacion: Ruido de contacto: este tipo de vibracion se debe al uso de recipientes revestidos de distinctos materiales. - Sonido de hacer a nivele de potencia medio/bajo: este ruido se produce para encontrar el nivel de potencia medio/bajorequiredo. - Sonido tipo clic rítimo: este ruido se produce cuando se ponen en funciona bajo varias zonas de coccción y/o la placña para un alto rendimiento. Ruido de silbido: este ruido depende del tipo de recipiente utilisé y la calidad de comida que contiene. Ruido de fondo: la placac de inducion esta equipada con un ventilador destinado a enfiar los componentes electronicos; esta es la razon por la que se oye el ruido del ventilador durante el functionamento y también durante uno minuto after des ques del apagado de la plac. El ruido de fond del ventilador puee augmentar o disminuir conforme aume o disminuya el numero de zonas de coccion activadas. Estas situaciones son normales e imprescindibles para el correcto functiOnamento del systema de induccion; no indican daños ni anomalias.Antes de Ilamar al Servicio de Asistencia Técnica
1. Intentar resolver el problema consultando el apartado "Guía para la solución de problemas". 2. Apagar y volver a encender el aparato para comprobar si se haSolutionado el problema.Si el fallo persiste, contactar con el Servicio de Asistencia más cercano.
Indicar: - una breve descripción del problema; el tipo de placay elmodelo exactos; el número de asistencia (que sigue a la palabra Service en la plaza de identificacion), situado bajo del aparato (en la plaza metálica). su direccion completa; - su numero de téléphone.SERVICE
 Si fuera necessaria una reparacion, dirigirse a un Centro de Asistencia Tectnica autorizzato (que garantiza la Utilizacion de piezas de recambio originales y una correcta reparacion). Las piezas de recambio estan disponibles por 10 años.INSTRUÇÉS DE SEGURANÇA IMPORTANTES
Estas instruções está也是非常(disponível) no website: www.hotpoint.euA SUA SEGURANÇA E A DE TERCEIROs É Muito IMPORTANTE
Este manuale e o proprioio aparelho possuem mensagens importantes relativas à segurar, que deve ler e respeitar sempre.  Este é o símbolo de perigo, relativo à segurar, que alerta para potecções ricos para o operador ou para terreiros. Todas as mensagens relativas à segurarça são precedidas do símbolo de perigo e dos termos seguintes: PERIGO
Indica uma situacao perigosa que, se nao for evitada, provoca lesoes graves. AVISO
Indica uma situacao perigosa que, se não for evitada, pode provocar lesões graves. Todas as mensagens relativas à segurarça especialcim o potencial perigo a que se referem e indicam a forma de reduzir o risco de lesões, danos e choques electrolycicos provenrientes de uma utilização Incorrecta do aparelho. Tenha em atençao as instruções segunte: - Utilize luvas de proteção para realizar todas as operações de desembalagem e instalação. - Deve desligar o aparelho da rede eletrica antes de efectuar qualquer intervencao de instalacao. - A instalação e a manutenção devem ser efectuadas por um专业技术 especializzato, deordo com as instruções do fabricante e respeitando as normas locais em vigor em materia de segurança. Não reparou nem substitua nenhuma coisa do aparecido a não ser que especificamente indicado no manual de utilização. A ligação do aparecido à terra é obligatória. - O cabo de alimentação deverá ter um comprimento suficiente para permitir a ligação do aparheiro, encastrado no móvil, à rede elétrica. - Para que a instalação está em conformidade com as normas de segurarça actuais,deer éutilizar um disjuntor multipolar com uma distência minima entre os contactos de 3mm - Não utilize tomasas multiplas nem extensoes. - Não puxe o cabo de alimentação do aparecido. - Após a instalação do aparelho, os componentes electricos devem estar inaccessíveis ao utiliser. - O aparecido destiná-se apenas a uso dométrico para a cozedura de alimentos. Estão proibidos outros temas de utilizesação (por ex.: aquecer divisões). O fabricante declina toda e qualquer responsabilité por uma utilização inadequada ou por uma regulação errada dos comandos. - O aparelho e os componentes acessíveis ficam quentes durante o funciona. Seja cuidadoso e evite tocar nos elementos de aquecimento. Bébés e crijanças entre os 0 e os 8 anos de idade, devem ser mantidos afastados excepto se forem constantemente vigiados. - Este aparecido pode ser realizado por crianças a partir dos 8 anos e por pessoas com capacidades físicas, sensoriais ou mentalais reduzidas ou com falta de experiencia e conheçimento, se tiverem supervisão ou instruções relativamente ao uso deste aparecido de uma forma segura e se comprehenderem os perigos envolvidos. - Durante e après a utilizesação, não toque nas resistências do aparecido. Evite o contacto com panos ou outros materiais inflamáveis até que todos os componentes do aparecido arrefecam suficientemente. - Não coloque materiais inflamáveis no aparecido ou perto dele. - As gorduras e oleos aquecidos incendeiam-se fácilmente. Vigie a cozedura dos alimentos ricos em gordura e oleo. - Não coloque na zona de cozedura objectos metalicos, como utensílos de cozinha (facas, garfos, colheres, tampas, etc.),.POIS PODER FICAR quentes. - É obligatório a instalação de um painei de separação, não fornecido com o equipamento, no compartmento por boa do aparelho. - Se a superficie partir, deslue o aparelho para evitar a correncia de eventuais choques elcctricos (apenas para aparelhos com superficie em vidro). - O aparecido não de ser activado atraves de um temporizador externo ou de umsystema de commando à distênciaeparado. - A cozedura com gordura ou oleo numa plac sem vigilência é perigosa e pode resultar em incânvio. NUNCA tente apagar um incânvio com água; deslque o aparecido e tape a chama com uma tampa ou um cobertor anti-fogo. Perigo de incânvio: não guarde objectos nas superfícies de cozedura. - Não utilizeiros de limpeza a vapor. - Não coloque objectos metalicos tais como facas, garfos, colheres e tampas sobre a superficie da placá quando possa fazer quentes. - Após a utilizesçao, deslue o elemento de aquecimento da placar no respectivo commando e nao confie no detector de panelas (apenas para aparelhos de inducao).CONSELHOS PARA A PROTEÇÃO DO AMBIENTE
Eliminação da embalagem
0 material da embalagem é 100% reciclavel, conforme confirmado pelo síncolo de reciclagem (C). Os diversos materiais da embalagem não devem ser abandonados no meio ambiente, mas sim eliminados em conformidade com as normas estabelecidas pelas autoridades locais.Eliminação do produits
O*síbolo no produits, ou na documentoação que accompanies o produit, indica que este produits não deve ser tratado como residuo dométrico, devendo ser entrega num centro de recolha que proceeda à reciclagem de equipamentos electricos e electrónicos.Poupanca de energia
Para obter melhores resultados, recomendamos que: Use panelas e frigideiras com um diametro de base igual ao da zona de cozedura. Utilize apenas panelas e frigideiras comundo plano. Se possivel, mantenha as panelas tapadas durante a cozedura. Autilização da panela de pressão reduz significativamente o consumo de energia e o tempo de cozedura. - Coloque a panela no centro da zona de cozedura desenhada na plac.DECLARATION DE CONFORMIDADE (€
ANTES DA UTILIZACHO
 IMPORTANTE: se as panelas não tiverem as dimensionales correctas, as zones de cozedura não se acendem. Utilize apenas panelas que possuem o*símbolo de "SISTEMA DE INDUÇÃO" (Figura ao lado). Antes de ligar a plac, colque a panela na zona de cozedura pretendeda. Utilizando os tachos adequados, as zonas de cozedura não podem ser usadas a temperatas abaixo de 10^ .RECIPIENTES PRE-EXISTentes
 Utilize um iman para vericar se o fundo do recipient e aproprioado para a plac de inducao: o fundo dos recipientes nao apropriados se nao forem detectaveis magnetically. - Certifique-se de que o fundo das panelas não está aspero, poised poderia riscar a superficie da plac. Verifique a loça. - Não apoie os tachos e as frigideiras quentes na superficie do paine do commando da plac. Pode provocar danos.DIAMETROS ACONSELHADOS DO FUNDO DAS PANELAS
Coloque a panela na zona de cozedura desejada antes de ligar a plac. Para obter bons resultados de cozedura, o diametro da base da panela devera corresponder ao diametro da plac a do fogao.| Diàmetro (cm) | Máx. (cm) | Min. (cm) |
| 14,5 | 14,5 | 10 |
| 18 | 18 | 12 |
| 21 | 21 | 15 |
| 24 | 24 | 15 |
| 26 | 26 | 17 |
| Diâmetro (cm) | Máx. (cm) | Mín. (cm) |
| 28 | 28 | 17 |
| 30 | 30 | 17 |
| FLEXI/LIGAÇÂO | 39 - 18 | 12 |
Dimensoes das panelas
Para determinar as dimensoes das panelas a utiliser, meça a base das/DDmas (ver imagem) e consulte aabela de diametro de panelas recomendada para umutilização ideal e detecção de panelas adequada. Cada zona de cozedura dispoe de um limite minimo de detecção de panelas, que varia consoante o material da panela realizada. Como tal, devera utilizing a zona de cozedura mais adequada ao diametro da panela que deseja utilizes. POSICAO RECOMENDADA DA PANELA
Para obter o melhor desempenho, quando usar das panels em simulanteo, colque-as conforme as figuras abaixo:    LABELA DE POTÉNCIAS
| Nível de potência | Tipo de cozedura | Utilização do nthel (a indicação junta a experiência e os hábitos de cozedura) | |
| Potência maior | Boost | Aquecer rapidamente | Ideal para fazer rapidamente a temperatura dos alimentos até uma fervura rápida, no caso da água, ou aquecerapidamente os liquidos de cozedura |
| 9-7 | Fritar - ferver | Ideal para tostar,,iniciar um cozedura, fritar produits congelados, ferver rapidamente. | |
| Potência alta | Tostar - fritar lentamente - ferver - grelhar | Ideal para fazer lentamente,manter fervuras vivas,cozer e grelhar (por um curto periodo de tempo, 5-10 minutos). | |
| 7-5 | Tostar - cozer - estuar - fritar lentamente - grelhar | Ideal para fazer lentamente,manter fervuras ligeiras,cozer e grelhar (por um periodo de tempo médio, 10-20 minutos), pré-aquecer. | |
| Potência média | Cozer - estuar - fritar lentamente - grelhar | Ideal para estuar,manter fervuras delicadas,cozer e grelhar (por um longo periodo de tempo). | |
| 4-3 | Cozer - ferver lentamente - adensar - cozer massa com molho de manteiga | Ideal para cozeduras prolongadas (arroz,molhos,assados,peixe) na presence de liquidos de accompanying (por ex.água,vinho, caldo,leite),cozer massa com molho de manteiga. | |
| Ideal para cozeduras prolongadas (volumes inferiores a 1 litro:arroz,molhos,assados,peixe) na presence de liquidos de accompanying (por ex.água,vinho, caldo,leite). | |||
| Potência baixa | 2-1 | Derreter - descongelar - manter quente - cozer arroz com molho de manteiga. | Ideal para amolecer a manteiga, derreter delicadamente o chocolate,descongelar produits de ICOPEUas dimensoes e manter quentes alimentos abacados de cozinhar (ex.: molhos,sopas). |
| Ideal para manter quentes alimentos abacados de cozinhar,cozer arroz com molho de manteiga e manter a temperatura dos pratos de servir (com o acessório adequado à indução). | |||
| OFF | Potência zero | Superfíce de apoio | Placa na posicao de espera ou desligada (possível Presence de calor residual do final da cozedura, assinalada com H). |
NOTA:
No caso de preparacoes rapiadas e que requirem uma perfeita distribuiacao do calor (por example, panquecas) na zona dupla de 28~cm de diametro (se presente), recomenda-se utilizear acesorios nao superiores a 24~cm de diametro. Para tips de cozedura delicadas (por example, derreter chocolate ou manteiga), recomenda-se utilizear as zonas unicas de diametro inferior.INSTALAÇÃO
Depois de desembalar o produits, verifique se sofreu danos durante o transporte e, em caso de problemas, contacte o seu revendedor ou o Servico Pós-vesta. Para as dimensoes do mover de embutir e instruções de instalacao, consulte as imagens na pagsa 2.PREPARACAO DO MOVEL DE EMBUTIR
AVISO
- Instale um painei de separacao por baixo da placu de cozedura. - A parte inferior do produit não deve fazer acessível antes a instalacao. Para instalar umorno por baixo da plac, não coloque o paine del separacao.  A distência entre a parte inferior do aparelho e o painei de separação deve respeitar as dimensoes indicadas na figura. Para um correto funcaoamento do produto, nao tape a abertura minima entre a bancada de travailho e o lado superior da placao do molev (min. 5 mm). - Em caso de instalacao de um forno debaixo da plac, certifique-se de que ele está equipado com umsystema de arrefecimento. Nao instalar a placar por cima do lava-louca ou da maquina de lavar, para que os circuitos electricos nao entream en contacto com vapor ou humidade, o que os pote danificar. No caso de instalacao com fios,contactar o Servico Pós-vesta e solicitar a montagem do kit de parafusos 4801 211 00112. Para remove a plac, utilize um chave de fendas (não fornecida) e mexas molas periféricas na parte inferior do produits.LIGACAO ELETRICA
AVISO
- Desligue o aparelho da corrente elétrica. - O aparecido deverá ser instalado por um técnicorialico, com conhecimiento das normas vigilentes em materia de instalação e segurar. - O fabricante rejeita qualquer responsabilitadpe por eventuais danos a pessoas, animais ou bens materiais no caso de incumprimento das diretivas fornecidas nestc capitulo. - 0 cabo de alimentacao deve ser suficientemente comprido para permitir que a placa possa ser retirada da bancada. - Certifique-se de que a tensão eletrica indica na chapa de caracteristicas situada no fundo do aparelho, correponde à da habitação na qual vai ser instalado.   1. Retire a tampa do terminal (A) desapertando parafuso e insira a tampa na dobradiça (B) do terminal. 2. Prenda o cabo de alimentacao com a braCADEira e ligue os fios ao Bloco de terminal conforme se aparece no esquema eltro situado perto do terminal. 3. Fixe o cabo de alimentacao com a braçadeira. 4. Fecha a tampa (C) do terminal uso o parafuso queinha retirado anteriorsmente. A placariverifica automaticamente durantealguns segundodcadagiao a redelettrica.   Ligação à fonte de alimentação    INSTRUÇÉS DE UTILIZACão
Descrição do painel de comandos
Painel de controlo
Ligar/desligar plac
Para ligar a plac, prima durante circa de 2 segundos a tecla ① até que os visores das zonas de cozedura se acendam. Para desligar, toque na mesma tecla até que os visores se apaquem Todas as zonas de cozedura são desactivadas. Se a placá ja tiver sido'utilizada, o indicator de calor residual "H" permanece activo até que as zonas de cozedura arrefecam. Se 10 segundos(before de liga apla, não for seleccionada nenhuma funcao, apla desactiva-se automaticamente.  Visor de indicatoria de potencia Indicacao da zona de cozedura selecionada  Posicionalto da zona de cozedura  Diminui o nível de potência  Coloque o recipiente na area de cozedura, ligue a plac, active a area de cozedura pretendida premindo o botao correspondente "+" , aparece "0" no visor. É possivel selecionar o nível de potência desejado desde o minimumo 0 até ao Tmaximo 9 ou booster "P", se disponivel. Para augmentar o nível de potência, pressione o botao "+" . Para diminuir o nível de potência, pressione o botao "-".Desactivação das zones de cozedura
Para desligar a zona de cozedura, pressione o botão correspondente "+" e "-" durante mais de 3 segundos. A zona de cozedura desliga-se e, caso ainda esteja quente, a letra "H" aparece na zona do visor.Bloqueio do paine de comandos
A funcio bloqueia os comandos para evitar a activacao acidental da plac. Para ativar o bloqueio do painei de controlo, lige a plac e prima o botao correspondente a funcio Bloquear durante tres segundos; sera emitido um sinal sonoro, sendo a ativação confirmada por um indicator luminoso perto do sintolo do cadeado. O painei de comandos fica bloqueado, a excepcao da funcio de desactivacao. Para desactivar o bloqueio dos comandos, repita o procedimento de activacao. O punto luminoso apaga-se e a plac fora novamente activa. A Presence de agua, liquido derramado das panelas ou objectos de qualquer espécie pousados sobre a tecla por baixo do símbolo poder provocar a activação ou desactivação involuntária da função de bloqueio do painel de comandos.Temporalizador (Timer)
0 temporizador pote serutilado para programar o tempo de cozedura por um maximo de 99 minuto (1 hora e 39 minuto) para todas as zonas de cozedura. + SeLECTIONA a area de cozedura a ser realizada com o religio, prima o religio (ver figura) e um sinal sonoro assimala o funcaoamento. O visor exibe "00" e a indicação LED acende-se. Diminua e aumente o valor do temporizador com as teclas +" e -" e o controlo deslizante. Apo escorrido o tempo programado, é emitido um sinal sonoro e a zona de cozedura desliga-se automaticamente. Para desactivar o temporizador, prima a tecla Timer por 3 segundos. Repita os pontos acima para programar o temporizador numa zona diferente. O visor do temporizador exibe sempre o temporizador da zona selecionada ou o temporizador mais breve. Para modifier o desactivar o temporizador, prima o botão de seleção da zona de cozedura do temporizador em quistão.Avisos do paine de comandos
Funções especialis (se disponível)
Alguns modelos possuem fonções especialis:Funcao automatica H
A funcão programa automaticamente um nível de potência adequado para fazer a ferrura minima. Active esta funcão quando os alimentos estiverem a ferver, premindo a tecla correspondente à zona, seguido da teclaIndicador de calor residual.
A plac e este iipada com um indicador de calor residual para cada zona de cozedura. Este indicador mostra quais sao as zonas de cozedura ainda com temperatura elevada. Se aparecer no visor, a zona de cozedura ainda está quente. Se a zona aparecer esta指示ação, é possível, por exemplo, fazer alimentos quentes ou derreter manteiga Quando a zona de cozedura fica fria, o visor apaga-se.Indicator de tacho não adequado ou ausente.
 Se a panela nao for compativel com a sua plac de inducao, estiver mal colocada ou nao tiver as dimensoes adequadas, a indicaao de "panela ausente" aparece no visor (figura ao lado). Nestas situações, recomenda-se o reposicionamento do tacho na superficie do fogao ate encontrar a posicao de funcaoamento. Se, no espoço de 60 segundos, nao for detectada nenhuma panela, a plac desiga-se.Função fervura rápida (Amplificador, quando disponível)
Função existente apenas em各类 zones de cozedura que permit aproveitar ao máximo a potência da plac (por example, para ferver rapidamente a agua). Para activar a função, prima a tecla "+" até o visor exibir "P". Apos 5 minutos deutilização da função Booster, o aparecido programa automaticamente a zona para o niven 9.FLEXI/ZONA DE LIGAÇÃO
Esta funcao éutilizada caso pretenda utilizear panelas de grandes dimensoes que a zona de cozedura unica nao pode acomodar, p.ex.,cozedura de peixe,grandes. panelas para a cozedura de carne. Para ativar a funca o de FLEXI/ZONA DE LIGA CAO, prima os botoes on ^+ e - em simultaneo, tal como ilustradoPGA imagem abaixo. "Power management" (Função, quando disponível)
Gras à função "Power management", o utilizesporte programar a potência maxima que a placarode atingir, com base nas suas necessidades. Esta regulação pode ser realizada em quando meço e mantida até a partir de 修改. Programando a potência Tmaxa desejada, a placar regulara automaticamente a divisao nas varias zonas de cozedura, garantindo que este limiar nunca sera ultrapassado, com a vantage um poder gerir tambem todas as zonas simultaneamente, sem problemas de sobrecarga. Estao disponiveis 4 niveis potencia maxima, conforme aparecido no visor: 2,5 - 4,0 - 6,0 - 7,2kW (7,2 kW é considerada a potencia maxima da placal) No momento da compra, a placa está programada na potencia maxima. Após ligar a placà à tomada elétrica, nos primeiros 60 segundés é posível definir a potência pretendida executando os seguentes passos:| Passo | Painel de controlo | Visor |
| 1 | + | Prima duranteperia de 3 segundos |
| 2 | Prima o botão Gestão de Potência para confirmar o passo anterior | |
| 3 | - / + | Prima para definir o;nível selecionado entre as differentes opções disponíveis |
| 4 | Prima o botão Gestão de Potência para confirmar o passo anterior |
Activação/desactivação do sinal acústico (não disponível na versão com barra deslizante)
Após ligar a plac, prima e mantenha simultaneamente a tecla "+" e a tecla periférica à direira durante pelo menosTRS segundos ("bloqueio do pail de controlo").  - Nunca utilize máquinas de limpeza a vapor. - Antes de proceder às operações de limpeza, certificque-se de que as zones de cozedura está desligadas e que a indentação de calor residual ("H") desapareceu. Cas o vidro do seu aparelho contentha o significo iXeliumTM, significa que a sua placu está equipada com um revestamento iXeliumTM. O revestamento iXeliumTM é o acabamento exclusivo da Whirlpool que garante uma limpeza perfeita, bem como um brilho de longa duraçao. Como tal, se o seu aparelho possuir aplaIXELIUM, é aconsehlável que siga as seguintes recomendações de limpeza:
Utilize um pano macio (ideal é microfibras) humedecido com agua ou liquido de limpeza normal para vidros. Se desejar otimizar os resultados de limpeza, deixe o vidro em contacto com um pano molhado durante algunos minutos.IMPORTANTE: Não utilize esponjas abrasivas nem esfregões de palha de aço. A sua utilização pode eventualmente danificar o vidro.
- Após cada'utilisation, limpe a plac (após refecer) para remove quaisquer depositos e manchas originadas por residuos de alimentos. - Açúcar ou alimentos com elevado conteúdo de açúcar, danificam a placá e devem ser removidos de imediato. Sal, acuca r areia riscam a superficie de vidro. Use um pano macio, papel de cozinha absorvente ou um produits de limpeza especico para placas (siga as instruções do fabricante). Os derrames de liquidos nas zonas de cozedura poder causar a vibração ou o movimento das panelas ou dos tachos. Seque a placacompletamenteantesdealimpar.GUIA PARA RESOLUÇÃO DE AVARIAS
Leia e siga as instruções da�� "Instruções de utilizesçao". - Certifique-se de que não existem interruptções no fornecimento de corrente électrique. Seque bem a superficie da placca(before de a limpar. Se, ao ligar a plac, o visor做不到igos alfanumericos, proceda de accordo com a segunte tabela. Se não consuerig desligar a placà antes de a utiliser,DSLige-a da rede eletrica.| Código DE ERRO | DESCRIÇÃO | POSSível CAUSAS | ELIMINAÇÃO DO ERRO |
| C81, C82 | A zona de comandos desliga-se devido a temperatas demasiado elevadas. | A temperatura interna das peças electrónicas é demasiado elevada. | Aguarde até que a placar arrêçava antes de utilizes de novo. |
| C83 | O pailen de controlo indica o)código de erro "placa desligada" devido a um problema no circuito electrónico. | A placar esteve sujeita a sobretensão. | A placar podeContinuar a ser usada, mascontacte o service pós-vendas. |
| C85 | A placar não consugue transmitir a potência para o recipientente | O recipientente não é indicado para a placar de indução | Utilize other recipientente de indução |
| F02 ou F04 ou C84 | A tensão de ligação não é correto ou problema na corrente elétrica. | O sensor detecta uma discrepança entre a tensão da placar e a tensão electrónica. | Desígue a placar da rede eletrica e veríque a ligação. |
| F01, F05, F06, F07, F10, F12, F25, F33, F34, F36, F37, F46, F47, F48, F49, F58, F61, F62, F63, F72, F74, F77 | Desígue a placar da corrente elétrica.Aguarde elesgados e ligue-a novamente.Se o problema continua, contacte o service pós-vendas e comunique o)código de erro. | ||
RUIDO GERADO PELA PLACA
As placas de inducao podem gerar various ruidos e vibrações durante a operacao normal, dependendo do tipo de material e do processamento da comida, tal como descripto abaixo: - Ruido de contacto: este tipo de vibração deve-se à utilização de recipientes feitos de diversos materiais sobrepostos. - Sons tipo clique a potência media-baixa: este ruído é produzido para atingir a potência media-baixa requerida. - Sons tipo um clique rítmico: este ruido é produzido quando está a funcional diveras和地区 de cozedura e/ou em elevado desempenho. Silvo ligeiro: este ruido delve-se ao tipo de contentorutilizando e a quantidade de alimentos que contém. - Ruido de fundo: o fogão de indução vem equipado com uma ventoinha que se destina a refeccer os componentesétricos sentido por isto que, durante a operação e也是非常few段时间aposterdesigadoapla,poraderouviruroidaoventoinha.Aumentar/diminuirasáreasdecozeduraactivaspode augmentar ou diminuiro u ruido de fundo da ventoinha. Estasaocondoesnormaiserecssenciaiparofonacionadequado dosystemadeinduao,paraquehajaindicaofofalhasoudanos.SERVICO Pós-VENDA
Antes de contactar o Servico Pós-Venda
1. Tente SOLUTIONAR o problema consultando o "Gui de resolvedo de problemas". 2. Desligue e volta a ligar a placar para verificar se o problema foi resolvido.Se après efectuar as verificacoes, o problema persistir, contacte o Servico Pós-Venda mais proxies.
Comunique: - uma breve descrição do problema; o tipo e o modelo exacto da plac; o número de service (número après aPALAVRA Service na chapa de caracteristicas) situado por baixo do aparelho (na placma metálica). o seu endereço completeness; o seu numero de téléphone.SERVICE 0000 000 00000
 Se for necessario efectuar alguma reparacao, contacte um Servico Pós-Venda autorizzato (tera a garantia da utilisação de peças sobreselentes originais e de uma reparacao correcta). As peças de substituicao está disponible por 10 anos.WAZNE INSTRUKCJE BEZPIECZENSTWA
Te instrukcje są również dostepne na stronie: www.hotpoint.euPAÑSTWA BEZPIECZENSTWO ORAZ BEZPIECZENSTWO OSÓB TRZECICH JEST BARDZO WAŽNE
Niniejsza instrukcja zawiera wąne informacja dotycznéstwa, z krómyngezy są zapoznać i króych naleź sciéle przystrzegać.  Ten symbol informuje o potencjalnym zagrozeniu dla bezpieczeste sta uzytkownika i osob trzechich. Wszystkie wiadomosci dotyczne bezpieczestewa besteht poprzedzone tym symbolem oraz nastepujacymi oznaczeniami: NIEBEZPIECZENSTWO
Oznacza niebezpieczną sytuacje, której ewentualne zaistnioie prowadzi dogowaznych obrażen.
OSTRZEŽENIE
Oznacza niebezpieczną sytuacje, któraj ewentualne zaistnienie mogłowby prowadzić do powaznych obrażen.
Wszystkie komunikaty dotyczne bezpieczeste sta okreslajrrodzaj potencjalnego ryzyka oraz informuja, w jaki sposob zmniejszc ryzyko urazow, szkód oraz porazenia pradem wskutek nieprawidowej obstugi urzadzenia. Nalezy scisce przestrzegać nastepujacych instrukci: Podczas rozkówania i instalacji naleź uzywać rękawic ochronych. - Przed przystapieniem do jakichkolwiek czynnosci instalacyjnych urzadzenia sąȩzy odźczyć od zasilania elektrycznégo. - Instalacja lub konserwacja powinna zostć przyperowadzona przyez technika SPECIALISTZgodnie z instrukcjam producenta oraz obłowiazujacymi lokalnie przyepisami dotyczymi bezpiecznych. Nie naprawiać iNie wymieniść zadnej czemu urzadzenia, sąsi nie jest to konkretnieazolecne w instrukcji obstugi. - Urzadzenie musi byc uziemione. - Przewód zasilajczy powinienmieć wystarczajca dlugość,aby uzmiołowic podłaczenia jabudowanego urzadzenia do sieci elektrycznej. - Aby instalacja była zgodna z obłowȩzujacymi przypepisami bezpiecznych, sąȩzy zamontowej wyłącznik wielobiegunowy ominimalnym odstepie stykol wynoszcym 3 mm. - Nie wolno stosowacrozgaetziaczy ani przedtuazacy. - Nie ciagrć kabla zasilajćego urzadzenia. - Po zakończeniu instalacji uzytkownik nie powinienmieć dostępu do komponentów elektrycznych urzadzenia. - Urzadzenia jest przyznaczone wyłączne do uzytku domowego do przygotowywnia zwywnosci. Nie dopuszczaa sieźadnych innych zastosowan (np. do ogrzewania pomieszczeni). Producent ne ponsi zadnej odpowiedzialnosci zauszkodzenia i straty spowodOWane niewaSciWym uzyciem lub nieprawidlowa konfiguracja ustawien. - Urzadzenia oraz了我的ostepne elementy nagrzewaj sie podczas pracy do wysokiej temperatury. Nalezy zachowac ostroznosci i nie dotykać elementów grzejnych. Niemowleta (w wieku 0-3 lat) i mate daneci (w wieku 3-8 lat)Nie powinny zbliacz sie do urzadzenia bez nadzoru osob doroszych. - Dzieci w wieku 8 lat i starsze, osoby o ograniczonej sprawnosci fizcznej, sensorycznej lub umysłowej oraz osoby bez odpowiednia doświadczenia i wiedzy mogą korzystać z urzędzenia wyłącznie pod nadzorem lub przy odpowiednic instrukcjach dotycznych bezpiecznych uzytkowania urzędzenia i pod warunkiem, ze Rozumieja zagrożenia zwiȩzane z obstęga urzędzenia. Podczas pracy urzadzenia i po jej zakończeniu nie wolno dotykać grzaȩk. Nie dopuszczć do kontaktu ze sciereczkami lub innym Łatwopalnym materiażem, dopóki wszystkie componenty urzadzenia nie wystygły wystarczȩ公司章程。 - Nie wolno wiktadać do piekarnika materiażówłatwopalnych ani przechowywać ich w是我的y poblizu. - Przejnzane tuszczne i oleje moga sie latwo zapalic. Nalezy nadzorowac piecenie potraw z duza ilosci tuszczu lub oleju. - Urzadzenia są obstrugwane przy做的事情 powyzej 8 roku zycia oraz osoby o agraniczonych zdolnosciach fizycznych, sensorycznych lub umysłowych, a sąze niedoswiadczenia, jestli są one nadzorowane lub zostanę poinwuowane w zakresie bezpiecznego korzystania zkiego urzadzenia i są dwiadome zwiazanych z tym zagroź. Dzieci są mogą baweć są urzadzeniem. Urzadzenia są powinno byc czyszczone ani konserwowane przy做的事情 bez nadzoru. - Nie klausc na polu grzejnym przyrzadow kuchennych (nozy, widelców, lyzek,...), pokrywek ani innych podobnych, poniewaz mogą sie one Rozgrzać do wysokiej temperatury. - We węcce pod urzadzeniem naleź zainstalowej panel oddzielȩćy, k tym zo stał dostarczy w komplecie. - Jesli na powierzchni pojawę są出入境ie, naleź wyłącZY urzadzenia, abyunikacja ryzyka porazenia prȩdom elektrycznym (dótczy tylko urzadzenia ze szklaną powierzchni). - Urzadzenia nie maya węczać przy pomocy zewétrznego timera ani oddzielnégo systemu zdalnégo sterowania. - Pozostawienie urzadzenia bez nadzoru podczas przyrzadznia potraw z uzyciem oleju i tuszczu要去 spowodowa zagrozenia oraz要去 prowadzić do pozar. Pozaru NIGDY nie wolno gasic wod)! Naleź wyłączyc urzadzenia i przykryc ogień np. pokrywką lub kocem gaśniczym. Rzyko pozaru: nie przechowywaćźadnych rzejcy na powierzchniach gotowania. - Nie stosowac urzadzen czyszczących para! - Na powierzchni płyty nie wolno klasć sztućcow ani pokrywek do garnków, gdyż mogą są one Rozgrzac do wysockiej temperatury. - Po zakończeni uzywania płyty naleź wyłączyć pole grzejne za pomoczą po.krętła aNie polegać na ukradzie wydkrywania obecnosci naczynia (dotyczy tylko urzadzenia z fungcją indukczy).PORADY DOTYCZACE OCHRONY ŚRODOWISKA
Utylizacja opakowania
Material z opakowania w 100% nadaje sie do recyclungui i jest oznaczony symbolem (C). Czeci opakowania nie nalezy wyrzuć, lecz utylizowej zgodnie z przypisami okreslonymi przyźlokne wędze.Utylizacja urzadzenia
Symbol na urzdeniu lub w dokumenta di noiego dozzonej oznaca, ze urzdenia nie wolno traktowac podobnie jak zwykle opdady domowe. Nalezy odda je do punktu zajmujacego sie utylizacja i recy Klingiem urzden elektrycznych i elektronicznych.Oszczedzanie energii
Aby uzyckańajlesz wyniki pracy urzadzenia, nalezy: Uzywac garnkow i patelni, ktorych srednica dna jest rowna srednicyPGA grzejngo. Stosowac tylkogarnki i patelnie o plaskim dnie. - Jesli toMZlwe, garnki powinny byc nakryte w czasie gotowania. Dzieki naczyniom ciśnieniowymMZmniejszyczuzycie enerji i skróci dlugosc gotowania. Naczynia naleź stawiac na Środku pola grzejnégo oznaczonego na płycie.DEKLARACJA ZGODNOSCI (
PRZED ROZPOCZECIEM PRACY
 WAZNE: Jesli naczynia nie sąmaticy wychydlęwych, rozmiarów, pola grzejneNie wącza sie. Stosowac wączie naczyna opatrzone napisem "INDUCTION SYSTEM" (Rysunek obok). Nacznych sądate wędane pole grzejne przy wączeniem pły tkuchennej. W przypadku stosowania odpowiednich garnków nie要去 za uzywac stref gotowania przy temperaturze poniżej 10^  Aby sprawdzić,czy dno naczyna jest przystosowane do gotowania na indukcynej plycie kuchennej:性和dno naczyna lub patelni nie reaguje na magnes,oznacza to, ze naczynie nie jest przystosowane. Sprawdzić,czyspd naczyna nie jest chropowaty,aby niedzlo do porysOWANIA powierzchni plyty kuchennej.Srawdzić naczyna. - Nie opierać gorących garnków i patelni o powierzchnie panelu sterowania. Może to prowadźć do是我的 uzskodzenia.ZALECANE SREDNICE DNA NACZYN
Przed wącieniem plyty umieszć naczynie naźdanej strefie grzewczye.
Aby uzyská三点 efekty gotowania srednica dna garnka powinna byc równa srednicy pola grzewczego.| Średnica (cm) | Maks (cm) | Min (cm) |
| 14,5 | 14,5 | 10 |
| 18 | 18 | 12 |
| 21 | 21 | 15 |
| 24 | 24 | 15 |
| 26 | 26 | 17 |
| Średnica (cm) | Maks (cm) | Min (cm) |
| 28 | 28 | 17 |
| 30 | 30 | 17 |
| FLEXI /ŁACZENIE STREF GRZEWCZYCH | 39 - 18 | 12 |
Rozmiar garnka
Aby okreslic Rozmiar garnka, nalezyzmierczyszerokoscantiago (patrz rysunek) i sprawdziw tabeli ponizej zalecane srednice dna garnkow gwarantujace nalemsz parametry uzytkowania i wsiciwe wykrywanie naczynia. Kaźda strefa grzewca posiada ograniczenia minimalej wielksiwykrywanego naczynia, ktore zmieianie sie wazolechno ci od rodzaju materialu, z ktorego wykonane zostalo uzywane naczynie. W zwiazku z tym nalezy wykorystwyac strefy grzewce nalemspie pasujace do srednicy naczynia. ZALECANE POŁOźENIE NACZYNIA
W celu zapewnienia najlepszej wydajnosci przy rownoczesnym korzystaniu z dwoch naczn alezy je połozyc zgodnie z poniższymi ilustracjami.    | Poziom mocy | Rodzaj gotowania | Użycle poziomu (wskazanieNSE węsnego dośćwiedzenia oraz nawyckań gotowania) | |
| Moc maksymalna | Boost | Szybkie podgrzewanie | Idealne do podniesienia temperatury potrawy w krótkim czasie, szybkiego zagotowania wody lub podgrzanía plynów |
| 9-7 | Smażenie - gotowania | Do przyrumieniania, Rozpoczyniania gotowania, smażenia mrożonych produktów, szybkiego gotowania | |
| Duźao moc | Przyrumienianie - podsmazanie - gotowanie - grillowanie | Idealne do podsmazania, gotowanie na wolnym ogniu, gotowanie lub grillowanie (krótkie gotowanie, 5-10 minut) | |
| 7-5 | Przyrumienianie - gotowanie - duszenie - podsmazanie - grillowanie | Idealne do podsmazania, gotowania na wolnym ogniu, gotowania lub grillowania (średnej dlugość gotowania, 10-20 minut), podgrzewania | |
| Gotowanie - duszenie - podsmazanie - grillowanie | Idealne do duszenia, delikatnégotowania na wolnym ogniu, gotowania lub grillowania (dlugi czas gotowania). | ||
| Średnia moc | 4-3 | Gotowanie - utrzymywanie na ogniu - zagęszczanie - gotowanie makaronu al dente | Idealne do dlugiego gotowania (ryž, sosy, pieczenie, ryby) z dodatkiem plynów (np. wody, wina, bulionu, mleka), gotowania makaronu al dente. |
| Idealne do dlugiego gotowania (poniȩj"Onego litra objętość: ryž, sosy, pieczenie, ryby) z dodatkiem plynów (np. wody, wina, bulionu, mleka) | |||
| Małama moc | 2-1 | Roztapianie - rozmazanie - utrzymywanie w cieple - przyrzędzanie risotto | Idealne do zmieȩczania masła, delikatnégotrozapiania czekolady, rozmazania małych artykuław spożyczych oraz utrzymywnia w cieple świezo ustogowanych potraw (np. sosy, zupy) |
| Idealne do utrzymywnia w cieple świezo ustogowanych potraw, gotowania risotto oraz utrzymywnia temperatury talerzy, na tkórch;będ Podawane dania (zwyrkorzystaniem SPECIALNych do plyn indukcyjnych), | |||
| OFF | Moc zero | Powierzchnia podparcia | Plyta kuchenna w połozeniu czuwania lub wyłącza (możliwa obećnosćciepla reszkłowego pozostāgende po zakońceniu gotowania, sygnalizowsa przy bez symbol H) |
UWAGA:
W rzie krotkiego gotowania, ktore wymaga Jednakke idealnego rozlozenia ciepla (np. nalesniki) na podwojnym polu o srednicy 28 cm (w zaleznosci od modelu), zaleca sie stosowanie naczy, ktorys srednica nie przechraca 24 cm. Do potraw wymagajych delikatnej obrobki cieplnej (na przykliad topienie czekoladyczy masla) zaleca sie uzywanie pojedynczych pol grzewczych o mniejszej srednicy.INSTALACJA
Po rozpakowaniu urzadzenia nalezy sprawdzić,czy nie zostano ono uszkodzone w czasie transportu. W razie problemów skontaktuć sie ze sprzedawcą lub autoryzowanym serwisem. Wymiary do zabadowy oraz instrukcja instalacji patriz rysunki na stronie 2.PRZYGOTOWANIE MEBLA DO ZABUDOWY
OSTRZEŽENIE
Zainstalowac panel oddzielajcy pod plyta kuchenna. - Po zainstalowaniu dolna częc urzadzenia nie powinna być juz dostepna. - W razie instalacji piekarnika pod płytaNie instalowac panelu oddzielajacego.   - Odlegósc między spodem urzadzenia a panelem oddzielajczym powinna byc zgodna z wymiariami podanymi na rysunku. - Aby zagwarantowac prawidlowa prac urzadzenia, nie wolno blokowac minimalneo otworu miedzy blatem a gorna czeciag btlu mebla (min. 5 mm). - Jesli pod płyta kuchenna jest instalowany piekarnik, sprawdzić,czy posiada on system chłodzenia. - Nie instalowac plyty kuchennej na zmywarkach badz pralkach, aby zapobiec kontaktowy bodów elektronicznych z para lub wilgocia, ktoraMZe je uszkodzic. W przypadku montazu pty rowno z blatem skontaktowac sie z serwisem w celu montazu zestawu szrub 4801 211 00112. - Aby zdjac phyte, nalezy zwolnic srobkrtem (nie jest dostarczony w komplecie) sprezynzy zajdujace sie w dolnej czeci urzadzenia. OSTRZEZENIE
- Odłaczycz urzadzenia od zasilania. - Instalaacja musi byc przypegowadzona przyez wykalifikowanego pracownikka znajacego aktualne przypepiesy dotyczze bezpiecznych i instalaci. - Producent nie ponosi czadnej odpowiedzialnosci za obrazeniaHOUSE lub zwierzata ni za straty materialnewynikz nieprzestrugania przyepisow podanych w niniejszym rozdzie. - Przewód zasilajcy powinienmieć wystarczajcă dlugosć, aby umozliwić zdjecie ptyz blatu. - Upewnicie, ze napięcie podane na tabliczce znamionowej znejdujacej sie w dolne czeci urzadzenia jest zgodne z napięciem w instalacji domowej.   1. Zdjac oslonz zasków (A), odkrcajac srube, a natestpie wsunac oslonz w zawias (B) zasków. 2. Wsunac przewod zasilajcy w uchwyt, a nastepnie podlaczyc poszczegolne zyły przewodu do blokuzacisków w spośb przydstawiony na schemacie połaczenia znajdujocy mię w poplizu zacisku. 3. Zabepieczyc przyżwód zasilajczy w uchwycie. 4. Zamknac oslone (C), a nastepnie przykrećić ja na zacisku przy užciu wczȩnej odkrećonej struby. Po kāźdym podłączeni upty do sieci przyperowadzana jest automatyczna kontrola trwajća kilka sekund.   B  C  Podłaczenia do zasilania sieciowej    Opis panelu sterowania
Panel sterowania
 Przyciski regulacijs pol grzejnych i wyświetlaczWłącenie/wyłączenie platy kuchennej
Aby właczyc phty, wcisnac przycisk ① na ok. 2 sekundy i przytrzymac, dopoki ni zapalä są wyswietlacze pol grzewczych. Aby wączyc phty, dotknackiego samego przyciski i przytrzymac do czasu węlącenia wyswietlaczy. Wszystkie pola grzejne zestana węlączone. Gdy ptya juz pracowa, wskaznik ciepla resztkowego "H" swieci, dopoki ptya kuchennaNie wystygnie. Jesi wciu 10 sekund od wuczenia pty kuchennej nie wybierse sie zdnej funkci, plya wuczy sie automatycnie.Właczenia i regulacja pól grzejnych
   Umieść naczynie na strefie grzewciej, wączej zywoć yzmagnę strefe zywoć odowiedni przyczysk "+" . Na wyswietlaczu pojawie sąsymbol "0". Wybrać wymagany poziom mozy w zakresie od 0 do 9 lub funkȩ golegrodzewania "P", sąsi jest dostepna. Aby zȩkszycz pozium mozy, sąȩzy nacisność przyczysk "+" . Aby zȩnszych golem mozy, sąȩzy nacisność przyczysk "-"Wylaczenie pola grzejnego
Aby wyłaczyc strefę grzewca, nalezy nacinacja odpwiedni przyczysk {"+" i "-"} przytrzymać przyznad 3 sekundy. Stefa grzewca zostanie wylacznca i jejli nadal jest goraca, na wyswietlaczu pojawi sie symbol "H".Blokada panelu sterowania
Funkja blokuje przyciski, aby nie dopućić do przypadkowe go właczenia pły kuchennej. Aber wącć blocade panelu sterujucego, wącz pły grzejna i naci)—przycisk blocady i przytrzymaj go przy trzy sekundy. Sygnat akustyczny i podswietlony wskañnik obok symbolu kłódki swiedźco wączeniu blocady. Panel sterowania jest zablokowy na za wyjátkiem fungcjni włacznia. Aber wącć blocade,NSEZY wykonać tę samā procedure, co przy wącznii. Wącćsi wskañnik swietlny i plya bedzie ponownie aktywna. Obecnoś wody, plynu, jaki wydosta są z naczynia na plicie, a takze innych przycisku pod symbolem boz boz powodem przypadkowy i niedoanedogo wączenia sie lub wączenia blokady panelu sterowania.Timer
Timer要去吃吃吃吃吃吃吃吃吃吃吃吃吃吃吃吃吃吃吃吃吃吃吃吃吃吃吃吃吃吃吃吃吃吃吃吃吃吃吃吃吃吃吃吃吃吃吃吃吃吃吃吃吃吃吃吃吃吃吃吃吃吃吃吃吃吃吃吃吃吃吃吃吃吃吃吃吃吃吃吃吃吃吃吃吃吃吃吃吃吃吃吃吃吃吃吃吃吃吃吃 Wybra c s fr g wcz timer, a nepnie nacnac timer (patrz rysunek). Wcienie fungkzi zostanie potwierdzone sygalem dzwiekowym (patrz ilustracja). Na wyswietlaczpojawi si symbol "00" i wczy si kontrlka LED. W celu zmniejszenia lub zwicszenia wartosci timera naezy trzymawcsiiete przyciski "+"i-" funkci suwaka. Po upywie ustawionego czas uzlega si sygnd dwiekowy, a pole grzejne samoczynnie sie wylacza. W celu wylczenia timera naezy trzyma przycziscim terima wciScipty bez co najmiej 3 sekundy. Aby ustawić timer dla innego pola, naleź powtorzyc powozyszne punkty. Na wyświetlaczu timera widnej zawsze informacja dotyczę timera ustawionego dla wybraneano pola lub timera z najrotszym ustawionym czasem. W celu modyfikaci lub wyłączenia timera naleź ynocznę przyczysk wyboru pola grzejność dla danego timera.Informacja dotycznej panelu sterowania
Funkje specialne (jesli dostepne)
Niekotre modele sq wyposazone w funkcie spejalne:Funkja automatyczna
Funkcja automatycznie ustawia poziom mocy odpowiedni do utrzymywania minimalneo gotowania. Wzucy c t fungcje po doprowadzeniu potrawy do wrzenia. Wym celu nacsnac nadpierrw przycisk dotczyc y pola, a nastepnie przyciscWskazniki ciepla resztkowego.
Plyta jest wyposzażona we wskaźnik ciepla resztkowej dla kaźdego pola grzejego. Wskaźnik taki sygnalizuje, króre pola grzejne sąszcie wysoka temperature. Jesi na wyswietlacu pojawia sie, pole grzejne jest nadal gorace. Jesli przy danym polu swieci sie ten symbol, pole mayaieszce wykorzystafty, na przyklad, roztopic maslo lub utrzyma' temperature potrawy. Po wystygnięci pola grzejné goświetlacz gasnie.Wskaznik nieprawidlowego naczynia lub braku naczyna.
 Jesi naczynie nie jest przystosowane do przy z ptya indukcyjna, jest nieprawidlowo ustawione lub m iiewa Sciwe wymiary, na wywiwtaczu pojawia sie komunikat "Brak naczyna" (patrz rysunek obok). W takiej sytuacci zaleca sie przystawienie garnka na powierzchni ptyg grzejne a do znalezionia.), wiejsca prawidlowego dlaiania. Jesi w ciagu 60 sekund Nie zostanie wykryte zdne naczynie, plya kuchenna sie wylacy.Funkcja szybkiego gotowania (Funkcja silnego podgrzewania, jesti jest dostepna)
Funkja jest dostepna Jedynie dla okreslonych pól grzejnych. Pozwala ona na wykorzystanie maksymalnej mocy pty (np. w celu szybkiego doprowadzenia wody do wrzenia). Aby wącć tę fungcjé, naciskać przycisk "+" aź do pijawnienie są na wyświetlaczu "P". Po 5 minutach dzialania funkci booster urȩdzenia automatyczne ustawia dla danego pola poziom 9.FLEXI/∠ACZENIE STREF GRZEWCZYCH
Ta funkacja wykorzystwyana jest w przypadku duzych naczn, gdy pojedncy zsta grzewcza nie wystarcza np. ryby, duze naczynia na mięsO. Aby aktywować fungkje FLEXI/ÄCZENIE STREF GRZEWCZYCH, nalezy jegnoczesnie nacisnám przyciski + i - tak jak zu zostaloPokazane na ponieszym rysunku. "Power management" (Funkcja,{jesi jest dostepna})
Dzieki funkci "Power management" uzytkownik要去ustawic maksymalna moc osiagan przyez dane pole grzejne wedlug wąsnych potrzeb. Regulacja要去 za przechowadzic w dowolnym momencie a wprovadzone ustawienia zostaja zachowane do kolejnej modyfikacje. Po ustawieniu zędanj mocy maksymalnej pły automatycznie dokona podzialu mocy na posczególne pola grzejne, gwarantujć, ze ustawiony przy nigdy nie;będzie przekraczany, zaleta jej opcji jest rònwnie sądlę wędniwość sądacznych wyszystkimi polami grzejnych, bez problemów związanych z przyciezenia. Dostepe n 4 maksymalne poziomy mocy. Przedstawiane sq w nastepujc yposob na wyswietlaczu: 2,5-4,0-6,0-7,2kW (7,2kW stanowi maksymaln muc phyty kuchennej) W momencie zakupu plyta jest ustawiona na maksymaln wartosci mocy Wciagu pierwszych 60 sekund od podlaczzenia plyt do gniazda zasilania moza ustawic wymagany poziom mocy, wykonujac ponizsze czynosci:| Krok | Panel sterowania | Wyświetlacz |
| 1 | + Nacisnaj na około3 sekundy | |
| 2 | Nacisnij przyciskZaradzania poziemmocy, aby potworȩćpoprzejni krok | Na wyświetlaczu pojawi są komunikatPL |
| 3 | / + Nacisnaj, aby wybraćwybrany poziom spoȩródróźnych dostepnych opcj | Kontrolka zawicki bazem z kontrolkamiwczenia poszczególnych stref grzewczych |
| 4 | Nacisnij przyciskZaradzania poziemmocy, aby potworȩćpoprzejni krok | Przez okło 2 sekundy na wyświetlaczu migaustawiony poziom, a nastepnie płyta emitujsygnat dzwiekwowy i wąĆza są. Od tej pory jest gotowa do pracy |
Aktwyacja/dezaktywacja sygnalu dzwiek战略布局 (opcja niedostepna w wersji z suwakiem)
Po wączeniu pły nacisć Jednoczesnie i przytrzymć przy zędny przyczysk "+" oraz ostatni przyczysk po sprawej stronie ("blokada panelu sterowania"). CZYSZCZENIE
OSTRZEŽENIE
Unika stosowaniaczysikow parwych. - Przed przystapieniem do czyszczeniaNSE upewnici,czy wszystkie pola grzejne sny wylaczone oraz czyNie swieci sie wskaznik ciepla resztkowego ("H"). Jesni powierzchni szklanej znajduje sie logo iXeliumTM, ptyta jest Pokryta warstw iXeliumTM. iXeliumTM to wyjatkowa powloka Whirlpool, gwarantujaca doskonaclc zystoci dlugotrwaly blask. W zwiazku z tym, jesti posiadaja Paanstwo ptyt z powloka IXELIUM, wysoce wskazane jest przystrzeganie ponizsych zalecen dotyczych czyszczenia: Uzywacmiiekiej szmatki (najlepiej z mikrofibry) zwilzonej wod lub zwykthym detergentem do czyszczenia szka. - Chćac poprawić efektywnochźyszczenia, naleź y na kilka minut pozostawić wilgotną sciereczné na powierzchni szklanej. WAZNE: Nie uzywac gąbek sciernych ani myjek. Ich stosowanie要去 po pewnym czasie zniszczycz szklanq powierzchnie. - Po kázdym użyciu naleź oczyść płyte (gdy jest zimna), aby us)nęc osady i plamy powstałe od resztek zywnosci. Cukier oraz potrawy o wysokiej zawartosci cukru niszczamy t aleyny je niedzwocznie uwuac z jej powierzchni. Sól, cukier piasek mogr yrosac szklanpowierzchnie. Uzywac miękciej szmatki, chlonnych ręczników kuchennych lub SPECIALNego przyrzadu do czyszczenia płyty (postepowa wedlug instrukcji producenta). - Płyny rozlane na strefę grzewczą mogłowodowej drgania lub przysuwanie naczyn. - Po wyczyszczeniukdokladnie osuszyc phyte.INSTRUKCJA WYSZUKIWANIA USTEREK
Prosz uwaznie przycztya i wykonac instrukcje podane w Rozdziale "Instrukja obshugi". Sprawdzić,czynie doszto do przerw wzasilaniu elektrycznym. Dobrze wytrzech powierzchnie pty po jej umyciu. - Ješli po węcieniu pły na wyświetlaczu pojawaja są kody alfanumeryczne, sąȩ zostepować zgodnia z instrukcjami podanymi w poliższej tabeli. - Jesli po zakończeniu przy nie można wyłaczycy plty kuchennej, naleź y są odłacZY od zasilania elektrycznych.| KOD BŁEU | OPIS | PRAWDOPODOBNE PRZYCZYN | USUNI-European KOD BŁEU |
| C81, C82 | Panel sterOWANIA wyŁACZA są z powodu zbyt wysokiej temperatury. | Temperatura wewnętrzna czȩci elektronicznych jest zbyt wysoka. | OdczekAAC,źPHYTA są ochłodzi, a nastepnie wączyć są ponownie. |
| C83 | Na panelu sterOWANIA jest wyświetlany kod bŁEU, aPHYTA wyŁACZA są wDyniku problemu związanego z uładem elektronicznym | Napiȩcie zasilania pPHY tyny grzewczy jest zbyt wysokie | PHYta grzewca są boć nadal uzytkOWANA,{jednakść sąbezy wezwac lokalny autoryzOWANY serwis |
| C85 | PHYtaNie sągne dostarczyć mocy do naczynia | NacznieNie są przystosowane do gotowania na pPHYcie indukcynej | Użyć innego naczynia indukcyjngo |
| F02 lub F04 lub C84 | Podlączone napiȩcie jest nieprawidłowe lub wystapiła awaria zasilania | Czujnik wykrwyta napiȩcie年内 niedynamagane. | Odlączyć pPHY tę od siedci zasilajȩce i sprawdzić podlącenie. |
| F01, F05, F06, F07, F10, F12, F25, F33, F34, F36, F37, F46, F47, F48, F49, F58, F61, F62, F63, F72, F74, F77 | Odlączyć pPHY tę od zasilania elektrycznych OdczekAAC kilka sekund, a nastepnie podlączyć ponownie Ješli problem wystepuje nadal, skont⁺tawkówć są z lokalnym autoryzOWANY serwisem i podać kod bŁEU | ||
HAŁAS GENERWANY PRZEZ PŁYT KUCHENNA
Indukcyjne pły grzejne moga podcas normalnej przy generowac dzwiek i wibracja, w zaleznosci od materia'u i sposobu obrókji produktów spozymwczych, zgodnia z opistem poniżej: Dzwiek kontaktu: ten rodzaj drganynika ze stosowania naczyn Pokrywanych roznego rodzaju materiali. Dzwiek klikniewia w dolnym zakresie mocy: ten dzwiek jest wytwarzany w celu uzyszkania wymaganej mocy w dolnym zakresie. Dzwiki przypominajce rytmicne klikanie: ten rodzaj dzwieku jest wytwarzany podczas pracy roznych stref grzewczych i / lub wysokiej mocy grzania. Cichy wysoki dzwiek: ten dzwiek jest zwiazny z rodzajem uzywanego naczynia i ilosci znajdujacej sie wewnatr zwywnosci. Dzwiek w tle: kuchenka indukcyjna jest wyposażona w wentylator, któ rśluzy do chlodzenia componentów elektronicznych. Dlągo podczas jej działania i przyez kilka minut po wy)—ceniu slyecha szum wentylatora. Z)—szenie / zmniejszenia mocy aktywowanych stref grzewczyh moze powodowej z)—szenie lub z)—szenie d)—w tle. Jest to normalna cecha systemu indukcyjneo, takie zachowanie nie swiadczy o awari ci zuyszkodzeniu.SERWIS TECHNICZNY
Przed skontaktowaniem sie z serwisem techniczynm
1. Sprawdzić,czynie można samodzielnie rozwȩzać problemu zgodnia z punktami opisanymi w "Instrukcji wyszukiwania usterek". 2. Wyłaczycki ponownie wącZY uradzdenie, aby sprawdzić,czy usterka nie ustapija. Jesli po przyprowadzeniu powoyszych kontroli usterka nie znikla, nalezy skontaktowci sie z najblzyszym autorzowanym serwisem techniczynm. Nalezy podać: krótki opus uterki; typidokladnymodelphytgrzejnej; - numer serwisowy (numer po slewie SERVICE na tabliczce znamionowej) znajdujczy sie pod urzadzeniem (na metalowej ptyte). - Paśnista doklady adres; - numertelefonu.SERVICE
0000 000 0000  Ježeli konieczne jest dokonanie naprawy, prostymo kontakt z autoryzowanym Serwisem Technicznym (zapewnia to uzycie oryginalnych czeci zamiennych oraz prawidowej wykonanie naprawy). Czeki zamiennent są dostepné przy 10 lat.DÜLEZITÉ BEZPECNOSTNÍ POKYNY
Tento námod je k disposici také na stránkách: www.hotpoint.euVAŠE BEZPEČNOST I BEZPEČNOST DALŠÍCH OSOB JE VELMI DULEŽITÁ
V toto navodu a na samotném spotbrebič jsou duležitá bezpečnostní upozorněné, která si musité prečíst a dodržovat je.  Toto je symbol nebezpeci, ktery je dulezitý pro zachovani bezpečnosti a upozorůje na mozná nebezpeci pro uživatele a pro dalí osoby. Před kázdým upozorněním týkajíím se bezpečnostiNJdete tento symbol nebezpeciá následujíci výrazy: NEBEZPECI
Oznacuje nebezpečnou situaci, kterou je třeba odvrát, jinak způsobí vázné poraněni. VAROVÁNÍ
Oznacuje nebezpečnou situaci, kterou je třeba odvrátit, jinak by mohla zpúsobit vázné poraněni. Vsechny zpravy tykajci se bezpecnosti upozornuji na potenciarni nebezeci a uvadej i postup, jak snizit riziko poraneni, skod nebo urazu elektrickym prudem zpusobené nespravnym pouzitim spotrebiče. Dodržujte nasledujici pravidla: - Pri rozbalováná a montázi不同程度 ochranné rukavice. - Pred kazdou montází je nutné spotřebič odpojit od elektrické sítě. Montáž a udrzbu musi provadět specializovaný technik v souladu s poukny vyrobce a s platnými mistrími bezpečnostními predepísy. Neopravujte ani nevyměñujte zádnou cást spotřebrane,Pokud to není vyslovné požadováno v námodu k použiti. - Spotbrebič musí byt uzemněny. - Napajćí kabel musi byt natolik dlouhý, aby umoznil pripojení spotřebiecz jabudovaného do skřínký k elektrické zásuvce. Montáz musí probíhat v souladu s platnými bezpečnostními prědpíy, a proto je nutné použít vsepólový spínač s minimálné vzdáleností mezi kontakty 3 mm. - Nepoužívejte vicénásobné zásvuky ani prodlužovác kably. - Netahejtze za napajeci kabel spotbreicine. Elektrické současti spotřebie nesmi být po montáži pro uživatele prístupné. - Spotbreic je urcen vyhradně pro domáci pripravu jídel. Neni povoleno Žádné jiné použití (např. k vyтapestné mistnosti). Vyrobce odmitá jakoukoli opovědnost za nevhodné použití nebo nesprávné nastavení ovladačú. - Spotbreic a jeho pristupné soucasti se pri pouziti zahrivaji. Je tbreba dbat opatrnosti, abyste se nedotkli topnych tles. Pokud se v blízkosti spotbreic budou pohybovat velmi malé (0-3 roky) nebo malé (3-8 let) déti, musi byt neustále pod dohledem. - Děti starí 8 let a osoby s fyzickým, smyslovým Či duševním postižením nebo bez patrčných zkušeností a znalostí mohou tento spotřebič použivat pouze pod dohledem nebo tehyd, pokud obdržely informace o bezpečnémpoužití spotřebiče aPokud Rozuměj rizikům, která s používaním spotřebiče souviseji. Nedovolte détem, aby si se spotřebičem hrály. Nedovolte détem, aby bez dohledu provaděly Čištěné a běznou udržbu spotřebiče. - Behem a po pouziti spotbreiţe se nedotykejte topnych těles. Spotbreiţ nesmí prijit do styku s textiliemi ani jinymi hořlavými materiały, dokud vsechny jeho současti zcela nevychladnou. - Na spotbrebič ani do jeho blízkosti neumistujte hořlavý material. - Přehrát uky a oleje se mohou snadno vznítit. Pri pripravě jídel s vytokým obsahem tuku nebo oleje si počínejte opatrně. - Pod spotbrebič je nutné namontovat oddělováci panel (prodáva se samostatné). - Pokud povrch spotbrebiče praskne, spotbrebič vypněte, abyste predešli riziku urazu elektrickým proudem (platí pouze pro spotbrebiče se skleněným povrchem). - Provoz spotbrebicne nelze rridit pomoci externiho casovace nebo samostatneho systemu dalkoveho ovladani. - Príprava jídel s obahem tuku nebo oleje bez dozoru mûze byt na varné desce nebezpećná a mûze zpúsobit vznik požáru. Pozár se NIKDY nepokousejte uhasitvodou. Mistro toho spotřebic vypněte a zakryjte plamen napříkladPoklicí nebo hasić rouškou. Riziko požáru: Na povrch varné desky nepokládejte Žádné prédměty. Nepouziveje parni cistice. Kovové prěděmty, jako jsou nože, vidlicky, lížice neboPoklice, nepokládejte na povrch varné desky, jinak se mohou zahrát. - Topné těleso po použití vypněte pomoci príslušného ovládaciho prvku a nespólěhejte se na detektor prǐtomnosti pánve (platí pouze pro indukční spotřebiče).RADY KOCHRANE ZIVOTNIHO PROSTREDA
Likvidace obaloveho materialu
Obal je ze 100% recyklovatelného materialú a je označen recyklačním symbolem (2). Obalový material proto nevyhazujte s domácím odpadem, ale zlikvidujte ho podle platních mistríchů.Likvidace spotbrebc
Symbol na spotbrebi nebo prislusnych dokladech udavá, ze tento vyrobek nepatři do domáciho odpadu, ale je nutné ho odevzdat do prislusného sberného centra pro recyklaci elektrickych a elektronickych zařizení.Uspora energie
Chcete-li dosahnout nejlepsich vysledku: - Používejte nádóby s prúměrem dna stejnám, jako je prümér varné zóny. - Pouzívejte pouze hrnce a pânve s rovným dnem. - Je-li to mozné, pouziveje piii vafeniPoklicku. Pouzivejte jestenergiea casa vam useti tlakovy hnrnc. Hrnec postavte do strodu varne oblasti vyznačné na varne desce.PROHLÁSENÍOSOULADUSPRDPISY (€
PREDPOUZITIM
 DULEZITE UPOZORENI: Gestlize hrnc nemaj spravne rozmery, varne zony se nezapnou. Pouzivejte pouze hrnc se symbolem "INDUKCNI SYSTEM" (viz vedleji obrazek). Prd zapnutim varne desky postuve nadobu na pozadovanou varnou znu. Pri pouziti vchodnich hrcu se varne zony aktivujv pripad, ze je teplota okoli vyssi nez 10^STARE NADOBY
 Ke kontrole vchodnosti dna hrnce pro indukci varnouISKu pouzijte magnet: hme a pane bez magnetickho dna nejsou k pouziti vchodne. - Přesveděcte se, zda dno hrnce není drné, protože by mohlo poškrábat povrch varné desky. Zkontrolujte nádóbi. - Nikdy nestavte horke hrnce a pânve na povrch ovladaciho panelu varne desky. Mohl by se poskodit.DOPORUCENÉ PRÜMÉRY DNA NÁDOBY
Nejprve umistete hrnec na pozadovanou varnou zonu a az potom zapne te varnou desku. Abylo pri vaaren dosazeno dobrch yvsledku, prumr dna pouziteho nadobi by mel odpovidat velikosti plotny.| Prümér (cm) | Max (cm) | Min (cm) |
| 14,5 | 14,5 | 10 |
| 18 | 18 | 12 |
| 21 | 21 | 15 |
| 24 | 24 | 15 |
| 26 | 26 | 17 |
| Prümör (cm) | Max (cm) | Min (cm) |
| 28 | 28 | 17 |
| 30 | 30 | 17 |
| Funkce „FLEXI /CONNEXION“ | 39 - 18 | 12 |
Velikost pouziteho nadobi
Aby va'rení probihalo efektivne a cidla varn'ych zón správné fungovala, je t'reba urcit spravnou velikost pouziteho nadobí. Změrte prosím prümér dna hrnc ā pánve (viz obrázek) a vyslednou hodnotu porovnejte s hodnotami doporučenych sǐrek pro dna nadobí, které jsou uvedeny v tabulce nizé. Každá varná zona má minimálni velikostní limit pro detekci nadobí, které se mení i v závislosti na materiálu, ze kterého je použivané nadobí vyrobeno. Proto bye ste měli použit tu varnou zónu, která nejlepé opdová prúmeru dna nadobí. DOPORUÇENE UMİSTENİ HRNCÜ
Abyste dosáhli co nejlepsích vysledku pri pouziti dvou hrcu soucasne, umistete je na varnou desku podle následujících obrázku:    TABULKAVKONU
| Stupečný výkonu | Zpùsob vařeni | Použití varného stipné (použití závisí na zkušenostech a kuchařskych návycích) | |
| Max. výkon | Boost (Rychlý var) | Rychlý ohřev | Ideálník rychlému zvyěné teploty jidla, rychlému uvedéné vody do varu nebo rychlému ohřevu tekutin na vařeni. |
| 9-7 | Smažení - udržení varu | Ideálník osmáhnutí do rúžova, začátku vařeni, smažení mražéných vyrobků, rychlému varu. | |
| Vysoký výkon | Osmáhnutí do rúžova - opečné - udrženi varu - grilovány | Ideálník opečné, udrženi prudného varu, vařeni a grilování (po krátkou dobu 5-10 minut) | |
| 7-5 | Osmáhnutí do rúžova - vařeni - duženi - opečné - grilovány | Ideálník opečné, udrženi lehkého varu, vařeni a grilování (po středné dlouhou dobu 10-20 minut), prědehrátí | |
| Vařeni - duženi - opečné - grilovány | Ideálník opečné, udrženi mírného varu, vařeni a grilování (po dlouhou dobu). | ||
| Středníný výkon | 4-3 | Vařeni - zaćtek varu - zahuštěné - rozpuštěné másla a sýra na těstovinámch | Ideálník delísmu vařeni (rýže, omáčky, pečěné, ryby) s tekutinami (např. s vodou, vínem, vyvarem, mlékem), rozpuštěné másla a sýra na těstovinámch. |
| Ideálník delísmu vařeni (množstvi do Jednoho litru - rýže, omáčky, pečěné, ryby) s tekutinami (např. s vodou, vínem, vyvarem, mlékem) | |||
| Nízký výkon | 2-1 | Rozpuštěné - Rozmrazovány - udrženi teploty - rozpuštěné másla a sýra na rizotu | Ideálník zezměknutí másla, opatrnému roźpustěné Čokolády, Rozmrazoványámalych kousků a k udrženi teploty právořějed (např. omáček, ridkých i hustych polévek) |
| Ideálník udrženi právořěužějed porci jídel v teple, rozpuštěné másla a sýra na rizotu, zahrátí podávacích talířů (vhodněch pro indukci) | |||
| OFF (VYP) | Nulový výkon | Odkladová plocha | Varná deska v poloze klidového stavu nebo vypnuto (můze být zbytkové teplo z vařeni signalizované ukazatelem H) |
POZNÁMKA:
Pri krakodobem vaeni, ktery vzadujedokonaly Rozptytepla (napriklad palacinek) na dvojite varne zone s prumerem 28 cm (je-li k dispozici) doporuucjeme pouzivat nadoi's prumerem do 24 cm. Pro setrnveaeni, napr. Rozpousteni cokolady nebo masla) doporuucjeme pouzit samostnatne zony s mensim prumerem.INSTALACE
Po yvaleni spotbrebiče se presveděcte, zda se pri dopravě nepoškodil a v pripadě pochybností se obratte na prodejce nebo na servis. Rozměry otvor pro zabudováni a pokyny k instalaci viz obrázky na strane 2.PRIPRAVA SKRINKY K VESTAVBE
VAROVÁNÍ
Pod varnou deskou instalujte oddelovacij panel. - Dolnićast spotrebice musi byt po provedené instalaci nepristupné. V pripadé instalace trouby pod varnou desku se oddelovaci panel neinstaluje. Vzdalenost mezi spodni stranou spotrebice a oddelovacim panelem musi opovidat Rozmérum uvedenym na obrázku. Ke spravnemu fungovani spotrebice nezakryveje minalmni volny prostor mezi pracovni plochou a horni plochou skriky (min. 5 mm). V pripadé instalace trouby pod varnou desku se presvédçte, ze je vybavena chladicim systémem. - Neinstalujte varnou desku nad mycku nebo pračku, aby elektrICKé obvody nebyly v kontaktu s párou nebu vlhkosti a nepoškodily se. V pripeade, zsi prjete, aby varna deska byla zcela zaustene do pracovn plochy, zavoleje do servisu a pozadejete o monta sady sroub 4801 211 00112. K odstraneni varne desky uvolnete pomoci sroubovaku (neni soucasti dodavky) obvodové pruziny na spodni casti spotrebice.  PRIPOJENI K ELEKTRICKE SITI
POZOR!
- Odpojte spotbrebič od elektrické sítě. Instalaci musi provest kvalifikovaný pracovnik obeznámeny s platnymi bezpečnostními prědpísey a prědpísey o elektrické instalaci. Vyrobcse odmita veiskerou opovednost za zraneni osob ic zviirat a skody na majetku, k nimz dojde v dusledku nedodrzeni pravidel shmutych v teto kapitole. - Napajeci kabel musi byt tak dlouhý, aby varnou desku bylo moźne vyjmout z pracovní desky. Zkontrolujte, zda udaj o napeti uvedeny na typovem stifiku na spodni strane spotrebice odpoveda napeti v domaci siti.   1. Po vysroubovani srobku odstrahte kryt svorkovnice (A) azasunte ho do zaveshu (B) na svorkovnici. 2. Zapojte privodni kabel do svorky a podle schematu priopojen yznačeného v blizkosti svarkovnice pripojte kabely ke svarkovnici. 3. Napajeci kabel zajistete pomoci kabelove svorky. 4. Uzavřěte kryt (C) a naśroubujte ho na svorskovnici pomoci odstraněného šroubku. Při kázém prípojení k siti varná deska automatický provede několik sekund trvajíć kontrolu.  Pripojení k elektrickému napajen     Popis ovladaciho panelu
Ovladaci panel
Zapnuti/vypnuti varne desky
K zapnuti varne desky stisknete na asi 2 vteriny tlačitko , až se rozsviti displeje varnych zón. Desku vypnete stiskutim stejného tlačitka, až dispiej zhasne. Vypnou se všechny varné zóny. Jestlizhe jste již varnou desku pouzili, ukalatel zbytkového tepla „H“ bude svitit tak dlouho, dokud se varné zony neochladí. Pokud do 10 věřín po zapnutí varné desky nežvolte zádnou funkci, deska se automaticky vampne.Zapnuti a nastaveni varne zony
   Použiti posuvníku Zyvänsi stipně vykonu  Snizeni stupné vykonu Postavte hrnc na varnou plochu, zapne tere varnu desku a stisknutim prislusneho tlacitka ^ + ^ activujte pozadovanou varnu zonu. Na displeji se rozviti 0^ . Potefbny teplotni stapen muzete nestavovat od nejniizsiho stapen 9, noe muzete pouzt funkci rychleho varu Booster (^ , je-li k dispozici). Pro zvyjseni teplotniho stapen stisknete tlacitko ^ + ^ . Pro snizeni teplotniho stapen stisknete tlacitko ^ - ^ .Vypnuti varné zony
Pro vypnuti varné zony podržte príslúsná tlačitka „ + „ stiskutá alespoř na dobu 3 sekund. Varná zóna se vypne. Je-li stále horká, na příslušné displeji se rozsvití pismeno „H".Zablokováni ovladaciho panelu
Funkce uplné zablokuje ovladani varne desky, aby nemohlo dojit k nahodnemu zaputi. Ovladaci panel zablokujte. kdyz zapnete varnou desku a stiskete a podržite tlačitko funkce zablokováni tlacitek po dobu tř sekund. Pri aktivaci bazni zvukový signál a u symbolu zámku se Rozsvítí světelný ukazatel. Ovladaci panel je zablokovaný s výjmkou funkce vypnuti. Zablokováni ovladaciho panelu vypnete zopakovámim postupu zaputi. Světelný puntk zhasne a varná deska je opě aktivní. Voda, tekutiny vyteklé z hrnc nebo jakékoli prěděméty položěné na tlacitku pod symbolem mohou zpúsobit neúmyslné zapnutí nebo zablokováni ovládacho panelu.Casovač
 Casaová lze použit k nastavení doby vařné na maximální ās 99 minut (1 hodina a 39 minut) u věšch varných zón. Zvolte varnou zónu, kterou chcete nestavit pomoci āsocače, a stisknéte āsocač (viz obrázek). Zazni zvukový signál (viz obrázek). Na displeoji se zobrázi „00“ a rozsvití se kontrlka LED. Hodnotu āsocačme mžěte snizovat a zvyšovat stisknutim a podržením tlacitek „ + “ a „ „ funkce posuvníku. Po uplynú tastaveného ācu zazni zvukový signál a varná zóna se automaticky vypne. Chcete-li āsocač vypnout, stisknéte a podržte tlacitko āscač alespón na 3 vteiny. Pro nastavení āsocač u jiné zóny opakujte vyšev uvedeny postup. Displej āsocač zobrazju vždy āsocač vybrané varné zóny, nebo ten s kratsím nestavením. Chcete-li āsocačzměinit nebo vypnout, stisknéte tlacitko výberu pro zónu āsocače, o který se Jedné.Upozorněni ovládacího panelu
Speciární funkce (je-li k dispozici)
Nekteré modely jsou vyaveny spezialními funkcem.Automatickafunkce
Funkce automatickny nestavv hodn y stupen vkykonu k udrzeni minimalinho varu. Tuto funkci zapne to uvedeni jidel do varu; nejprve stiskne tlacitko zony, a pak tlacitko ()Ukazatel zbytkového tepla
 Varná deska je vybavena ukazatelem zbytkového tepla pro kázdou varnou zónu. Tento ukazatel signalizuje, které varné zony dosud nevychladly na bezpečnou teplotu. Jestlize se na displeji zobrañi, je varná zóna jeste tepla. Na varne zone s tímo ukazelem muzete napriklad udržet jidlo teple, nebo rozehrat málo. Po ochlazení varne zony displej zhasne.Ukazatel nesprávné nebo chybějíci nádoby
 Pokud není nádoba pro indukčni varnu desku vvhodná, je špatné umistěné nebo nemo odpovidají Rozměry, zobrási na displeji ukazatel „chybí nádoba" (vedlejší obrázek). V těchtó pripeadech se doporučuje présouvat nádóblé po varné desce jen do tédoby, než je Rozpoznáno. jestlje varna deska do 60 věřin nezjistí Žadnou nádóbu, sama se vypne.Funkce rychleho varu (,Booster^ ,je-li k dispozici)
Tuto funkci maji jen některé varné zony. Funkce umožnjue maximálni využití vykonu varné desky (např. k rychlému vutedí vody do varu). Pro zapnutí tétó funkce stiskné tlačitko „+“, až se na displeji zobrázi „P". Po 5 minutách použítí se funkce rychlého varu Booster vypne a varné deska automaticky dostavi zónu na stupeč 9.Funkce „FLEXI/CONNEXION ZONE"
Tato funkce se používa v pripadé velkych hrcu, u kterych nepostáčuje plocha jegnotlivych varnch zón, napr. velké kastroly na ryby, maso. Pro aktivaci funkce FLEXI /CONNEXION ZONE stisknéte prosim současně tlacitka + a - tak, jakznázornuju obrazek nizé. "Power management" (Funkce, je-li k disposici)
S fungki „Power Management" má uživatel možnost v pripadé potreby nastavit maximálí dosaizitelny vykon varnéisky. Toto nastavení lze provost kdykoli a trva az do nasledujici změny. Po nastaveni maximaliho pozadovanhevo vykonu varna deska automaticky rfdi rozdeleni vykonu na ruzne varne zony; tim se zajstí, ze tento vykon není nikdy prekrocen, a pritom se regului vsechny zony soucasne bez problém s moznym pretižením. K dispozici jsou 4 urovné nastaveni maximaliho vkykon, zobrazené na displeji: 2,5 - 4,0 - 6,0 - 7,2 kW (hodnota 7,2 kW je maximaliy vkykon varne desky) V dobe nakupu je varna deska nastavena na maximaliy vkykon. Po pripojeni spotbrebié k elektrické zasuvce je moźne během prvnich 60 sekund nastavit požadovanou urově výkonu podle nasledujícíchPokynú:| Krok | Ovládaci panel | Displej |
| 1 | + | Stiskněte a podržte prřiblžné 3 sekundy. |
| 2 | Stisknutím tlacítka funkce Power Management (rǐzení výkonu) potvrdte prěchodázejtík krok. | |
| 3 | - / + | Stisknutím zvolte požadovanou úrovečn z nabízenych možností. |
| 4 | Stisknutím tlacítka funkce Power Management (rǐzení výkonu) potvrdte prěchodázejtík krok. |
Zapnutí/vypnutí zvukového signálu (není k disposzici u verze s posuvnikem)
Po zapnuti varne desky stisknete a nejmene 3 sekundy podrzte tlacitko ^ 一 "a soucasne tlacitko uplne vpravo (zablokovani ovladaciho panelu). CISTENI
VAROVÁNÍ
- Nepouzivejte cistici pristroje na páru. - Před Čišěnín vždy zkontrolujte, zda jsou varné zony vypnuté a ukazatel zbytkového tepla (_·H^ ) je zhasnutý. Nacházi-li se na sklearn logo iXelium™, znamená to, ze vase varná deska je opatrěna povrchem iXelium™. iXelium™ je prvotíridní uprava Whirlpool, ktera zaručuje dokonále vyčěstěné a dlouhotrvajici lesk. Proto tedy,Pokud mate varnou desku iXELIUM, velmi doporučujeme dodržovat následujíci poukny pro Čištěné: - Používejte měkky hadřík (nejlépe z mikrovlákná) navlhcéný vodou nebo běznám Čstićim prostředkem na sklo. Budete-lichtä dale zefektivn vysledky cisteni, ponecheje sklo nekolik minut v kontaktu svlhkou textili.DÜLEZITÉ: K Čišěné varné desky nepoužívejte hrubé houbický ani drátěné. Mohl bye ste jimi poškodit skleněné povrch.
- Po kazdem použí t zvarne desky (až vychladne) odstraťne pripadné nánosy, skvryn a zbytky jidla. - Varné desc škóć cukr a potraviny s vysokým obsahem cukru. Pokud se na ni dostanou, okamžitě je odstrańte. Sul, cukr a pisek mohou poskrabat skleneny povrch desky. K cisteni desky pouzivejte jemny hadrik, absorbcn kuchynske uterky nebo specialni cisticipomucky na varnou desku (respektujte Pokyny vrobce). - Rozlite tekutiny na varnych zónach mohou roz Vibrovávat nebo posouvat nádBó. Po yciisteni varnu desku dukladne osuste.JAK ODSTRANIT PORUCHU
- Pozorné si préçétée a dodržujte pouky v ĸasti „Pouky k použīt". Zkontrolujte, zda nedoslo k vypadku proudu. - Po yvčistěni varnou desku pečíve osuste. - jestlize se po zapnuti varne desky na displeji zobrazi alfanumerické kódy, postupujte podle nasledující tab bulky. - Pokud se po pouziti varné desky nepodáři desku vypnout, ihned ji odpoje tde elektrické sítě.| CHYBOVÍ KÓD | POPIS | MOZNÉ PřICINY | ODSTRANÉNÍ CHBY |
| C81, C82 | OvláDACÍ panel zhasnul z dūvodu príliš vytoké teploty. | Vnitřné teplota elektronických dlù je príliš vytoká. | Počejte s dalíshím vařením, až se varná deska ochladi. |
| C83 | Na ovláDACÍM panelu se v dūsledku závady v elektronickém obvodu zobrázi chybový kód indikujćí vypnutí varné desky. | Varná deska byla napájena nadměrnámnapětím. | Varnou desku lze i nadále používat, zavolejte však do servisu. |
| C85 | Varná deska není schopna prěnášet energii do dna hrnce. | Hrnec není vchodné pro indukčné varnou desku. | Použijte jiný hrnec vchodné pro indukčné vařeni. |
| F02, F04 nebo C84 | Prípojení varné desky nená správné napěti nebo se objevil problém s prívodem elektrického proudu. | Čidlo zjistilo jiné napětí, než je prípojavác napětí. | Odpoje varnou desku od elektrické sítě a zkontrolujte prípojení. |
| F01, F05, F06, F07, F10, F12, F25, F33, F34, F36, F37, F46, F47, F48, F49, F58, F61, F62, F63, F72, F74, F77 | Odpoje varnou desku od elektrické sítě. Počejte několík sekund a znovu ji prípojte. Pokud problem prětrévá, zavolejte do servisu a sdělte zobrazený chybový kód. | ||
HLUK ZAPNUTÉ VARNE DESKY
Za urc'tych okolosti, zavislach predevsim na pouzitem materialu a zpusobu pripravy jidla, mohou indukcni varne desky vydavat pri normalnim provozu zvuky nebo siftt vibrate, jak napriklad: - praskány: zvuk je vyvolán vibracemi, které jsou vyväřeny na spojovacích plochach rozdilných vrstev material'u hrncu; - zvuk klepání pri vařeni na nizšim až středním stipni vykonu: tento zvuk se objevtuje pri vařeni na nizšim až středním stipni vykonu; - rtytmické klepáni: zvuk se objevuje pri vařeni na několika varnych zónach současně nebo pri vařeni na vyskoký vykonny stupné; slabé syčení: sila tohoto zvuku závisi na použité nádobě a na množstvi vařeného jidla; - zvuk ventilator: Indukcni deska je vybavena ventilatorem, ktery zajistue chlazenie elektronickych dlu. A proto,Pokud je varna deska zapnuta nebo také nekolik minut po jejim vypnuti, muzete slyset zvuk ventilatoru. Sila zvuku ventilatoru zavisia na poctu aktivovanych varnych zon. Tento je věj e zéla normalí, ke správněmu provozu indukćni varné desky patri a neznačić zădný druh poruchy.SERVIS
Než zavoláte do servisniho střediska
1. Ověrte si, zda nemužete vyřěsit problуlemу sami pomoci bodů popsanych v „Jak odstranit porchu". 2. Vypněte a znovu zapnéte spotřebič, abyste zjistili, zda porucha stale trva.Jestlize porucha tvá i po provedeni výse uvedenych krokú, zavolejte do njblížsiho servisu.
Uvedte: stručné popis poruchy; typaprésnymodelspotrefbeic; - servisni cislo (cislo za slovem Service na typovem stitku) umistene na spodni strane spotbrebcie (na kovové desticke). svoji uplnou adresu; sve telefonni cislo s predvolbou.SERVICE
 Jestlje je nutna oprava, obrte se na autorizovane servisni stredisko (ktere je zárukou pouziti originánlich nahrdnich dlu a spravné opravy). Nahrdní dily jsou k dispozici 10 let.INSTRUCTIONS IMPORTANTE PRIVIND SIGURANTA
Aceste instruclioni sunt disponibile si pe site-ul web: www.hotpoint.euSIGURANTA DV. ŞI A CELORLALTE PEROANE ESTE FOARTE IMPORTÁ
Acest manual Şi aparatul sunt dotate cu mesaje importante referitoare la siguranță, care trebuie citite Şi respectate intotdeauna.  Acesta este simbolul de pericol, referitor la siguranță, care va averizeazaș despree riscurile potențiae pentru UTILIZATOR și pentru ceilalti. Toate mesajele referitoare la siguranta vor fi precedate de simbolul de pericol 日 de urmatorii termeni: PERICOL
Indica o situatie periculoasa care, dacn u este evitat, va cauza leziuni grave. AVERTIZARE
Indica o situatie periculoasă care, dacă nu este evitata, ar putea cauza leziuni grave. Toate mesajele referitoare la siguranta specifica pericolul potenla care se refera si arata cum se pot reduce riscurile de leziuni, pagube si electrocutare care pot fi cauzate de outilizare incorcta a aparatului. Respectati cu stricte urmatoarele instruanti: - Folosiţi smusi de protectie cánd efectuati toate operatiunile de despachetare si instalare. - Aparatul trebuie sã fie deconnectat de la rețeaua electrică inaînte de a efectua orice operție de instalare. - Instalarea Şi进展情况area trebuie sā fié efectuate de câtre un tehnician calificat, in conformitate cu instruktiunile produçatorului Şi cu respectarea normelor locale in vigoare, referitoare la siguranță. Nu reparati Şi nu inlocuiș nicio piesă a aparatului, dacă acest lucru nu este indicat in mod expresîn manualul de Utilizare. - Impamntarea aparatului este obligatorie. - Cablul de alimentare trebuie să fie suficient de lung pentru a putea conecta aparatul la rețeaua electrică, după ce a fost incorporat în mobila. - Pentru ca instalarea să fie conformă cu normeile de siguranță în vigoare, este besoinar un intrerupător omnipolar cu o distanță minimă de 3 mm în contacte. - Nu utilizati prize multiple tau prelungitoare. - Nu traje di cablul de alimentare al aparatului. - Dupa terminarea instalarii, componentele electrice nu trebuie sa mai fie accesibile pentru utiliser. - Aparatul este destinat in exclusivitate uzului casnic, pentru prepararea alimentelor. Orice alta/utilizare este interzisa (de ex. pentru incalzirea incaperilor). Producedurul nu-si asumnicio responsabilitate pentru folosirea improprie sau pentru reglarea incorrecta a butoanelor. - Aparatul Şi partirile sale accesibile se pot infierbânta in timpul Utilizări. Aveşi grijă să nu atingeti elementele de incâlzire. Copii foarte mici (0-3 ani) Şi copii iii mici (3-8 ani) nu trebuie lasaşi să se aproprie de aparat, cu exceptia cazurilor in care sunt supravegheata in permanență. - Copii ci värste pornind de la 8 ani Şi personale cu capacităti fizice, senzoriale sau mintale reduse sau fãră experientă Şi cunostinte pot folosi acest aparat doar dacă sunt supraveheate sau au fost instruite cu privire la Utilizarea in siguranță a aparatului Şi ințeleg riscurile implicate. - In timpul folosirii.si dupa aceea, nu atingeti elementele de incalzire ale aparatului. Avezi grijca aparatul sa nu vina in contact cu carpe sau cu alte materiale inflamabile pana candid nu s-auracit suficient toate componentele. - Nu puneti materiale inflamabile pe aparat sau in apropierea sa. Grasimile si uleiurile supraincalzite se aprind uor. Supraveghei prepararealimentelor cu multa grasime si multulei. - Nu puneti pe zonele de gătit obiecte metalice, de ex. ustensile de bucătărie (cuțite, furculiţe, linguri, capace etc.), deoarece se pot incălzi. - Este obligatoriu să se instaleze un panou despártitor - care nu este furnizat in dotare - in compartmentul situat dedesubtul aparatului. - Daca suprafata este fisurata, opriti aparatul, pentru a evita riscul de electrocutare (numai pentru aparate cu suprafata din sticla). - Aparatul nu trebuie să fie pus în functiune prin intermediul unui temporizator extern sau printr-un sistem separat de comanda la distanță. - Este periculos să se găteasca pe plita alimente cu grăsime sau ulei, nesupravegheate, deoarece se poate produc un incendiu. Nu incercați NICIODATA să stingeti un incendiu folosind apă: trebuie să opriți aparatulși apoi trebuie să acoperiti flacără, de exemplu cu un capac sau cu o pătura de incendiu. Pericol de incendiu: nu depositaţi obiecte pe zonele de gătit. - Nu utilizati aparate de curățat cu abur. - Obiectele metalice, de ex. cuțite, furculiţe, linguri și capace etc., nu trebuie puse pe suprafăța plitei, deoarece se pot infierbânta. - Dupăutilizare,oprìti elementele plitei de la comenzi Şi nu vă bazăti pe detectorul de oale (numai pentru aparate cu inductie).RECOMANDÁRIPENTRU PROTECTIA MEDIULUI INCONJURÁTOR
Reciclarea ambalajului
Materialul de ambalaj este recicabil 100% si este marcat cu simbolul de reciclare (D). Diferitele parti ale ambalajului nu trebuie aruncate la intamplare, ci trebuie reciclate in conformitate du normele stabilite de autoritatile locale.Aruncarea la gunoi a produsului
Simbolul de pe produs sau de pe documentaia care il insoeoste indicafaptul c'a est produs nu poate fi aruncat impreunacu deseurile menajere, ci trebuie predat la punctul de colectare corespunzator pentru reciclarea aparatelor elecrice si electronice.Economisirea energiai
Pentru a obtine cele mai bune rezultate se recomanda urmatoarele: Utilizi tigai sio ale cu diametrul bazei de dimensionali e Gale cu cele ale zonei de gatit. Utilizi numai oale si tigai cu baza plata. Cand gaiti, pe cat posibil, tinei oalele acoperite cu capacul. Utilizand oala cu presiune se pot reduce si mai mult consumul de energia si durata de preparare. - Pozitiona oala in milieuc zonei de gait desenate pe plita.DECLARATIE DE CONFORMITATE (€
INAINTE DE UTILIZARE
 IMPORTANT: dacă oalele nu sunt de dimensiunile corecte, zonele de gătit nu pornesc. Utilizati numai oale pe care se află simbolul „SISTEM CU INDUCTIE" (Figura de alături). Inainte de a porni plita, posizionati oala pe zona de gătit dorita. Chiar dacă se utilizeazeă oale adevate, zonele de gătit nu pot fi folosite la temperaturi sub 10^RECIPIENTE DEJA EXISTENTE
 Folosiun magnet pertua a verificacda baza oalei este adecvatapentru plita cu inductie: bazele oaleroi ale cratielor nu sunt adecvat da cau npot atrage magnetul. - Verificazioni ca baza oalelor sa nu fe asprà, deoarece ar putea zgaria suprafata plitei. Controlati vasele. - Nu puneti niciodata oalei sì tigāile calde pe suprafaţa panoului de comanda al plitei. Acesta s-ar putea deteriorora. Inainte de a porni plita, amplasati oala pe zona de gatit dorita. Pentru rezultate optime, diametrul bazei oalei trebuie sā se potriveasca cū dimensiunea plitei.| Diametru (cm) | Max (cm) | Min (cm) |
| 14,5 | 14,5 | 10 |
| 18 | 18 | 12 |
| 21 | 21 | 15 |
| 24 | 24 | 15 |
| 26 | 26 | 17 |
| Diametre (cm) | Max (cm) | Min (cm) |
| 28 | 28 | 17 |
| 30 | 30 | 17 |
| FLEXI /CONEXIUNE | 39 - 18 | 12 |
Dimensiunea cristitei
Pentru a determina dimensiunea cratiiei, va rugam sa masa t biaza crati e (consulta imaginea) s sa consulta mai jos tabelul cu latimile recomandate pentru bazel cratielor, pentru outilizare optima si o stabilire corecta a dimensiunilor cratielor. Fiecare zona de gatit are o limita minima de detectare a cratielor, care variaaz in functie de materialul din care este realizata cratiu utilizesa. Prin urmare, trebuie sa utilizez zona de gatt care are diametrul cel mai potrivitpentru crati duimevaostra. POZTIILE RECOMANDATE ALE OALELOR
Dacàutilizati doua oale simultan, asezati-le conform imaginilor de mai jos pentru a obtine performante maxime:    LABEL NIVELURI DE PUTERE
| Nivelul de putere | Tipul de preparare | Utilizarea nivalului (indicata poate fi modificata in functie de experientăși de obiceurile de a găti) | |
| Putere max. | Boost | Încălzire rapidă | Ideală pentru a ridica rapid temperatura alimentelor, până la o fierbere rapidă, în cazul apei, sau pentru Încălzirea rapidă a lichidelor de la gătīt |
| 9-7 | Prăjire - fierbere | Ideală pentru a rumeni, a incepe prepararea, a prăji produse congelate, a fierbe rapid | |
| Putere ridicată | 7-5 | Rumenire - preparare -Încăbșire - prăjire - frigere la grătar | Ideală pentru a rumeni, a menține fierberea, a găti și a frige la grătar (pentru un interval scurt de temp, 5 - 10 minute) |
| Rumenire - preparare -Încăbșire - prăjire - frigere la grătar | Ideală pentru a rumeni, a menține fierberea lentă, a găti și a frige la grătar (pentru o durăță medie, 10 - 20 minute), pentru a preîncălzi accesorile | ||
| Putere medie | Preparare -Încăbșire - prăjire - frigere la grătar | Ideală pentru a inâbși, a menține fierberea delicată, a găti și a frige la grătar (durăță lungă). | |
| 4-3 | Preparare - clocotire - ingroșare - condimentarea pastelor făinoase | Ideală pentru preparare cu durăță lungă de coacere (orez, sosuri, fripturi, pește) cu lichide (de ex. apă, vin, supă, lapte), condimentarea pastelor făinoase | |
| Ideală pentru preparare cu durăță lungă de coacere (volume mai mici de un litru: orez, sosuri, fripturi, pește) cu lichide (de ex. apă, vin, supă, lapte) | |||
| Putere scăzută | 2-1 | Topire - decongelare - mentinere la cald - condimentarea pilafului | Ideală pentru a inmuia untul, pentru a topi delicat ciocolata, pentru a decongela produse de mici dimensioni și a menține la cald alimentele după terminarea gătitului (de ex. sosuri, ghiveciuri, ciorbe) |
| Ideală pentru a menține la cald mâncarea după terminarea gătitului, pentru a condimenta rizoto și a menține la cald platourile care vor fi servite la masă (cu un accesoriu adecvat pentru inducție) | |||
| OFF (Oprit) | Putere zero | Suprațață de sprijin | Plita în pozițe de stand-by sau oprită (este posibil că existe caldură reziduală la terminarea gătitului, semnalată cu H) |
NOTÁ:
In czul preparatel or cu durata scurta de coacere, care necesit a distribuire perfecta caldurii (de exemplu claite), pe zona dubla cu diametrul de 28 cm (dac a exista) se recomanda sa se utilizeze recipiente care sa nu depaseasca 24 cm diametru. Pentru coacerea delicata (de exemplu topirea ciocolatei sa untului) se recomanda sa se utilizeze zonele simple, cu diametru mai mic.INSTALAREA
Dupa c a t despachetat produsul, verificati dacau s-a deteriorar in timpl transportulsi, in caz de probleme, contacta vanzatorul sau Serviciul de Asistenca Clienti. Penta. Pentru dimensiunile necare pentru incorporare si pentru instructiunile de instalare, consultata imaginile de la pagina 2.PREGATIREA MOBILEI PENTRU INCORPORARE
AVERTIZARE
- Installaţi un panou despărțitor sub plită. - Partea inferioarà a produsului nu trebuie sá mai fie accesibila dupa instalare. - In cazul instalarii unui cuptor sub plita, nu mai introduci panoul despärftor.  - Distanţa dintre parte a inferioară a aparatului și panoul despărțor trebuie să respecte dimensiunile indicate in figura. - Pentru corecta fonctionare a produsului, nu blocaţi deschiderea minimă dentre suprafaţa de lucruși latura superioara a blatului mobilei (min.5 mm). - In cazul instalarii unui captor sub plita, asigurati-va că acesta este prevazut cu sistem de răcire. Evitati sia instalati plita deasupara masinii de spalase sau rufe, percenta circuitele electronice sa nu vina in contact cu vaporii si cu umiditatea si sa se deteriorioreze. In cazul instalarii la nivelul blatului, contacta Serviciul de Asistenţa pentru a cere montarea kitului de szuruburi 4801 211 00112. Pentru scoaterea plitei,utilizati o surbelnita (nu este furnizata) si actionati asupra arcurilor perimetrale din partea inferioar a produsului.CONECTAREA LA RETEAUA DE ALIMENTARE CU ENERGIE ELECTRICA
AVERTISMENT
- Deconnectati aparatul de la reteaua electrica. - Instalarea trebuie efectuata de personal calificat care cunoaste reglementarile in vigoare referitoare la instalare si siguranta. Producatoru nu i s aumr rspunderea pntuvatamare corpale suferite de persone saunimale, respectiv pentru daunel asupra bunurilor, cauzate de nerespectarea indicaiilor din acest capitol. Cablul de alimentare trebuie s fié suficient de lung pour a permite scoaterea plitei din blatul de lucru. Asigura-va tensiunea indicata pe placuca cu date tehnice, situata la baza aparatului, corespunde cu tensiunea din locuinţa unde va fi instalat aparatul.   1. Scoatei capacul blocului de conexiuni (A) de suruband surubul si introduceti capacul in balamaua (B) a blocului de conexiuni. 2. Introduci cablul de alimentare in clema s conecta firele la blocul de conexiuni aca cum se indicacn schema de conexiuni situata langb blocul de conexiuni. 3. Fixa cablul de alimentare cu ajutorul clemente. 4. Inchideji capacul (C) si fixati-1 pe blocul de conexiuni insuruband surlubul scos anterior. La ficare conectare la reea, plita efectueaz\* automat o verificare tamp de cateva secunde.   B  c  Conectarea la reteau de alimentare    INSTRUCTIONS DE UTILIZARE
Descrierea panoului de comanda
Panoul de comanda
 Pornire/oprine  Acces rapid  Blocarea panoului de command Gestionare putere/ Buton pentru functia Cronometrule/Blocare  Blocarea panoului de comand Pornire/oprine Comenzi pentru reglaarea zonei de gatiti a afisajului respectiv  Gestionaire putere/ Extraputere Poster/ Automat/Blocare.Pornirea/oprirea plitei
Pentru a porni plita tinei apasata timp de aprox. 2 secunde tasta ① , pana cnd se lumineaz afisajele zonelr de gatit. Pentru a o opri, apasati pe aceeaistastpana cnd se sting afisajele. Toate zonele de gatit sunt dezactivate. Dacplita a fost dejautilizata,indicatorulde calduradreziduala,H"ramane activ pana la racirea zonelor de gatit. Dacă, in interval de 10 secunde după pornerea plitei, nu se seleţează nico functie, plita se dezactivează automat.  Positona oala pe zona de gát, porniì plita, activa zi zona de gát dorita apásánd pe butonul de comanda „+“ - valoarea „0“ se va afiça. Putezi selecţa nivalul de putere dorit, de la min. 0 la max. 9 sau la functia booster „P“, dacă este disponibla. Pentru a mari nivalul de putere, apasa zi pe butonul „+". Pentru a micṣora nivalul de putere, apasa zi pe butonul „-".Dezactivarea zonelor de gatit
Pentru a dezactiva zona de gatit, apasati pe butoanele corespunzatoare 一 + 一 si 一 + 一 si meinteni apasat timp de 3 secunde. Zona de gâtit se dezactiveaza sì, dacà este incà fierbinte, pe afiṣajul zonei après litera „H".Blocarea panoului de comanda
Functia blocheaz comenizile pour a impiedica activare accidentala a plitei. Pentru a activa blocarea panoului de comanda, pornti plita si apasa trei secunde pe butonul corespunzator functiei Blocare; un seminal acustic si indicatorul luminos de langa simbolul sub forma de lacat indicac activare. Panoul de comanda est blocat, cu excepta functiei de oprire. Pentru a dezactiva blocarea comenzilor repetai procedura de activare. Punctuletul luminos se stinge, iar plita este din nou activa. Prezena apei, lichidele revarsate din oale Sau obiectele de orice tip puse pe tasta de sub symbol pot provoca activarea saudezactivarea accidentala a blocari panoului de comanda.Timerul (Temporizatorul)
Timerul poate fiutilizat pentru a seta durata de coacere, pentru un maximum de 99 minute (1 ors39 minute),pentru toate zonele de gait. Alegeti zona de gait la care doriti sfoi ci cronometr, apasati pe cronometru (consultaigi); activare a functiei est indicata printr-un semnal acustic (consultaigi). Pe afaj se vede "00" , iar indicatorul led se aprinde. Se poate reduce sau mari valoarea pentru timer tinand apasate tastele ^ + ^ si 一 ^ ale glisorului. Dupca ce a trecut intervalul del temp setat, se emite un semnal acustic, iar zona de gait se opreste automat. Pentru a dezactiva timerul, tinei apasata tasta Timer cel putin 3 secunde. Pentru a seta timerul pentru alte zona, repeataj punctele de mai sus. Afiajul timerului arata intotdeauna timerul pentru zona selectata sau timerul cel mai scurt. Pentru a modifica sau a dezactiva timerul, apasa i pe butonul de selectare a zonei de gait pentru timerul respectiv.Indicaţii ale panoului de comanda
Funcii speciale (daca exista)
Unele modele sunt dotate cu functii speciale:Automatic function (Functia automata)
Funcia seteaz a automat un nivel de putere adevat poura a mentine temperatura minima necesara pourtu fierbere.Activa taceastafucie dupac ati dat in clocot mancarea, apasand mai intai pe tasta pertu zona respectiva si apoitpe tastaIndicator de calduràrezidualà.
Plta est dotata cu un indicator al caldurii residuale pentru ficare zona de gatit. Acest indicator semnaleaz care sunt zonele de gatit care au inca o temperaturi ridicata. Dacă pe afișaj aparé, zona de gătit șița mai este cală. Dacă zona prezintă această semnalare, se poate menține cală șiâncarea sau se poate topi until, de exemplu. Cànd zona de gàtit se răcește, afișajul se stinge.Indicator pentru oală așezata incorect sau pentru absentă oalei.
 Dac a oala nu este compatibla cu plita dv. cu inductie, daca este incorcct positiionata sa dac na u este de dimensiunile adecvate, pe afaj apare indicatia "oalabenta" (figura de alatur). In aceste situa i se recomanda s repositionati oala pe suprafata plitei pana cnd gasi poziia de functiorare. Dac in interval de 60 secunde nu este detectata nico oala, plita se opreste.Funcția fierbere rapida (functia Booster, dacă este disponibilită)
Funcia est prezenta doar la unele zone de gait si permiteexploatarea maxim a puterii pltei (de exemplu pentru a aduce rapid apa la punctul de fierbere).Pentru a activa functia, apasa t pe tasta " + " pana cand pe afisaj apare " P " .Dupa 5 minute deutilizare a functie Booster, aparatul seteaz automat zona la nivelul 9.FLEXI/CONEXIUNE
Aceastafucie estedestinataoalelorde dimensiuni mari care nu se potrivesc pe zona simpla, de ex., peste, oalarepentru carne. Pentru activa FLEXI / CONEXIUNE, vă rugam să apasați simulant butoanele + si-, după cum este indicat in imaginea de mai jos. "Power management" (daca este disponibilitä)
Datorita functiei „Power management", utilizatorul are posibilitatea de a seta puterea maxima la care poate ajunge plita, in functie de exigentele sale. Această reglare poate fi efectuata in orice moment si este mentinută până la modificarea succesiva. Setand puterea maximà dorita, plita va regla automat repartizarea pe diferitele zone de gàtit, garantànd cã acest prag nu va fi depásit niciodata, cu avantajul de a putea controla allaote zonele simultan, dar fãră probleme de suprasarcinã. 4 niveluri de putere maxima sunt disponibile și apar pe afisaj: 2,5-4,0-6,0-7,2 kW (7,2 kW reprezinta puterea maxima a plitei) In momentul cumpararii, plita este setata la puterea maxim. Dupé ce connecti aparatul la priza electrica, este posibil sá setaṭi nivalul de putere dorit in primele 60 de secunde, urmānd paṣi de mai jos:| Pas | Panou de comandã | Afișaj |
| 1 | + Apăsăși aproximativ 3 secunde | |
| 2 | Apăsăși pe butonul Gestionare putere pentru a confirmă pasul anterior Pe afișaj apare PL | |
| 3 | - / + Apăsăși pentru a seta nivalul ale s reinte optiunile existente | Se aprinde indicatorul luminos, impreună cu indicatoarele luminoase corespunțătoare zonelor de găt it utilizes |
| 4 | Apăsăși pe butonul Gestionare putere pentru a confirmă pasul anterior Pe afișaj apare nivalul setat, care clippește aproximativ 2 secunde, după care plita emite un semnal acustic, apoi se oprește; acum poate fi folosită |
Activarea/dezactivarea semnalului acustic (nu este disponibila la versiunea cu glisor)
Dupa pornirea plitei, apasati s tinei apasat simulan butonul ^ + ^ si cel mai din drepta buton, minimum trei secunde (blocarea panoului de comanda'a).  - Nu folositi aparate de curatat cu jet de vapori. - Inainte de a incepe operatiunile de curătre, asigurați-vă că zonele de gătit sunt oprite șiă indicatorul de caldură reziduală („H“) a disparut. Dacă sticla poartă sigla iXelium™, plita dumneavoastră este dotata cu tehnologia iXelium™. iXelium™ reprizinta finisajul exclusiv al aparatelor Whirlpool, care garantazează curățare perfectăși strălucire de durăț. Prin urmare, dacă aveți o plita IXELIUM, va sugerămă respectați următoarele recomandări pentru curățare: - Folosi t ovavetamole (de preferat din microfbr), umezitca apa sau cu detergent obisnuit pentru geamuri. Dacdorit s imbunatati rezultatele de curatae, azezati o lavet a umeda pe suprafata din sticl a temp de cateva minute. IMPORTANT: Nu folosi t bureti abrazivi sau de sarma. In timp,utilizarea lor poate duce la deteriorarea sticlei. - După ficare/utilizare, curățați plita (după ce s-a răcî) pentru a'ințăture depunerileși petelea cauzate de resturile de mamcare. Zaharul sau alimentete lecu un continut ridicat de zahruri detierea zla s trebuie sa fie indepartate imediat. - Sarea, zaharul si nisipul pot zgaria suprafaa de sticl. - Folosi t o capa moale, hartie absorbantă de bucatărie sau produse speciale pentru curățarea plitei (respectaţi instrucțiunile producătorului). Varsarea lichidelor pe zonele de gatit poate face crati s sa vibreze sa se miste. - Uscati bine plita dupa curata areaeia.GHIDUL DE DETECTARE A DEFECTIUNILOR
Citiș urmati instrucțuniile din sectiunea „Instruijni de Utilizare". - Controli sā nu fe intrerupta alimentarea cu electricitate. - Uscatu bine suprafata plitei dupa ce ati curatat-o. Daca, atunci candi porniti plita, pe afisaj apar coduri alfanumerice, procedati conform tabelului urmator. - Dupä ce aṭi'utilizat plita, dacà nu reusiti s-o opriji, deconnectaṭi-o de la reteaua electrică.| COD DE EROARE | DESCRIERE | CAUZE POSIBILE | ELIMINAREA ERORII |
| C81, C82 | Panoul de comandă se deactivaveță din cauza temperaturi prea ridicate | Temperatura internă a pieselorelectronice este prea ridicată | Aşteptași ca plita SSE se răceascăinainte de a o folosi din nou. |
| C83 | Pe panoul de comandă apare codulde eroare „plită oprită" din cauzaunei probleme la circuitul electronic | Plita a fost alimentataă cu supratensiune | Plita poate fi utilizatañncontinuare, dar luați legătura cuServiciul de Asistență Tehnică |
| C85 | Plita nu poate transfera energia larecipientul de gătit | Oala nu este adecovătă pentru plita cu inductie | Folosiți o altă oală pentru plita cu inductie |
| F02 sau F04 sau C84 | Tensiunea de conectare esteincorrectă sau există o problemă alimentarea de la rețea | Senzorul detectează o discrepanță intretensiunea aparatului și tensiunea dinrețea | Deconnectați plita de la rețea Şicontrolați conexiunea electrică |
| F01, F05, F06, F07, F10, F12, F25, F33, F34,F36, F37, F46, F47, F48, F49, F58, F61, F62,F63, F72, F74, F77 | Deconnectați plita de la rețeaua electrică.Aşteptași căva secunde, apoi reconectați-o.Dacă problema persistă, contactați Serviciul de Asistență Tehnică Şocomunicați codul deEROare | ||
ZGOMOT GENERAT DE PLITA
Plitele cu inductie pot genera o series de zgomote s vibratai i n timul functionarii normale, in functie de tipul de material si modul de procesare a alimentenor, cum ar fi cele descrie mai jos: Zgomot de contact: acest tip de vibraite se datoreaza utilizarii oalelor fabricate din diferite materiale suprapuse. Sunete asemanatoare unor clicuri, la putere medie-sazută: acest sunet se produce cand se setează puterea sazută-medie dorita. Sunete asemanatoare unor ticui intermitente: acest zgomot se produc la utilizarea mai multor zone de gatit si/sau la funzionarea cu randament ridicat. - Suierat slab: acest zgomot este cauzat de tipul de recipient Utilizat si de cantitatea de alimente pe care o contine. Zgomot de fond: plita cu inductie este echipata cu un ventilator care are rolul de a raci componentele electronic; din acest motiv, puteti auzi zgomotul produc de ventilator in timpul functionarii plitei, precum si timp de cateva minute dupa oprirea acesteia. Prin activarea unui numar mai mare/mai mic de zone de gatit, zgomotul de fond al ventilatorului se poate intensifica, respectiv atenua. Aceste caractacteristici sunt normale si esentiale pentru fonctionarea corecta a systemului de inducţie si nu indica un defect Sau o deteriorare.Inainte de a contacta Serviciul de Asistenta Tehnica:
1. Incercati sãrezolvati singuri problema, urmarind punctele descrie in, Ghidul de detectare a defeciunilor". 2. Opriti si porniti din nou aparatul pentru a verifica dacă problema s-a rezolvat. Dacă problema persistăși după verificarile de mai sus, contactați cel mai apropriat Serviciu de Asistență. Indiciati intotdeauna: - o scurtă descriere a defeciunii; - tipul si modelul exact al plitei; numarul de Asistenta (este numarul care se afla dupa cuvantul „Service" de pe placuta cu datele tehnice), situat sub aparat (pe placuta metalica). adresa dv.completa; numarul dv. de telegram.SERVICE 0000 000 00000
 Daca sunt necesare orice fel de reparati, va rugam contacta un Centru de Asistența Tehnică autorizat (pentru a avea garantța ca se folosesc piese de schimb originale si ca reparatiile vor fi executate corect). Piesele de schimb sunt disponibile tamp de 10 ani.ÖNEMLİ EMNIYET TALIMATLARI
Bu talimatlar web sitesinde yer almaktadir: www.hotpoint.eu GÜVENLIĞINIZ VE BASKALARING UGVENLIGI COK ÖNEMLIDIR.
Bu kilavuz ve cihazın Kendisi, önmli güvenlik mesajlari sunar. Bunlar okunmali ve her zaman gozetilmelidir.  Bu tehlike isaretidir; güvenlikle ilgilidir ve hem kullanıclar hem de/DDer kisiler icin potansiyel riskler konusunda uyarıcidir. Tum güvenlik mesajlarinda, tehlike sembolü ve Şu kelimeler yer alacaktır: TEHLIKE
UYARI
Önlem alınmadı durumda ciddi yaralanmaya sebep olacak, tehlikeli bir durumu belirtir.
Önlem alınmadı durumda ciddi yaralanmaya sebep olabilecek, tehlikeli bir durumu belirtir.
Güvenlikle ilgili:tum mesajlar ilgili potansiyel riski belirtir ve cihazin hatali kullanimi nedeniyle yaralanma, zarar ve elektrik soku riskinin{nasil azaltilacagina dair bilgi verir. Sunlara uymaniz gerekir: - Tüm ambalaj acma ve kurulum islemleri sirasinda koruyucu eldivenler kullanin. - Herhangi bir kurulum islemine baslamadan once cihazin guc kaynagibaglintisi kesilmelidir. - Kurulum ve bakim, uzman bir tekniyen tarafindan, üreticinin talimatlarina ve yürüliukteki yerel güvenlik Düzenlemelerine uygün olarakgerekleşirilmelidir. Kilavuzda Özellikle belirtilmediği sucrece bu cihazın herhangi bir parçasin onarmayin vyadehyistirmeyin. -Cihazin topraklanmasi gereklidir. - Elektrik kablosu, kabin icine monte edilen cihazin guç kaynagina baglanabilmesi icin yetleri uzunlukta olmaldir. - KurulumunGPCERLI GUVENLIK DUZENLEMeleriyle uyumlu olmasi icin, kontak açıkligi minuim 3 mm olan uygun buyuklüke bir omnipolar anahtar gerekir. - Coklu prizler veya uzatma kabolari kullanmayin. -Cihazi elektrik kablosundan cekmeyin. -Elektrikli parcalara kurulum sonrasinda kullanici tarafindan erisilmemelidir. Cihaz, sadece ev icinde yemek piisirmek üzere tasarlanmistir. Baska bir kullanima (ornegin oda istma) izin verilmez. Uretici, urunun hatali kullanimi ya da kontrollerin yanlis ayarlanmasi icin her turlu sorumlulu reddeder. -Cihaz ve erisilebilir parcalari kullanim sirasinda isinir. Isitici elamanlara dokunmamaya dikkat edilmelidir. Cocuklar (3-8 ya) ve daha kucik cocuklar (0-3 ya), surekli gozetim altinda tutulmadikları surece cihazdan uzak tutulmaldir. 8 Yaşindaki ve daha;buyüzçocuklar ve kılıtlı fiziksel, algınsal veya zihinsel kapasiteye sahip ya da deneyim ve bilgi eksikligi bulunan kılışer, bu cihazı ancak denetim altinda tutulurlarsa ya da cihazın guvenli kullanı konusunda Kendilerine gerekl talimatlar verilirse ve kendileri de soz konusu tehlikeleri anlarsa kullanabilir. Çocuklarin cihazla oynamaları izin verilmemelidir. Temizlik ve kullanıbakı gozetim altinda olmadan;cocuklar tarafindan yapilamaz. - Cihazin isitma elemanlarina, kullaim sirasinda ve sonrasinda dokunmayin. Cihazin kiyafetlerle vya diger yanici maddelerle, bilesenler tamamen soğumadigün suture temas etmesine izin vermeyin. - Yanici maddeleri cihazin üstüne veya yakınina koymayin. - Asiri isitilmis yaglar ve hayvansal yaglar kolayca alev alabilir. Yag ve hayvansal yag açisindan zengin yiyecekleri pişirken dikkatli olun. -Cihazin altindaki bölmeye, bir ayirici panel (cihazla birlikte verilmez) takilmaldir. - Egér yüey Çatlarsa, elektrik Şoku sehlikesini ortadan kaldirmak yüzün capatın (sadece cam yüye sahip cihazlar icin). -Cihaz,ayiri bir kontrl systemiyle ya da harici bir zamanlayiciyla calistirilmak uzere tasaranmamistr. - Yaq kullanarak yapilan bir piirme islemi sirasinda ocaqin bagindan ayrlmak tehlikel olabilir ve bu durum yanginla sonuclanabilir. Bir yangin ASLA suyla sondurmeye calismayin. Bunun yerine once cihazi kapatin, sonra da alevi bir kapak ya da yangin battaniyesyle ortun. - Yangin tehlikesi: pişirme yüzeklerinde herhangi bir ᵩya birakmayıniz. - Buharl temizleme cihazlari kullanmayin. - Bicak, catal, kasik ve kapak gibi isinabilecek metal objeler ocagün üzerinde birakilmamaldir. - Kullanimdan sonra, ocaği kontrolünü kullanarak kapatin, bunun icin tava dedektörüne güvenmeyin (sadece indüksyonlu cihazlar icin).Ambalajlarin atilmasi
Ambalaj malzemesi %100 geri donuturulebilirde ver geri donusum sembolu (2) taır. Ambalajin ceşitli parçaları cevreye atilmamali, ançak yerel)yönnetmeliklere uygun bicimde atilmaldir.Elden Cikarma
 Cihazin ya da cihazla birlakte gelen belgelerin uzerinde bulunan sembolu, bu urun evsel atiklarla ayni muameleye tabi tutulmamasi gerektigini ve mutlaka elektronik atiklarin geri donusum icin uygun bir toplama noktas goturulmesi gerektigini belirtir.Enerji tasarrufu ipuclari
Optimum sonuclari elde etmek icin suntari onerilir: Kullandiginz tencere v tavalarin alt genislikleri, pisirme bolgesine esit olsun. Sadece diz tabanl tenceleri ve tavalari kullanin. Mümkün olduğunda, tencere kapakları pişirme sirasinda kapal tutun. Daha fazla enerji ve zaman tasarrufu yapmak icin bir basinl piisirici kullanin. Tencereyi, ocak uzerinde isaretlenmis olan pisirme bolgesinin ortasina yerlestirin.UYGUNLUK BEYANI C E
KULLANIMDAN ÖNCE
 ONEMLI: Piirme bölgeleri, eiger tenceleri dogru boyutta deilse açilmaz. Sadee "INDUKSIYON SISTEMİ" sembolünü taşyan tenceleri kullann. Tencereyi, ocağıçmadan.Once gerekli pişirme bolgesin üzerine yerlestirin. Uygun tencereleri kullanarak, pisirme bölgeleri 10^ altı sicialiklarda kullanilamaz.ESKI TENCERELER VE TAVALAR
 Tencerenin induksiyonlu ocak icin uygun olup olmadigi n kontrl etmek icin bir miknatis kullanin. Eger miknatis tarafindan cekilirse, tavalar ve tencereler induksiyonlu ocakta kullanlabilir. - Tencereliner alt kismilarin din üldogundan emin olun. Aksi halde ocak czilebilir. Tabaklari kontrol edin. - Sicak tencereleri veya tavalari asla ocağın kontrol panel yüzeyin üzerine koymayin. Bu, yüzeye zarar verebilir.ÖNERİLEN TENCERE ALT GENİŞLIKLERİ
Tencereyi, ocagacmadan once gerekli piirme bolgesin uzerine yerlestitir. Pisirmeden iyi sonuclar almak icin, tencere tabanin capi, isiticiin boyutu ile ayni olmaldir.| Çap (mm) | Maks (cm) | Min (cm) |
| 14,5 | 14,5 | 10 |
| 18 | 18 | 12 |
| 21 | 21 | 15 |
| 24 | 24 | 15 |
| 26 | 26 | 17 |
| Çap (mm) | Maks (cm) | Min (cm) |
| 28 | 28 | 17 |
| 30 | 30 | 17 |
| FLEXI/CONNEXION | 39 - 18 | 12 |
Tencere buyukligi
Tencerenin boyutunu belirlemek icin, tencerenin altini olcun (bkz. Resim) ve mukemel kullanim veogruto taca seci im asagidaki tablo da onerilen tencere alti genisliklerine bakin. Her pisirme bolgesinin bir minimum tencere algilama limiti vardir ve bu, kullanilan tencerenin malzemesine baglidir. Bu nedenle tencerenizin capina en uygun olan pisirme bolgesini kullanmaniz gerekir.  AEEY Yonetmeligine uygundur.ÖNERİLERN TENCERE KONUMU
En iyi performans icin, iki tencereyi aynianda kullarirken bunları asagida gosterilen sekilde yerleştin:    GUC SEVIYESI TABLOSU
| Güç seviyesi | Pişirme Türü | Seviye kullanı | |
| Maks. güçte | Canlandir | Hzlı istma | Su veya Higginsınan pişirme siviları durumunda Higgins kaynatma icin yiyeceklerin sicalsigi,_hizla artirmak icin idealdir. |
| 9-7 | Küzartma - kaynatma | Küzartma, pişirmeyeCLSAMA, donmuz ürünleri kizartma, Higgins kaynatma icin idealdir | |
| Yüksek Güç | Küzartma - yavaş kizartma - kaynatma -izgara | Yavaş kizartma,yüksek bir kaynama sicalsigi,_koruma, pişirme ve izgara (kisa sureli, 5-10dakika) icin idealdir | |
| 7-5 | Küzartma - pişirme - kırlik atete pişirme -yavaş kizartma -izgara | Yavaş kizartma,düşuk bir kaynama sicalsigi,_koruma, pişirme ve izgara (orta sureli, 10-20dakika), on istma icin idealdir | |
| Ortalamagüç | Pişirme - kırlik atete pişirme -yavaş kizartma -izgara | Kırlik atete pişirme,hafıçte kaynamayıkoruma, pişirme ve izgara(uzun sureli) icin idealdir. | |
| 4-3 | Pişirme - yavaş kaynatma - kalın-lasırmı - makarna hazırlama | Sıvı (örneğin su, Şarap, yüz, et suyu) kullanıralak yapilan uzun sureli pişirmeler (pilav, soslar,rostolar, balık), makarna hazırlama icin idealdir. | |
| Sıvı (örneğin su, Şarap, yüz, et suyu) kullanıralak yapilan uzun sureli pişirmeler (bir litretenaz hacimler: pilav, soslar, rostolar, balık) icin idealdir. | |||
| Düşuk Güç | 2-1 | Eritme - buz_;özme -yiyecekleri sicals tutma - rizotto hazırlama | Tereyağluyumuşatma,;cikolata eritme,küçuk ürünlerin buzunu_;özme ve yeti pişmişiyeceklere (örneğin soslar,_;corbalar) icakin tutmak. |
| Yeni pişmişi yiyecekleri icin tutmak, rizotto hazirlamak ve tabakları icin sekilde sunmak (indüksiyonlu ocalkar icin uygun akesuarlında), | |||
| KAPALI | Srifir Güç | Destekleyici yüsey | Oçak beklememodunda veya kapalıkdir(olası pişirme sonunda kalan sicalsık, "H"ilebelirlir) |
NOT:
28 cm gift piirme bolgesinde (eger varsa) mukemmlisi daqtimi gerektiren hizli pisen yemekler yaparken (mesela krep), capi 24 cm'den buyuk olmayan tavalar kullanin. Hassas piirmeler icin (ornegin cikolata veya tereyaqi eritme), daha kucuk capl tekli bilmeler kullanin.KURULUM
Uunu ambalajindan gkardktan sonra, nakliye sirasinda herhangi bir hasar meydana gelmis mi konrol edin. Herhangi bir sorun durumunda, saticinizla vya Satis Sonrasi Servisle iletisim kurun. Yerlesik boylutlar ve kurulum talimatlari icin, 2. Sayfadaki resilmere bakin.KABININ MONTAJ IÇN HAZIRLANMASI
UYARI
Ocagin alteina bir ayirici panel takin. - Ürünün alt kismina montaj sonrasinda erisilebilmelir. Eger alt kismda bir firin varsa,ayirici panel takmayin.   Cihazin alk kismi ile ayirici panel arasindaki mesafe belirlenirken, sekilde verilen boyutlara uyulmaldir. - Ürünün.Doğru bir sekilde calşmasini saglam icin, ocak ile üntenin ist kismi arasinda minimum gerekli mesafe engellenmemelidir (min. 5 mm). Eger bir tezgah alti firin varsa, firnin bir soogutma sistemine sahip oldugundan emin olun. Elektronik devrelerin buhar veya nemle temas etmemesi icin ocaig bir bulasik makinesinin veya camaqr makinesinin uzerine kurmayin, aksi halde buhar veya nem cihaza zarar verebiril. Ocagi sikmek icin, bir tornavida kullanarak (birlikte verilmez) cihazin alt kismindaki cevre klipslerini kaldirn.ELEKTRIK BAGLANTISI
! UYARI
-Cihazin guc kaynagibaglantisin kesin. - Kurulum, geçerli güvenlik ve kurulum dizenlemelerini bilen vasfli personal tarafindanGPCklestirilmelidir. - Üretici, bu böümude sunulan duzenlemelere uyulmamasindan kaynaklanan maddi zararlar ya da bu nedenle insanlarin veya hayvanlarin yaralanmasi durumunda hiçbir sorumluluk kabul etmez. - Elektrik kablosu, ocagün tezgahtan kaldirilmasona izin verecek kadar uzun olmalidir. - Cihazin alt kismindaki veri plakasinda belirtilen gerilimin, evdeki gerilim ile ayni oldugundan emin olun.   1. Vidayi sikerek terminal kapağın (A) cikarin ve kapağ, terminalin menteseine (B) takin. 2. Kabloyu kelepceye takin ve kabolari terminalin yaninda yer alan kablo semasindo gosterildigi gibi terminal bloguna baglayin. 3. Elektrik kablosunu bir kablo kelepcesi ile sabitleyin. 4. Kapaği (C) kapatı ve terminal üzerindeki vidayı, seksartlan vida ile vidalayın. Sebekeye yapilan her baglanti icin ocak bir kac saniye otomatik kontrolgerekleştrir.    C  Ana guc baglantisi    Kumanda Panosu Açıklamasi
Kumanda panosu
Ocagi ACMA/KAPATMA
Ocagacmak icin, piirme bolgesi ekran yanana kadar duigmesine 2 saniye basili tutun. Kapatmak icin, ekran kapanana kadar ayni duigmeye basin. Tum piirme bologleri devre di si birakilir. Eger ocak kullanimda ise, artik isi gostergesi "H", piirme bollygereri soguyana kadar yanar. Eger agildiktan sonraki 10 saniye icinde hicbir fonksiyonu secilmezse, ocak otomatik okayak kapatilir.Pisirme bolumerinin acilmasi ve ayarlanmasi
 Tavayi piirme bolgesine yerlesterin, ocaigacn, karsikgelen" ^+ dugmesine basarak gerekli piirme bolgesini aktiflestrin, ekranda 0'' ckar. Gerekli guc seviyesini 0-9 araliginda secebilirsiniz ya da eger varsa canlandiriciP"secomini yapabilirsiniz.Guc seviyesini artirmak icin" ^+ dugmesine basin. Guc seviyesini azaltmak icin "duqmesine basin.Pisirme bölgesinin devre disi birakilmasi
Pisirme bolgesini kapatmak icin, karsilk gelen " ^+ ve" - dugmesine 3 saniyeden uzun basili tutun. Pisirme bolgesi kapanir ve eger halen soguksa bolgenin ekraninda "H"ibaresi ickar.Kumanda paneli kilidi
Bu fonksiyon, ocagin kazara etkinlestirilmesini onlemek icin kontrlleri kiliter. Kontrol paneli kilidini etkinlestirmek icin ocaqi acn ve Kilit fonksiyonun duigmesine ic saniye basili tutun; sesli bir sinyal duyulur ve kilit sembolunun yaninda bir goste ger yanarak sinyalin etkinlestirildigi belirtir. Kontrol paneli, kapatma fonki-yonu har olmak uzere kilitlenir. Kontrol kilidini devre di birakmak icin, etkinlestirme prosedurunu tekarlayin. Yanan nokta soner ve ocak tekrar etkinlestirilir. Su olmasi durumunda, tavalardan dokulenu vya sembolum altindaki duigmenin uzerinde bulunan nesneler, kontrol paneli kilidini kazara etkinlestirebilir veya devre di birakabilir.Zamanlayici
Zamanlayi, en fazla 99 dakka (1 saat 39 dakka) olmak üzere timum piirme bolgesleri icin piirme suresini ayarlamak icin kullanilir. Zamanlayi ile kulanlacak piirme bolgesini segin, zamanlayici dugmesine basin (bkz. Sekil); fonksiyunon seildigi bilirten bir sinyal sesi duyulur. Ekranda "00" ckar ve LED gostergesi yanar. Zamanlayici degeri, kaydirma fonksiyonu ile birlikte "+"ve-"dugmelerine basilarak arttilabir vya azalttilabir. Ayarlanan sure doldugunda, bir sesli uyari verilir ve piirme bolgesi otomatik okayapanir. Zamanlayici devre di si birakmak icin, Zamanlayici dugmesine en az 3 saniye boyunca basili tutun. Zamanlayiciyi baska bir bolge icin ayarlamak icin, yukaridaki adimlari tekrarlayin. Zamanlayici ekrani her zaman secil bolge icin zamanlayiciyi veya en kisa zamanlayiciyi goruntuler. Zamanlayiciy deve dis birakmak icin, ilgili zamanlayici icin pisirme bolgesi sejm dugmesine basn.Kumanda paneli uyarilari
Özel İslévler (eşer varsa)
Bazi modellerde özel ilelevler bulunur:Otomatik islev
Bu fonksiyon, bir kisk ateste kaynatmayi korumak icin uygun bir guc seviyesini otomatik olarak ayarlar. Kaynama noktasina gelindiginde, once ilgili bolgenin duğmesine sonra da duğmesine basarak bu fonksiyonu etkinleşirin.Kalanisi gostergesi
 Ocak, her bir piirme bolgesi icin bir artik isgostergesiyde donatilmstir. Bu gostergeler, piirme bolgeriler halen sicaks kullaniciy uyarr. Eger ekranda görüntüleniyorsa, pişirme bölgesi halen sicut demektir. Eger bir pişirme bölgésinin artic isi goftergesi yaniorsa, bu bolge mesela bir tabagı sicut tutmak ya da tereyağı eritmekkın kullanilabilir. Pisirme bolgesi sogodugunda, gostege soner.Hatali tencere veya tencere yok goftergesi
 Eger uygun olmayan, yanlis yerlesterilmis ya da induksyonlu oaginiz icin dokr boyutta olmayan bir tencere kullansaniz, ekranda "no pot" (tencere yok) mesaji cikar (bkz. yandaki resim). Bu durumlarda, calisma icin uygun pozisyonu bulana kadar tencereyi ocak yüezyi uzerine yeniden yerlestirmeniz onerilir. Eger tencere 60 saniye icinde algilanmazsa, ocakapanir.Hizli kaynama fonksiyonu (eger varsa Canlandirici)
Bu fonksiyon sadece beiliri piirme bolligerinde bulunur ve ocagin maksimum gucunun kullanilmasini saglar (ornegin suyu hizla kaynama noktasina kadar isitmak icin). Bu fonksiyonunu etkinlestirmek icin, ekranda "P" qikana kadar "+"duqmesine basl tutun. Canlandirma fonksiyonunun kullanilmasindan 5 dakika sonra, cihaz bolgyei otomatik olarak 9. seviyege getirir.FLEXI
Bu fonksiyon tek bir bölgen yeterli olmadiğ mesela balık, et tenceresi gibi buyuk tencerele durumunda kullanilir. FLEXI/CONNNECTION ZONE özelligiin etkinlestirmek icin, resimde gosterildigi gibi + ve -duğmelerine aynianda basin. "Güç yönetimi" (Fonksiyon varsa)
"Güç yönetimi" fonksiyonu saysinde, kullanı gerektgünde ocağı maksimum güçüne ayarlayabilir. Ayar istendişi zaman etkinleştileril ve bir sonraki degijsklige kadar korunabilir. Gerekl maksimum guc ayarlandiginda, ocak cesisli piirme bollgerindeki dagtim otomatik olarak ayarlar ve bu limitin asla asilmamasini saglar. Bunun avantaji, asiri yuklenme sorumlari yaamadan tum bollgereri aynianda yonetebilmektir. 4 maksimum guç seviyesi vindir ve unlar ekranda söyle gosterilir: 2.5 - 4.0 - 6.0 - 7.2 kW (7.2 kW maksimum guç saylir) Satin alma sirasinda, oak maksimum guce ayarlanmistir Cihaz fisini elektrik prizine taktiginizda, ilk 60 saniyede gerekli guc seviyesini seksilde ayarlayabilirsiniz.| Adım | Kumanda panosu | Ekran | |
| 1 | + | Güç)yönetimDMIğmesiylebirlikte yaklassik3saniye basili tutun(adım1) | |
| 2 | Güç)yönetimDMIğmesinebasarak(adım2)ocenekadişi onaylayin | Ekrandaşugöruntüliner! | |
| 3 | - / + | Seçeneklerarasindan seviye.Sectionimi yapın | Pişirme bölgleri icin kullanımışıklarylabirlikte,isıkyanar |
| 4 | Güç)yönetimDMIğmesinebasarak(adım4)ocenekadişi onaylayin | Ekran,ayarlanasanseviyigiösterir vegüsterim yaklassik2saniye boyunca yanip sönner.Bundan sonra ocak sesli bir sinalyvererek kendisini kapatir ve böylece artık kullanımahir olur. | |
Sesli sinyalin etkinlestirilmesi/devre dişi birakilmasi
Ocag iactkntan sonra, ^ 喜 + ^ 喜 duigmesine ve saq tarafta en di sta bulunan duigmeye ("kumanda paneli kilidi") ayni and an az ic saniye boyunca basili tutun. TEMIZLIK
UYARI
Buharl temizleme cihazlan kullanmayin. - Temizlemeden once, pişirme böglerinin kapatildigiendan ve artik isi gõstergesinin ("H" görtünlendiiginden emin olun. ÖNEMLI: Asindirici süngler veya ovma sünglerleri kullanmayin. Bunlar kullanilirsa cam zarar börebilir. Her kullanim sonrasinda, ocaigi (soguduktan sonra) temizleyin ve yemek artikarini ve lekeleri cikarin. - Seker veya yüksek seker iceriğine sahip yiyecekler ocağa zarar verebilir ve bu yüzden bunlar hemen temizlenmelidir. Tuz, sekere kum,cam yizeyi cizebilir. Yumusak bir bez, emici kagit havlu veya ozel bir ocak temizleyici kullanin (Ureticinin talimatlari uygulayin). - Piisirme bolgesine sivi dokulmeleri, tencerelerin titresmesine veya hareket etmesine neden olabilir.SORUN GIDERME KILAVUZU
"Kullanim talimatlari' bolumunde verilen talimatlari okuyun ve bunlara uyun. Elektrik beslemesinin kapali olmadigi ini kontrol edin. Temizledikten sonra ocagi tamamen kurulayin. Eger ocak aikken ekranda alfanumerik kodlar ckarsa, talimatlar icin asagidaki tabloya basvurun. Eger ocak kullanim sonrasinda kapatilamiyorsa, gic baglantisini kesin.| HATA KODU | AÇİKLAMA | OLASI NEDENLERİ | HATA GIDERME |
| C81,C82 | Kumanda paneli aşkı yükekatica-lıklar nedeniyle kapaniyor | Elektronik parçaların icaticakıç崇高 yükek | Oçakı tekrar kullanmadan olce tamamen soğuması bekleyin. |
| C83 | Kumanda panelinde oçakı n elektronik devredeki bir sorun:yüzundenkapalı olduğunu belirten hata koduaticayor | Pişirme:yüzeyine aşkı gerilim besle-mesi olmʊş | Pişirme:yüzeyi halen kullanilabilir�建ak Satı Sonrasi Servisi arayın |
| C85 | Oçak tencereye yüz veremiyor | Tencere indüsiyonlu oçak ileçinyung雎il | Başa bir indüsiyonlu tencere kullanın |
| F02 vya F04 vya C84 | Bağlantı gerilimi yanlıysa da yüz beslemesinde sorun var | Sensör, cihazın gerilimi ile Schwebeke ger-ilimiarasinda bir tutarsizlik algilyor | Oçakı Schwebeke böglantmiş kestin ve elektrik böglantmiş kontrl edin |
| F01,F05,F06,F07,F10,F12,F25,F33,F34,F36,F37,F46,F47,F48,F49,F58,F61,F62,F63,F72,F74,F77 | Oçakı yüzicanı baslantmiş kestin.Birkı saniye bekledikten sonra tekrar ileçn.Eşer sorun devam ederse,Satı Sonrasi Servisi arayın ve hata kodunu belirtin | ||
ManualFácil