DN3012 - Alimentation électrique IFM - Notice d'utilisation et mode d'emploi gratuit
Retrouvez gratuitement la notice de l'appareil DN3012 IFM au format PDF.
| Caractéristiques | Détails |
|---|---|
| Type de produit | Capteur de pression |
| Plage de mesure | 0 à 10 bar |
| Précision | ± 0,5 % de la pleine échelle |
| Sortie | Signal analogique 4-20 mA |
| Alimentation | 10 à 30 VDC |
| Température de fonctionnement | -25 à 85 °C |
| Installation | Montage sur rail DIN |
| Maintenance | Vérification périodique recommandée |
| Normes de sécurité | Conforme aux normes CE |
| Applications | Industrie, automatisation, systèmes hydrauliques |
| Garantie | 2 ans |
FOIRE AUX QUESTIONS - DN3012 IFM
Questions des utilisateurs sur DN3012 IFM
0 question sur cet appareil. Repondez a celles que vous connaissez ou posez la votre.
Poser une nouvelle question sur cet appareil
Téléchargez la notice de votre Alimentation électrique au format PDF gratuitement ! Retrouvez votre notice DN3012 - IFM et reprennez votre appareil électronique en main. Sur cette page sont publiés tous les documents nécessaires à l'utilisation de votre appareil DN3012 de la marque IFM.
MODE D'EMPLOI DN3012 IFM
Notice de montage implantations AC/DC monophasées
1 Remarque préliminaire 3
1.1 Remarques sur ce document 3 1.2 Symboles utilisés 3 1.3 Avertissements utilisés 3
2 Consignes de sécurité 4
2.1 Général 4 2.2 Montage et raccordement électrique 4 2.3 Interventions sur l'appareil 4
3 Fonctionnement et caractéristiques 4 4 Montage 5
4.1 Position de montage de l'appareil 5 4.2 Fixer l'appareil sur le rail profilé DIN 6 4.3 Démonter l'appareil 6
5 Raccordement électrique 7
5.1 Sections transversales du fil 7 5.2 Sortie DC ok 7
5.2.1 Comportement de commutation 8
5.3Fusible externe 8 5.4 Raccordement en parallele 8
6 Éléments de service et d'indication 9 6.1 États LED 9 7 Fonctionnement 10 8 Données techniques 10 8.1 Fiches techniques 10 9 Maintenance, réparation et élimination 10 10 Homologations/normes 10
Remarques sur ce document 1.1
Ce document s'applique à tous les appareils du type "Power Supply" (référence : DN301x).
Il fait partie de l'appareil et fournit des informations sur l'utilisation correcte du produit.
Ce document s'adresse à des electriciens qualifiés. Ce sont des personnes qui sont capables - grâce à leur formation et expérience - d'apercevoir et d'éviter des dangers potentiels qui pourraient être causés par l'emploi de l'appareil.
Lire ce document avant l'emploi de l'appareil.
Garder ce document pendant le temps d'utilisation de l'appareil.

Symboles utilisés 1.2
Action à réaliser
Retour d'information, résultat
Désignation d'une touche, d'un bouton ou d'un affichage
Référence

Remarque importante
Le non-respect peut aboutir à des dysfonctionnements ou perturbations.

Information
Remarque supplémentaire
Avertissements utilisés 1.3

Avertissement de dommages corporels graves.
Danger de mort ou de graves blessures irréversibles.

Attention
Avertissement de dommages corporels.
Danger de blessures légères, réversibles.
Remarque
Avertissement de dommages matériels.
GÉNÉRAL2.1
Respecter les indications de cette notice.
Prendre en compte les avertissements sur le produit.
Le non-respect des consignes, l'emploi non conforme par rapport aux prescriptions, un montage ou une manipulation incorrect peuvent porter atteinte à la sécurité des personnes et des installations.
Montage et raccordement électrique2.2
L'appareil doit être monté, raccordé et mis en service par un électricien qualifié car seul un montage correct garantit le bon fonctionnement de l'appareil et de l'installation.
Le montage et le raccordement doivent être conformes aux normes nationales et internationales en vigueur. La personne qui installe l'appareil en est responsable.
Interventions sur l'appareil 2.3
Des interventions sur l'appareil ne sont pas autorisées et aboutissent à une exclusion de responsabilité et de garantie. Les interventions sur l'appareil peuvent porter atteinte à la sécurité des personnes et des installations.
Ne pas ouvrir l'appareil.
Ne pas desserrer et éliminer les vis sur l'appareil.
Ne pas introduire des objets dans l'appareil.
Éviter la pénétration de corps étrangers métalliques.
Fonctionnement et CARACTÉRISTIQUES3
L'appareil sert à l'alimentation en tension 24 V DC régulée de systèmes de commande industriels, de capteurs, d'actionneurs ou de systèmes de mesure. Il doit être monté dans un environnement sec et fermé (p. ex. armoire électrique).
Prendre en compte les valeurs de connexion et les conditions environnantes permissibles -> données imprimées sur l'appareil ou fiche technique.

Ne pas utiliser l'appareil dans des applications où un mauvais fonctionnement de l'appareil peut porter atteinte à la sécurité des personnes.
Position de montage de l'appareil 4.1

Tension de sortie DC en haut1:
Tension d'entrée AC en bas2:
Refroidissement par convection:
Espaces libres pour le refroidissement par convection
Monter le rail DIN horizontalement pour le logement de l'appareil.
Respecter les espaces libres pour le refroidissement par convection (→ fiche technique).
Fixer l'appareil sur le rail profilé din4.2


Incliner l'appareil et le positionner sur l'arête supérieure du rail DIN.1.
Pivoter l'appareil vers le bas et le verrouiller par pression. 2.
On entend l'appareil s'encliqueter.
Démonter l'appareil 4.3


Pousser l'étrier de verrouillage vers le bas ou alternatively le tirer vers le 1.
bas à l'aide d'un tournevis.
Pivoter l'appareil vers le haut et l'éliminer du rail DIN.2.
Raccordement ÉLECTRIQUE5

Tensions dangereuses au contact. Un choc électrique est possible en cas de contact.
Mettre l'installation hors tension avant de manipuler l'appareil.
Protéger le système contre une remise sous tension non intentionnelle.
Sélectionner les câbles de raccordement selon la puissance connectée et les conditions environnantes.
Utiliser des embouts d'extrémité des fils pour des câbles de raccordement flexibles.
Raccorder un conducteur de protection à la borne de terre PE.
Raccorder l'appareil selon le schéma de branchement.
Ne pas utiliser des bornes sans marquage.
Couple de serrage: 0,5...0,6 Nm (pour toutes les bornes)
Schéma de branchement → données imprimées sur l'ordinateur ou fiche technique
Sections transversales du fil 5.1
| Bornes Type | de cable Section transversale du fil AWG | |
| DC ok | massif | 0,14...1,5 mm² |
| flexible | 0,25...1,5 mm² (avec embout d'extrémité des fils) | |
| AC | massif | 0,2...6 mm² |
| flexible | 0,25...4 mm² (avec embout d'extrémité des fils) | |
| DC | massif | 0,2...6 mm² |
| flexible | 0,25...4 mm² (avec embout d'extrémité des fils) |
5.2 Sortie DC ok
La sortie DC ok est une sortie relais libre de potentiel (normalement ouvert). Elle permet le raccordement de systèmes de signalisation ou d'appareils de commande.
Valeurs de raccordement sortie DC ok → fiche technique
Comportement de commutation
| Sortie DC ok Mode de fonctionnement Tension de sortie DC | ||
| relais enclenché(contact NO fermé) | mode de fonctionnementnormal | 24...28 V |
| relais déclenché(contact NO ouvert) | surcharge < 20 V | |
| court-circuit < 3 V | ||
| surtension (externe) > 32 V | ||
| aucune tension d'entrée AC | 0 V | |
| erreur d'appareil interne | ||
Fusible externe 5.3
Protéger les fils de la tension d'entrée AC avec un disjoncteur de protection
(valeur du fusible → données imprimées sur l'appareil ou fiche technique).
Prendre en compte les règlements nationaux.
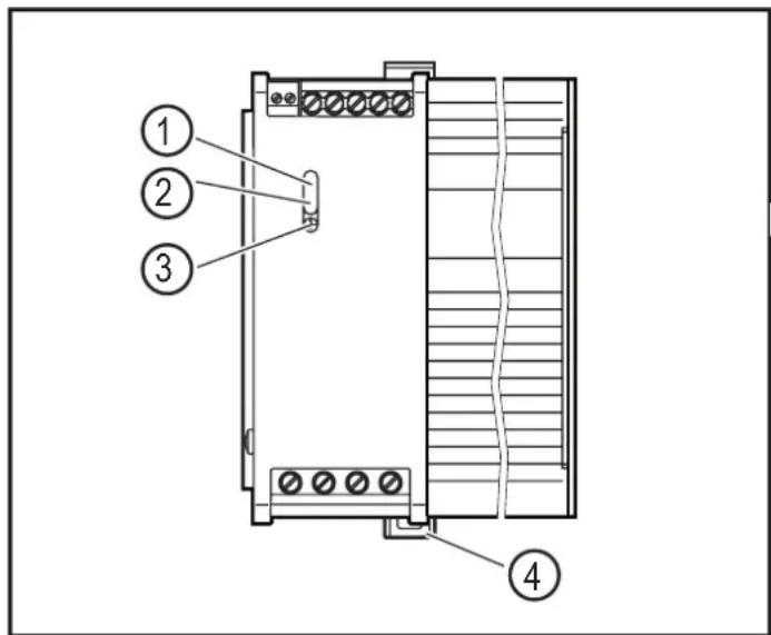
Raccordement en parallèle 5.4

schéma de principe

Raccorder un maximum de 2 appareils de la même séquence en parallèle
(p. ex. 2 x DN3011 ou 2 x DN3012).

Les tensions de sortie DC des appareils doivent être identiques.
Vérifier les tensions de sortie DC des appareils par un voltmètre et les adapter en tournant le potentiamètre, si nécessaire ( 6 Éléments de service et d'indication).

Faire attention lors de la manipulation de l'appareil sous tension. L'indice de protection IP 20 permet le contact avec des tensions dangereuses au contact. L'appareil ne peut être manipulé que par un électricien qualifié.
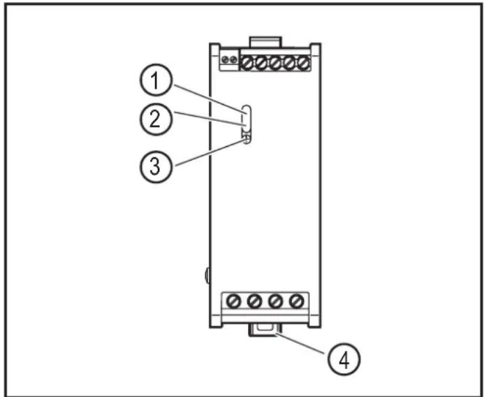
Éléments de service et d'indication6


largeur de l'appareil 50 mm largeur de l'appareil >50~mm
LED DC ok (verte)1:
LED DC ovw (rouge)2:
potentiomètre tension de sortie 24...28 V DC3:
étrier de verrouillage:
Etats LED6.1
| DC ok (verte) | DC ovl (rouge) | Mode de fonctionnement Tension de sortie DC | |
| allumée éteinte | mode de fonctionnement normal | 24...28 V | |
| éteinte | allumée surcharge < 20 V | ||
| éteinte | court-circuit < 3 V | ||
| surtension (external) | >32 V | ||
| aucune tension d'entrée AC | 0 V | ||
| erreur d'appareil interne | |||

Attention
En raison de l'échauffement interne, des hautes températures sensibles peuvent se produire sur la surface de l'appareil. Des brûlures peuvent se produire. Ne pas toucher l'appareil en fonctionnement et immédiatement après la mise hors tension.
Fiches techniques 8.1

Des fiches techniques sont disponibles à : www.ifm.com → Fiche technique : → DN301x
Maintenance, réparation et ÉLIMINATION9
L'appareil ne nécessite aucune entretien et ne contient pas de composants à maintenir par l'utilisateur.

Avertissement
Les interventions sur l'appareil peuvent porter atteinte à la sécurité des personnes et des installations. L'appareil ne doit être réparé que par le fabricant. Ne pas ouvrir le boîtier.
En cas de mauvais fonctionnement de l'appareil ou en cas de doute, contacter le fabricant.
Assurer une élimination écologique de l'appareil selon les règlements nationaux en vigueur.
HOMOLOGATIONS/NORMES10
Normes d'essai et réglementations fiche technique.

La Déclaration de Conformité CE et les homologations sont disponibles à: www.ifm.com Fiche technique: DN301x Homologations
Notice Facile