DHD36U990IS - Hotte Dacor - Notice d'utilisation et mode d'emploi gratuit
Retrouvez gratuitement la notice de l'appareil DHD36U990IS Dacor au format PDF.
| Caractéristiques | Détails |
|---|---|
| Type de hotte | Hotte murale |
| Dimensions | 36 pouces (91,4 cm) de largeur |
| Capacité d'extraction | Jusqu'à 600 CFM |
| Niveaux de ventilation | 3 niveaux de puissance |
| Éclairage | LED intégré |
| Filtration | Filtres à graisse en aluminium, lavables au lave-vaisselle |
| Installation | Installation murale requise |
| Matériaux | Acier inoxydable |
| Niveau sonore | Max 65 dB |
| Garantie | 1 an |
FOIRE AUX QUESTIONS - DHD36U990IS Dacor
Téléchargez la notice de votre Hotte au format PDF gratuitement ! Retrouvez votre notice DHD36U990IS - Dacor et reprennez votre appareil électronique en main. Sur cette page sont publiés tous les documents nécessaires à l'utilisation de votre appareil DHD36U990IS de la marque Dacor.
MODE D'EMPLOI DHD36U990IS Dacor
| Model | DHD36U990IS/DA DHD42U990IS/DA DHD54U990IS/DA | DHD36U990IM/DA DHD42U990IM/DA DHD54U990IM/DA |
| Extension Kit DHD-D0 | 000IS/DA DHD-D0000IM/DA |
Avant de commencer 25
Remarques importantes 25
Service à la clientèle 25
Exigences d'installation 29
Exigences électriques 29
Exigences de ventilation 30
Méthodes d'évacuation 30
Options de conduits 31
Ce que contient la boîte 32
Outils et pièces 33
Dimensions et dégagements 34
Accessoires - Vendus séparément 34
Installation 34
Instructions d'installation 34
Structures de support des plafonds 35
Installation de la hotte à ventilateur unique 36
Raccordement électrique pour hotte 38
Installer la hotte à double ventilateur 39
Raccordement électrique de la hotte 42
Installation de la couverture du conduit 43
Terminer l'installation 44
Fixez le badge de la plaque Dacor 45
Installateur
- Dans l'intérêt de la sécurité et pour minimiser les problèmes, lisez attentivement ce manuel avant de commencer l'installation.
- Laissez ce manuel au client.
- Montrez au propriétaire comment couper l'alimentation de la hotte.
Client
Conservez ce manuel pour vous y référer à titre personnel et professionnel.
Service à la clientèle
Pour résoudre les questions et les problèmes d'installation, contactez votre revendeur Dacor ou le service client Dacor. Avant d'appeler, munissez-vous du modèle et du numéro de série de la hotte. (Voir l'étiquette de données à l'intérieur de la hotte, au-dessus des filtres, sur la paroi arrière du châssis).
Toutes les spécifications sont susceptibles d’être modifiées sans préavis. Dacor n’assume aucune responsabilité pour de tels changements.
2022 Dacor, tous droits réservés.
APPROVÉ POUR LES APPAREILS RÉSIDENTIELS
POUR USAGE RÉSIDENTIEL UNIQUEMENT
LISEZ ET CONSERVEZ CES INSTRUCTIONS
VEUILLEZ LIRE LE GUIDE D'INSTALLATION EN ENTIER AVANT DE
PROCEDER.
L'INSTALLATION DOIT ETRE CONFORME À TOUS LES CODES LOCAUX.
IMPORTANT: Conservez ces instructions pour l'usage de l'inspecteur électrique
local.
INSTALLATEUR: Veuillez laisser ces instructions avec cette unité pour le propriétaire.
PROPRIÉTAIRE: Veuillez conserver ces instructions pour toute référence ultérieure.
Symboles utilisés dans ce manuel
Dangers ou pratiques dangereuses pouvant entraîner des blessures graves ou la mort.
Coupez le circuit électrique qu’au panneau de service et verrouillez le panneau avant de cabler cet appareil.
Attention
Dangers ou pratiques dangereuses pouvant entraîner un choc électrique, des blessures corporelles ou des dommages matériels.
Remarque
Conseils et instructions utiles.
Ces icônes et symboles d'avertissement sont là pour éviter de vous blesser ou de blesser d'autres personnes.
Veuillez les respecter scrupuleusement. Après avoir lu cette section, conservez-la dans un endroit sûr pour pouvoir la consulter ultérieurement.
Ce produit contient des produits chimiques connus dans l'État de Californie pour provoquer des cancers et des anomalies congénitales ou d'autres problèmes de reproduction. - www.p65warnings.ca.gov
FCC Attention:
Tout changement ou modification non expressément approuvé par la partie responsable de la conformité pourrait annuler l'autorisation de l'utilisateur à utiliser l'équipement.
Cet appareil est conforme à la partie 15 des règles de la FCC. Son fonctionnement est soumis aux deux conditions suivantes :
- Cet appareil ne doit pas causer d'interférences nuisibles, et
- Ce dispositif doit accepter toute interférence requise, y compris les interférences qui provoquent un fonctionnement indésirable. Pour les produits vendus sur les marchés américain et canadien, seuls les canaux 1~11 sont disponibles. Vous ne pouvez pas sélectionner d'autres canaux.
Cet équipement a été testé et déclaré conforme aux limites d'un appareil numérique de classe B, conformément à la partie 15 des règles de la FCC. Ces limites sont conçues pour fournir une protection raisonnable contre les interférences nuisibles dans une installation résidentielle.
FRANÇAIS26
Cet équipement génère, utilise et peut émettre une énergie de fréquence radio et, s'il n'est pas installé et utilisé conformément aux instructions, il peut causer des interférences nuisibles aux communications radio.
Cependant, il n'y a aucune garantie que des interférences ne se produisent pas dans une installation particulière. Si cet équipement provoque des interférences nuisibles à la réception de la radio ou de la télévision, ce qui peut être déterminé en éteignant et en allumant l'équipement, l'utilisateur est encouragé à essayer de corriger les interférences par une ou plusieurs des mesures suivantes :
- Réorienter ou déplacer l'antenne de réception
- Augmenter la distance entre l'équipement et le récepteur. Raccorder l'appareil à une prise de courant située sur un circuit différent de celui de la radio ou du téléviseur.
- Consulter le revendeur ou un technicien radio/TV expérimenté pour obtenir de l'aide.
Declaration d'exposition aux radiations de la FCC:
Cet équipement est conforme aux limites d'exposition aux radiations fixées par la FCC pour un environnement non contrôlé. Cet équipement doit être installé et utilisé de manière à ce qu'il y ait au moins 20 cm (8 pouces) entre le radiateur et votre corps. Cet appareil et son (ses) antenne(s) ne doivent pas être situés au même endroit ou utilisés conjointement avec une autre antenne ou un autre émetteur.
2. ICAvis
Le terme "IC" précédant le numéro de certification radio signifie uniquement que les spécifications techniques d'Industrie Canada ont été respectées. Le fonctionnement est soumis aux deux conditions suivantes : (1) cet appareil ne doit pas causer d'interférences, et (2) cet appareil doit accepter toute interférence, y compris les interférences qui peuvent causer un fonctionnement non désiré de l'appareil.
Cet appareil numérique de classe B est conforme à la norme ICES-003 du Canada. Pour les produits vendus sur les marchés américain et canadien, seuls les canaux 1~11 sont disponibles. Vous ne pouvez pas sélectionner d'autres canaux.
Declaration d'exposition aux rayonnements d'ic:
Cet équipement est conforme aux limites d'exposition aux radiations IC RSS-102 établies pour un environnement non contrôlé. Cet équipement doit être installé et utilisé de manière à ce qu'il y ait au moins 20 cm (8 pouces) entre le radiateur et votre corps. Cet appareil et son (ses) antenne(s) ne doit pas être colocalisé(e)s ou utilisé(s) en conjonction avec une autre antenne ou un autre émetteur.
- POUR RÉDUIRE LES RISQUES D'INCENDIE, D'ÉLECTROCUTION OU DE BLESSURE, RESPECTEZ LES PRECAUTIONS SUIVANTES : N'utilisez cet appeareil que de la maniere prevue par le fabricant. Si vous avez des questions, contactez le fabricant
- Avant de procéder à l'entretien ou au nettoyage de l'appareil, coupez l'alimentation au niveau du panneau de service et verrouillez ce dernier pour éviter toute mise sous tension accidentelle. Si le panneau de service ne peut pas être verrouillé, fixez solidement un dispositif d'avertissement bien visible, tel qu'une étiquette, sur le panneau de service.
- Les travaux d'installation et le câblage électrique doivent être effectués par une ou plusieurs personnes qualifiées, conformément à tous les codes et normes applicables, y compris la construction résistante au feu.
- Une quantité suffisante d'air est nécessaire pour une bonne combustion et l’évacuation des gaz par le conduit de fumée (cheminée) des appareils à combustible, afin d’éviter le refoulement. Suivez les directives du fabricant de l’équipement de chauffage et les normes de sécurité telles que celles publiées par la National Fire Protection Association (NFPA), l’American Society for Heating, Refrigeration and Air Conditioning Engineers (ASHRAE) et les autorités locales. Lorsque vous coupez ou percez le mur ou le plafond, n’endommagez pas le câble électrique et les autres services publics cachés.
- Les ventilateurs canalisés doivent toujours être évacués à l'extérieur.
Attention
Pour une utilisation générale de ventilation uniquement. Ne pas utiliser pour évacuer des matières et des vapeurs dangereuses ou explosives.
Attention
Pour réduire le risque d'incendie et pour évacuer correctement l'air, veillez à faire passer l'air à l'extérieur - ne faites pas passer l'air évacué dans des espaces situés à l'intérieur des murs ou des plafonds, dans des greniers ou dans des vides sanitaires, ou dans des garages.
Avertissement
POUR RÉDUIRE LE RISQUE D'INCENDIE, UTILISEZ UNIQUÉMENT DES CONDUITS METALLIQUES
Avertissement
POUR RÉDUIRE LE RISQUE D'UN FEU DE GRAISSE SUR LA CUISINIÈRE :
- Ne laissez jamais les unités de surface sans surveillance à des réglages élevés. Les débordements provoquent des fumées et des projections de graisse qui peuvent s'enflammer. Faites chauffer les huiles lentement sur des réglages bas ou moyens.
- Mettez toujours la hotte en marche lorsque vous cuisinez à feu vif ou lorsque vous flambez des aliments (par exemple, Crêpes Suzette, Jubilée de cerises, Boeuf au poivre flambé).
- Nettoyez fréquemment les ventilateurs. La graisse ne doit pas s'accumuler sur le ventilateur ou le filtre. Utilisez toujours des ustensiles de cuisson adaptés à la taille de l'élément de surface.
Avertissement
AFIN DE RÉDUIRE LE RISQUE DE BLESSURES AUX PERSONNES EN CAS DE FEU DE GRAISSE SUR LE DESSUS DE LA CUISINIÈRE, OBSERVEZ LES PRECAUTIONS SUIVANTES:*. SMOTHER FLAMES with a close fitting lid, cookie sheet, or metal tray, then turn off the burner.
FAITES ATTENTION POUR ÉVITER LES BRULURES. Si les flammes ne s'éteignent pas immédiatement, EVACUEZ ET APPELEZ LES POMPIERS.
- Ne ramassez jamais une casserole qui s'enfl amme - vous pourriez vous brûler. N'TILISEZ PAS D'EAU, ni de torchons ou de serviettes mouillés - une violente explosion de vapeur en résultatait. Utilizez un extincteur UNIQUEMENT si :
- Vous savez que vous avez un extincteur de classe ABC et vous savez déjà comment l'utiliser.
- Le feu est petit et contenu dans la zone où il s'est déclaré.
- Les pompiers sont appelés.
- Vous pouvez combattre le feu en tournant le dos à une sortie.
Selon le document "Kitchen Fire Safety Tips" publié par la NFPA.
Avertissement
Pour réduire le risque d'incendie ou de choc électrique, n'utilisez pas ce ventilateur avec un dispositif de contrôle de vitesse à semi-conducteurs.
Avertissement
Ne laissez pas les enfants s'approcher de cet appareil. Ne laissez pas les enfants jouer avec cet appareil.
Conservez tous les matériaux d'emballage hors de portée des enfants. Mettez au rebut les matériaux d'emballage de manière appropriée après avoir déballé l'appareil.
Remarque
Convient pour une utilisation dans la zone de cuisson domestique.
Important
Respectez tous les codes et ordonnances en vigueur. Il est de la responsabilité du client :
- Pour contacter un installateur électrique qualifié.
- Pour s'assurer que l'installation électrique est ajustée et conforme au National Electrical Code, ANSI/NFPA 70 - dernière édition, ou aux normes CSA C22.1-94, Code canadien de l'électricité, Partie 1 et C22.2 No.0-M91 - dernière édition * et à tous les codes et ordonnances locaux.
Si les codes le permettent et qu'un fil de terre séparé est utilisé, il est recommandé qu'un électricien qualifié détermine que le chemin de terre est ajusté.
Une copie des normes du code ci-dessus peut être obtenue auprès de :
- Un circuit électrique de 120 volts, 60Hz c. a. seulement, 15 ampères, avec fusible est nécessaire.
- Si la maison a un câblage en aluminium, suivez la procédure suivante.
- Connectez une section de fil de cuivre solide aux fils de la queue de cochon.
- çus et répertoriés UL pour joindre le cuivre à l'aluminium.
- Suivez la procédure recommende par le fabricant du connecteur électrique. La connexion aluminium/ cuivre doit être conforme aux codes locaux et aux pratiques de câblage acceptées par l'industrie.
- La taille des fils et les connexions doivent être conformes à la puissance nominale de l'appareil, telle que spécifiée sur la plaque signalétique du modèle/ de la série. La plaque signalétique du modèle/ de la série se trouve derrière le contrôle sur la paroi arrêtée de la hotte.
- La taille des fils doit être conforme aux exigences du National Electrical Code, ANSI/NFPA 70 (dernière édition), ou aux normes CSA C22.1-94, Code canadien de l'électricité, Partie 1 et C22.2 No. 0-M91 (dernière édition et tous les codes et ordonnances locaux).
Exigences de ventilation
- Le système de ventilation doit se terminer à l'extérieur.
- Ne terminez pas le système de ventilation dans un grenier ou un autre endroit fermé.
- N'utilisez pas de capuchon mural de type blanchisserie de 10,2 cm (4 po). Utilisez uniquement un évent en métal. Un évent en métal rigide est recommandé.
- Un évén en plastique ou en feuille de métal n'est pas recommandé.
- La longueur du système d'évacuation et le nombre de coudes doivent être réduits au minimum pour assurer une performance efficace. Pour un fonctionnement efficace et silencieux :
Méthodes d'évacuation
Pour utiliser la sortie supérieure de la hotte pour ventiler votre hotte, un système de ventilation rond de 10^ (25,4 cm) est nécessaire. Ce système d'évent n'est pas inclus et doit être acheté séparément.
Remarque
L'event flexible n'est pas recommandé. L'event flexible crée une contre-pression et des turbulences d'air qui réduisent considérablement les performances. Le système de ventilation peut se terminer soit par le toit, soit par un mur. Pour une évacuation à travers un mur, un coude est nécessaire.
Installez toujours un couvercle d'évent métallique à l'endroit où les conduits sortent de la maison. La hotte doit être ventilée uniquement à l'extérieur du bâtiment.
Directives pour l'installation des conduits
Pour des raisons de sécurité, les conduits doivent être évacués directement à l'extérieur (pas dans un grenier, sous la maison, dans le garage ou dans un espace fermé). Ne dépassez pas 15,24 m (50 ft) de conduit. Les conduits doivent être aussi courts et droits que possible. Les coudes et les raccords de transition réduisent l'efficacité du flux d'air.
- N'utilisez pas plus de trois coudes à.
- Assurez-vous qu'il y a un minimum de 76,2 cm (30 po) de conduit droit entre les coudes si plus d'un coude est utilisé. N'installez pas 2 coudes ensemble.
- Utilisez des colliers pour sceller tous les joints du système de ventilation.
- Le système d'évacuation doit être équipé d'un registre. Si le capuchon du toit ou du mur est muni d'un registre, n'utilisez pas le registre fourni avec la hotte.
- Utilisez du calfeutrage pour sceller l'ouverture du mur extérieur ou du toit autour du chapeau.
- La taille de l'objet doit être uniforme.
Les coudes dos à dos et les virages en "S" donnent un très mauvais débit et ne sont pas recommandés. Une courte longueur droite de conduit à l'entrée d'un ventilateur distant donne le meilleur débit.
Recommandations pour les conduits
Une bonne performance dépend d'un conduit approprié.
Le temps froid
Les installations par temps froid doivent être munies d'un déflecteur d'air supplémentaire pour minimiser le retour de l'air froid et d'une coupure thermique non métallique pour minimiser la conduction des températures extérieures dans les conduits. Le registre doit se trouver du côté de l'air froid de la coupure thermique. La rupture doit être aussi proche que possible de l'endroit où le conduit pénètre dans la partie chauffée de la maison.
Air d'appoint
Les codes du bâtiment locaux peuvent exiger l'utilisation de systèmes d'air d'appoint lors de l'utilisation de systèmes de ventilation à conduits dont le mouvement d'air est supérieur au CFM spécifique. Le CFM spécifique varie d'une localité à l'autre. Il incombe au propriétaire et à l'inclasseur de déterminer si des exigences et/ou des normes supplémentaires s'appliquent à des installations spécifique.
Options de conduits
La hotte est équipée d'une transition ronde de 10" (25,4 cm) pour l'évacuation des fumées vers l'extérieur.
Suivez scrupuleusement les instructions données dans ce manuel. Dacor n'est pas responsable des événements, désagréments, dommages ou incendies causés par le non-respect des instructions de ce manuel.
Préparation
Ne coupez pas une solive ou un montant à moins que cela ne soit absolument nécessaire. Si une solive ou un montant doit être coupé, il faut construire un cadre de support.
Des matériaux de fixation sont fournis pour fixer la hotte à la plupart des types de murs/plafonds.
Cependant, un technicien qualifié doit vérifier l'adéquation des matériaux en fonction du type de mur/ plafond.
Avant de faire des découvertes, assurez-vous qu'il y a un dégagement approprié dans le plafond ou le mur pour le conduit d'évacuation.
Attention
Montez cette hotte de façon à ce que le bord inférieur se trouve au-dessus de la surface de cuisson soit à au moins 76,2 cm (30 po) pour une surface de cuisson au gaz ou 60,9 cm (24 po) pour une surface de cuisson électrique.
Il n'y a pas de hauteur maximale de montage, mais nous recommandons de ne pas installer la hotte à plus de 36" (91,4 cm) au-dessus de la surface de cuisson. Pour chaque pouce (2,54 cm) au-dessus de 36" (91,4 cm), l'efficacité du captage des fumées et de l'humidité diminue à un rythme croissant et peut ne pas offrir un niveau acceptable de performance de ventilation.
Cette hotte est destinée à un usage domestique.
Vérifiez la hauteur de votre plafond et la hauteur de la hotte avant de désirer votre hotte.
Ventilation par le toit Ventilation par le mur
A. Capuchon de toit B. 10" (25.4 cm) Event rond
A. Capuchon de toit B. 10" (25.4 cm) Evénement rond
Exigences d'installation
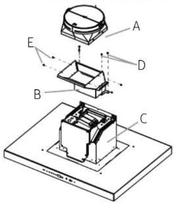
Ce que contient la boîte
| Montage de la hotte (1) 36" ventilateur unique | Extension du couvercle du conduit (2) 36"ventilateur unique | 10" Transition (1) 36"ventilateur unique | Supports horizontaux (2) 36"ventilateur unique |
| Adaptateur de transition (1) 36"ventilateur unique | Supports verticaux supérieurs (4) Supports verticaux inférieurs (4) 36"ventilateur unique | ||
| Tiroir à hotte (1) 42"ventilateur double 54"ventilateur double | Boîtier du moteur du ventilateur avec transition de 10" (1) 42"ventilateur double 54"ventilateur double | Horizontal support (1) 42"ventilateur double 54"ventilateur double | Duct cover extension (2) 42"ventilateur double 54"ventilateur double |
| Supports verticaux (4) 42"ventilateur double 54"ventilateur double | |||
| Sac de matériel (1) Littérature du produit (2) Cache-conduits | supérieurs (2) Cache-conduits inférieurs (2) | Filtres 36" (2) 42" (3) 54" (3) | |
Attention
Retirez le carton avec précaution. Portez des gants pour vous protéger des bords tranchants.
Avertissement
Retirez le film de protection avant la mise en service.
Pièces fournies
- Sac de matériel avec :
| Pièce # Qté | |
| 5 x 45 mm | 4 |
| 8 x 40 mm | 4 |
| 3.5 x 9.5 mm | Modèle à ventilateur unique (4) |
| 4.2 x 8 mm | Modèle à ventilateur unique (70) Modèle à doubleventilateur (40) |
| 3.5 x 6.5 mm | 2 |
| Adaptateur Torx | #10 - Modèle à ventilateur unique (1) #20 - Modèle à ventilateur unique (1) #20 - Modèle à doubleventilateur (1) |
| Vis de montage | 2 |
| Gabarit de montage | 1 |
Outils/matériaux requis
- Niveau
- Percez avec une mèche de 3 / 16 (4,76 mm). Crayon. Pince à dénuder ou couteau universel. Ruban à mesurer ou règle.
- Pinces
- Pistolet à calfeutrer et produit de calfeutrage résistant aux intempéries
- Pinces à événements Scie sauteuse Cisailles à métaux
- Tournevis:
- Phillips
- Plat - Lame
Pièces nécessaires
Cable d'alimentation domestique - Serre-fils de 1/2 (12,7 mm) répertorié UL ou approuvé CSA - 3 connecteurs de fils homologues UL - 1 capuchon de mur ou de toit - Système d'évent métallique
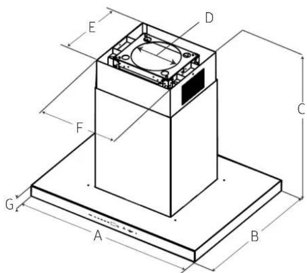
Dimensions et dégagements

| 36"42"54" | |||
| A | 36"(91.2 cm) | 42"(106.5 cm) | 54"(136.7 cm) |
| B 27¼" (69.3 cm) | |||
| C | max. 52½" (133.3 cm)min. 32¼" (82 cm) | ||
| D 10" (25.4 cm) | |||
| E 14½" (37.3 cm) | |||
| F 16½" (42 cm) | |||
| G 2¾" (6 cm) | |||
Accessoires - vendus séparément
| Modelé | DHD36U990IS/DA DHD42U990IS/DA DHD54U990IS/DA | DHD36U990IM/DA DHD42U990IM/DA DHD54U990IM/DA |
| Kit d'extension DHD-D0000IS/DA DHD-D0000IM/DA | ||
Instructions d'installation
Nous recommandons qu'un technicien qualifié installe la hotte de cuisine. Il incombe à l'installateur de s'assurer que la hotte est conforme aux dégagements d'installation spécifiques pour le produit.
- Il est recommandé d'installer le système de ventilation avant d'installer la hotte.
- Si possible, débranchez et retirez tout appareil de cuisson situé sous la hotte pour faciliter l'accès à la paroi arrêté.
- Avant de faire des découvertes, assurez-vous qu'il y a un dégagement approprié dans le plafond ou le mur pour le conduit d'évacuation.
- Vérifiez que toutes les pièces d'installation ont été retirées du carton d'expédition.
- Coupe l'alimentation électrique au niveau du panneau de disjoncteurs ou de la boîte à fusibles.
- Déterminez la méthode d'évacuation à utiliser : évacuation par le toit ou par le mur.
Remarque
Cette hotte est réglée en usine pour évacuer l'air par la sortie d'air supérieure.
- Choisissez une surface plane pour assembler la hotte. Placez une couverture sur cette surface.
Structures de support des plafonds
- Cette hotte est lourde. Une structure et un support adéquats doivent être fournis dans tous les types d'installation.
- À l'emplacement de la hotte, installez une charpente transversale de 2 po x 4 po entre les solives du plafond, tel qu'illustré (2 po x 4 po sont nécessaires pour supporter le poids de la hotte).
Disposez l'ossature transversale du plafond en fonction de la structure existante. Les solives de votre plafond ressemblent likely à l'un des éléments suivants :
NOTE: Vue de dessus des solives de toit parallèles à l'avant de la hotte.
Installer l'encadrement transversal symétrique au-dessus du conduit/de la table de cuisson.

EXAMPLEC
Installation de la hotte à ventilateur unique
- Placez le gabarit dans le plafond en tenant compte des instructions relatives aux structures de support du plafond.
Remarque
Tenez toujours compte de l’avant de la du capot lorsque vous placez le gabarit au plafond. Elle définira l'emplacement de la commande.

- Marquez avec un crayon les emplacements des trous pour les vis et le conduit dans le plafond. Retirez le gabarit.

- Fixez une extension de gaine sur chacun des deux côtés de l'un des supports horizontalement avec 4 vis 4,2 x 8 mm en utilisant l'adaptateur Torx 20. Ce sera le support horizontal supérieur.

A. Support horizontal supérieur B. Extension du couvercle de la gaine C. 4 - 4.2 × 8 ~mm vis
- Fixez le support horizontal supérieur au plafond à l'aide de 4 - 5 vis de 45 mm. Utilisez des chevilles de 8 x 40 mm si nécessaire.

- Installez la transition ronde de 10" (25,4 cm) sur l'adaptateur de transition et placez-la sur l'ouverture d'aération de la hotte, comme illustré ci-dessous.

Transition ronde de 10 pouces Adaptateur de transition Assemblage du capot 4 vis 3,5 × 9,5 ~mm 4 vis de 4,2 × 8 ~mm
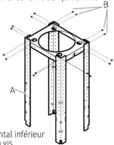
- Fixez les supports verticaux inférieurs sur le support horizontal inférieur avec 16 vis de 4,2 × 8 ~mm.

- Installez les 4 supports verticaux avec 16 vis de 4,2 × 8 mm.
A. 4 - Supports verticaux supérieurs B. 16 - 4.2 × 8 ~mm vis
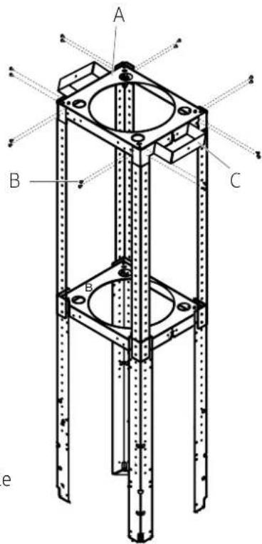
- Installez la structure sur le support horizontal avec 16 vis de 4,2 × 8 ~mm.

- À l'aide de 2 personnes ou plus, soulevez l'ensemble de la hotte sous la structure.
A. Supports verticaux inférieurs B. Assemblage de la hotte
- Fixez l'ensemble de la hotte aux supports verticaux inférieurs à l'aide de 2 vis de montage.
A. 2 - Vis de montage B. Support vertical inférieur C. Placez les vis de montage à travers la structure
A. Support horizontal supérieur
B. 16 - 4.2 × 8 mm vis
Extension du couvercle du conduit
- Installez les 4 supports verticaux avec 16 vis de 4,2 × 8 mm. Vérifiez que tout est bien visé.

- Retirez les 2 vis de fixation de la structure.
A. 2 - Vis de montage
A. Supports verticaux inférieurs B. 16 vis de 4,2 × 8 ~mm
Avertissement
RISQUE DE CHOC ÉLECTRIQUE.
Avertissement
DEBRANCHER L'ALIMENTATION AVANT DE PROCÉDER À L'ENTRETIEN.
REEMPLACEZ TOUTES LES PIECES ET TOUS LES PANNEAUX AVANT D'UTILISER L'APPAREIL.
LE NON-RESPECT DE CETTE CONSIGNE PEUT ENTRAINER LA MORT OU
CHOC ÉLECTRIQUE.
- Débranchez l'alimentation.
- Retirer le couvercle de la boîte à bornes.
- Retirer la débouchure du couvercle de la boîte à bornes et installer une décharge de traction 1/2 homologuée UL ou CSA.

B. Couvercle de la boîte à bornes
- Faites passer le câble d'alimentation domestique dans la boîte à bornes en le faisant passer par le dispositif anti-traction.

A. Câble d'alimentation domestique B. Fils noirs C. Connecteurs de fils répertoriés UL D. Fils blancs E. Fils de terre vert (ou nu) et jaune-vert F. Fils de terre de la carte d'alimentation G. Fils de mise à la terre du ventilateur
- Utilisez des connecteurs de fils homologues UL et connectez les fils noirs (B) ensemble.
- Utilisez des connecteurs de fils répertoriés UL et connectez les fils blancs (D) ensemble.
Avertissement
RISQUE DE CHOC ÉLECTRIQUE.
METTEZ LE VENTILATEUR À LA TERRE.
CONNECTEZ LE FIL DE TERRE AU FIL DE TERRE VERT ET JAUNE DE LA BOITE À BORNES. LE NON-RESPECT DE CETTE CONSIGNE POT ENTRAINER LA MORT OU UN CHOC ÉLECTRIQUE.
- Connectez le fil de terre vert (ou nu) de l'alimentation électrique de la maison au fil de terre jaune-vert (E) de la boîte à bornes à l'aide de connecteurs de fils homologues UL.
- Serrez la vis de décharge de traction.
- Installez le couvercle de la boîte à bornes.
- Rebranchez l'alimentation.
Installer la hotte à double ventilateur
- Placez le gabarit dans le plafond en tenant compte des instructions relatives aux structures de support du plafond.
Remarque
Tenez toujours compte de l’avant du capot lorsque vous placez le gabarit au plafond. Elle définira l'emplacement de la commande.

- Marquez avec un crayon les emplacements des trous pour les vis et le conduit dans le plafond. Retirez le gabarit.

- Fixez une extension de couvercle de gaine sur chacun des deux côtés du support horizontal avec 4 vis de 4,2 x 8 mm en utilisant l'adaptateur Torx 20.

A. Support horizontal B. Extension du couvercle de la gaine C. 4 vis de 4,2 × 8 mm
- Fixez le support horizontal au plafond à l'aide de 4 - 5 vis de 45 mm. Utilisez des chevilles de 8 x 40 mm si nécessaire.

- Installez les 4 supports verticaux sur le support horizontal avec 16 vis de 4,2 × 8 mm.

- En utilisant 2 personnes ou plus, soulevez le boîtier du ventilateur sous la structure.
A. Supports verticaux B. Boîtier du ventilateur
- Fixez le boîtier du ventilateur aux supports verticaux à l'aide de 2 vis de montage.
A. 2 - Vis de montage B. Support vertical C. Placez les vis de mise à niveau à travers la structure
- Installez les 4 supports verticaux avec 16 vis de 4,2 × 8 mm. Vérifiez que tout est bien visé.
A. Supports verticaux B. 16 vis de 4,2 × 8 ~mm
- Retirez les 2 vis de fixation de la structure.
A. 2 - Vis de montage
- À l'aide de 2 personnes ou plus, soulevez le tiroir de la hotte sous le boîtier du moteur. Insérez les goupilles du tiroir de la hotte dans les fentes inférieures du boîtier. Lorsque les quatre goupilles sont déjà insérées, le tiroir de la hotte se tient supporté.

- Fixez le tiroir de la hotte au boîtier du ventilateur à l'aide de 4 vis de 4,2 × 8 ~mm.

C. 4 vis de 4,2 × 8 ~mm 12. Déconnecter le connecteur du tiroir et le brancher avec le connecteur du fil du boîtier de la soufflante.

Raccordement électrique de la hotte
RISQUE DE CHOC ÉLECTRIQUE
DEBRANCHER L'ALIMENTATION AVANT DE PROCÉDER À L'ENTRETIEN.
REPLACEZ TOUTES LES PIECES ET TOUS LES PANNEAUX AVANT D'UTILISER L'APPAREIL.
LE NON-RESPECT DE CETTE CONSIGNE PEUT ENTRAINER LA MORT OU
Chocélectrique.
- Débranchez l'alimentation.
- Retirer le couvercle de la boîte à bornes.
- Retirer la débouchure du couvercle de la boîte à bornes et installer une décharge de traction 1/2 homologué UL ou CSA.

Couvercle de la boîte à bornes B. Décharge de traction
- Faites passer le câble d'alimentation domestique dans la boîte à bornes en le faisant passer par le dispositif anti-traction.

A. Cable d'alimentation domestique B. Serre-fils répertoriés UL ou approvés CSA C. Fils noirs D. Connecteurs de fils répertoriés UL E. Fils blancs F. Fils de terre verts (ou nus) et jaune-vert
- Utilisez des connecteurs de fils homologues UL et connectez les fils noirs (C) ensemble.
- Utilisez des connecteurs de fils répertoriés UL et connectez les fils blancs (E) ensemble.
Avertissement
METTEZ LA SOUFFLANTE À LA TERRE.
CONNECTEZ LE FIL DE TERRE AU FIL DE TERRE VERT ET JAUNE DE LA BOITE À BORNES. LE NON-RESPECT DE CETTE CONSIGNE POT ENTRAINER LA MORT OU UN CHOC ÉLECTRIQUE.
- Connectez le fil de terre vert (ou nu) de l'alimentation électrique de la maison au fil de terre jaune-vert (F) de la boîte à bornes à l'aide de connecteurs de fils homologues UL.
- Serrez la vis de décharge de traction.
- Installez le couvercle de la boîte à bornes.
- Rebranchez l'alimentation.
Installation de la couverture du conduit
Fixez les couvercles de gaine supérieurs aux extensions de couvercle de gaine à l'aide de 2 vis 3,5 × 6,5 ~mm sur les fentes de vis supérieures (B) en utilisant l'adaptateur Torx 10.
Remarque
Les trous oblongs des couvercles des gains supérieures seront visibles lors de l'assemblage, et peuvent être cachés à l'intérieur des couvercles des gains inférieures.

- Placez les couvercles des gains inférieurs.

- Placez les couvercles des conduits inférieurs sur les fentes de l'auvent de la hotte.
Fentes de l'auvent de la hotte
Terminer l'installation
Placez les filtres et vérifiez le fonctionnement de la hotte.
- Saisissez les poignées du filtre à deux mains, puis placez le bord avant du filtre dans la hotte.
- Poussez vers le haut l'arrière de la poignée, puis placez l'arrière du filtre dans le plateau d'égouttement pour le fixer. Répétez l'opération pour chaque filtre.

Modèle représenté à titre de référence uniquement, caractéristiques peuvent varier.
- Pour tirer le meilleur parti de votre nouvelle HOTTE du cuisinière, lisez le manuel "Utilisation et entretien".
- Conservez ces instructions d'installation et ce guide d'utilisation et d'entretien à proximité de la hotte pour pouvoir les consulter facilement.
Fixez le badge de la plaque dacor
Utilisez le gabarit sur cette page pour l'alignement de la plaque signalétique. Découpez le gabarit et collez-le sur la surface avant du couvercle du conduit, aligné avec la partie inférieure du capot. Vérifiez que le gabarit est aligné avec le côté droit du couvercle du conduit et dans la partie inférieure du capot. Entraînez-vous à placer la plaque signalétique avant de retirer le papier antiadhésif.


REMARQUE: Le badge a un adhesif à très haute détention - une fois le badge fixé, il est extrêmement difficile à enlever. Avant de retirer le papier de protection au dos du badge, entrainez-vous à placer le badge dans la bonne position sur le capot sans qu'il y ait de chevauchement entre le badge et ce gabarit.
Après cet exercice, retirez le papier de protection au dos de l'insigne et fixez l'insigne sur le capot sans qu'il y ait de chevauchement entre l'insigne et ce gabarit.
placer le badge dans la bonne position sur le capot sans qu'il y ait de chevauchement entre le badge et ce gabarit.
Confidente
Notes Importantes 47
| Modelo | DHD36U990IS/DA DHD42U990IS/DA DHD54U990IS/DA | DHD36U990IM/DA DHD42U990IM/DA DHD54U990IM/DA |
| Kit de Extensaión DHD-D0000IS/DA DHD-D0000IM/DA | ||
Notice Facile