DHD36U990IS - Capucha Dacor - Manual de uso y guía de instrucciones gratis
Encuentra gratis el manual del aparato DHD36U990IS Dacor en formato PDF.
Descarga las instrucciones para tu Capucha en formato PDF gratis! Encuentra tus instrucciones DHD36U990IS - Dacor y toma tu dispositivo electrónico nuevamente en la mano. En esta página están publicados todos los documentos necesarios para el uso de su dispositivo. DHD36U990IS de la marca Dacor.
MANUAL DE USUARIO DHD36U990IS Dacor
Instrucciones para instalacion
Chimney Island Hood Hotte en Îlot Campana de isla
DHD*U990I/DA
Contents
Before You Begin 3
Important Notes 3
Customer Service 3
Servicio de Atencion al Cliente 47
Instrucciones Importantes de Seguridad 48
Requisitos de instalación 51
Requisitos electricos 51
Requisitos de ventilacion 52
Métodos de ventilación 52
Opiones de conductos 53
Que hay en la caja 54
Herramientos y piezas 55
Dimensiones y espacios libres 56
Accessorios - Se vendepor separado 56
Instalacion 56
Instruetiones de instalacion 56
Estructuras de soporte del techo 57
Instalacion de la campana extractor de un solo ventilador 58
Conexión eletrica para campana 60
Instalar la campana extractor de doble ventilador 61
Conexión eletrica para la campana 64
Instalacion de la cubierta del conductor 65
66
Coloque la plac de Dacor 67
Notas Importantes
Instalador
- En aras de la seguridad y para minimizar los problemas, lea detenidamente este manual antes de iniciaar la instalacion.
- Deje estemanual conel cliente.
- Muéstrele al propietario comoURTAR la energia de la campana.
Cliente
Conserve este manual como referencia personal y profesional.
Servicio de Atencion al Cliente
Para resolver dudas y problemas de instalación,pongase en contacto con su distribuidor Dacor o con el servicios de atencion al cliente de Dacor. Antes delamar,onga a mano el modelo y el numero de series de la campana. (Consulte la etiqueta de datos que se enquiryra en el inferior de la campana, encima de los filtros, en la pared posterior del chassis).
Todas las specifications estan susetas aeloads sin previo aviso.Dacor no asume nguna responsabilitad por dichos criblos.
©2022 Dacor, todos los derechos reservados.
APROBADO PARA APARATOS RESIDenciaLES
SOLO PARA USO RESIDencial
LEAYGUARDEESTASINSTRUCCIONES
LEA TODA LA GUIA DE INSTALLACION ANTES DE PROCEDER.
LA INSTALACION DEBE CUMPLIR CON TODOS LOS CÓDIGOS LOCALES.
IMPORTANTE: Guarde estas instrucciones para el uso del inspector electrico local.
INSTALADOR: Por favor,deferas instrucciones con esta unidad para el propietario.
CLIENTE: Conserve estas instrucciones para futuras consultas.
Simbolos usados en este manual
ADVERTENCIA
Peligros o praticas inseguras que pueda provocar lesiones personales graves o la muerte.
ADVERTENCIA
Desconecte el circuito de alimentacion en el panel de service y bloquee el panel antes de cablear este aparato.
PRECAUCION
Peligros o prácticas inseguras que pueda provocar una descarga electrica, lesiones personales o daños materiales.
NOTA
Consejos e instruetiones utiles.
Estos iconos y SYMBOLOS de advertencia está aquí paraatar queusted y otheras personas sufran daños.
Por favor, sigalos explicamente. Despues de leer esta seccion, guardela en un lugar seguro para futuras consultas.
Advertencia de la Proposition 65 del Estado de California (sólo en EE.UU.)
ADVERTENCIA
Este producto contiene sustancias quimicas conocidas por el Estado de California como causantes de cancer y defectos de nacimiento u otheros daños reproductivos - www.p65warnings.ca.gov
1. Noticia de la FCC
PRECAUCION
PRECAUCION FCC:
Cualquier cambio o modifi cación no aprobada expresamente por la parte responsable del cumplimiento podía anular la autoridad del usuario para operar el equipo.
Este dispositivo cumple con la parte 15 de las normas de la FCC. Su funciona está sujeto a las dos conditiones seguides:
- Este dispositivo no pode causar interferencias perjudiciales, y.
- Este dispositivo debe acpetarrialquierinterferencia recibida,incluidaslasquecausenunfunacionamento no desrado.Para los productos vendidos en los mercados de Estados Unidos y Canadaso lo estan disponiblelos canales 1 11 .No se pueade selec tionar ning uno canal.
Para los productos vendidos en losmercados de Estados Unidos y Canadá,sole está disponiblelos canales 1~11.No se pueda seleccionar ningún other canal.
DECLARACION DE LA FCC:
Este equipo ha sido probado y se ha comprobado que cumple con los limites para un dispositivo digital de classe B, de(acuerdo con la parte 15 de las normas de la FCC. Estos limites estan diseñados para proportionar una proteccion razonable contra las interferencias perjudiciales en una instalacion residencial.
Este equipo genera, utilizes y possible irradian energia de radiofrecuencia y, si no se instala y utilizes de acuerdo con las instrucciones, pueda causar interferencias perjudiciales en las comunaciones de radio.
Sin embargo, no se pueda garantizar que no se produzcan interferencias en una instalacion concreta. Si este equipo causa interferencias perjudiciales en la recepcion de radio o television, loQUAL能把 determinarse apagando y encendiendo el equipo, se recomienda al usuario que intente corrigir las interferencias mediante una o varias de las siguidentes medidas:Reorienting or relocating the receiving antenna
- Augmentar la separacion entre el equipo y el receptor
- Conectar el equipo a una toma de corriente que esté en un circuito diferente al de la radio o el televisor
- Consultar al distribuidor o a un的技术o de radio/television con experiencia para Obtener sua
DECLARación DE EXPOSICION A LA RADIACION DE LA FCC:
Este equipo cumple con los limites de exposacion a la radiacion de la FCC establecidos para un entorno no controlado. Este equipo debe ser instalado y operado de forma que haya al menos 8 pulgadas (20cm) entre el radiador y su cuerpo. Este dispositivo y su(s) antenna(s) no deben estar ubicados ni funciona junto con ninguna othera antenna or transmisor.
2. Aviso IC
El terme "IC" que precede al numero de certificacion de radio solo significa que se cumplen las specifications sociales de Industry Canada. El funciona bajo el宗旨 de producirar dispositivo, y (2) este dispositivo dejanecar un work in process (WIP).
Este aparato digital de classe B cumple con la norma canadiense ICES-003. Para los productos vendidos en los mercadosstownidense y canadiense, solo está disponible los canales 1~11. No se pueda seleccionar ningun other canal.
DECLARación DE EXPOSión A LA RADIACION IC:
Este equipo cumple con los limites de exposacion a la radiacion IC RSS-102建立起cidos para un entorno no controlado. Este equipo debe ser instalado y operado de manera que haya al menos 8 pulgadas (20cm) entre el radiador y su cuerpo. Este dispositivo y su(s) antenna(s) no deben estar ubicados ni funcinar junto con ninguna otra antenna o transmisor.
ADVERTENCIA
PARA REDUCIR EL RIESGO DE INCENDIO, DESCARGA ELECTRICA O LESIONES A LAS PERSONAS, OBSERVE LAS SIGUIENTES PRECAUCIONES:
- Utilice esta unidad solo de lamania prevista por el fabricante. Si tiene dudas,pongase en contacto con el fabricante.
- Antes de realizar el mantenimiento o la limpieza de la unidad, desconnecte la alimentacion en el panel de service y bloquee el panel de service para estar que la alimentacion se conecte accidentally. Si el panel de service no pueda bloquearse, fi je un dispositivo de advertencia prominente, como una etiqueta, en el panel de service.
- Los trabajo de instalacion y el cableado eletrico deben ser realizados por personas cualesificadas de acuerdo con todos los@cuidos y normas aplicables, incluyendo la construccion con clasifiacion de incendios.
- Se necesita aire suficiente para una combustion adecuad y para la evacuation de los gases a trovés del conducto de humos (chimenea) de los equipos de combustion para evaporar el refl ujo. Siga las direcrices del fabricante del equipo de calefacion y las normas de seguridad, como las publicadas por la Asociacion Nacional de Proteccion contra Incendios (NFPA), la Sociedad Americana de Ingenieros de Calefacion, Refrigeracion y Aire Acondicionado (ASHRAE) y las autoridades locales de codigos.
- Cuando corte o perfore la pared o el techo, no dañe el cableado electrico niotiroservicios ocultos.
Los ventiladores conconductos siempre deben ventilarse al exterior.
PRECAUCION
Sólo para uso general de ventilación. No utilizes para extraer materiales y vapeores peligrosos o explosivos.
PRECAUCION
Para reducir el riesgo de incendio y evacuar correctamente el aire, asegurese de canalizar el aire hacia el exterior: no ventilel el aire de salute en espacios bajo de las paredes o techos, aticos o en espacios de arrastre, o garajes.
ADVERTENCIA
PARA REDUCIR EL RIESGO DE INCENDIO, UTILICE UNICAMENTE CONDUCTOS METÁLICOS
ADVERTENCIA
PARA REDUCIR EL RIESGO DE INCENDIO DE LA GRASA DE LA COCINA:
No deje nunca las unidades de superficie desatendidas en los ajustes altos. Los hervores causan humo y derrames de grasa que pueda encenderse. Caliente los aceites lentamente en ajustes bajo o medios.
- Encienda siempre la campana cuando cocine a fuego alto o cuando flamee alimentos (por exemple, Crepes Suzette, Cherries Jubilee, Peppercorn Beef Flambé).
Limpie los ventiladores con fecuencia. No se debe permitir que la grasa se acumule en el ventilador o en el filtro.
- Utilice tamanos de ollas adecuados. Utilice sempre utensilios de cocina apropriados para el tameno de la superficie del element
ADVERTENCIA
PARA REDUCIR EL RIESGO DE LESIONES A LAS PERSONAS EN CASO DE INCENDIO DE LA GRASA DE LA ENCIMERA, OBSERVE LAS SIGUIENTES PRECAUCIONES:*
APAGUE LAS LLAMAS con una tapa ajustada, una bandeja para galletas o una bandeja metálica, y bajo apague el quemador.
TENGACUIDADO PARA EVITAR QUEMADURAS. Si las llamas no se apagan inmediamente, EVACUE Y LLAME AL DEPARTAMENTO DE BOMBEROS.
-
NO AGARRES NUNCA UN SÁRTEX EN LLAMAS,=puedes quemarte.
NO USE AGUA, incluyendo páños de cocina o toallas mojadas - se producirá una violenta explosión de vapor. Utilice un extintor SOLO si: -
Usted sabe que tiene un extintor de classe ABC, y ya sabe como manejarlo.
- El incendio es(PC)que y está contentido en la zonaonde se inició.
-Se ha llamado a los bomberos. - Puedes luchar contra el fuego de espaldas a una salute.
*Basado en "Kitchen Fire Safety Tips" publicado por la NFPA.
ADVERTENCIA
Para reducir el riesgo de incendio o descarga electrica, no utilise este ventilador con ningún dispositovo de control de velocidad de estado solido.
ADVERTENCIA
No deje que los niños se acerquen a este aparato. No deje que los niños juguen con este aparato.
Mantenga todos los materiales de embalaje fuera del alcance de los niños. Deseche correctamente los materiales de embalaje antes de desembalar el aparato.
NOTA
Adecuado para su uso en la zona de cocción del hogar.
Requisitos electricos
IMPORTANT
Respete todos loscottos yordenanzas vigentes. Esresponsabilidad del cliente:
- Para contactar con un instalador来电lico提供优质.
- Para asegurar de que la instalacion electrica es adecuada y cumple con el Codigoelectrico Nacional, ANSI/NFPA 70 - ultima edition*, o las normas CSA C22.1-94, Codigoelectrico Canadiense, Parte 1 y C22.2 No.0-M91 - ultima edition** y todos los codigos yordenanzas locales.
Si los@cuidos lo permiten y se utilizes un cable de tierra
separado, se recomienda que un electricistariallicado
determine que la trayectoria de la tierra es adecuada.
Se pueda Obtener una copia de las normas de los@cuidos
anteriores en:
- Se requires un circuito eletrico de 120 voltios, 60Hz , solo CA, 15 amperios, con fusible.
-
Si la casa tiene cableado de aluminio, siga el procedimientoCEE.
-
Conecte una seccion de cable de cobre solido a los cables flexibles.
-
Conecte el cabledo aluminio a la seccion anecdada de cable de cobre utilizing conectores y/o herramentas especials diseñadas y homologadas por UL para unir cobre con aluminio.
-
Siga el procedimiento recommendado por el fabricante del conductor electrico. La connexion de aluminio/cobre debe cumplir con loscottigos locales y las practicas de cableado aceptadas por la industria.
- Los tamanos de los cables y las conexiones deben ajustarse a la capacité del aparato, tal como se especifica en la placía de caracteristicas del modelo/serie. La placía de modelos/serie se incluye detrás del filtro en la pared posterior de la campana extractor.
- Los tamanos de los cables deben estar incluyables con los requisitos del Codigio Eléctrico Nacional, ANSI/NFPA 70 (última ediciones), o las normas CSA C22.1-94, Codigio Eléctrico Canadiense, Parte 1 y C22.2 N° 0-M91 (última edisión y todos los codigos yordenanzas locales).
Requisitos de ventilación
- El sistemas de ventilación debenTerminate en el exterior.
- No termine el sistemas de ventilacion en un atico u.
otra area cerrada. - No utilise un tapón de pared tipo lavadero de 4" (10.2 cm).
- Utilice unicolemente un respiradero metalico. Se recomienda un respiradero metalico rigido.
- No se recomienda la ventilación de plástico o de lámina metálica.
- La longitud del sistema de ventilacion y el numero de codos deben mantenerse al minimo para proportionsar un rendimiento eficiente. Para un funcionaismo mas eficiente y silencioso:
Métodos de ventilación
Para usar la calidad superior de la campana para ventilar su campana, se requires un sistema de ventilación redondo de 10" (25,4 cm). Este sistemas de ventilación no está incluido y deben adquirirse porSeparated.

NOTA
No se recomienda la ventilación flexible. El respiradoro flexible create una contrapresión y una turbulencia de aire que reduce en gran medida el rendimiento. El sistemas de ventilación puede terminar a工程技术 o de la pared.
Instale siempre una cubierta metálica de ventilación en el lugar donde los conductos salen de la casa. La campana debe ventilarse únicamente hacía el exterior del edificio.
Dirección de descarga
Esta campanaieneajustada defabricaparaventilar atramés del techo descarga vertical) o de la pared (descarga horizontal).
Para ventilar a工程技术 de una pared, se necesita un codo de 90^
Instrucciones para la instalacion de conductos
Por razones de seguidad, los conductos deben ventilar directamente al exterior (no en un atico, bajo de la casa, en el garaje o enequalquier espacio cerrado).No supere los 15,24m de conductor. Mantenga los conductos tan cortos y rectos como sea possible. Los codos y las transcisiones reducen la eficacion del flujo de aire.
-
No utilise más de tres codos de 90^ .
-
Asegürese de que haya un minimo de 30'' (76.2 cm) de ventilación recta entre los codos si se usa más de un dato. No instale 2 codos+juntos.
-
Utilice abrazaderas para sellar todas las juntas del sistema de ventilacion.
- El sistemas de ventilación deben tener una compuerta. Si la taps del techo o de la pared Tiene un amortiguidor, no utilise el amortiguidor suministrado con la campana extractor.
- Utilice calafateo para sellar la pared exterior o la abertura del techo alrededor de la tapa.
- El tiempo de la ventilación debe ser uniforme.
Los codos y los giros en forma de "S" dan un caudal muy pobre y no se recomienda. Un tramo corto y recto de conductor en la entrada de un ventilador remoto proportionscna el mejor caudal.
Recomendaciones de conductos
El rendimiento adecuado depende de una colocacion correcta de los conductos.
Tiempo frío
Las instalaciones de clima frío deben tener una compuerta adicional para minimizar el flujo de aire frío hacía除外 y una rotura de puenteTERMico no metalica para minimizar la conducccion de las temperatas extremiores como parte de los conductos. La compuerta debe estar en el lado del aire frío de la rotura de puente termico. La rotura debe estar lo más cerca del lugar en el que los conductos entran en la parte calentada de la casa.
Aire de reposión
Los@cuidos de construccion localesuenecrearirel uso de sistemas de aire de reposacion cuando seutilizar systems de ventilacion por conductos con unmovimiento de aire superior a los CFM especificados.Los CFM specifications varian de una localidad a other.Es responsabilidad del proprietario y del instaladordeterminar si se aplican requisitos y/o normas adiconialesa instalaciones especillas.
Opiones de conductos
La campana está equipada con una transmisión redonda de 10^ (25.4 cm) para la descarga de los humos al exterior.
Siga estRICTamente las instrucciones existables en este manual. Dacor no se hace responsable de eventuales invenrientes, daños o incendios causados por el incumplimiento de las instrucciones de este manual.
Preparación
No corte una viga o montante a menos que sea absolutamente necessario. Si es NEEDarioURTARuna viga o un montante,debecnstruire un marco de soporte.
Se suministra material de fijación para sujetar la campana a la mayoría de los temas de paredes/techos.
Sin embargo, un technician综合素质 debe verificar la idoneidad de los materiales de acuerdo con el tipo de pared/techo.
Antes de realizar los recortes, asegúrese de que existe un espacio libre adecuado dentro del techo o la pared para la ventilación del escape.
Altura de montaje PRECAUCION
Monte esta campana deforma que el borde inferior por encima de la superficie de cocción esté a 30^ (76.2 cm) como minimo para una superficie de cocción de gas o 24" (60.9 cm) para una superficie de cocción electrica.
No hay una.altura maxima de montaje, sin embargo, recomendamos montar la campana a no mas de 36" (91.4 cm) por encima de la superficie de cocccion. Por cadaulgada (2.54 cm) por encima de 36"(91.4 cm),la eficiencia de captura de humos y humedad disminuye a un ritmo increiente y pueda no ofrecer un nivel acceptable de rendimiento de ventilacion.
Esta campana está pensada para uso dométrico.
Compruebe la alta de su techo y la alta de la campana antes de seleccionarla.
Ventilación de techo Ventilación de pared

A. Tapadel ducto B.Ventilacion redonda de 10^ (25.4 cm)

A.Tapa del ducto B. Ventilación redonda de 10^ (25.4 cm)
Requisitos de instalación
Que hay en la caja
| Montaje de la campana (1) 36"ventilador individual | Exisión para cubierta de ductos (2) 36"ventilador individual | 10"Transmisión (1) 36"ventilador individual | Soportes horizontalas (2) 36"ventilador individual |
| Adaptador de la transmisión (1) 36"ventilador individual | Soportes verticalaesuperiores(4) Soportes verticalae inferiores(4) 36"ventilador individual | ||
| Base de la campana (1) 42"doble ventilador 54"doble ventilador | Carcasa del motor delventilador con transicónde 10 (1) 42"doble ventilador54"doble ventilador | Soporte horizontal (1) 42"doble ventilador54"doble ventilador | Exisión para cubierta deductos (2) 42"doble ventilador54"doble ventilador |
| Soportes verticalaes (4) 42"doble ventilador 54"doble ventilador | |||
| Bolsa de Herramrientas (1) | Literatura del producto (2) | Cubiertas de ductosuperiores (2) Cubiertas de ductoinferiores (2) | Filtros 36"(2) 42"(3) 54"(3) |
Herramentas y piezas
Cómo quitar el embalaje.
PRECAUCION
Retire el carton con cuidado, use guantes para protegerse de los bordes aflilados.
ADVERTENCIA
Retire la película protectora antes de lapellsta en marcha.
Partesproveidas
- Bolsa de herramientos con:
| Parte Cant | |
| 5 x 45 mm | 4 |
| 8 x 40 mm | 4 |
| 3.5 x 9.5 mm | Ventilador individuall (4) |
| 4.2 x 8 mm | Ventilador individual (70) Doble ventilador (40) |
| 3.5 x 6.5 mm | 2 |
| Adaptador Torx | #10 - Ventilador individual (1) #20 - Ventilador individual (1) #20 - Doble ventilador (1) |
| Tornillos de montaje | 2 |
| Plantilla de montaje | 1 |
Piezas no suministradas
Herramentas/materialiales necessarios
Nivel
- Taladro con ^3/16^ ( 4,76 mm) de broca
Lapliz
- Pelacables o cucillo de uso general
- Cinta metrica o regla
- Alicates
- Pistola de calafateo y compuesto de calafateo resistente a la intemperie
- Abrazaderas de ventilación
Sierra de calar
- Tijeras para metales
- Destornilladores:
-
Phillips
-
Hoja plana
Piezas necessities
- Cable de alimentación dométrico
- Alivio de tension de 1/2 (12,7 mm) aprobado por UL o CSA
- 3 conectores de cable homologados por UL
- 1 tappedeparedode techo
- Sistema de ventilación metálico
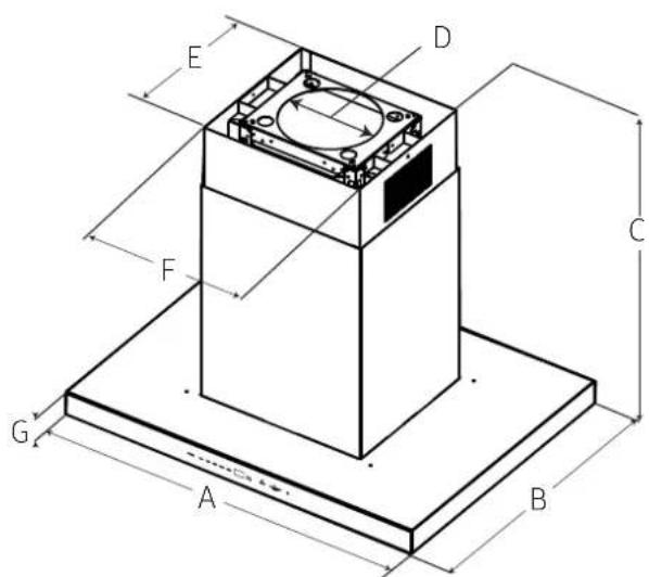
Dimensiones y espacios libres

| 36"42"54" | |||
| A | 36"(91.2cm) | 42"(106.5cm) | 54"(136.7cm) |
| B 27 1/4" (69.3 cm) | |||
| C | max. 52 1/2" (133.3 cm)min. 32 1/4" (82 cm) | ||
| D 10" (25.4 cm) | |||
| E 14 11/16" (37.3 cm) | |||
| F 16 1/2" (42 cm) | |||
| G 23 1/8" (6 cm) | |||
Accessorios - Se vende por分校
Instruciones de instalación
Recomendamos que un的技术icoriallicado instale la campana extractor. Es responsabilidad del instalador asegurar de que la campana extractor cumple con las distancias de instalacion especificadas para el producto.
- Se recomienda instalar el sistema de ventilacion antes de instalar la campana.
- Antes de hacerlos recortes, asegúrese de que hay un espacio libre adecuado en el techo o la pared para la ventilación del escape.
-
Confirme que todas las piezas de instalación han sido retiradas de la caja de envío.
-
Desconecte la alimentacion en el panel de disyuntores o en la caja de fusibles.
- Determine qué método de ventilación utilizar: ventilación en el techo o en la pared.
NOTA
Esta campanaieneajustada defabricaparaventilarpor la salute de aire superior..
- Selezione una superficie plana para montar la campana extractor. Coloque una cubierta sobre esta superficie.
Estructuras de soporte del techo
-Esta campana de ventilacion es pesada. Se debe proportionsar una estrctura y un soporte adecuados en todos los theyos de instalaciones.
- En laubicacion de la campana, instale un marco transversal de 2"x4" entre las vinas del techo como se muestra (serequireen 2"x4" para soportar el peso de la campana).
Disponga el entramado transversal del techo de acuerdo con la estructura existente. Las viguetas del techo seran como una de las siguientes:
NOTA: Vista superior de las viguetas del techo paralelas a la parte delantera de la campana.

EJEMPLO A

EJEMPLOC
EJEMPLOB
Instalar el marco trasversal simetricamente sobre el conducto/superficie de la cucina

Instalacion de la campana extractor de un solo ventilador
- Coloque la plantilla en el techo teniendo en cuenta las instrucciones para lasestructuras de soporte del techo.
NOTA
Tenga siempre enIELD el frente de la campana cuando coloque la plantilla en el techo.Definirá la ubicacion del control.

- Marque con un lápiz la ubicación de los agujeros para los tornillos y el conductor en el techo. Retire la plantilla.

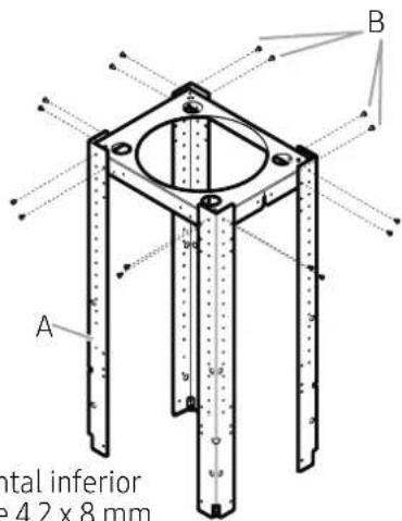
- Fije una cubierta de conductor en cada uno de los dos lados de uno de los soportesizontales con 4 tornillos de 4,2 × 8 mm realizando el adaptor Torx 20. Ese sera el soporte horizontal superior..

A. Soporte horizontal superior
B. Extension de la tapa del conductor
C. 4 - tornillos de 4,2 × 8 ~mm
- Fije el soporte horizontal superior al techo con tornillos de 4 - 5 × 45 ~mm . Utilice anclajes de 8 × 40 ~mm si esnecessary

- Instale la transmisión redonda de 10'' (25,4 cm) sobre el adaptorador de transmisión y colóquela sobre la abertura de ventilación en el Conjunto de la campana, como se muestra a continuación.

A. Transión redonda de 10
B. Adaptador de transmisión
C. Montaje de la campana
D. 4 - tornillos de 3,5 × 9,5 mm
E. 4 - Tornillos de 4,2 x 8 mm
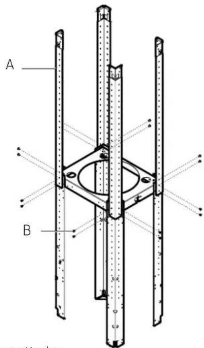
- Fije los soportes verticales inferiores sobre el soporte horizontal inferior con 16 tornillos de 4,2 × 8 ~mm .

- Instale los 4 soportes verticales con 16 tornillos de 4,2 x 8 mm.

A. 4 - Soportes verticales superiores
B. 16^ - Tornillos de 4,2 × 8 ~mm
- Instale la estructura al soporte horizontal con 16 tornillos de 4,2 × 8 ~mm .

- Con la ayud de 2 o más personas, levante elconjunto de la campana extractor por debajo de laestructura.

A. Soportes verticales inferiores
B. Conjunto de la campana extractor
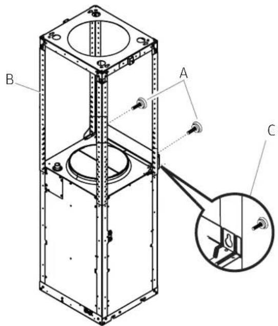
10. Fije el Conjunto de la campana extractor a los soportes verticales inferiores con 2 tornillos de montaje.

A.2-Tornillos de montaje
B. Soporte vertical inferior
C. Coloque los tornillos de montaje a trovés de la estructura
A. Soporte horizontal superior
B. 16 - tornillos de 4,2 × 8 mm
C. Extensaion de la tapa del conductor
ESPANOL59
- Instale los 4 soportes verticales con 16 tornillos de 4,2 x 8 mm. Compruebe que todo está bien atornillado.

A. Soportes verticales inferiores
B. 16 - tornillos de 4,2 × 8 ~mm
- Retire los 2 tornillos de montaje de la estructura.

A.2-Tornillos de montaje
Conexión electrónica para campana
ADVERTENCIA
PELIGRO DE DESCARGA ELECTRICA
ADVERTENCIA
DESCONECTE LA ALIMENTACION ANTES DE REALIZAR EL MANTENIMIENTO.
SUSTITUYA TODAS LAS PIEZAS Y PANELES ANTES DE PONERLO EN FUNCIONAMENTO.
EL NO HACERLO PUEDE RESULTAR EN LA MUERTE O
DESCARGA ELECTRICA.
- Desconecte la alimentacion.
- Retire la tapa de la caja de terminales.
- Retire el orificio ciego de la tapa de la caja de terminales e instale un alivio de tension de 1/2 aprobado por UL o CSA.

ESPANOL60
- Pase el cable de alimentacion de la casa a trovés del alivio de tension, en la caja de terminales.

A. Cable de alimentación domestica
B. Cables negros
C. Conectores de cables con certifications UL
D. Cables blancos
E. Cables de tierra verde (o desnudo) yamarilloverde
F. Cables de tierra de la placar de alimentacion
G. Cables de tierra del ventilador
- Utilice connectores de cables homologados por UL y conecte los cables negros (B) entre si.
- Utilice connectores de cables homologados por UL y conecte los cables blancos (D) entre sí.
ADVERTENCIA
PELIGRO DE DESCARGA ELECTRICA.
ADVERTENCIA
CONECTE EL VENTILADOR A TIERRA ELECTRICAMENTE.
CONECTE EL CABLE DE TIERRA AL CABLE DE TIERRA VERDE Y AMARILLO EN LA CAJA DE TERMINALES. EL NO HACERLO PUEDE PROVOCAR LA MUERTE O UNA DESCARGA ELECTRICA.
- Conecte el cable de tierra verde (o desnudo) de la fuente de alimentacion domestica al cable de tierra amarillo-verde (E) en la caja de terminales utilizingo connectores de cable homologados por UL.
- Apriete el tornillo de alivio de tension.
- Instale la tapa de la caja de terminales.
- Vuelva a conectar la alimentacion.
Instalar la campana extractor de doble ventilador
- Coloque la plantilla en el techo teniendo en cuenta las instrucciones para lasestructuras de soporte del techo.
NOTA
Tenga siempre en cuenta el frente de la campana cuando colocoque la plantilla en el techo. Definirá laubicación del control.

- Marque con un lápiz laubicación de los agujeros para los tornillos y el conductor en el techo. Retire la plantilla.

- Fije una extension de la cubierta del conductor en cada uno de los dos lados del soporte horizontal con 4 - 4,2 × 8 mm tornillos utilizing el adaptor Torx 20.

A. Soporte horizontal
B. Extension de la tapa del conductor
C. 4 - Tornillos de 4,2 × 8 ~mm
- Fije el soporte horizontal al techo con tornillos de 4 - 5 × 45 ~mm . Utilice anclajes de 8 × 40 ~mm si es necessitiesario.

- Instale los 4 soportes verticales sobre el soporte horizontal con 16 tornillos de 4,2 × 8 ~mm .

- Con la ayud de 2 o más personas, levante la carcaja del soplador por debajo de laestructura.

A. Soportes verticales B. Carcasa del soplador
- Fije la carcasa del soplador a los soportes verticales con 2 tornillos de montaje.

A.2-Tornillos de montaje
B. Soporte vertical
C. Coloque los tornillos de nivelación a工程技术 de la estructura
- Instale los 4 soportes verticales con 16 tornillos de 4,2 x 8 mm. Compruebe que todo está bien atornillado.

A. Soportes verticales
B. 16 - tornillos de 4,2 × 8 ~mm
- Retire los 2 tornillos de montaje de laestructura.

A.2-Tornillos de montaje
- Con lawendung de dos o más personas, levante la base de la campana por debajo de la carcasa del motor. Introduzca los pasadores de la base de la campana en las ranuras inferiores de la carcasa. Una vez introduccidos los quatre pasadores, la base de la campana está soportada.

- Fije la base de la campana a la carcasa del soplador con 4 tornillos de 4,2 × 8 ~mm .

B. Carcasa del soplador
C. 4 - tornillos de 4,2 × 8 ~mm
- Desenganche el conector de la base y enchufelo con el conector del cable de la carcasa del soplador.

Conexión electrica para la campana
ADVERTENCIA
PELIGRO DE DESCARGA ELECTRICA.
ADVERTENCIA
DESCONECTE LA ALIMENTACION ANTES DE REALIZAR EL MANTENIMIENTO.
SUSTITUYA TODAS LAS PIEZAS Y PANELES ANTES DE PONERLO EN FUNCIONAMENTO.
EL NO HACERLO PUEDE RESULTAR EN LA MUERTE O DESCARGA ELECTRICA.
- Desconecte la alimentacion.
- Retire la tapa de la caja de terminales.
- Retire el orificio ciego de la tapa de la caja de terminales e instale un alivio de tension de 1 / 2 aprobado por UL o CSA.

A. Tapa de la caja de terminales
B. Alivio de tension
- Pase el cable de alimentación de la casa a工程技术 del alivio de tension, en la caja de terminales.

A. Cable de alimentación para el hogar
B. Alivio de tension aprobado por UL o CSA
C. Cables negros
D. Conectores de cables homologados por UL
E. Hilos blancos
F. Hilos verbes (o desnudos) yamarilloverde de tierra
- Utilice connectores de cables homologados por UL y conecte los cables negros (C) entre sí.
- Utilice conectores de cables homologados por UL y connecte los cables blancos (E) entre si.
ADVERTENCIA
CONECTE EL SOPLADOR A TIERRA ELECTRICAMENTE.
CONECTE EL CABLE DE TIERRA AL CABLE DE TIERRA VERDE Y AMARILLO EN LA CAJA DE TERMINALES. EL NO HACERLO PUEDE PROVOCAR LA MUERTE O UNA DESCARGA ELECTRICA.
- Conecte el cable de tierra verde (o desnudo) de la fuente de alimentacion domestica al cable de tierra amarillo-verde (F) en la caja de terminales utilizing conectores de cable homologados por UL.
- Apriete el tornillo de alivio de tension.
- Instale la tapa de la caja de terminales.
- Vuelva a conectar la alimentacion.
Instalación de la cubierta del conductor
- Fije las cubiertas del conducto superior a las extensiones de la cubierta del conducto utilizing 2 - tornillos de 3,5 × 6,5 mm en las ranuras de los tornillos superiores (B) utilizing el adaptor Torx 10.
NOTA
Los agujeros ranurados en las cubiertas de los conductos superiores seran visibles cuando se ensamblen, y pueda ocultarse bajo de las cubiertas de los conductos inferiores.
A. Tapas del conducto superior
B. 2 - tornillos de instalación de 3,5 × 6,5 ~mm

- Colocar las tapas de los conductos inferiores.

- Coloque las tapas del conductor inferior sobre las ranuras de la campana extractor.

Completar la instalación
Cologne los filtros y compruebe el funcionajo de la campana.
- Agarre las asas del filtro con ambas manos y bajo el cologne el borde delantero del filtro en la campana.
- Empuje hacía arriba la parte trasera del asa y, a continuación, Coloque la parte trasera del filtro en la bandeja de goteo para asegurarlo. Repita la operación con cada filtro.

El modelo做不到 es solo de referencia, caracteristicasSEO.
- Para Obtener un uso más eficiente de su nuevo campana extractor, lea el manual de "Uso y Cuidado".
- Mantenga estas instrucciones de instalacion y la guia de uso y cuidado cerca de la campana extractor para facilitar su consulta.
Instalación
Coloque la placac de Dacor
Utilice la plantilla de esta páginapara alinear la plac Dacor. Recorte la plantilla y peguela en la superficie frontal de la cubierta del conducto, alineada con la parte inferior de la campana y verifique que la plantilla este alineada con el lado derecho de la cubierta del conducto y bajo de la parte inferior de la campana. Practique la colocacion de la plac anterior de retiring el papel adhesivo.


ManualFácil