7209 032 - Cuisinière Foster - Notice d'utilisation et mode d'emploi gratuit
Retrouvez gratuitement la notice de l'appareil 7209 032 Foster au format PDF.
| Caractéristiques | Détails |
|---|---|
| Type de produit | Cuisinière |
| Dimensions | Standard (à préciser selon modèle) |
| Nombre de foyers | 4 foyers |
| Type de cuisson | Gaz / Électrique (selon modèle) |
| Matériau de la surface | Acier inoxydable |
| Fonctionnalités supplémentaires | Four intégré, grill |
| Consommation énergétique | À vérifier selon l'étiquette énergétique |
| Entretien | Nettoyage régulier de la surface et du four |
| Sécurité | Système d'arrêt automatique, sécurité gaz |
| Garantie | 2 ans (à vérifier selon le revendeur) |
| Accessoires inclus | Grilles, plat à four |
FOIRE AUX QUESTIONS - 7209 032 Foster
Questions des utilisateurs sur 7209 032 Foster
0 question sur cet appareil. Repondez a celles que vous connaissez ou posez la votre.
Poser une nouvelle question sur cet appareil
Téléchargez la notice de votre Cuisinière au format PDF gratuitement ! Retrouvez votre notice 7209 032 - Foster et reprennez votre appareil électronique en main. Sur cette page sont publiés tous les documents nécessaires à l'utilisation de votre appareil 7209 032 de la marque Foster.
MODE D'EMPLOI 7209 032 Foster
notice d'utilisation
nous vous remercions pour avoir choisi une plaque de cuisson Foster.
La préférence que vous nous avez accordée nous remplit d'orgueil et de satisfaction.
Ce document regroupe les conseils et les instructions qui permettront d'utiliser de façon optimale la plaque de cuisson et d'en garantir une bonne conservation dans le temps. Nous vous demandons quelques minutes d'attention afin de préserver l'efficacité du produit ainsi que votre satisfaction.
Sincères salutations
Foster spa

Avertissements generaux
Les conseils généraux à consulter avant l'installation et l'utilisation de la plaque de cuisson achetée.
- Avertissements pour l'utilisation 41
- Avertissements pour la sécurité 42
- Avertissements pour l'élimination 42
- Apprenez à connaître votre appareil 43

Instructions pour l'installateur
Elles sont destinées au technicien qualifié qui doit effectuer l'installation, la mise en service et la vérification de l'appareil.
- Avant l'installation 44
- Mise en place sur le plan de travail 44
- Fixation de la plaque de cuisson au meuble 46
- Raccordement de la plaque de cuisson au réseau du gaz 49
- Aération des locaux 50
- Évacuation des produits de combustion (aspiration) 51
- Adaptation aux différents types de gaz 51
- Réglage du minimum 53
- Raccordement électrique de la plaque de cuisson 53

Instructions pour l'installateur
Elles fournissent les conseils d'utilisation, la description des commandes et les opérations de nettoyage et d'entretien de l'appareil.
- Utilisation de la plaque de cuisson 54
- Nettoyage et entretien 57
Récapitulation des plaques de cuisson à gaz 214
1. Avertissements pour l'utilisation

Ce manuel fait partie intégrante de l'appareil. Il doit être conservé intact et à portée de main pendant tout le cycle de vie de la plaque de cuisson. Nous conseillons de lire attentivement ce document ainsi que toutes les indications qu'il contient avant d'utiliser l'appareil.
L'installation devra être effectuée par un personnel qualifié et dans le respect des normes en vigueur. Cet appareil est prévu pour une utilisation de type domestique, et il est conforme aux directives CE actuellement en vigueur: 2009/142/CE (appareils à gaz), 2006/95/CE, 2004/108/CE.

Le fabricant décline toute responsabilité en ce qui concerne les utilisations non conformes à celles indiquées.
- Ne jamais utiliser cet appareil pour réchauffer les pièces.
- Ne pas laisser les résidus de l'emballage sans surveillance en milieu domestique.
- Séparer les différents matériaux de rebut provenant de l'emballage et les livrer au centre de récolte différent le plus proche.

Cet appareil dispose de marquage aux sens de la directive européenne 2002/96/CE en matière de déchets, d'appareils électriques et électroniques (waste electrical and electronic equipment - WEEE). Cette directive définit les normes pour la récolte et le recyclage des appareils inutilisés valables sur tout le territoire de l'union européenne.

La plaquette d'identification, avec les données techniques, le numéro de série et le marquage, est visiblement positionnée sous le carter [Fig. 1].
Il est interdit d'enlever la plaquette.
Fig. 1: emplacement de la plaquette d'identification
Les conditions de réglage de l'appareil sont spécifiées sur l'étiquette caractéristique.
2. Avertissements pour la sécurité

Dans votre intérêt et pour votre sécurité, la loi établit que l'installation et l'assistance de tous les appareils électriques ou à gaz doit être effectuée par un personnel qualifié dans le respect des normes en vigueur et des conditions des sociétés locales de fourniture du gaz et de l'énergie électrique.
- Les appareils à gaz ou ceux électriques doivent toujours être déconnectés par des personnes compétentes.
- La fiche à brancher au câble d'alimentation ainsi que la prise respective devront être du même type et conformes aux normes en vigueur. La prise devra être accessible à l'appareil encastré.
- Ne jamais débrancher la fiche en tirant le câble.
- La mise à la terre conforme aux modalités prévues par les normes de sécurité de l'installation électrique est obligatoire.
- Ne pas boucher les ouvertures, les fentes d'aération et d'évacuation de la chaleur.

Immédiatement après l'installation, effectuer un test rapide de l'appareil en suivant les instructions que nous fournissons par la suite. Si l'appareil ne fonctionne pas, débrancher ce dernier du réseau électrique et contacter le centre d'assistance technique le plus proche : NE JAMAIS TENTER DE REPARER L'APAREIL.
Durant l'utilisation, l'appareil devient très chaud. Nous conseillons, pour n'importe qu'elle genre d'opération, d'utiliser des gants thermiques. Cet apparéil n'est pas destiné à l'utilisation de la part de personnes (y compris les enfants) à capacités psychiques ou motrices réduites, ou avec manque d'expérience et de connaissance, à moins qu'il y ait une supervision ou instruction sur l'utilisation de l' apparéil de la part d'une personne responsable pour leur sécurité. LES ENFANTS DOIVENT ÉTRE SURVEILLES POUR S'ASSURER QU'ILS NE JOUENT PAS AVEC L'APPAREIL.

Le fabricant décline toute responsabilité pour les dommages aux personnes et aux choses dérivant de l'inobservance des consignes susmentionnées ou de manipulations d'une seule partie de l'appareil et de l'utilisation de pièces de rechange non originales.
Prendre SOIN de l'environnement
Pour l'emballage de nos produits, nous utilisons des matériaux non polluants, par conséquent compa
compatibles avec l'environnement et recyclables. Nous vous prions de collaborer en éliminant correctement l'emballage. Vous pouvez vous informer auprès de votre revendeur ou des organisations compétentes locales en ce qui concerne les adresses des centres de récolte, de recyclage et d'élimination.

Il faudra, même pour votre vieil appareil, pouvoir à une élimination correcte en contribuant à éviter les conséquences négatives pour l'environnement et la santé qui peuvent se vérifier en cas d'élimination inappropriée.

IMPORTANT : cet appareil ne peut être traité comme déchet domestique. Remettre le vieil appareil à l'organisme local autorisé pour la récolte des électroménagers inutilisés. Une élimination correcte permet de récupérer intelligemment les matériaux précieux. Il est également nécessaire de couper le câble de raccordement électrique et de l'enlever avec la fiche.
4. Apprenez à connaître votre appareil
Dans la partie finale de ce manuel, Récapitulation des plaques de cuisson à gaz [Page 214], sont regroupés tous les dessins concernant les plaques de cuisson Foster actuellement en production.
Nous vous demandons de reconnaître le dessin de la plaque de cuisson que vous avez acheté afin de familiariser avec les caractéristiques techniques et de fonctionnement principales.
Pour faciliter la recherche, les plaques de cuisson sont divisées en deux familles :
- Les plaques de cuisson encastrables traditionnelles : « bord 8 mm », « bord Q4 » et « bord semi-affleurant »;
- Les plaques de cuisson encastrables à fleur : bord « filotop ».
Le premier groupe, indépendamment du type de bord, concerne le simple four encastrable traditionnel. Les plaques de cuisson avec bord « filotop » ont un dessin plus détaillé pour permettre de réaliser l'ouverture « sur mesure », c'est-à-dire en ayant l'espace nécessaire pour loger le bord de la plaque de cuisson de façon à ce qu'elle soit « à fleur » avec le plan de travail.
Tous les dessins contiennent des numéros à proximité des brûleurs. Ces numéros identifient le type de brûleur. Pour connaître les puissances des brûleurs de la plaque de cuisson à gaz que vous avez achetée, nous conseillons de consulter le tableau des puissances en fonction du gaz utilisé [Page 214].
5. Avant l'installation

Ne pas laisser les résidus de l'emballage sans surveillance en milieu domestique. Séparer les différents matériaux de rebut provenant de l'emballage et les remettre au centre de récolte différentiée le plus proche.
Nous conseillons, dans le but d'éliminer tous les résidus de fabrication, de nettoyer l'appareil.
Pour plus d'informations sur le nettoyage, consulter le Chapitre 15 [Page 57].
6. Mise en place sur le plan de travail
Cette table de cuisson encastrable est de Classe 3.

Les interventions suivantes requièrent une œuvre de maçonnerie et/ou de menuiserie et doivent être effectuées par un technicien compétent. L'installation peut être réalisée sur différents matériaux tels que maçonnerie, métal, bois massif et bois revêtu de laminés plastiques à condition qu'ils soient résistants à la chaleur (T 100°C).
6.1 Assemblage à la structure de soutien (plan de travail) d'une plaque de cuisson encastre traditionnelle (bord 8 mm, bord Q4, bord semi-affleurant)

Effectuer une ouverture sur la partie supérieure du meuble avec les dimensions et dans la position indiquées ci-après et représentées sur le dessin [Fig. 2].
Les dimensions de l'orifice d'encastrement sont indiquées dans la section Récapitulation des plaques de cuisson à gaz - modèles à encastrement traditionnel [Page 214], à proximité du dessin de la plaque de cuisson que vous avez acheté.
Fig. 2: réalisation de l'ouverture pour l'encastrement

La distance entre la plaque de cuisson et le bord postérieur doit être d'au moins 50 mm. La distance entre la plaque de cuisson et les parois qui dépassent en hauteur le plan de travail doit être d'au moins 100 mm. Si une hotte est installée sur le plan de cuisson, consulter les instructions de montage de la hotte où est reportée la distance correcte à respecter.
Fig. 3 : distances de la plaque de cuisson

- Positionner soigneusement la garniture isolante fournie en dotation sur le périmètre externe de l'ouverture effectuée sur la partie supérieure en essayant de la faire adhérer sur toute la surface avec une légère pression des mains [Fig. 4].
- Après avoir effectué ces opérations, utiliser les brides de serrage fournies en dotation pour fixer la plaque de cuisson à la structure. Consulter le paragraphe « Fixation de la plaque de cuisson au meuble » [Page 49].
Fig. 4: mise en place de la garniture isolante
6.2 Assemblage à la structure de soutien (plan de travail) d'une plaque de cuisson encastrable à fleur (bord filotop)

Ce type d'appareil nécessite d'un fraisage sur le plan de travail de 1,5 mm de profondeur dont les mesures sont indiquées dans le dessin du plan identifiable dans la section Récapitulation des plaques de cuisson à gaz - modèles encastrables « à fleur » [Page 214]. L'espace est nécessaire pour loger le bord de la plaque de cuisson de façon à ce qu'il soit « à fleur » avec le plan de travail.

Nettoyer parfaitement le fraisage. - Avant de mettre en place la plaque de cuisson, il faut étaler sur toute la surface de fraisage la garniture isolante fournie en dotation [Fig. 5]. - Après avoir effectué ces opérations, utiliser les brides de serrage fournies en dotation pour fixer la plaque de cuisson à la structure. Consulter le paragraphe « Fixation de la plaque de cuisson au meuble »
[Page 49].
Fig. 5: mise en place de la garniture isolante

Entre les dimensions externes du plan en inox et celles internes de la partie surbaissée est prévue une lumière constante d’au moins 0,5 mm doit être respectée durant le montage. Les températures développées durant l’utilisation de la plaque de cuisson induisent sur le plan en inox un léger allongement et par conséquent la lumière prévue permet d’éviter les éventuelles interférences. En ce qui concerne le plan de travail de la cuisine, les températures induites par la plaque de cuisson - tant dans la section que sur le plan de contact - sont assez réduites. Nous conseillons vivement de monter les plaques de cuisson avec bord filotop sur des matériaux absolument hydrofuges.
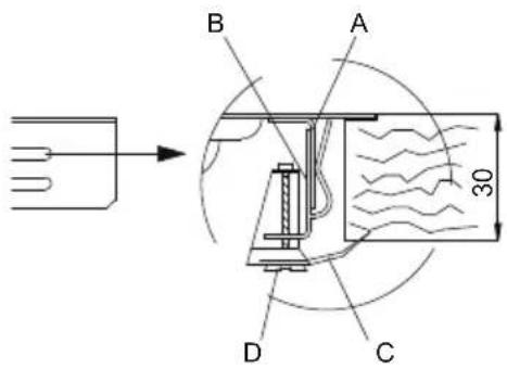
7. Fixation de la plaque de cuisson au meuble

Fixer les crochets fournis en dotation sur les étriers en-dessous de l'appareil comme illustré ci-dessous. Les crochets fournis permettent la fixation à des plans de travail de 30 à 40 mm d'épaisseur.

Important:
- Pour fixer cet appareil à la structure de soutien, nous conseillons de ne pas utiliser de visseuse mécanique ou électrique et d'exercer une légère pression manuelle sur les organes de fixation.
- Le plan en dessous de l'appareil doit être couvert à 5 mm minimum du fond de ce dernier et doit avoir une ouverture de passage pour les conduites du gaz et celles électriques d'au moins 50x50 mm.
- Si cet appareil est installé au-dessus d'un four, ce dernier doit être doté d'un ventilateur de refroidissement.
7.1 Crochets fixes
Ils permettent de fixer les plaques de cuisson avec des équerres de fixation prévues à des points fixes.

Bord standard (8 mm)


Bord Q4 (4 mm)


Bord semi-affleurant (3 mm)


Bord filotop



Encastrer le crochet B dans l'équerre A soudée au plan, en ayant soin de le bloquer dans les orifices spécifiques en fonction de l'épaisseur du plan de travail (pour des plans de 30 mm, bloquer le crochet dans l'orifice le plus haut de l'équerre ; pour les plans de travail de 40 mm, bloquer le crochet dans l'orifice le plus bas de l'équerre).
Tournez la languette C jusqu'à la positionner en-dessous du plan de travail puis serrez la vis D.


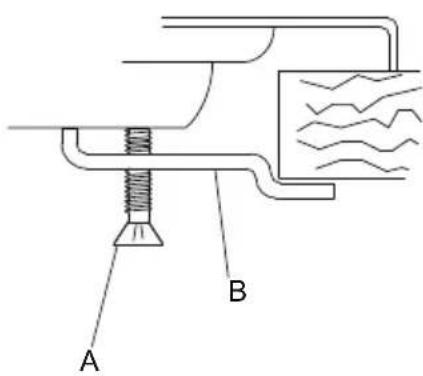
7.2 Crochets coulissants
Ils permettent de fixer les plaques de cuisson sans points de fixation prévus.

Bord standard (8 mm)


Bord filotop - Q4 (uniquement pour la série S4000)


Insérer le crochet B dans la glissière C.
Bloquer manuellement le crochet au moyen de la vis A.
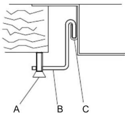
7.3 Brides de serrage fixes
Elles permettent de fixer les plaques de cuisson dans les points de fixation prévus.

Bord standard (8 mm)

Insérer la bride de serrage B dans le logement du plan. Bloquer manuellement la bride de serrage avec la vis A.
8. Raccordement de la plaque de cuisson au réseau du gaz

Il est nécessaire que l'installation d'alimentation à gaz soit conforme aux normes locales en vigueur.
Il faut vérifier que les conditions de distribution locales (nature et pression du gaz) et l'état de réglage de l'appareil soient compatibles.
IMPORTANT: Si l'appareil est installé sur un four, il faut éviter de faire passer le tuyau du gaz derrière le four afin de prévenir des surchauffes.

Le raccordement au réseau du gaz peut être effectué avec un tuyau rigide en cuivre ou avec un tuyau flexible en acier à paroi continue et dans le respect des consignes établies par la norme en vigueur [Fig. 6]. En tous les cas, chaque tube relié au réseau de gaz doit être doté d'un robinet d'arrêt de sécurité.
Fig. 6: raccordement au réseau du gaz

IMPORTANT : Il faut toujours mettre une garniture entre le raccord présent sur la plaque et le tuyau de raccordement.

- Si l'on utilise un tuyau flexible en acier inox, celui-ci devra être installé de façon à ce qu'il ne puisse pas entrer en contact avec une partie du meuble, mais il faudra le faire passer dans un point libre d'encombrement et de façon à pouvoir être contrôlé sur toute la longueur. Le tuyau flexible ne devra pas mesurer plus de 2 mètres d'extension maximum. Le raccord du gaz est de type fileté 1/2 gaz ISO R7 conique.

Après avoir raccordé l'appareil au réseau du gaz, il faut toujours vérifier l'étanchéité des raccords en utilisant une solution savonneuse. IL EST STRICTEMENT INTERDIT DE VERIFIER L'ETANCHÉITÉ EN UTILISANT DES FLAMMES VIVES.

La plaque de cuisson est testée au gaz méthane G20 (2H) à une pression de 20 mbar. Pour l'alimentation avec d'autres types de gaz, consulter le tableau Adaptation aux différents types de gaz [Page 51].
8.1 Raccordement au gaz liquide

Utiliser un régulateur de pression et réaliser le raccordement sur la bomboonne conformément aux consignes établies par les normes en vigueur.
S'assurer que la pression d'alimentation respecte les valeurs indiquées dans le tableau Adaptation aux différents types de gaz [Page 51]. Ce raccordement doit également être effectué avec un tuyau rigide en cuivre ou avec un tuyau flexible en acier à paroi continue.
9. Aération des locaux

IMPORTANT : L'appareil peut être installé uniquement dans des locaux constamment aérés, conformément aux normes en vigueur.
10. Évacuation des produits de combustion (aspiration)

Cet appareil n'est pas branché à un système d'évacuation des produits de la combustion. Il doit être installé en respectant les normes en vigueur. Il faut être particulièrement attentif aux normes concernant la ventilation.

L'évacuation des produits de combustion doit être garantie au moyen de hottes reliées à un conduit d'évacuation à tirage naturel, ou bien au moyen d'aspiration forcée.
Un système d'aspiration efficace requiert une conception soignée de la part d'un spécialiste qualifié en respectant les positions et les distances indiquées par les normes.

IMPORTANT : À la fin de l'intervention, l'installateur devra relâcher le certificat de conformité.
11. Adaptation aux différents types de gaz
| Type de gaz | Brûleur | Puisance nominale (KW) | Consommation nominale (g/h) | Injecteur (ø mm) | Puisance nominale min. (KW) | ||
| Série | N. Réf. | ||||||
| G4Z GPL G30/G31 28-30/37 mbars | II | 2 Auxiliaire 1,00 73 0,50 0,52 | |||||
| 3 Semi-rapide 1,75 12 7 0,65 0,52 | |||||||
| 4 Rapide 2,70 196 0,80 0,90 | |||||||
| 5 Triple couronne | 3,50 254 0,95 1,80 | ||||||
| 10 Dual | 4,50 | 328 | i 0,46 / e 0,66 | i 0,30 / e 1,40 | |||
| III | 6 Auxiliaire 1,10 80 0,52 | ||||||
| 7 Semi-rapide 1,75 12 7 0,65 0,52 | |||||||
| 8 Rapide 3,00 218 0,85 0,90 | |||||||
| 9 Triple couronne | 3,80 276 0,98 1,80 | ||||||
| AE | 11 Auxiliaire 1,00 73 0,50 0,52 | ||||||
| 12 Semi-rapide 1,75 127 0,65 0,52 | |||||||
| 13 Rapide 3,00 218 0,85 0,90 | |||||||
| 14 Double couronne | 5,00 | 364 | i 0,46 / e 0,95 | i 0,40 / e 1,70 | |||
| Série N. Réf. | |||||||
| GAZ MÉTHANEG20 20 mbars | II | 2 Auxiliaire 1,00 95 0,72 0,52 | |||||
| 3 Semi-rapide 1,75 167 0,97 0,52 | |||||||
| 4 Rapide 2,70 257 1,08 0,90 | |||||||
| 5 Triple couronne 3,50 333 1,35 1,80 | |||||||
| 10 Dual 4,50 | 429 | i 0,72 / e 1,02 | i 0,30 / e 1,40 | ||||
| III | 6 Auxiliaire 1,10 105 0,73 0,52 | ||||||
| 7 Semi-rapide 1,75 167 0,98 0,52 | |||||||
| 8 Rapide 3,00 285 1,26 0,90 | |||||||
| 9 Triple couronne 3,80 362 1,35 1,80 | |||||||
| AE | 11 Auxiliaire 1,00 95 0,72 0,52 | ||||||
| 12 Semi-rapide 1,75 167 0,97 0,52 | |||||||
| 13 Rapide 3,00 285 1,32 0,90 | |||||||
| 14 Double couronne 5,00 | 476 | i 0,75 / e 1,51 | i 0,40 / e 1,70 | ||||

L'appareil est testé au gaz métane G20 (2H) à une pression de 20 mbar. En cas de fonctionnement avec d'autres types de gaz, il faudra remplacer les buses des brûleurs et régler la flamme minimum sur les robinets à gaz. Pour remplacer les buses, il faut procéder conformément à la description fournie dans les paragraphes suivants.
11.1 Substitution des buses de la plaque de cuisson

IMPORTANT : Avant d'effectuer les opérations suivantes, il faut s'assurer que l'appareil soit débranché du réseau électrique.

- Extraire les grilles, enlever tous les chapeaux et les couronnées des calottes des brûleurs.
- À l'aide d'une clé à tube de 7 mm, dévisser les buses des brûleurs [Fig. 7].
- Procéder à la substitution des buses des brûleurs selon le gaz à utiliser (tableau « Adaptation aux différents types de gaz » [Page 51]).
- Remettre correctement les brûleurs dans les logements respectifs.
Fig. 7: substitution des buses

IMPORTANT: APRÈS le réglage avec un gaz différent de celui testé, substituer l'étiquette placée sur le carter de l'appareil avec celle correspondante au nouveau gaz.

Instructions pour le gaz de ville et pour le méthane
- Allumer le brûleur et le mette en position minimum.
- Extraire la manivelle du robinet à gaz et agir sur la vis de réglage [Fig. 8] placée à l'intérieur ou à côté de la jauge du robinet (en fonction des modèles), jusqu'à obtenir une flamme minimum régulière. En présence de robinet gaz à 2 voies [Fig. 12-13] il y a deux vis de réglage du début minimum gaz.
- Remonter la poignée et vérifier la stabilité de la flamme du brûleur (en tournant rapidement la poignée de la position de maximum à celle de minimum, la flamme ne devra pas s'éteindre).
- Répéter l'opération sur tous les robinets à gaz.
Fig. 8: Réglage du minimum

Instructions pour le gaz liquide (GPL)
Visser complètement en sens inverse la vis logée à l'intérieur ou à côté de la jauge du robinet (en fonction des modèles).
13. Raccordement électrique de la plaque de cuisson

IMPORTANT: Toujours s'assurer, avant d'effectuer les opérations suivantes, que le voltage et le dimensionnement de la ligne d'alimentation correspondent aux caractéristiques indiquées sur la plaquette placée sous le carter de l'appareil. Cette plaquette ne doit jamais être enlevée.

La mise à la terre conforme aux modalités prévues par les normes de sécurité de l'installation électrique est obligatoire.
- Pour le branchement direct au réseau, il est nécessaire de prévoir un dispositif qui assure la déconnexion du réseau, avec une distance d'ouverture des contacts qui permette la déconnexion complète dans les conditions de la catégorie de surtension III, conformément aux règles d'installation.
- Si l'on utilise un raccordement avec fiche et prise, il faut vérifier que celles-ci soient du même type. Éviter l'utilisation de réductions, d'adaptateurs ou de dérivateurs afin d'éviter les surchauffes ou les brûlures.

IMPORTANT : Le fabricant décline toute responsabilité pour les dommages aux personnes et aux choses dérivant de l'inobservance des consignes susmentionnées ou de manipulations d'une seule partie de l'appareil.

En cas de remplacement du câble d'alimentation, on devra utiliser un câble du type H05RR-F de section 3 × 0.75 ~mm^2.



marron

bleu

jaune-vert
14.1 Allumage des brûleurs

S'assurer, avant d'allumer les brûleurs de la plaque de cuisson, que les couronnes des calottes des brûleurs soient positionnées à la bonne place et avec les chapeaux respectifs.



Fig. 9 : position des couronnes

Certaines plaques de cuisson sont dotées de nouveaux brûleurs appelés « III série ». Le système de blocage entre le couvercle (B) et la calotte du brûleur (A) garantit le positionnement optimal et le grand caractère pratique de nettoyage.
Fig. 10: mise en place du brûleur III série
Le couvercle supérieur (B) des brûleurs doit être placé dans son logement respectif avec les deux crans au niveau des deux cylindres placés en dessous (C) et visser en sens horaire.

L'appareil est doté d'un dispositif d'allumage électrique. Il suffit d'appuyer et de tourner en sens anti-horaire la poignée sur le symbole de flamme maximum, jusqu'à l'allumage. Si l'allumage n'advient pas dans les 15 premières secondes, mettre la poignée sur [chiuso] (fermé) et ne pas tenter de rallumage pendant 60 secondes.
Après l'allumage, maintenir la poignée appuyée pendant quelques secondes afin de permettre au thermocouple de réchauffer. Le brûleur peut s'éteindre en relâchant la poignée : cela signifie que le thermocouple n'a pas suffisamment réchauffé. Attendre quelques instants et répéter l'opération en maintenant plus longtemps la poignée appuyée. Une fois que le brûleur est allumé, on peut régler la flamme en fonction des besoins.

Il faut, après chaque utilisation de la plaque de cuisson, toujours vérifier que les poignées de commande soient en position fermé.
Si les brûleurs devraient s'éteindre accidentellement, après un intervalle d'environ 20 secondes un dispositif de sécurité interviendra pour bloquer la sortie de gaz, même si le robinet est ouvert. Dans ce cas, il faut remettre la poignée en position de Chiuso] (ferme) et ne pas tenter de rallumer le brûleur pendant au moins 60 secondes.
Fig. 11: poignée brûleur standard
Fig.12: poignée brûleur dual (S4000)/double couronne
Fig.13: poignée brûleur dual (GIOTTO/VULCANO)
14.2 Conseils pratiques pour l'utilisation des brûleurs

Pour un rendement meilleur des brûleurs et une consommation minimum de gaz, il faut utiliser des récipients à fond plat et régulier, pourvus de couvercle et proportionnés au brûleur afin d'empêcher que la flammeaille brûler les côtés (consulter le paragraphe « Diamètre des récipients » [Page 56]). Au moment de l'ébullition, réduire la flamme pour empêcher le débordement du liquide.
Fig. 14: utilisation des récipients

Pendant la cuisson, afin d’éviter les brûlures ou d’endommager la plaque de cuisson à cause de la chaleur excessive, tous les récipients ou les grils ne doivent pas dépasser les mesures indiquées dans le paragraphe « Diamètre des récipients » [Page 56]. Ne pas réchauffer les casseroles ou les poêles vides car elles pourraient surchauffer.

Faire très attention en utilisant la graisse ou l'huile, ces dernières en surchauffant peuvent s'enflammer. Si une casserole qui contient de la graisse ou de l'huile s'enflamme, il ne faut pas y verser de l'eau pour éviter les brûlures ; étouffer le feu en couvrant la casserole avec un chiffon mouillé et débrancher l'appareil du réseau électrique.
14.3 Diamètre des récipients
Brûleur auxiliaire : de 6 à 14 cm Brûleur semi-rapide : de 15 à 20 cm Brûleur rapide : de 21 à 26 cm Brûleurs double couronne, triple couronne, dual : de 24 à 28 cm

Durant le fonctionnement, la plaque de cuisson produit de la chaleur et de l'humidité dans la pièce où elle est installée : s'assurer que la cuisine soit bien aérée. L'utilisation prolongée de l'appareil avec certains ou tous les brûleurs peut nécessiter une aération supplémentaire telle que l'ouverture d'une fenêtre et/ou une puissance d'aspiration plus importante de la part de la hotte aspirante.
15. Nettoyage et entretien

Ne pas utiliser de jet de vapeur pour nettoyer l'appareil.
Avant chaque intervention, il faut couper le courant à l'appareil.
Eviter de laisser sur l'acier, sur les grilles et sur les autres parties de l'appareil, des substances acides ou alcalines (vinaigre, jus de citron, sel, sauce tomate, etc.)
15.1 Nettoyage de l'acier inox
Pour préserver l'acier inox, il faut le nettoyer après chaque utilisation après l'avoir laissé refroidir.
15.1.1 Nettoyage ordinaire quotidien
Pour nettoyer et préserver les surfaces en acier inox, il faut utiliser uniquement des produits spécifiques qui ne contiennent pas d'abrasif ou de substances acides à base de chloré.
Façon d'utilisation : verser le produit sur un chiffon humide et passer sur la surface. Enlever enfin complètement le produit avec un chiffon humide propre.
15.1.2 Taches d'aliment ou résidus

Il faut absolument éviter d'utiliser des éponges métalliques et des grattoirs coupants afin de ne pas endommager les surfaces. Utiliser des produits normaux pour l'acier, non abrasifs, en se servant eventuellement d'outils en bois ou en plastique. Rincer soigneusement et sécher à l'aide d'un chiffon doux ou d'une peau de daim.
Comme produit pour nettoyer l'acier nous conseillons Foster Steel Clean; pour savoir où pouvoir l'acheter, s'adresser au centre d'assistance technique.
Ne pas utiliser de détergents chimiques tels que vaporisateurs pour les jougs ou détachants.
15.2 Nettoyage des composants à gaz
Pour faciliter le nettoyage, les grilles, les chapeaux, les couronnes des calottes des brûleurs sont extra-ctibles : il faut les laver avec de l'eau chaude et du détergent non abrasif en ayant soin d'éliminer toutes les incrustations puis les sécher immédiatement avec un chiffon. Remonter les chapeaux sur les couronnes respectives. Les composants en fonte tels que grilles et brûleurs ne doivent pas être lavés en lave-vaisselle.
Pour garantir le bon fonctionnement, les bougies d'allumage et les thermocouples doivent toujours être bien propres. Il faut les contrôler régulièrement et, si nécessaire, les nettoyer avec un chiffon humide puis les sécher. Les éventuels résidus secs doivent être éliminés avec un cure-dent en bois ou une aiguille.
Nettoyer régulièrement les couvercles des brûleurs et les couronnées coupe-flamme à la fin de chaque utilisation. Pour les salissures moins difficiles et pour le polissage des coupe-flamme, utiliser la crème Foster Steel Clean avec un chiffon en microfibre, en suivant la direction de la finition du métal.
15.3 Nettoyage des plans des tables de cuisson émaillées
Pour une bonne conservation dans le temps du plan émaillé de votre table de cuisson, il faut le nettoyer régulièrement après chaque utilisation, avec le soin de le laisser refroidir au préalable.
Pour nettoyer et conserver correctement l'émail, utiliser toujours et seulement un chiffon en microfibre humide et du savon neutre.
Ne pas utiliser de produits qui contiennent des abrasifs ou des substances acides à base de chloré.
Éviter absolument d'utiliser des éponges métalliques ou des grattoirs coupants afin de ne pas abimer les surfaces.
15.4 Nettoyage des manettes
Les manettes doivent être nettoyées avec un chiffon doux, légèrement mouillé avec de l'eau, et séchées avec soin.
Pour faciliter le nettoyage, il est possible d'enlever les manettes en les tirant vers le haut.
Ne pas utiliser de produits agressifs contenant de l'alcool, chlorures ou de produits abrasifs.
15.5 Sérigraphie du plan
Faire très attention à ne pas utiliser aucun produit abrasif ou chimique sur la sérigraphie du plan de la table de cuisson. Utiliser uniquement un chiffon en microfibre humide.

Foster S. P. A. n'est pas responsable des éventuelles inexactitudes dues aux erreurs d'impression ou d'écriture, contenues dans ce dépliant. La société se réserve le droit d'apporter à ses propres produits, les modifications qu'elle considérera nécessaires ou utiles, dans l'intérêt des utilisateurs, sans compromettre les caractéristiques de fonctionnement et de sécurité.
Récapitulation des plaques de cuisson à gaz
| Légende | |||
| Série | N. Brûlèur Puissance (W) | ||
| 1 Poignée de commande | |||
| II | 2 Auxiliaire 1.000 | ||
| 3 Semi-rapide 1.750 | |||
| 4 Rapide 2.700 | |||
| 5 Triple couronne 3.500 | |||
| 10 Dual 4.500 | |||
| III | 6 Auxiliaire 1.100 | ||
| 7 Semi-rapide 1.750 | |||
| 8 Rapide 3.000 | |||
| 9 Triple couronne 3.800 | |||
| AE | 11 Auxiliaire 1.000 | ||
| 12 | Semi-rapide 1.750 | ||
| 13 | Rapide 3.000 | ||
| 14 | Double couronne 5.000 | ||
| Type de bord |
| Bord standard (8 mm) STD Bord Q4 (4 mm) Q4 Bord semi-affleurant (3 mm) SF Bord filotop FT |

Référence aux systèmes de mesure et calcul utilisés pour établir la conformité aux limites de performance et efficacité énergétique
L'efficience énergétique de la table de cuisson gaz pour utilisation domestique est calculée sur la base de la norme EU n° 66/2014 : les valeurs pour chaque brûleur est déterminé avec test suivant la norme EN 30-2-1. Les brûleurs auxiliaires sont exclus, car ils ont puissance inférieure à 1,16 kW.
Prescriptions suisses
Les directives suivantes sont à prendre en considération lors du montage et de l'installation :
- Directives gaz de la SSIGE G1
- Directives CFST N° 1942: Gaz liquéfié, partie 2
(CFST: Commission fédérale de coordination pour la sécurité au travail)
- prescriptions de l'Association des Etablissements cantonaux d'Assurance Incendie (AEAI)
Notice Facile