7209 032 - Fornuis Foster - Gratis gebruiksaanwijzing en handleiding
Vind de handleiding van het apparaat gratis 7209 032 Foster in PDF-formaat.
Questions des utilisateurs sur 7209 032 Foster
0 question sur cet appareil. Repondez a celles que vous connaissez ou posez la votre.
Poser une nouvelle question sur cet appareil
Download de handleiding voor uw Fornuis in PDF-formaat gratis! Vind uw handleiding 7209 032 - Foster en neem uw elektronisch apparaat weer in handen. Op deze pagina staan alle documenten die nodig zijn voor het gebruik van uw apparaat. 7209 032 van het merk Foster.
GEBRUIKSAANWIJZING 7209 032 Foster
Wij danken u odomat u een kookplaat van Foster hebt gekozen.
Wij zijn bijzonder trots en tevreden over deze voorkeur die u betoont.
In dit document haben we alle tips en instructies samengebracht, waarmeu u de aangekochtte kookplaat zo goed möglichk kan benutten en kan zorgen voor een goede staat na verloop van tijd. Wij vragen u enkele minutes aandacht te besteden, zodat de efficientie worden behouden en u tevreden blijf over het product.
Metbeleefde groeten
Foster spa
Index

Algemene tips, te raadplegen voór de installationen het gebruik van de aangekochtke kookplaat.
- Waarschuwingen voor het gebruik 98
- Waarschuwingen voor de veiligheid 99
- Waarschuwingen voor de verwijdering 99
- Ken uw toestel 100

INSTRUCTIES VOOR DE INSTALLATEUR
Ze zijn bestemd voor de gekwalificeerde technicus die de installment, de inwerkingstelling en de test van het toestel要去uitvoeren.
- Vór de installation 101
- Plaatsing in de werktop 101
- Bevestiging van de kookplaat op het meubel 103
- Aansluiting van de kookplaat op de gasdistributie 106
- Ventilatie van de lokalen 107
- Afvoer van de verbrandingsproducten (afzuiging) 108
- Aanpassing aan andere gastypes 108
- Afstelling van het minimum 110
- Elektrische aansluiting van de kookplaat 110

INSTRUCTIES VOOR DE GEBRUiker
Ze gehen gebruikstips, een beschrijving van de commando's en de correcte handelingen voor schoonmaak en onderhoud van het toestel.
- Gebruik van de kookplaat 111
- Schoonmaak en onderhoud 114
Samenvatting gaskookplaten 215
1. Waarschuwingen voor het gebruik

Deze handleiding maakt integraal deel uit van het toestel. Het moet in+zijn geheel worden bewaard en tijdens de hele levenscylus van deplaat binnen handbereik+zijn. Wij raden u aan om het document en alle aanwijzingen erin aandachtig te lezen vooraleer het toestel te gebruiken.
De installmentie要去 door gekwalificeerd personeel worden uitgevoerd, in naleving van de geldende normen. Dit toestel is voorzien voor huishoudelijk gebruik, en is conform met de EG-richtlijnen die momenteel van kracht zich: 2009/142/EG (gastroestellen), 2006/95/EG, 2004/108/EG.

Het toestel werk gebouwd om de volgende functie uit te voeren: GERECHTEN KLAARMAKEN EN OPWARMEN; IEDER ANDER GEBRUK WORDT ALS ON-EIGENLIJK BESCHOUWD.
De fabrikant wijst elke verantwoordelijkheid af voor andere toepassingen dan deze die worden aangegeven.
- Gebruik dit toestel nooit voor de verwarming van kamers.
- Laat geen verpakkingsresten onbewaatkt awhile in de huiskamer.
- Scheid de verschillende afvalmaterialen van de verpakking en breng die maar het dichtst bijzijnde centrum voor gescheiden inameling.

Dit toestel is voorzien van het symbool krachtens de Europese richtlijn 2002/96/EG betreffende afvalmaterialen van elektrische en elektronische apparaten (waste electrical and electronic equipment - WEEE). Deze richtlijn bepaalt de normen voor de inzameling en recyclage van afgedankte apparaten, geldig in de hele Europese Unie.

Het identificatielabel, met de technische gegevens, het registratienummer en het merk is zichtaar aangebracht onder de behuizing [Fig. 1].
HET LABEL MAG NOOIT WORDEN WEGGENOMEN.

Fig.1:plaats van het identificatielabel
De condities voor afstelling van het toestel staan op het gevevensplaatje vermeld.
2. Waarschuwingen voor de veriligheid

In uw eigen belang en voor uw veiligheid werk bij wet bepaald dat de instal-. latie en de service van alle elektrische apparaten of gastroestellen uit. gevoerd要去en worden door gekwalificeerd personeel, in naleving van de geldende normen en van de vereisten opgelegd door deplaatslijke leveranciers van gas en elektriciteit.
- De gastoestellen of elektrische apparaten要去en alkijd dor vakkundige personen worden uitgeschakeld.
- De stekker die op de voedingskabel要去 aangesloten worden en het bijhorende stop-contact要去en van hetzelfde type�n, en conform met de normen die van kracht�n.
- Het stopcontact moet toegankelijk zijn wanner het toestel ingebouwd is.
Trek de stekker nooit UIT door aan de kabel te trekken. - De aardingsaansluiting is verplicht volgens de bepalingen voorzien door de veiligheidsnormen van de elektrische installmentie.
- Openingen, ventilatiespleten en openings voor afvoer van warmte mogen nicht worden afgedekt.

Voer onmiddelijk na de installmentie een korte test van het apparaat uit, volgens de instru-ties verderop. Wanner het toestel Niet goed werkt, moet men het loskoppelen van het elektrische net en het dichtst bijzijnde centrum voor technische dienst contacteren: PROBEER NOoit OM HET TOESTEL ZELF TE MAKEN.
Tijdens het gebruik worden het toestel erg heet. Bij elke handeling is het gebruik van speciale thermische handsschoenen aanbevolen. Dit apparaat is Niet bestemd om gebruikt te worden door Personen (inclusief kinderen) met beperkt psychisch of motorisch vermogen of met gebrek aan ervaring en kennis, tenzij onder toezicht of begeleiding van een person verantwoordelijk voor hun verilgheid. HOUD TOEZICT OVER KINDEREN ZODAT ZE NIET MET HET APPARAAT SPELEN.

De fabrikant wijst iedere verantwoordelijkheid af voor schade aan Personen of voorwerpen,veroorzaakt door het Niet naleven van deze voorschriften, of voortvloeielend uit het openbreken van een onderdeel van het toestel of door aanwending van Niet-originele wisselstukken.
3. Waarschuwingen voor de verwijdering
ONZE ZORG VOOR HET MILIEU
Voor de verpakking van unsere producten worden materiaalen gebruikt die nicht verruilend zijn, bijgevolg belasten ze het milieu Niet en+zijn ze recycleerbaar. Wij verzoeken u om hieraan mee te werkden, en te zor
gen voor een correcte verwijdering van het verpakkingsmaterial. Raadpleeg uw verkoper of de bevoegde instanties van de regio voor de adressen van de centra voor inzameling, recyclage, en verwerking.

LAAT DE VERPAKKING OF DELEN ERVAN NIET RONDSLINGEREN. VOORAL DE PLASTIEKZAKKEN KUNNEN EEN BRON VAN VERSTIKKINGSGEVAAR VOOR KINDEREN VORMEN.
Ook voor uw oude toestel要去 gezorgd worden voor een correcte verwijdering, waardoor men bijdraagt om negatieve gevolgen voor het milieu en de gezondheid te voorkomen, die zich anders zoudenvoordoen in geval van een onjuiste verwerking.

BELANGRIJK: dit toestel mag Niet als huishoudelijk afval worden behandeld. Stuur het oude toestel maar hetplaatselijk centrum dat bevoegd is voor het inzamelen van afgedankte huishoudtoestellen. Een correcte verwijdering zorgt voor een intelligente recuperatie van kostbare materialen. Men要去 de kabel van het elektrische net losmaken en deze samen met de stekker wegemen.
4. Ken uw toestel
In het overzichtsgedeelte van deze handleiding, Samenvatting gaskookplaten [Pag. 215], worden alle schetsen samengebracht met betrekking van de Foster-kookplaten die op vandaag in productie zichn.
Wij verzoeken u om de schets van de kookplaat die u heb tangekocht te bestuderen, om vertrouwd te worden met de belangrijkke technische werkingskenmerken.
Om het opzoeken van de kookplaten te vereenvoudigen, werden ze onderverdeeld in twee hoofdgroepen:
- Kookplaten met traditionele inbouw: "rand 8 mm", "rand Q4" en "halfaansluitende rand";
- Kookplaten met aansluitende inbouw: rand "aansluitende top".
De eerste groep heeft onafhankelijk van het type rand een eenvoudig gat voor traditionele inbouw. De kookplaten met "aansluitende top" rand hebben eenmeer gedetailleerd ontwerp om de uitvoering van het gat op maat" möglich te make, dit betekent met een traprandje, nodig voor de plaatsing van de rand van de kookplaat zodat deze naadloos "aansluit" op het werkblad.
Op alle schetsen staan nummers vermeld, die overeenkomen met branders. Deze nummers bepalen het type brander. Om het vermogen te kennen van de branders van de kookplaat die u hebt aangekocht, raadpleegt men de tabel met de vermogens in functie van het gebruikte type gas [Pag. 215].
5. Vór de installatione

Laat geen verpakkingsresten onbewaatk achter in de huiskamer. Scheid de verschillende afvalmaterialen van de verpakking en breng die maar het dichtst bijzijnde centrum voor gescheiden inzameling.
Teneinde alle productieresten te verwijderen, is het aanbevolen om het toestel schoon te make.
Voor meer informatie omtrent de schoonmaak,zie Hoofdstuk 15 [Pag.114].
6. Plaatsing in de werktop
Deze inbouwkookplaat is een classe 3.

De volgende interventries vereisen metselwerk en/of schrijnwerk, en要去enkaarom door een vakbekwame technicus worden uitgevoerd. De installmentie kan op verschillende materialen geleuren, zoals metselwerk, metaal, vol hout of hout bekleed met plastic laminaat, indien denen hittebestendig zijn (T 100^ ).
6.1 Installatie op de steunstructeur (werkblad) van een traditionele inboundkookplaat (rand 8 mm, rand Q4, halfaansluitende rand)

Maak een opening in het topblad van het meubel volgens de afmetingen en de positie zoals hierna aangegeven en Voorgesteld in de schets [Fig.2].
De afmetingen van het inbouwgat staan vermeld in het hoofdstuk Samenvatting gaskookplaten - modellen met traditioneleinbouw [Pag.114], bijdeschets van de kookplaat die u hebt aangekocht.

Fig. 2:uitvoering van het inbouwgat

- De afstand van de kookplaat tot de achterrand要去 minstens 50~mm ়;
- De afstand van de kookplaat tot de wanden die in de hoogte boven het werkblad komen要去 minstens 100mm ়;
- Indien een zuigkap boven de kookplaten worden geinstalleer,要去nde instructies voor de montage vande kap geraadpleegd worden waarinde correcte afstand is vermeld diemoet in acheit genomen worden.

Fig. 3: afstanden van de kookplaat

- Breng de isolerende dichting die meegeleverd werden zorgvuldig aan op de buitenomtrek van het gat dat men in het topblad hebts gemaatkt, maar die op het volledige oppervlak aanhechten met een lichte druk van de handen [Fig. 4].
- Eenmaal deze handelingen zijn uitgevoerd,要去 men de meegeleverde beugels gebruiken om het blad aan de structuur vast te make. Raadpleeg de paragraaf "Bevestiging van de kookplaat op het meubel" [Pag. 103].

Fig. 4:plaatsing van de isolerende dichting
6.2 Installatie op de steunstructeur (werkblad) van een kookplaat met aansluitende inbouw (aansluitende top rand)

Dit type toestel vereist het uiftrezen op het werkblad met een diepte van 1,5 mm, de maten worden aangegeven in de schets van de plaat, en is te vinden in het hoofdstuk Samenvatting gaskookplaten - modellen met "aansluitende" inbouw [Pag. 215]. Het traprandje is nodig om er de rand van de kookplaat in te leggen, zDat die naadloos "aansluit" met het werkblad.

Maak de freesrand zorgvuldig schoon.
Vooraleer de plaat teplaatsen, moet men over het hele oppervlak van de freesrand de meegeleverde sluittdichting aanbrengen [Fig. 5].
- Als deze handelingen zijn uitgevoerd,要去 men de meegeleverde beugels gebruiken om het blad aan de struhtar vast te make. Raadpleeg de paragraaf "Bevestiging van de kookplaatop het meubel" [Pag.103].

Fig. 5:plaatsing van de isolerende dichting

Tussen de buitenafmetingen van het inoxplaatje en de binnenafmetingen van de uitspa- ring is een constante ruimte voorzien van minstens 0,5mm , dit moetijdens het monteren gerespecteerd worden. De temperaturen die zichijdens het gebruik van de kookplaat ontwikkelen, zorgen voor een minieme uitzetting van het inoxplaatje, daardoor vangt de Voorziene tussenruimte eventuele interferenties op. Wat betreft het werkblad van de keuken, zich de temperaturen die door de kookplaat worden opgewekt - zowel in de doorsnede als op het contactvlak - zeer beperkt. Het is sterk aanbevolen om de kookplaten met aansluitende toprand op materialen te monteren die absolut waterafstotend zijn.
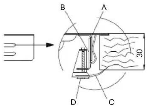
7. Bevestiging van de kookplaat op het meubel

Maak de meegeleverde haken vast aan de beugels onder het toestel zoals hierna aangetoond. De meegeleverde haken latent een bevestiging toe op een top met een dikte begrenpetween 30 en 40mm

BELANGRIJK:
- Voor de bevestiging van dit product op de steunstructuur is het aanbevolen om geen mechanische of elektrische schroevendraiers te gebruiken en met de hand een matige druk uit te oefenen op de bevestigingselementen.
- Het blad onder het toestel moet zich op minstens 5mm van de bodem ervan bevinden, en moet een opening hebben om de gasleidingen en elektrische kabels door te lately van minstens 50× 50~mm .
- Als dit product boven een oven worden geinstalleer,要去 die voorzienঃn van een koelventilator.
7.1 Vaste haken
Latent toe om de kookplaten met voorziene hoekhaken voor bevestiging vast te zellen op vaste punten.


Standaardrand (8 mm)


Rand Q4 (4 mm)


Halfaansluitende rand (3 mm)


Aansluitende top rand


Steen de haak B in de hoekhaak A die op het blad vastzit, zorg ervoor die te blokkeren in de special voorziene gaten in functie van de dikte van de top (voor top met een dikte van 30~mm blokker de haak in het hoogste gat boven de hoekhaak; voor top met een dikte van 40~mm blokker de haak in het laagste gat van de hoekhaak).
Draai het lipje C tot die onder de top kommt te zitten, daarna de schroef D vastdraaien.


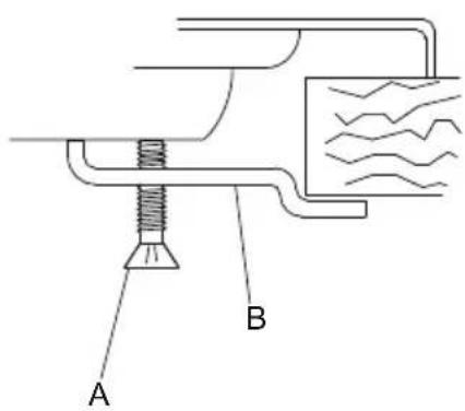
7.2 Schuifhaken
Laten toe om de kookplaten vast te zetten zonder vooraf voorziene bevestigingspunten.


Standaardrand (8 mm)


Aansluitende top rand - Q4 (enkel voor serie S4000)

Breng de haak B in de schuifgeleider C.
Blokker de haak manueel met behulp van de schroef A.
7.3 Vaste beugels
Latentoeomdekookplatenvast te zetten op voorafvoorzienebevestigingspunten.


Standaardrand (8 mm)


Breng de beugel B in de special voorziene zitting van deplaat.
Blokker de beugel manueel met behulp van de schroef A.
8. Aansluiting van de kookplaat op de gasdistributie

Het isoodzakelijk dat de installmentie voor gastroevoer conform is met de lokale normen die van kracht zich.
Men moet controleren of de lokale distributievoorwaarden (aard en druk van het gas) en de staat van afstelling van het toestel compatibel zich.
BELANGRIJK: Als het toestel boven een oven worden geinstalleerd,要去 men vermijden op de gasleiding aan de achterkant van de oven te lately passeren, om oververhitting te vermijden.

De aansluiting op de gasdistributie kan geleuren met een vaste koperen buis of met een flexible buis in staal met doorlopende wand, volgens de voorschriften die bepaald zijn door de geldende norm [Fig. 6]. In ieder geval moet iedere buis die men op de gasdistributie aansluit voorzien zijn van een veiligheidsafsluiter.

Fig. 6: aansluiting op de gasdistributie

BELANGRIJK: Plaats steeds de dichting:tussen de koppeling op deplaat en de aansluitingsbuis.

- Als men een flexibele inox buis gezruikt,要去 die zo geinstalleerd worden dat die nicht in contact kan komen met een onderdeel van het meubel, maar op een vrij punt passeert en over de hele lenghte geinspecteerd kan worden. De flexibele buis要去 een lenghte hebben van minder dan 2 meter bij maximaaluitstrekken.
- De gaskoppeling is een type met conische schroefdraad 1/2 gas ISO R7.

Na de aansluiting van het toestel op de gasdistributie moet men altijd de dichting van de koppelingen controleren met een zeepoplossing.
HET IS ABSOLUUT VERBODEN OM DE DICTING TE CONTROLEREN MET GEBRUIK VAN VRIJE VLAMMEN.

De kookplaats werden getest met methaangas G25 (2H) op een druk van 25 mbar. Voor voeding met andere gastypes, raadpleeg de tabel Aanpassing aan andere gastypes [Pag. 108].
8.1 Aansluiting op vloeibaar gas

Gebruik een drukregelaar en voer de aansluiting op de gasfles uit volgens de voorschriften die door de geldende normen worden bepaald.
Zorg ervoor dat de voedingsdruk de waarden respecteert vermeld in de tabel Aanpassing aan andere gastypes [Pag. 108]. Ook in dit geval要去 de aansluiting worden uitgevoerd met een vaste koperen buis of met een flexibele buis in staal met een doorlopende wand.
9. Ventilatie van de lokalen

BELANGRIJK: Het toestel mag enkel in permanent geventileerde lokalen geinstalleerd worden, zoals voorzien door de geldende normen.
10. Afvoer van de verbrandingsproducten (afzuiging)

Dit toestel is nicht aangesloten op een system voor evacuation van de verbrandingsproducten. Het要去 geinstalleerd worden in overeenstemming met de geldende voorschriften. Besteed bijzondere aandacht aan de betreffende vereisten inzake ventilatie.

De afvoer van de verbrandingsproducten moet verzekerd worden via dampkappen die op een schoorsteen met tatsächlijke trekঃ aangesloten die goed werken, ofwel via geforceerde afzuiging.
Een efficient afzuisysteme vermieist een zorgvuldig ontwerp door een specialist die deze komt installereren in naleving van de posities en de afstanden die door de normen worden opgelegd.

BELANGRIJK: Op het einde van de intervenie要去 de installateur een conformiteitverklaring bezorgen.
11. Aanpassing aan andere gastypes
| Gas-type | Brander | Nominal vermogen(KW) | Nominal verbruik(g/u) | Injector(ø mm) | Min.nominal ver-mogen (KW) | ||
| Serie N. Ref | |||||||
| METHAANGAS G25 25 mbar | II | 2 Hulp 1,00 111 0,72 0,52 | |||||
| 3 Halfsnel 1,75 194 0,94 0,52 | |||||||
| 4 Snel 2,70 299 1,16 0,90 | |||||||
| 5 Friedubbele kroon 3,50 388 1,38 | 1,80 | ||||||
| 10 Dual 4,50 499 i 0,69 / e 1,05 i 0,30 / e 1,40 | |||||||
| III | 6 Hulp 1,10 122 0,73 0,52 | ||||||
| 7 Halfsnel 1,75 194 0,95 0,52 | |||||||
| 8 Snel 3,00 333 1,20 0,90 | |||||||
| 9 Friedubbele kroon 3,80 421 1,43 | 1,80 | ||||||
| AE | 11 Hulp 1,00 | 0,72 0,52 | |||||
| 12 Halfsnel 1,75 | 0,94 0,52 | ||||||
| 13 Snel 3,00 | 0,90 | ||||||
| 14 Dubbele kroon | 5,00 | i 0,68 / e 1,48 | i 0,40 / e 1,70 | ||||
| LPG-VLOEIBAAR GAS G30/G31 28÷30/37 mbar | II | 2 Hulp 1,00 73 0,50 0,52 | |||||
| 3 Halfsnel 1,75 127 0,65 0,52 | |||||||
| 4 Snel 2,70 196 0,80 0,90 | |||||||
| 5 Friedubbele kroon 3,50 254 0,95 | 1,80 | ||||||
| 10 Dual | 4,50 | 328 | i 0,46 / e 0,66 | i 0,30 / e 1,40 | |||
| III | 6 Hulp 1,10 80 0,52 0,52 | ||||||
| 7 Halfsnel 1,75 127 0,65 0,52 | |||||||
| 8 Snel 3,00 218 0,85 0,90 | |||||||
| 9 Friedubbele kroon 3,80 276 0,98 | 1,80 | ||||||
| AE | 11 Hulp 1,00 73 0,50 0,52 | ||||||
| 12 Halfsnel 1,75 | 127 0,65 0,52 | ||||||
| 13 Snel 3,00 218 0,85 0,90 | |||||||
| 14 Dubbele kroon | 5,00 | 364 | i 0,46 / e 0,95 | i 0,40 / e 1,70 | |||

Het toestel werd getest met methaangas G25 (2H) op een druk van 25 mbar. In geval van werking met andere gastypes要去 men de straalpiijpen van de branders verrangen en de minimumvlam op de gasfittingen bijregelen. Voor het verwangen van de straalpiijpen要去 men tewerk gaan zoals beschreiben in de volgende paragrafen.
11.1 Vervanging straalpiijpen kookplaat

BELANGRIJK: Vooraleer de volgende handelingen uit te voeren要去 men er alkijd eerst voor zorgen dat het toestel Niet op het elektrische stroomnet is aangesloten.

- Neem de roosters weg, verwijder alle afdekhoedjes en de vlamverdeelkronen.
- Met een pijpsleutel van 7 mm de straalpijpen van de branders losschroeven [Fig. 7].
- Vervolgens de straalpijpen van de branders verwangen volgens het te gebruiken gas (abel "Aanpassing aan andere gastypes" [Pag.108]).
- Plaats de branders correct terug in de special voorziene zittingen.

Fig. 7: verwanging van de straal-pijpen

BELANGRIJK: Na de afstelling met een ander type gas dan dewelke gebrukt werden tijdens de test,要去 men het etiket op de behuizing van het apparaat verrangen door het etiket dat overeenkomt met het neue type gas.
12. Afstelling van het minimum

Instructies voor stadsgas en methaangas
- Steek de brander aan en zet die op de minimumstand.
- Haal de handgreep van de gaskraan eruit en draai aan de regelschroef [Fig. 8] vanbinnen of naast de as van de kraan (naargelang het model), tot men een normale minimumvlam betrucht. Wanner een 2-wegsgaskraan aanwezig is [Fig. 12-13], zich er 2 stelschroeven voor het minimum.
- Hermonteer de handgreep en contrôleer de stabilitéit van de vlam van de brander (als de handgreep snel van maximumstandaar minimumstand worden gedraaid, mag de vlam Niet uitgaan).
- Herhaal dit voor alle gaskranen.

Fig. 8: afstelling van het minimum

Instructies voor vloeibaar gas (LPG)
Draai de schroef die zich vanbinnen of naast de as van de kraan bevindt (naargelang het model)—helemaal aan in wijzerzin.
13. Elektrische aansluiting van de kookplaat

BELANGRIJK: Vooraleer de volgende handelingen uit te voeren, controllerer algijd of voltage en dimensionering van de voedingslijn overeenkomen met de kenmerken die op het label onder de behuizing van het label van het toestel vermeld staan. Dit label mag nooit worden weggenomen.

De aardingsaansluiting is verplicht volgens de bepalingen voorzien door de veiligheidsnormen van de elektrische installmentie.
- Voorrechtstreekse aansluiting met het net要去en inrichting worden voorzien waarmee een afsluiting kan gegarandeerd worden, met een openingsafstandCUSen de contacten die bij overspanning, toestand van de categorie III, de volledige afsluiting maybeijk maakt, conform met de installationnormen.
- Als men een aansluiting met stekker en stopcontact gebruikt,要去 men controleren of die van hetzelfde typeহn. Vermijd het gebruik van omzegers, adapters of aftakdozen,ondat die oververhitting of doorbranden kunnenveroorzaken.

BELANGRIJK: De fabrikant wijst iedere verantwoordelijkheid af voor schade aan Personen of voorwerpen, veroorzaakt door het Niet naleven van deze voorschriften, of voortvloeiend uit het openbreken van een onderdeel van het toestel.

In geval van verranging van de voedingskabel za een kabel要去en gebruikt worden van het type H05RR-F met een sectie van 3 × 0,75 ~mm^2 .





14. Gebruik van de kookplaat
14.1 De branders aanzetten

Vooraleer de branders van deplaat aan te zetten, moet men er zich van verzekerend dat de vlamverdeelkronen in hun zittingen zitten met de bijhorende afdekhoedjes erop.




Fig. 9: positie van de kronen

Op sommige kookplaten zijn de neue branders gemonteerd, die "III série" worden genoemd. Het blokkeersystem tussen afdekking (B) en vlamverdeler (A) garandeert de perfecte positionering en groot gemak bij de schoonmaak.

Fig. 10: positionering van de brander III series
De afdekking bovenaan (B) van de branders moet in de speciale zittingkommen met de twee inkeping voorplaatsing in overeenstemming met de twee cilinderstaafjes eronder (C) en in wijzerzin worden aangeschroefd.

In overeenstemming met elke draaiknop worden de betreffende brander aangeduid. Het toestel is uitgerust met een voorziening voor elektrische ontsteking. Het volstaat om de draaiknop in te drukkenen in gegenwijzerzin waar het symbol voor maximale vlam te draaien, tot de vlam aan is. Als de vlam Niet binnen 15 seconden aan is, zet dan de draaiknop op [chiuso] (gesloten) en wacht 60 seconden vooraleer opnieuw te proberen.
Als de vlam aan is, moet men de draaiknop enkele seconden ingedrukt houden om het thermokoppelijd te gehen om op te warmen. Het kan gebeuren dat de brander uitgaat wanner de draaiknop worden losgelaten: dit betekent dat het thermokoppel nog nicht voldoende is opgewarmed. Wacht een ogenblick en herhaal de handeling, houdt de draaiknop.Deze keer ie's longer ingedrukt. Eenmaal de brander aan is, kan men de vlamaar behoefte regelen.
Op het einde van elk gebruik van deplaat,要去 men alkijd controlleren of de draaiknuppen op de stand Chiuso] (gesloten) staan.
Als de branders toe vallig zonden uitgaan, treedt een beveiligingsvoorziening na een interval van ongeveer 20 seconden op om de gasaanvoer af te slui- ten, zichs als de kraan open staat. Zet in dit geval de draaiknop opnieuw op de stand [chiuso] (gesloten) en wacht minstens 60 seconden vooraleer opnieuw te proberen om de brander aan te zetten.

Fig. 11: draaiknop standard brander

Fig. 12: draaiknop brander dual (S4000) / dubbele kroon

Fig. 13: draaiknp brander dual (GIOTTO/VULCANO)
14.2 Praktische tips voor het gebruik van de branders

Voor een beter rendement van de branders en een minimaal gasverbruik要去 men potten met een effen, platte bodem gebruiken, voorzien van een deksel en aangepast aan de brander, om te vermiinden dat de vlam aan de zijkanten gaat likken (zie paragraaf "Diameter van depotten" [Pag.113]). Verminderde vlam voldoende als de inhoud begint te koken, om te verhinderen dat de vloeistof overloopt.

Fig. 14: gebruik van potten

Om brandwonden of schade aan de kookplaat door overmatige但它 vermiijden, mogen de gebruike potten en vleespannen geen maten hebben die groter zich dan de maten die in de paragraaf "Diameter van de potten" [Pag. 113] staan vermeld. Geen lege potten of pannen verwarmen, waar den die kuren oververhitten.

Wanneer men vetten of oliën gebruikt,要去 men zeer aandachtig blijven waar dat die vlam konnen vatten als ze oververhit raken. Als een pot met vet of olie in brand vliegt; mag men geen water erop gieten,ocht dat dit brandwonden kan veroorzaken; doe het vuur uit en bedek de pot met een vochtige doek, koppel het toestel los van het elektrische stroomnet.
14.3 Diameter van de recipiën
Hulpbrander: van 6 tot 14 cm
- Halfsnelle brander: van 15 tot 20 cm
Snelbrander: van 21 tot 26 cm
- Branders met dubbele kroon, driedubbele kroon, dual: van 24 tot 28 cm

Tijdens de werkung genereert de kookplaat warmte en vochtigheid in de kamer waar de planta geinstalleerd is. Zorg ervoor dat de keuken goed verlucht is. Langdurig gebruik van het toestel met enkele of alle branders kan een bijkomende ventilatie nodig make, zoals het openen van een raam en/of een hoger afzuigvermogen van de afzuigkap.
15. Schoonmaak en onderhoud

Gebruik geen stoomstraal om het toestel schoon te make.
Vór iedere interventie要去 de elektrische voeding van het toestel uitschakelen.
Vermijd om op het staal, op de roosters en op de andere delen van het toestel sporen van zure of alkalische stoffen te lately (azijn, citroensap, zout, tomatensap, ...)
15.1 Schoonmaak van het inoxstaal
Om het inoxstaal in goede staat te behouden,要去 die regelmatig worden schoongemaakt na elk gebruik, na afkoelen van de plaat.
15.1.1 Dagelijkse gewone schoonmaak
Gebruik enkel specifieke producten die geen schuurmiddelen of stoffen op basis van chloor bevatten om de oppervlakken in inoxstaal schoon te make.
Gebruiksaanwijzing: Giet het product op een vochtige doek en strijk over het oppervlak. Neem het product daarna volledig weg met een schone, vochtige doek.
15.1.2 Vlekken of voedingsresten

Vermijd absoluut het gebruik van metalen schuursponsen en snijdende schrapers om de oppervlakken Niet te beschadigen. Gebruik normale producten voor staal die nicht schuren, gebruik eventueel gereedschap in hout of plastic materiaal. Goed naspoelen en afdrogen met een zachte doek of met een zeemplap.
Het gebruik van het schoonmaakproduct Foster Steel Clean is aanbevolen voor de schoonmaak van staal; verwit u tot de technische Dienst voor inlichtingen waar dit product te verkrijgen is.
Gebruik geen chemische detergenten zoals ovensprays of ontvlekkers.
15.2 Schoonmaak van de gascomponenten
De roosters, afdekhoedjes en vlamverdeelkronen können weggenomen worden om de schoonmaak te vergemakkelijken: was ze in warm water en mild detergent dat Niet schuurt, zorg ervoor dat alle korstvorming weggnomen worden en droog ze onmiddelijk af met een doek. Hermonteer de afdekhoedjes op hun kronen. Componenten in gietijzer zoals de roosters en de branders mogen nicht in de vaatwasser.
Voor een goede werking要去 de ontstekingsbougies en de thermokoppels altijd goed schoon zich.
Controleer ze regelmatig en maak ze indien nodig schoon met een vochtige doek, daarna afdrogen.
Eventuel opgedroogde resten worden met een houten tandenstokertje of met een naald verwijderd.
Maak de kapjes en de vlamverdeelkronen regelmatig schoon na ieder gebruik. Gebruik het schoonmaakproduct Foster Steel Clean, dat men aanbrengt met een microvezeldoek in de richting van de afwerking, om minder hardnekig vuil te verwijderen en om de vlamverdeler te latent glanzen.
15.3 Reiniging van de geëmailleerde platen
Om de geëmailleerde staat in goede staat te behouden,要去 men die na ieder gebruik en na afkoeling regelmatig schoonmaken.
Om de email schoon te makeen en in goede staat te behouden, mag men uitsluitend een vochtige microvezeldoek gebruiken die met neutraal zeepsop is doordrenkt.
Gebruik geen producten die schurende stoffen bevatten of zure stoffen op basis van chloor.
Vermijd absoluut om metalen schuursponsjes of scherpe schrapers te gebruiken om de oppervlakken nicht te beschadigen.
15.4 Reiniging van de draaiknuppen
De draaiknuppen要去en met een zacht doek worden schoongemaakt, die met lauw water is bevoch-tigd en zorgvuldig worden afgedroogd.
Om de reiniging te vergemakkelijken können de draaiknuppen worden uitgetrokken door ze maar boven te trekken.
Gebruik geen agressieve producten die alcohol, chlorides of schurende producten bevatten.
15.5 Serigrafie op deplaat
Let zeer goed op om geen schurende of chemische producten op de serigrafie van deplaat te gebruiken. Gebruik uitsluitend een vochtige microvezeldoek.

Foster S.P.A. kan nicht aansprakelijk worden gesteld voor möglichke onjuisteden te wijten aan drukfouten of vertaalfouten in deze bijlage. Zij behoudt zich hetrecht voor om wijzigingen aan de eigen producten aan te brengen die ze nodig of nuttig ache, ook in het belang van de gebruiker, zonder de kenmerken van de werking en de verilgheid te veranderen.
YBaKaembl KIneHT,
Mbl gnarodapm Bac Bac 3a BbIbop nIITbFoster.
BaBb6op 3To Haaw npEaMeT rOpIOCTn yDObJIeTBOpEHnA.
B HactoIeM DOKyMeHbI CO6paHbI peKOMeHdaCUN INHCTpyKcUN, 6laOJapra KOTOpbIM, Bbl CMOxTe HauLyUHM O6pa3OM NcNoJIb3OBaTb PrnO6peTeHHyO PInTu INpOJaNTb eE CpOK McNoJIb3OBaHnA. Mbl npocm Bac yJeNtB HeCKoJIbKO MNHyT BHNMaHnA dJa COxpaHeHn AΦΦeKTHBHOCTn IpOdykTa n dJa BaJero yOBoTbOpeHnA.
C ybaKeHHem
Foster spa
CopejkaHne

ПЕДУПЕЖDEHЯ OBSETO XAPAKTEPA
Pekomehdau u obueo xapakmepa, neped nepboy ycmahOBko u no 3Kcnnyaamau npuo6pmEHNO nIumbl.
- PpeDynpexJeHnno 3KcNpyatau.. 117
- IpeDynpexJeHnno TeXnke 6e3oNaChocTn 118
- IpeynpejdeHn no ytnn3aun 118
- Y3haIte BaI np6op 119

Samenvatting gaskookplaten
| Legende | |||
| Serie N. | Brander | Vermogen (W) | |
| 1 | Bedieningsdraaiknop | ||
| II | 2 | Hulp 1.000 | |
| 3 | Halfsnel | 1.750 | |
| 4 | Snel | 2.700 | |
| 5 | Driedubbele kroon | 3.500 | |
| 10 Dual 4.500 | |||
| III | 6 | Hulp 1.100 | |
| 7 | Halfsnel | 1.750 | |
| 8 | Snel | 3.000 | |
| 9 | Driedubbele kroon | 3.800 | |
| AE | 11 Hulp 1.000 | ||
| 12 | Halfsnel | 1.750 | |
| 13 | Snel | 3.000 | |
| 14 | Dubbele kroon | 5.000 | |
| Type rand |
| Standaardrand (8 mm) STD Rand Q4 (4 mm) Q4 Halfaansluitende rand (3 mm) SF Aansluitende top rand FT |

Ipepeheb ra3OBbIX pIHT
Verwijzing maar de meet- en berekenmethodes, gebruikt om de overe- enstemming met de prestatiegrenzen van de energia-efficientre vast te stellen
De energia-efficientre van de gaskookplaten voor huishoudelijk gebruik op basis van de EU-regelgeving 66/2014: de waarden van elke brander worden bepaald door testen, in overeenstemming met de norm EN 30-2-1. De hulpbranders zijn uitgesloten, waar hun nominaal vermogen kleiner is dan a 1,16kW
CcbIkaHa MeToDbI N3MepEnHn paCheta,NCIOJIb3yEmbIe dIyUCTaHOBHeHn COOTBETCTBnO rPAnuHcHnRm IPON3BOIDTeJIbHOCTn 3HEpRETNueCKoJ 3000EKTINBHOCTn
3HepreTnuecka 3000eKTHBHOCTb Ra3OBO IJIHTbI Dn8 6bITOBORo npImeHn paaccntbIbAetc Ha OCHOBAHIN perlaMeNTa UE No 66/2014: 3NaueHn OTdJIbHbIX RopeJOK ONpeJeJIOTc C NOMOuBo Tecta cornaCHO CTaHapTa EN 30-2-1. NckIIOUeHbI BcnoMOratJIbHbIe ropeJKN, TaK KAK INX HOMHaJIbHa MoUHOCt b Hnke 1,16 KBT.
SimpelGids