PT 2700 SP - Climatisation TROTEC - Notice d'utilisation et mode d'emploi gratuit
Retrouvez gratuitement la notice de l'appareil PT 2700 SP TROTEC au format PDF.
| Caractéristiques techniques | Climatiseur mobile TROTEC PT 2700 SP, capacité de refroidissement de 2,7 kW, classe énergétique A. |
|---|---|
| Utilisation | Idéal pour les pièces jusqu'à 80 m³, fonctionnement en mode refroidissement, déshumidification et ventilation. |
| Maintenance et réparation | Filtres lavables et remplaçables, entretien régulier recommandé pour un fonctionnement optimal. |
| Sécurité | Système de protection contre la surchauffe, conforme aux normes de sécurité CE. |
| Informations générales | Poids de 25 kg, niveau sonore de 65 dB, dimensions compactes pour un rangement facile. |
FOIRE AUX QUESTIONS - PT 2700 SP TROTEC
Questions des utilisateurs sur PT 2700 SP TROTEC
0 question sur cet appareil. Repondez a celles que vous connaissez ou posez la votre.
Poser une nouvelle question sur cet appareil
Téléchargez la notice de votre Climatisation au format PDF gratuitement ! Retrouvez votre notice PT 2700 SP - TROTEC et reprennez votre appareil électronique en main. Sur cette page sont publiés tous les documents nécessaires à l'utilisation de votre appareil PT 2700 SP de la marque TROTEC.
MODE D'EMPLOI PT 2700 SP TROTEC
Normes de sécurité 2
Informations sur l'appareil 6
Transport et stockage 7
Montage et mise en service 7
Utilisation. 11
Défauts et pannes 12
Maintenance 13
Annexe technique. 16
Élimination 20
Déclaration de conformité 20

Danger
Ce symbole indique l'existence de risques pour la vie et la santé des personnes du fait de la présence de gaz extrêmement inflammable.

Avertissement relatif à la tension électrique
Ce symbole indique que la tension électrique cause des risques pour la vie et la santé des personnes.

Avertissement
Cette mention d'avertissement indique un risque moyen qui peut entraîner des blessures graves ou mortelles s'il n'est pas évité.

Attention
Cette mention d'avertissement indique un risque faible qui peut entraîner des blessures bénignes ou moyennes s'il n'est pas évité.
Remarque
Cette mention d'avertissement indique des informations importantes (par ex. dommages matériels), mais aucun danger.

Les indications représentant ce symbole vous aient à exécuter vos tâches rapidement et en toute sécurité.

Observer le mode d'emploi
Ce symbole vous indique qu'il est nécessaire d'observer la notice d'instructions.
Vous pouvez télécharger la dernière version de la notice d'instructions en suivant le lien ci-dessous :

PT 2700 SP https://hub.trotec.com/?id=46127
Normes de sécurité
Veuillez lire attentivement le présent manuel avant la mise en service ou l'utilisation de l'appareil et conservez-le à proximité immédiate du site d'installation ou de l'appareil même.

Avertissement
Lisez toutes les consignes de sécurité et toutes les instructions.
Le non-respect des consignes de sécurité risque de causer une électrocution, de provoquer un incendie ou de causer des blessures graves.
Conservez toutes les consignes de sécurité et toutes les instructions pour pouvoir vous y reporter ultérieurement.
Les enfants de moins de 8 ans et toute personne ayant des capacités physiques, sensorielles ou mentales réduites ou ne possédant pas l'expérience et les connaissances nécessaires peuvent utiliser l'appareil pour autant qu'ils bénéficient d'une supervision et d'une instruction adéquate relative à une utilisation sûre de l'appareil et qu'ils comprennent les dangers émanant de l'utilisation.
Les enfants ne sont pas autorisés à jouer avec l'appareil. Il est interdit aux enfants d'effectuer le nettoyage et l'entretien de l'appareil sans surveillance.
- N'utilisez pas et ne placez pas l'appareil dans les pièces ou les zones représentant un risque d'explosion.
- N'utilisez pas l'appareil dans les atmosphères agressives.
- Installez l'appareil debout et de façon stable sur une surface solide.
- Faites sécher l'appareil après un nettoyage humide. Ne le faites pas fonctionner s'il est mouillé.
- Ne touchez ou n'utilisez pas l'appareil les mains humides ou mouillées.
- N'exposez pas l'appareil à un jet d'eau direct.
- N'introduisez pas de corps étrangers ni de membres du corps à l'intérieur de l'appareil.
- Ne couvrez pas l'appareil pendant le fonctionnement.
- Ne vous asseyez pas sur l'appareil.
- L'appareil n'est pas un jouet. Tenez-le hors de portée des enfants et des animaux. Utilisez l'appareil uniquement sous surveillance.
- Avant chaque utilisation, vérifie le bon état de l'appareil, des accessoires et des pièces de raccordement. N'utilise pas l'appareil si celui-ci ou une des pièces qui le composent présente un defaulted.
- Protégez tous les câbles électriques en dehors de l'appareil contre les endommagements (par ex. par des animaux). N'utilisez jamais l'appareil lorsque le cordon électrique ou la fiche sont déteriorés!
- Le raccordement secteur doit correspondre aux indications données au chapitre « Annexe technique ».
- Raccordez la fiche de l'appareil à une prise de courant protégée selon les règles de l'art.
- Choisissez la rallonge de câble électrique conformément aux indications contenues dans les données techniques. Déroulez complètement la rallonge électrique. Évitez toute surcharge électrique.
- Avant l'entretien, la maintenance ou les réparations, débranchez le câble électrique de l'appareil en le saisisant par la fiche.
- Éteignez l'appareil et retirez le câble électrique de la prise lorsqu'elle n'est pas en service.
- N'utilisez jamais l'appareil si vous remarquez des défauts au niveau de la prise ou du câble électrique. Si le cordon secteur de cet appareil est endommagé, il doit être remplacé par le fabricant, son service après-vente ou par une personne qualifiée afin d'éviter tout risque. Les câbles électriques défectueux représentent un sérieux danger pour la santé.
- Lors de l'installation, respectez les distances minimales requises par rapport aux murs et aux objets ainsi que les conditions d'en entreposage et de fonctionnement conformément aux indications figurant dans l'Annexe technique. Veillez à ce que l'entrée et la sortie d'air soient libres.
- Ne retirez aucun signal de sécurité, autocollant ni étiquette de l'appareil. Tous les signaux de sécurité, autocollants et étiquettes doivent être conservés de manière à rester lisibles. Assurez-vous que le côté aspiration soit toujours exempt de saleté et de corps étrangers.
- Avant l'entreposage ou le transport, videz les condensats accumulés. Ne les buvez pas. Risques pour la santé !
- L'appareil doit être éteint lors du transport.

Consignes de sécurité pour les appareils contenant un réfrigérant inflammable
- N'installez l'appareil que dans les locaux où des pertes éventuelles de gaz réfrigérant ne risquent pas de s'accumuler. Lorsque l'appareil est installé, exploité ou entreposé dans un local non aéré, celui-ci doit être construit de telle sorte qu'il n'y ait pas d'accumulation de gaz en cas de perte éventuelle de réfrigérant. Le but est d'éviter les risques d'incendie ou d'explosion qui peuvent être provoqués par une inflammation du réfrigérant dont un four électrique, une cuisinière ou une autre source d'inflammation pourrait être à l'origine.
- N'installez l'appareil que dans un local où ne se trouve aucune source d'inflammation (par exemple une flamme ouverte, un appareil à gaz allumé ou un chauffage électrique).
- Notez bien que le gaz réfrigérant est inodore.
- N'installez l'appareil que dans le respect de la réglementation nationale en matière d'installation.
- Observe les consignes locales.
- Observe les consignes nationales relatives aux gaz.
- N'installez, n'utilisez et n'entreposez le PT 2700 SP que dans un local d'une surface supérieure à 15m²
- Entreposez l'appareil de manière à éviter tout dommage mécanique.
- Notez que les tuyaux raccordés ne doivent contenir aucune source d'inflammation.
- Le R290 est un réfrigérant conforme aux directives environnementales européennes. Aucune partie du circuit frigorifique ne doit être perforée.
- Observe la quantité maximale de réfrigérant dans les caractéristiques techniques.
- Ne pas percer ni brûler.
- N'utilisez aucun produit autre que ceux qui sont recommandés par le fabricant pour accélérer le processus de dégivrage.
- présenter un certificat, délivré par un organisme accrédité, attestant sa compétence dans la manipulation de gaz réfrigérants au moyen d'un procédé connu dans l'industrie.
- Les travaux de maintenance doivent être effectuels en conformité avec les consignes du fabricant. Si les travaux de maintenance ou de réparation nécessitent l'aide de personnes supplémentaires, la personne formée à la manipulation des réfrigerants inflammables doit surveiller les travaux en permanence.
- Tout le circuit réfrigérant est un système hermétiquement clos qui ne nécessite pas d'entretien ; seules une entreprise spécialisée dans le génie frigorifique et climatique ou l'entreprise Trotec sont autorisées à en effectuer la maintenance et la réparation.
Utilisation conforme
Utilisez l'appareil exclusivement pour refroidir l'air ambiant dans les espaces intérieurs dans l'observation des caractéristiques techniques.
L'appareil est prévu exclusivement pour un usage professionnel. L'appareil est idéal pour le refroidissement des salles de serveurs, des zones de production et des postes de travail. L'appareil a été conçu en vue d'une installation simple et d'une mise en service rapide. Grâce à ses roulettes robustes et pourvues de freins, l'appareil peut être mis en œuvre de manière mobile.
Utilisation prévisible
- N'installez pas l'appareil sur une surface mouillée ou inondée.
- Veuillez ne déposer aucun objet, comme p. ex. des vêtements, sur l'appareil.
- Veuillez ne pas utiliser l'appareil à l'extérieur.
- N'utilisez pas l'appareil dans des locaux humides (par ex. dans des salles de bains et bunderies).
- Ne plongez jamais l'appareil dans l'eau.
- N'effectuez pas de modifications structurelles, transformations ou ajouts arbitraires sur l'appareil.
- Toute utilisation autre que celle prévue est considérée comme une utilisation non conforme raisonnablement prévisible.
Qualification du personnel
Toute personne utilisant le présent appareil doit :
- prendre conscience des risques associés aux appareils électriques en environnement humide.
- avoir lu et compris la notice d'instructions, et notamment le chapitre Normes de sécurité.
Toute activité de maintenance nécessitant l'ouverture du carter est à effectuer par une entreprise spécialisée dans le génie frigorifique et climatique ou par la société Trotec.
Électricien
Les electriciens qualifiés doivent lire et comprendre les schémas électriques, mettre les machines électriques en marche, entretenir et réparer les machines, raccorder les armoires électriques et de commande, garantir la capacité fonctionnelle des composants électriques et reconnaître les risques éventuels lors de la mise en application de systèmes électriques et électroniques.
Remarque
Ne retirez aucun signal de sécurité, autocollant ni étiquette de l'appareil. Tous les signaux de sécurité, autocollants et étiquettes doivent être conservés de manière à rester lisibles.
Les signaux de sécurité et étiquettes suivants sont apposés sur l'appareil :
Observé la notice d'instructions
Ce symbole rappelle la nécessité de lire et d'observer le manuel d'utilisation.

Observer les instructions de réparation
Tout travail d'élimination, de maintenance ou de réparation sur le circuit réfrigérant doit être effectué exclusivement en conformité avec les consignes du fabricant et par des personnes en possession d'un certificat de compétence. Les instructions de réparation correspondantes sont disponibles sur demande auprès du fabricant.
Les autocollants suivants en allemand et en anglais sont appliqués sur l'appareil.

Avertissement
Veillez à ce qu'aucun objet ne tombe dans l'entrée d'air chaud ni dans le canal d'air froid. Tout corps étranger endommage les pales du ventilateur ou risque de bloquer le flux d'air, ce qui n'est pas couvert par la garantie.

Avertissement
Lorsque vous régalez l'angle de l'air froid, ne mettez pas la main dans le tuyau d'air soufflé. Réglez l'angle en saisissant l'habillage plastique.

Contrôlez régulièrement l'état de propreté du filtre.
Trop de poussière ou de saleté sur le filtre entrave l'arrivée d'air et entraîne le givrage de l'échangeur de chaleur. Ceci diminue sensiblement la capacité de refroidissement.

Attention
Des gaz inflammables se trouvent à l'intérieur de l'appareil. Il est interdit à toute personne non avertie de démonter ni de réparer l'appareil.

Avertissement
Arrêtez l'appareil lorsque le voyant Bac plein s'allume. Enlevez le bac de récupération de l'eau de condensation et videz-le. Veillez à ce que le bac de récupération de l'eau de condensation soit correctement remis en place avant de remettre l'appareil en marche.

Réfrigérant naturel propane (R290)
H220: gaz extrêmement inflammable.
H280: contient du gaz sous pression; peut exploser sous l'effet de la chaleur.
P210: Tenir éloigné de toute source de chaleur, des surfaces chaudes, des étincelles, des flammes ainsi que de toute autre source d'inflammation. Ne pas fumer.
P377: gaz en feu: ne pas éteindre tant que la fuite ne peut pas être colmatée sans danger.
P410+P403: conserver à l'abri du soleil dans un endroit bien aéré.

Avertissement relatif à la tension électrique
Toute intervention au niveau des composants électriques est à réaliser exclusivement par une entreprise spécialisée !

Avertissement relatif à la tension électrique
Retirez la fiche d'alimentation de la prise secteur avant tout type d'intervention sur l'appareil.
Ne touchez jamais la fiche secteur avec des mains humides ou mouillées.
Débranche le cordon secteur de la prise électrique en tirant sur la fiche secteur.

Avertissement relatif à la tension électrique
Risque d'électrocution!
L'appareil ne possède pas l'indice de protection adéquat pour une utilisation dans les locaux humides. Il existe un risque d'électrocution!
N'utilisez jamais l'appareil dans des locaux humides (par ex. dans des salles de bains et bunderies) et ne le plongez jamais dans l'eau!

Avertissement
L'utilisation de l'appareil peut comporter un risque s'il est utilisé par des personnes non compétentes ou en cas d'utilisation non conforme ou non conventionnelle! Observez les qualifications requises pour le personnel.

Avertissement
L'appareil n'est pas un jouet, il n'est pas adapté aux enfants.

Avertissement
Danger de suffocation!
Veuillez ne pas laisser traîner les emballages vides. Ils pourraient être dangereux pour les enfants.

Avertissement
Risque de blessures provoquées par les charges suspendues !
Assurez-vous que personne ne se trouve à proximité.
Remarque
N'utilisez jamais l'appareil sans filtre à air. Sans filtre à air, l'intérieur de l'appareil se salit ennormément, ce qui peut réduire ses performances et le déterminer.
Comportement en cas d'urgence
- Arrêtez l'appareil.
- En cas d'urgence, coupez immédiatement l'alimentation électrique de l'appareil. Débranchez le cordon secteur de la prise électrique en tirant sur la fiche secteur.
- Ne rebranchez jamais un appareil endommagé.
Description de l'appareil
L'appareil est destiné au refroidissement ponctuel. Dans le cas du refroidissement ponctuel, l'air ambiant refroidi est dirigé vers un point précis ou une zone délimitée (« Spotcooling »). La commande de l'appareil a lieu par l'intermédiaire de ses éléments de commande.
L'appareil refroidit l'air ambiant en lui extrayant de la chaleur. Le réfrigérant refroidit l'air venant de la pièce en absorbant la chaleur. L'air refroidi de la pièce est injecté au travers de la conduite d'air froid dans la pièce où l'appareil est installé. La vapeur d'eau contenue dans l'air ambiant condense sous forme d'eau ou se dépose comme givre sur les lamelles de l'évaporateur, puis est transportée dans le bac de réception d'eau de condensation.
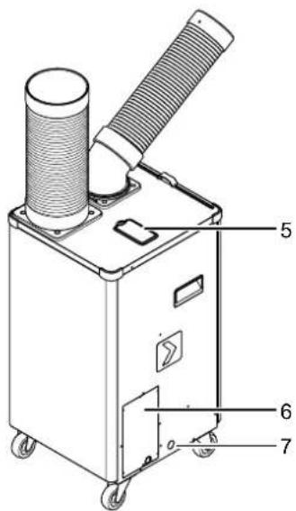
Représentation de l'appareil


| N° Désignation |
| 1 Conduite d'air chaud |
| 2 Poignée de transport |
| 3 Bac de récapération de l'eau de condensation |
| 4 Roulettes de transport avec blocage |
| 5 Sélecteur |
| 6 Cordon secteur et son compartment |
| 7 Raccord pour tuyau d'évacuation de l'eau de condensation |
| 8 Entrée d'air avec filtre à air |
| 9 Conduite d'air froid |
Remarque
L'appareil peut s'endommager si vous le transportez ou l'entreposez de manière inappropriée.
Observe les informations relatives au transport et à l’entreposage de l’appareil.
Transport
Observez que des consignes de transport supplémentaires peuvent s'appliquer aux appareils utilisant un réfrigérant inflammable. La disposition des équipements ou le nombre maximum de sous-ensembles pouvant être transportés ensemble dépend des consignes de transport applicables.
Pour faciliter le transport, l'appareil est pourvu de roulettes de transport.
Pour faciliter le transport, l'appareil est pourvu d'une poignée.
Veuillez observer les consignes suivantes avant chaque transport :
- Arrêtez l'appareil.
- Débranchez le cordon secteur de la prise murale en tirant sur la fiche secteur.
- Videz les condensats résiduels contenus dans l'appareil
- Veuillez ne pas utiliser le cordon électrique pour tirer l'appareil.
- Ne faites rouler l'appareil que sur des surfaces planes et stables.
Veuillez observer les consignes suivantes pendant le transport :
- Ne transporte l'appareil qu'en position verticale.
Veuillez observer les consignes suivantes après chaque transport :
- Installez l'appareil à la verticale après l'avoir transporté.
- Bloquez de nouveau les roulettes de transport au moyen des freins.
Stockage
Veuillez observer les consignes suivantes avant chaque stockage :
- Au besoin, nettoyez le bac de réception de l'eau de condensation et/ou le tuyau d'évacuation de l'eau de condensation (voir chapitre « Maintenance »).
- Videz les condensats résiduels contenus dans l'appareil
- Débranche le cordon secteur de la prise murale en tirant sur la fiche secteur.
Observez les conditions de stockage suivantes lorsque vous n'utilisez pas l'appareil :
- N'entreposez l'appareil que dans un local d'une surface supérieure à 15m²
- N'entreposez l'appareil que dans un local où ne se trouve aucune source d'inflammation (par exemple une flamme ouverte, un apparéil à gaz allumé ou un chauffage électrique).
- Stockez l'appareil au sec et protégé du gel et de la chaleur.
- Stockez l'appareil en position verticale, dans un endroit protégé de la poussière et de l'exposition directe au soleil.
- Le cas échéant, protégez l'appareil de la poussière par une housse.
- Ne placez un autre appareil ou aucun objet sur l'appareil, afin d'éviter de le déterminer.
Contenu de la livraison
- 1 accessoire 1 conduite d'air froid
- 1 raccord coude
- 1 filtré à air
- 1 bac de recueil de l'eau de condensation
- 1 conduite d'air chaud
- 1 mode d'emploi
Déballage de l'appareil
- Ouvrez le carton et sortez l'appareil.
- Retirez entièrement l'emballage de l'appareil.
- Déroulez complètement le câble électrique. Assurez-vous que le câble électrique n'est pas endommagé et ne le détériorez pas en le déroulant.
Mise en service
Lors de l'installation de l'appareil, observez les distances minimales requises par rapport aux murs et aux autres objets conformément aux indications figurant dans le chapitre Caractéristiques techniques.

- érant ne risquent pas de s'accumuler.
- N'installez l'appareil que dans un local où ne se trouve aucune source d'inflammation (par exemple une flamme ouverte, un apparéil à gaz allumé ou un chauffage électrique).
- Avant la remise en service de l'appareil, vérifiez
- Installez l'appareil debout et de façon stable sur une surface solide.
- En particulier lorsque l'appareil est placé au centre de la pièce, veillez à ce que le cordon secteur et tout autre câble électrique soient posés de sorte à éviter tout risque de trébuchement. Utilisez des couvre-câbles.
- Veuillez faire en sorte que les rallonges de câbles soient entièrement déroulées.
- Veillez à ce que les sorties et les entrées d'air, ainsi que le raccordement du tuyau d'évacuation d'air soient libres.
Veillez à ce qu'aucun rideau ni aucun autre objet ne bloque le flux d'air.
Mise en place du bac de récupération de l'eau de condensation
Remarque
De l'eau de condensation se forme durant le fonctionnement. Elle doit être collectée dans le bac de récupération.
Avant la mise en marche, assurez-vous que le bac de récupération de l'eau de condensation soit bien en place. Placez l'ouverture du bac sous l'évacuation de l'eau de condensation dans l'appareil (voir illustration). Il est possible de raccorder un tuyau d'évacuation de l'eau de condensation.

Raccordement de la conduite d'air froid
Pour le mode refroidissement ponctuel, il est nécessaire de raccorder une conduite d'air froid (9).
- Placez le raccord coude (11) sur le verrouillage à baionnette (12).
- Tournez le raccord coude (11) vers la droite jusqu'à ce qu'il s'enclenche.
- Placez la conduite d'air froid (9) sur le raccord coudé (11).
- Tournez la conduite d'air froid (9) vers la droite jusqu'à ce qu'elle s'enclenche.

Raccordement de la conduite d'air chaud
La conduite d'air chaud (1) doit être raccordée à l'appareil avant la mise en service.
- Vissez la conduite d'air chaud (1) sur l'appareil.

Orientation des conduites d'air
La conduite d'air froid (9) peut être orientée. De plus, la conduite d'air froid peut être inclinée vers le haut ou vers le bas. La conduite d'air chaud peut être orientée.

Remarque
La longueur des conduites raccordées ne doit pas dépasser 3 mètres.
- Coupe la conduite d'air en fonction de vos besoins afin de la raccourcir ou de la rallonger.
Le diamètre de la conduite à rallonger doit être de 200 mm.
- Placez la conduite à rallonger sur l'autre conduite en la faisant tourner vers la droite.
- Entourez le passage d'une conduite à l'autre au moyen d'un ruban adhésif solide.
Remarque
N'utilisez jamais l'appareil sans filtre à air. Sans filtre à air, l'intérieur de l'appareil se salit ennormément, ce qui peut réduire ses performances et le déterminer.
Avant la mise en marche, assurez-vous que le filtre à air soit bien en place.
- Si le filtre à air (8) n'est pas encore en place, introduisez-le dans l'évidement prévu.

Remarque
L'ouverture de la conduite d'air chaud, à l'extérieur, doit être à l'abri de la pluie et ne pas présenter de possibilité de reflux, ou être dirigée vers le bas.
La conduite d'air froid (1) doit être dirigée vers le point ou la zone à refroidir (voir chapitre « Utilisation »).
La conduite d'air chaud (1) doit être posée à l'extérieur afin que l'air chaud produit pour le refroidissement de l'air ambiant puisse être amené vers l'extérieur.

Utilisation
- Évitez de laisser les portes et les fenêtres ouvertes.
Éléments de commande

| No Désignation Signification | |
| 13 LED Bac plein S'allume lorsque le bac derécapération de l'eau de condensation est plein | |
| 14 Sélecteur | 0 = arrêt× = niveau de ventilation 1×= niveau de ventilation 2 |

Avertissement relatif à la tension électrique
Risque d'électrocution!
L'appareil ne possède pas l'indice de protection adéquat pour une utilisation dans les locaux humides. Il existe un risque d'électrocution!
N'utilisez jamais l'appareil dans des locaux humides (par ex. dans des salles de bains et bunderies) et ne le plongez jamais dans l'eau!
Mise en marche de l'appareil
- ÀpRES avoir installé l'appareil en suivant la description du chapitre « Mise en service », vous pouvez lemettre en marche.
- Placez le sélecteur (14) sur le niveau de ventilation 1 ou le niveau de ventilation 2-
L'appareil se met en marche en mode Refroidissement ponctuel.
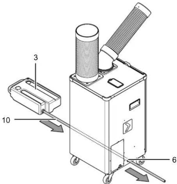
Raccordement du tuyau d'évacuation de l'eau de condensation
L'appareil peut être mis en œuvre avec un tuyau d'évacuation de l'eau de condensation (10).
Un tuyau adapté est à disposition (diamètre 13 mm).
- Raccordez le tuyau d’évacuation de l’eau de condensation (10) au bac de recapture de l’eau de condensation (3).
- Faites passer le tuyau d'évacuation de l'eau de condensation (10) à travers le raccord d'eau de condensation (7) de l'appareil.
- Poussez le bac de récupération de l'eau de condensation (3) dans l'évide upération de l'eau de condensation »

- Placez l'autre extrémité du tuyau dans une évacuation adéquate (par exemple une canalisation ou un bac collecteur suffisamment grand). Le tuyau d'évacuation de l'eau de condensation ne doit être ni plié ni installé en pente ascendante car, dans ce cas, l'eau ne pourrait pas s'écouler.


Avertissement relatif à la tension électrique
Ne touchez pas la fiche d'alimentation avec les mains humides ou mouillées.
- Pour arrêter l'appareil, placez le sélecteur (14) sur la position 0.
- Débranchez le cordon secteur de la prise murale en tirant sur la fiche secteur.
- Nettoyez l'appareil conformément aux indications figurant au chapitre « Maintenance ».
- Si nécessaire, videz le réservoir de récupération des condensats.
- Stockez l'appareil conformément aux indications figurant dans le chapitre Transport et stockage.
Défauts et pannes
Dans le cadre de sa production, le bon fonctionnement de l'appareil a été contrôlé à plusieurs reprises. Malgré tout, si l'appareil avait présenté des dysfonctionnements, contrôlez-le en vous conformant à la liste suivante :
L'appareil ne se met pas en marche :
- Vérifiez le raccordement au secteur.
- Vérifiez le bon état du cordon et de la fiche secteur. Si vous constatez que l'appareil est endommagé, n'essayez pas de le remettre en marche.
Si le cordon secteur de cet appareil est endommagé, il doit être remplacé par le fabricant, son service après-vente ou par une personne qualifiée afin d'éviter tout risque.
- Vérifiez le fusible ou le disjoncteur secteur.
- Observez la température de fonctionnement admissible indiquée dans le chapitre « Annexe technique »
- Attendez 10 minutes avant de redémarrer l'appareil. Si l'appareil ne démarre pas, faites-le réviser par une entreprise spécialisée ou par la société TROTEC.
L'appareil fonctionne sans refroidir ou les performances de refroidissement sont réduites :
- Vérifiez la propreté du ou des filtres à air. Si nécessaire, nettoyez ou remplacez le(s) filtre(s) à air.
- Vérifiez les distances minimales par rapport aux murs et aux autres objets. Le cas échéant, placez l'appareil plus loin dans la pièce.
- Vérifiez le réglage de température de l'appareil. Diminuez la température définie au cas où elle est supérieure à la température de la pièce.
L'appareil est bruyant ou il vibre :
- Vérifiez si l'appareil est stable et bien installé en position verticale.
De l'eau de condensation coule de l'unité interne
- Vérifiez si l'appareil présente des fuites.
Le compresseur ne se met pas en marche :
- Vérifiez si la protection anti-surchauffe du compresseur s'est déclenchée. Débranchez l'appareil et laissez-le refroidir pendant 10 minutes environ avant de le rebrancher sur le secteur.
- Le compresseur peut eventuellement démarrer avec un retard de 3 minutes, car il est équipé d'une protection interne contre la remise en marche immédiate.
L'appareil devient très chaud, il est bruyant ou il perd de la puissance :
- Vérifiez si les entrées d'air et le filtre à air sont encrassés. Nettoyez la saleté extérieure.
- Contrôlez l'extérieur de l'appareil pour détecter d'éventuels encrassements (voir chapitre Maintenance). Faites nettoyer l'intérieur de l'appareil encrassé par une entreprise spécialisée dans le génie frigorifique et climatique ou par la société Trotec.
Remarque
Attendez au moins 3 minutes après avoir terminé les travaux de maintenance et de réparation. Vous pouvez alors remettre l'appareil en marche.
L'appareil ne fonctionne pas parfaitement après les contrôles :
Contactez le service après-vente. Faites réparer l'appareil par une entreprise spécialisée dans le génie frigorifique et climatique ou par la société Trotec.
Maintenance Intervalles de maintenance Protocole de maintenance et d'entretien
| Intervalles de maintenance et d'entretien avant chaque mise en service | au besoin au moins les 2 semaines | au moins toutes les 4 semaines | au moins tous les 6 mois | au moins une fois par an |
| Contrôle de l'entrée et de la sortie d'air pour détector les encrasements ou les corps étrangers, nettoyage le cas échéant | X | X | ||
| Contrôle des bouches d'ascipation et de sortie d'air pour détector les encrasements et les corps étrangers, nettoyage le cas échéant | X | X | ||
| Nettoyage extérieur X X | ||||
| Contrôle visuel de l'intérieur de l'apparil pour détector des encrasements | X | X | ||
| Contrôle du filtré à air pour détector d'éventuels encrasements ou corps étrangers, nettoyage ou remplacement le cas échéant | X | X | ||
| Remplacement du filtré à air X | ||||
| Recherche de déterriorations eventuelles X | ||||
| Contrôle des vis de fixation X X | ||||
| Test fonctionnel X | ||||
| Vidange et nettoyage du bac de récapération de l'eau de condensation et/ou du flexible d'évacuation | X |
Type d'appareil : Numéro de série :
| Intervalles de maintenance et d'entretien | 1 | 2 | 3 | 4 | 5 | 6 | 7 | 8 | 9 | 10 | 11 | 12 | 13 | 14 | 15 | 16 |
| Contrôle des bouches d'aspiration et de sortie pour détecter les encrasements ou les corps étrangers, nettoyage le cas échéant | ||||||||||||||||
| Contrôle du filtrtre à air pour détector d'éventuels encrasements ou corps étrangers, nettoyage ou remplacement le cas échéant | ||||||||||||||||
| Contrôle des bouches d'aspiration et de sortie d'air pour détecter les encrasements ou les corps étrangers, nettoyage le cas échéant | ||||||||||||||||
| Nettoyage extérieur | ||||||||||||||||
| Contrôle visuel de l'intérieur de l'appareil pour détector des encrasements | ||||||||||||||||
| Remplacement du filtrtre à air | ||||||||||||||||
| Recherche de déterriorations eventuelles | ||||||||||||||||
| Contrôle des vis de fixation | ||||||||||||||||
| Test fonctionnel | ||||||||||||||||
| Vidange et nettoyage du bac de récapération de l'eau de condensation et/ou du flexible d'évacuation |
| 1. Date : Signature : | 2. Date : Signature : | 3. Date : Signature : | 4. Date : Signature : |
| 5. Date : Signature : | 6. Date : Signature : | 7. Date : Signature : | 8. Date : Signature : |
| 9. Date : Signature : | 10. Date : Signature : | 11. Date : Signature : | 12. Date : Signature : |
| 13. Date : Signature : | 14. Date : Signature : | 15. Date : Signature : | 16. Date : Signature : |

Avertissement relatif à la tension électrique
Ne touchez pas la fiche d'alimentation avec les mains humides ou mouillées.
- Arrêtez l'appareil.
- Débranche le cordon secteur de la prise murale en tirant sur la fiche secteur.

Avertissement relatif à la tension électrique
Tout travail nécessitant l'ouverture de l'appareil est à réaliser par une entreprise spécialisée homologuée ou par la société Trotec.

Réfrigérant naturel propane (R290)
H220: gaz extrêmement inflammable.
H280: contient du gaz sous pression; peut exploser sous l'effet de la chaleur.
P210: tenir éloigné de toute source de chaleur, des surfaces chaudes, des étincelles, des flammes ainsi que de toute autre source d'inflammation. Ne pas fumer.
P377: gaz effluent en feu: ne pas éteindre tant que la fuite ne peut pas être colmatée sans danger.
P410+P403: conserver à l'abri du soleil dans un endroit bien aéré.
- Tout le circuit réfrigérant est un système hermétiquement clos qui ne nécessite pas d'entretien ; seules une entreprise spécialisée dans le génie frigorifique et climatique ou l'entreprise Trotec sont autorisées à en effectuer la maintenance et la réparation.
Signaux de sécurité et étiquettes sur l'appareil
Contrôlez régulièrement les signaux de sécurité et les étiquettes se trouvant sur l'appareil. Renouvelez les signaux de sécurité en cas d'illisibilité.
Nettoyage du boîtier
Nettoyez le boîtier avec un chiffon humide, doux et non pelucheux. Veillez à ce qu'aucune humidité ne pénètre dans le boîtier. Veillez à ce qu'aucune humidité ne puisse entrer en contact avec les composants électriques. N'utilisez pas de détergents agressifs, comme les aerosols de nettoyage, les solvants, les nettoyants à base d'alcool ou les produits abrasifs pour humidifier le chiffon.
Contrôle visuel de l'intérieur de l'appareil pour détecter des encrasements
- Retirez le filtre à air.
- Munissez-vous d'une lampe de poche pour éclairer l'intérieur de l'appareil à travers les ouvertures.
- Examinez l'intérieur de l'appareil pour détecter d'éventuels encrassements.
- Si vous détectez une épaisse couche de poussière, faites nettoyer l'intérieur de l'appareil par une entreprise spécialisée dans le génie frigorifique et climatique ou par la société TROTEC.
- Remettez le filtre à air en place.


Nettoyage du filtre à air
Il est nécessaire de nettoyer le filtre à air dès qu'il est sale. Cela se traduit, par exemple, par une capacité réduite (voir chapitre Défauts et pannes).

Avertissement
Veuillez vous assurer que le filtre à air ne soit ni usé ni endommagé. Les coins et les arêtes du filtre à air ne doivent être ni déformés ni arrondis. Avant de remettre le filtre à air en place, veuillez vous assurer que celui-ci est intact et sec !
- Retirez le filtre à air de l'appareil.

- Nettoyez le filtre avec un chiffon doux légèrement humide non pelucheux. Si le filtre est très encrassé, nettoyez-le à l'eau chaude à laquelle vous aurez mélangé un produit de nettoyage neutre.
- Laissez le filtre sécher complètement. N'insérez pas de filtre mouillé dans l'appareil!
- Insérez à nouveau le filtre à air dans l'appareil.

Vider le condensat (vidage manuel)
Le mode Refroidissement produit du condensat qui est évacué en grande partie avec l'air sortant.
Le reste du condensat est collecté dans le bac situé à l'intérieur de l'appareil. Il est nécessaire de vider régulièrement le bac.
Lorsqu'une trop grande quantité d'eau de condensation s'est accumulée, l'appareil s'éteint et le signale par l'intermédiaire de la LED Bac plein (13). En complément, un signal sonore se fait entendre.
- Tirez le bac de récupération de l'eau de condensation (3) hors de son emplacement.

- Videz le bac de récupération de l'eau de condensation.
- Insérez à nouveau le bac dans l'appareil.
La LED Bac plein (13) ne s'allume plus lorsque vous remettez l'appareil en marche.
Activités après la maintenance
Si vous désirez continuer d'utiliser l'appareil :
- Rebranche l'appareil en mettant la fiche dans la prise secteur.
Si vous n'utilisez pas l'appareil pendant une longue durée :
- Stockez l'appareil conformément aux indications figurant dans le chapitre Transport et stockage.
Annexe technique
Données techniques
| Modèle PT 2700 SP | |
| Puisance frigorifique 2,7 kW | |
| Capacité de déshumidification 1,3 | l/h |
| Plage de fonctionnement 18 °C à 45 °C | |
| Débit volumique d'air max. 400 m | 3/h |
| Raccordement secteur 220 V - 240 V / 50 Hz | |
| Courant nominal 4,2 A | |
| Indice de protection IPXO | |
| Puisance absorbée max. (mode Refroidissement) | 1,15 kW |
| Niveau sonore à 1 m de distance 55 dB(A) | |
| Réfrigérant R290 | |
| Quantité de réfrigérant 250 g | |
| Facteur PRP 3 | |
| Équivalent CO2 | 0,00075 t |
| Pression côte aspiration 1 MPa | |
| Pression côte sortie 2,5 MPa | |
| Pression max. admissible 2,5 MPa | |
| Dimensions (longueur x largeur x hauteur) | 405 x 430 x 855 mm |
| Capacité du bac de récapération de l'eau de condensation | 5 l |
| Distance minimale par rapport aux murs et aux objets : vers le haut : vers les côtsés : vers l'avant : vers l'arrière : | 90 cm 30 cm 30 cm 30 cm |
| Poids 42 kg |

Nomenclature et liste des pièces de rechange
Remarque: Les numéros de réparation des pièces de rechange sont différents des numéros de réparation des composants utilisés dans le manuel d'utilisation.

Le pictogramme représentant une poubelle barrée, apposé
sur un appareil électrique ou électronique, signifie que celui-ci ne doit pas être éliminé en fin de vie avec les ordures ménagères. Des points de collecte gratuits pour les appareils électriques ou électroniques usagés sont à votre disposition à proximité de chez vous. Les autorités de votre ville ou de votre commune peuvent vous en fournir les adresses. Pour de nombreux pays de l'UE, vous trouverez sur la page Internet https://hub.trotec.com/?id=45090 des informations sur d'autres possibilités de prise en charge. Sinon, adressez-vous à une entreprise homologue dans votre pays pour le recyclage et l'élimination des appareils électriques usagés.
La collecte séparée des appareils électriques et électroniques usagés permet leur réutilisation éventuelle, le recyclage des matériaux constitutifs et les autres formes de recyclage tout en évitant les conséquences négatives pour l'environnement et la santé des produits dangereux qu'ils sont susceptibles de désirer.
Faites éliminer le réfrigérant propane contenu dans l'appareil de façon appropriée et conforme à la législation en vigueur par une entreprise homologuée en conséquence (N° 160504 du catalogue européen des déchets).
Déclaration de conformité
Traduction de la déclaration de conformité originale conformément à la directive CE Machines 2006/42/CE, annexe II, partie 1, section A
Nous, société Trotec GmbH, déclarons sous notre seule responsabilité que le produit désigné ci-après a été développé, conçu et fabriqué conformément aux exigences de la directive CE Machines, version 2006/42/CE.
Modèle / produit : PT 2700 SP
Type : climatiseur spotcooling
Normes harmonisées appliquées :
EN 55014-1:2017/A11:2020 EN 60335-2-40:2003/A13:2012 EN 61000-3-11:2000
Normes et spécifications techniques nationales appliquées :
EN 55014-2:2015 EN IEC 61000-3-2:2019 EN 61000-3-3:2013/A1:2019 EN 60335-1:2012/A2:2019 EN 62233:2008
Nom du fabricant et de la personne autorisée à établir les documents techniques :
Trotec GmbH
Grebbener Straße 7, D-52525 Heinsberg
Téléphone: +49 2452 962-400
E-mail: info@trotec.de
Lieu et date de la déclaration :
Heinsberg, le 21.03.2022

Notice Facile