RH750 - Amplificateur audio TC ELECTRONIC - Notice d'utilisation et mode d'emploi gratuit
Retrouvez gratuitement la notice de l'appareil RH750 TC ELECTRONIC au format PDF.
| Caractéristiques Techniques | Amplificateur basse de 750W, technologie Class D, poids léger, conception compacte. |
|---|---|
| Connectivité | Entrées XLR, jack 1/4", sortie DI, sortie haut-parleur, Bluetooth. |
| Utilisation | Idéal pour les bassistes professionnels, adapté aux concerts et aux répétitions. |
| Maintenance | Nettoyer régulièrement les entrées et sorties, vérifier les câbles et connexions. |
| Sécurité | Utiliser avec des haut-parleurs compatibles, éviter les surcharges pour prévenir les dommages. |
| Informations Générales | Garantie constructeur, support technique disponible, manuel d'utilisation inclus. |
FOIRE AUX QUESTIONS - RH750 TC ELECTRONIC
Questions des utilisateurs sur RH750 TC ELECTRONIC
0 question sur cet appareil. Repondez a celles que vous connaissez ou posez la votre.
Poser une nouvelle question sur cet appareil
Téléchargez la notice de votre Amplificateur audio au format PDF gratuitement ! Retrouvez votre notice RH750 - TC ELECTRONIC et reprennez votre appareil électronique en main. Sur cette page sont publiés tous les documents nécessaires à l'utilisation de votre appareil RH750 de la marque TC ELECTRONIC.
MODE D'EMPLOI RH750 TC ELECTRONIC
1 Lisez ces instructions. 2 Conservez ces instructions. 3 Tenez compte des avertissements. 4 Suivez toutes les instructions. 5 N'utilisez pas cet appareil près de l'eau. 6 Nettoyez l'appareil à l'aide d'un chiffon sec. 7 N'obstruez pas les ouïes de ventilation. Installez l'appareil en respectant les instructions du fabricant. 8 Éloignez l'appareil des sources de chaleur : radiateurs, bouches de chauffe, fours et autres (y-compris les amplificateurs). 9 Respectez le dispositif de mise à la terre de la prise secteur. Une prise polarisée est équipée de deux fiches, l'une plus large que l'autre. Une prise avec borne de terre est équipée de deux fiches et d'une borne de terre. La fiche large, ou la borne de terre, sont garanties de votre sécurité. Si la fiche secteur fournie avec l'appareil ne correspond pas à la prise secteur de toute installation, faites remplacer cette dernière par un électricien. 10 Disposez les câbles de sorte qu'ils ne puissent pas être piétinés, coincés ou pinçons ; une attention toute particulière doit être accordée au niveau des prises secteur et de l'embase secteur de l'appareil. 11 Utilisez uniquement les câbles/accessoires recommandés par le fabricant. 12 Utilisez uniquement le chariot, pied, support, etc., spécifié par le fabricant ou vendu avec l'appareil. Lorsque vous utilisez un chariot, soyez très prudent lorsque vous le déplacer pour éviter toute chute et tout accident. 13 Débranchez cet appareil du secteur lors des orages ou des longues périodes d'inutilisation. 14 Adressez-vous à un technicien qualifié pour toute réparation. L'intervention d'un technicien est nécessaire dans les cas suivants : le cordon d'alimentation ou la prise secteur sont endommagés, des corps étrangers ou du liquide se sont introduits dans l'appareil, l'appareil a été exposé à la pluie ou à l'humidité, l'appareil montre des signes de dysfonctionnement ou est tombé.
Attention danger!
Pour éviter tout risque d'électrocution ou d'incendie, ne pas exposer cet appareil à chaque source liquide (gouttes d'eau, projections liquides, etc.) et veillez à ne poser aucun objet contenant un liquide sur l'appareil. - Reliez toujours l'appareil à la terre. Utilisez toujours un cordon d'alimentation à trois fils avec dispositif de mise à la terre semblable à celui qui accompagne l'appareil. Utilisez always the cables and connecteurs supporting la tension de l'installation. - Vérifiez toujours la tension en vigueur dans l'installation. Voir tableau ci-dessous :
240V BS 1363 de 1984. Caractéristiques pour câble
13 A avec fusible et embase secteur commutable et non commutable.
Cet appareil doit être installé à proximité directe de la prise secteur. La déconnexion doit pouvoir être réalisée facilement. • Pour complètement isoler l'appareil du secteur, débranche la fiche secteur de la prise.
Le cordon secteur doit toujours rester en parfait état de fonctionnement. - N'installez pas l'appareil dans un espace confiné. N'ouvrez pas l'appareil. Risque d'électrocution.
Attention :
Toute modification apportée à l'appareil et qui n'est pas expressément préconisée dans ce manuel invalide votre droit à utiliser cet appareil.
Service
Aucun élément interne n'est réparable par l'utilisateur. - Confiez toutes les opérations de maintenance à un personnel qualifié.
Emc/emi
Cet appareil a passé avec succès les tests relatifs aux équipements numériques de classe B (section 15 des réglementations fédérales américaines). Ces tests ont été instaurés afin de garantir une protection suffisante contre les interférences parasites en environnement résidentiel.
Ce matériel génère, utilise et peut émettre des ondes radio qui peuvent, en
cas d'installation incorrecte, causeur des interférences radio préjudiciables aux communications radio. Nous ne pouvons en aucun cas garantir l'absence totale d'interférences dans tous les cas d'installation.
Si cet équipement est source d'interférences radio et télévision parasites (verifiable en plaçant l'appareil sous/hors tension), nous vous encourageons vivement à résoudre le problème de la façon suivante :
- Réorientez ou déplacez l'antenne de réception. Éloignez l'appareil du récepteur.
- Connectez l'appareil à une ligne secteur différente de celle du récepteur.
- Consultez le revendeur du matériel ou un spécialiste radio/TV.
Pour les utilisateurs au canada :
Cet appareil numérique de la classe B est conforme à la norme NMB-003 du Canada.
TABLE des matières
Consignes de Sécurité Importantes
Certificat de Conformité a-b
Table des matières 3
Introduction. 4
Guide de mise en route rapide. 5
Panneau frontal. 7
RC-4 14
Panneau arrière. 15
Appendice
Mode de Protection Général 19
Mode de Protection contre la Surchauffe 19
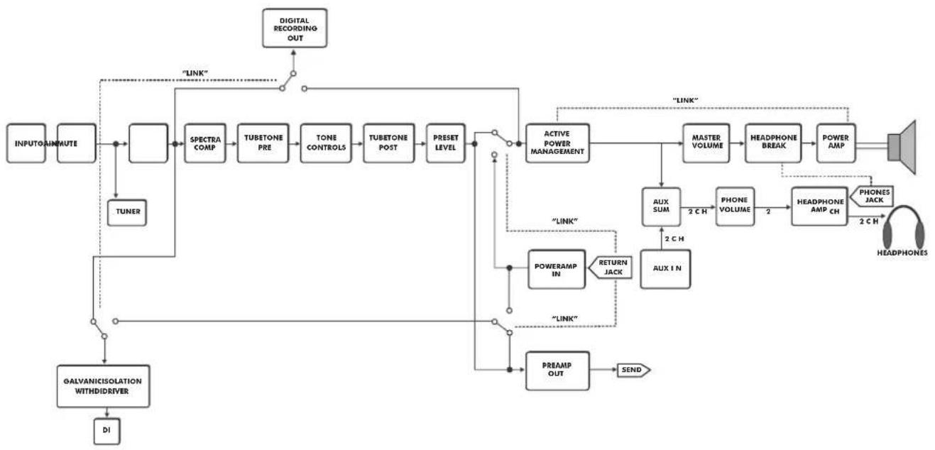
Diagramme de flux de signal. 20
Puissance et son à la pelle!
Félicitations. Vous êtes en train de déballer un ampli basse qui vous fournira des tonnes de puissance et de variétés tonales pendant des années.
Par essence, notre concept Bass Amp 2.0 vous permet de vous concentrer sur votre jeu. Avec un accordeur basse intégré, 3 presets et une brouette d'options tonales - telles que SpectraComp, TubeTone, TweeterTone et EQ 4 bandes - vous pouvez sculpter n'importe quel son désiré, vous accorder en quelques secondes, et changer librement de basse ou de style de jeu sur scène.
SpectraComp est un compresseur unique "par corde", loué par les bassistes du monde entier pour sa compression constante d'une corde à l'autre. TubeTTone est une reproduction étonnante de préamplis et amplis à tubes. Combinez ces fonctions avec un puissant equaliseur 4 bandes semi-paramétrique ainsi que la nouvelle fonction de contrôle intelligent des haute fréquences appelée TweeterTone, et vous obtenez un ensemble d'outils pour la basse sans rival dans sa classe.
Grâce à trois préréts, vous pourrez sauvegarder vos sons favoris, ajustés avec soin pour différentes basses ou styles musicaux. Enfin, le passage d'une Fender vintage à une basse active moderne, ou bien entre un style Funky R n' B et Rock classique peut se faire sans effort.
Enfin, l'accordeur chromatique intégré pour basse permet une justesse parfaite de votre basse sur scène. L'accordeur affiche constamment l'état d'accordage de votre basse, et c'est un jeu d'enfant de l'accorder en silence et rapidement entre les morceaux, en pressant la touche Mute. Il n'a jamais été aussi rapide de revenir à l'essentiel - jour de la musique!
Avez-nous parlé des 750 Watts?
Profitez bien de votre nouvel ampli bass!
Nous nous réservons le droit de changer le contenu de ce manuel à tout moment. La dernière révision peut toujours être téléchargée sur www.tcelectronic.com. Si vous nécessitez des informations supplémentaires ou du support, assurez-vous de visiter www.tcelectronic.com/support
tc electronic
GUIDE de mise en ROUTE RAPIDE
Voici quelques étapes rapides pour que vous puissiez démarrer à jour en quelques minutes.
Déballage
- Déballez votre ampli RH750
- Le colis doit contenir les éléments suivants : - ampli RH750 Cable d'alimentation Cable RCA vers Mini-jack
- Manuel.
- Vérifiez que les articles n'ont pas subi de dommages lors du transport. Si ce cas de figure (improbable) se présente, informez-en le transporteur et le fournisseur.
- Conservez tout l'emballage si vous constatez des avaries car cela peut justifier des manipulations brutes.
- C'est aussi une bonne idée de conserver l'emballage pour éventuels futurs transports.
Branchement
- Connectez la sortie "Speaker Out" à votre baffle, à l'aide d'un câble Haut parleur. Les câbles jack 1/4" ou speakon peuvent être utilisés.
- Vous pouvez connecter jusqu'à trois Baffles TC Electronic RS ou deux baffles de 8 Ohm d'une autre marque (charge minimum: 4 Ohm)
- Connectez le cable d'alimentation et allumez. L'alimentation du RH750 accepte des tensions de 100 à 240 VAC.
- Connectez votre basse sur l'entrée jack du panneau avant.
- Ajustez le gain d'entrée avec le bouton GAIN.
- Ajustez le volume de sortie avec le bouton MASTER. Jouez!
Accessoires
Les articles suivants sont disponibles chez votre magasin de musique :
Baffles RS210, RS410, RS112 et RS212 - RC4: C'est un pédalier à quatre boutons qui vous permet de commuter entre les trois mémoires, mais aussi de couper le son pour s'accorder. Le pédalier affiche également les informations de l'accordeur. - Équerres 19" vous permettant de monter l'ampli dans un rack standard 19". - Housses souples pour l'ampli RH450 et le pédalier RC4. Flight cases pour la tête d'ampli RH450 amplifier et le pédalier RC4. - Flight cases pour certains baffles
Vous pouvez vous connecter sur le site www.tcelectronic.com pour obtenir les dernières nouvelles concernant ces produits et autres produits TC Electronic.

Vous pouvez connecter une cassette passive ou active à cette entrée jack 1/4. L'étage d'entrée du RH750 est conçu pour s'adapter à n'importe quel type de transducteur basse
2+3 - GAIN & overload LED
Le gain d'entrée doit être réglé le plus haut possible sans saturer l'étage d'entrée. Pour trouver le bon réglage, branche simplement votre ampli, jouez tout en augmentant le niveau de GAIN jusqu'à ce que la LED OVERLOAD s'éclaire de manière intermittente. Puis réduisez légèrement le gain, enfin tournez le bouton de volume MASTER pour commencer à jouer.
4 - Contrôles de tonalité
Le RH750 comprend quatre contrôles de tonalité : Bass, Lo-Mid (medium bas), Hi-Mid (Medium-haut) et Treble (aigues). Ces
contrôles ont été ajustés soigneusement pour couvrir quatre plages de fréquences propres à la base, et devraient vous permettre de régler votre son avec facilité.
Comme vous le savez, chaque instrument a ses propres caractéristiques sonores. Donc, si vous sentez que les contrôles de tonalité du RH750 ne correspondent pas exactement aux fréquences que nécessite particulièrement votre instrument, vous pouvez changer le centre des quatre bandes de fréquences de l'EQ.
Changement de fréquence des contrôles de tonalité
Vouspez changer les fréquences de contrôles des quatre bandes de fréquences. C'est ce que l'on appelle parfois les "bandes paramétriques" ou "sweepable (à balayage)" Normalement les boutons BASS, LO-MID, HI-MID et TREBLE servent à régler le gain de chaque bande d'égaliser. Pour
changer la fréquence centrale d'une bande de l'égaliseur, pressez la touche SHIFT une fois, puis ajustez la fréquence centrale en tournant son bouton respectif.

Exemple: Pressez SHIFT puis tournez le bouton LO-MID pour changer la fréquence centrale de ce contrôle

Parfois les contrôles de tonalité "à balayage" peuvent être fastidieux à travailler. Voici un guide pas à pas pour ajuster la bande Low-Mid de votre RH750:
- Augmentez le gain de la bande LOW-MID - Plus vous la boostez, plus il sera facile de trouver la bonne fréquence.
- Pressez la touche SHIFT pour accéder au réglage de fréquence centrale des bandes de l'égaliseur.
- Puis, tout en jouant de votre basse, tournez lentement le bouton LO-MID pour balayer la fréquence bas-médium sur la plage de fréquences. Vous pouvez aussi demander à une autre personne d'effectuer cette manoeuvre tandis que vous jouez. Lorsque vous trouvez la fréquence que vous souhaitez
contrôle, pressez de nouveau la touche SHIFT pour retourner au contrôle du gain et en régler la quantité nécessaire pour la bande Low-mid.

Lorsque le RH750 est en mode Shift, la touche SHIFT clignotera pour indiquer que vous êtes bien dans ce mode. Si vous ne manipulez pas les boutons de réglage de la face avant pendant environ vingt secondes, la LED clignotera rapidement et le RH750 retournera automatiquement en mode normal.
Gain et plages de fréquences
Plage Basses Fréquences: 71 Hz à 1120 Hz (défaut: 200)
Gain Basse: -24 dB à +15 dB
(Type Shelving)
Plage Bas Medium: 100 Hz à 1600 Hz (défaut: 400)
Gain Bas Medium: -24 dB à +15 dB
(Fixe 2.1 oct.)
Plage Haut Medium: 200 Hz à 3150 Hz (défaut: 800)
Gain Haut Medium: -24 dB à +15 dB
(Fixe 2.1 oct.)
Plage hautes Freq: 400 Hz à 6300 Hz (défaut: 4000)
(Shelving type)
5 - Spectracomp™
Tournez le bouton pour ajuster le niveau de compression SpectraComp™
SpectraComp™ utilise une approche de compression dite spectrale ou multibande, ici permettant une compression séparée des bandes de fréquence basses, mediums et aigues. La compression multibande permet une compression largement plus douce et plus transparente sans pour autant ALTERER la dynamique ou le son.
SpectraComp™ est un comprisseur évolué, optimisé pour obtenir le meilleur d'un signal de basse. Si vous pouvez l'entendre, tournez le bouton tout en jouant. Si vous pouvez en savoir plus à ce sujet, consultez la section "SpectraComp en profondeur" ci-dessous.
SpectraComp en profondeur
Réduction de Gain / Compression Métre
Lorsque vous utilisez SpectraComp™, l'anneau lumineux autour du bouton GAIN se dédouble en bargraphe de mesure de compression, et indique la quantité de compression appliquée au signal.
Auto Make-up Gain
La compression réduit par nature les parties les plus fortes et les pics de signal et vous pouvez partager que beaucoup de compresseurs conventionnels "mangent" le niveau de votre signal, résultat en un volume de sortie plus faible.
SpectraComp™ compense automatiquement la réduction de gain due à la compression, vous donnant un volume de sortie égal.
Spectral compression comparée à la compression pleine bande
Tous les compresseurs du marché pour la basse se basent sur le principe "pleine bande", ce qui veut dire que le compresseur réagira et compressera de la même manière sur tout le spectre des fréquences (20 Hz à 20 kHz). De la corde grave MI (ou SI) jusqu'à la corde SOL : La basse électrique a une plage dynamique très large. Lorsqu'on utilise des compresseurs standards, la corde MI - du fait de son énergie supérieure - contrôle quand et comment le compresseur répond et façonne le signal tout entier. En général, il en résulte que la corde SOL n'est jamais compressée, ou bien que si la corde SOL commence à sonner correctement, la corde MI est trop compressée. Autrement dit : vous devez faire des compromis serrés et difficiles.
Avec Spectral Compression, RH750 utilise une approche différente qui permet une compression indépendante des bandes de fréquences graves, mediums et aigues. De cette manière, la quantité de compression ajustée est appliquée individuellement à chaque corde de votre basse, et il en résulte une compression plus douce et bien plus transparente.
Beaucoup d'amplis et baffles incluent un contrôle HF "L Pad" sur l'arrête du baffle. Ce contrôle règle normalement le niveau du tweeter dans le baffle, et ajuste généralement le niveau des hautes fréquences.
TweeterTone est de loin plus intuitif et est un meilleur moyen d'ajuster le contenu des hautes fréquences. En utilisant
TweeterTone, non seulement vous augmentez ou diminuez le niveau du Tweeter - Vous obtenez aussi un ajustement des HF bien plus agréable et plus musical. Et à la place de crapahuter à l’arrête du baffle, vous pouvez simplement utiliser le bouton TweeterTone qui est sur le panneau avant.
Enfin, TweeterTone est sauvegardé dans les presets. Cela vous permet d'ajuster le niveau de HF avec le reste du son, et passer d'un son vintage rond et chaud à un réglage pétillant de slap - simplement en appuyant sur une touche de preset.
6-TUBETONETM
TubetoneTM vous permet d'alterer la "personnalité" et le son de votre RH750. Les effets que vous pouvez réaliser vont d'une touche légère, caractéristique de la réponse d'un ampli à tube classique, jusqu'à un son carrément saturé, en passant par une "tube attitude" marquée, mais plaisante.
Contrairement à beaucoup de simulations de tube, TubetoneTM recrée à la fois la section préampli (située en avant de la section de contrôle de la tonalité) et la section amplification de puissance (située après les contrôles de tonalité). Ceci vous permet non seulement la plus flexible et réaliste création du véritable son des tubes, mais vous pouvez aussi ALTERER
le comportement et le caractère de TubetoneTM à travers les contrôles de tonalité du RH750, comme vous le feriez sur un vrai ampli à tube.


Le bouton TUBETONE ajuste la simulation de tube à la fois pour le préampli et l'ampli de puissance.
Pressez Shift puis tournez le bouton TUBETONE pour ajuster le niveau du MEM/preset actif. Si vous ne touchez pas les commandes de la face avant du RH750 pendant environ 20 secondes, la LED clignotera rapidement et le RH750 retournera en mode NORMAL. En mode normal, le bouton TUBETONE contrôle l'intensité de l'effet Tubetone™.
Plage : -12 dB à 0 dB
7-MASTER
Utilisez le bouton MASTER level pour régler le niveau de sortie général de l'ampli.
8-MUTE
Le bouton MUTE non seulement coupe les sorties haut-parleur et casque, mais aussi la sortie symétrique. Cela signifie que vous pouvez vous accorder sans qu'aucun son de sorte ni de votre baffle, ni de la sonorisation.
9-SHIFT
La touche SHIFT permet d'accéder aux fonctions secondaires indiquées en texte gris sur le panneau avant du RH750. Les boutons de contrôle suivants comprennent une fonction secondaire:
Mode Normal Mode Shift (pressez SHIFT)
EQ (1-4) Fréquences Centrales des Bandes EQ SPECTRACOMP Tweeter Tone
TUBETONE réglage niveau Preset/Memory
Si vous ne touchez pas aux commandes de la face avant pendant à peu près vingt secondes, le RH750 revient en mode normal, dans lequel les boutons de contrôle correspondent aux légendes imprimées en blanc.
10-MEM 1/2/3
RH750 offre trois mémoires utilisables qui vous permettent de sauvegarder et rappeler sans efforts vos réglages favoris.
La sauvegarde de réglages est extrêmement simple: - Effectuez des réglages à votre goût.
- Pressez et maintenez enfoncée l'une des touches MEM pendant environ deux secondes.
- Lorsque la touche MEM clignote, vos réglages sont enregistrés.
- Pour charger les réglages d'une mémoire MEM, pressez simplement la touche MEM correspondante une seule fois.
Qu'est-ce qui est sauvegardé?
Tout paramètre commandé par un bouton rotatif à anneau lumineux est sauvegardé. Cela signifie que tous les réglages de la face avant - mis à part le niveau Master, les touches SHIFT et MUTE - sont sauvegardés.
Pourquoi des réglages MEM?
Même si beaucoup de bassistes tendent à jouer la plupart du temps avec le même son, un grand nombre disposent de plusieurs basses, de styles de jeu, de réglages des micros ou autres facteurs qui nécessitent des changements de réglages sur l'ampli. Nous nous sommes aperçus qu'il serait plus pratique de pousser qu'une seule touche au lieu d'avoir à régler plusieurs boutons.
Le pédalier de contrôle optionnel du RH750 - le "RC4" - permet de rappeler les trois mémoires de réglages, de commander la fonction "mute" et d'afficher la fonction d'accordeur.
Le RH750 est équipé d'un accordeur de basse haute précision et entièrement chromatique. L'accordeur est toujours actif, que le RH750 soit en mode Mute (muet) ou non. Ci-dessous l'interprétation de l'afficheur :
La note jouée est indiquée sur la partie gauche de l'afficheur
Sur la partie droite de l'afficheur,
- Un cercle indique que la note est juste.
- une flèche pointant vers le droit indique que la note est trop BASSE et devrait être accordée plus haute.
- une flèche pointant à gauche indique que la note est trop haute et devrait être accordée plus bas.



Trop bas - monter Trop haut - descendre Accordée Notes dièses: C#, D#, F#, G# et A# sont indiquées comme suit:

Example-A#
L'accordeur offre également un mode Mute offrant des informations supplémentaires. Pour activer le mode Mute, pressez simplement la touche MUTE. À présent, le bouton de contrôle BASS se transforme en un indicateur d'intonation haute.
résolution, complétant l'affichage de la note et la flèche de la fenêtre accordeur.



Trop bas - monter Trop haut - descendre Accordée
Les indications d'accordage sont aussi affichées dans la fenêtre du pédalier optionnel RC4, vous n'avez plus besoin d'un accordeur séparé. Veuillez consulter la section "RC4" pour en savoir plus sur le pédalier.
Référence d'accordage
La référence d'accordage par défaut du RH750 est de 440 Hz, comme sur les autres accordeurs. Cependant, vous pouvez désirer n'importe quelle référence entre 438 et 445 Hz.
Pour changer la fréquence de référence d'accordage:
- Si le RH750 est allumé, éteignez-le.
- Pressez et maintenez la touche MUTE durant l'allumage.
- RH750 s'allume alors en mode référence Tuner, illustré par un "R" dans l'afficheur (voir illustration ci-dessous)

Mode de référence tuner
- Tournez le bouton de contrôle BASS pour changer de référence. La position centrale est égale à 440 Hz, et chaque LED représente un Hertz. Ainsi pour régler la fréquence de référence sur par exemple 438 Hz, tournez le bouton BASS vers la gauche jusqu'à ce que la deuxième LED s'allume.

- Pressez la touche MUTE pour sortir du mode Répétition Tuner.

Notez que la fréquence de référence est mémoireisée lorsque vous éteignez l'ampli.

RC-4

Le pédaller optionnel RC4 vous permet non seulement d'acceder à distance aux trois mémoires (MEM 1/2/3), mais aussi de couper le signal pour vous accorder en silence, ainsi que de visualiser les informations de l'accordeur. Vous n'avez pas besoin d'alimentation supplémentaire pour le RC4 car il est directement alimenté par le RH750
1 – Interrupteurs memory 1, 2 et 3
Pressez l'un des trois interrupteurs numérotés pour rappeler les réglages sauvegardés dans la mémoire associée. Un anneau lumineux vert autour de l'interrupteur indique que les réglages de cette mémoire ont été chargés.
- Notez que vous ne pouvez rappeler une MEM que si des réglages y ont été préalablement sauvegardés.
- Notez aussi que dès que vous changez sur la face avant du RH750 l'un des réglages sauvegardés, l'anneau vert de l'interrupteur s'éteindra. Cela indique que les positions des boutons en face avant ne correspondent plus aux réglages sauvegardés.
2 - Interrupteur MUTE
Pressez le M(ute) pour couper les sorties du BLACKSMITH. Ceci
est utile pour s'accorder ou par exemple débrancher ou changer de basse.

L'interrupteur MUTE coupe également la sortie symétrique du RH750, permettant de vous accorder en silence, même si vous êtes connecté à la sonorisation.
3-AFFICHEUR
L'afficheur indique toujours les informations de l'accordeur de différentes manières. La note détectée est montrée à gauche. Sur la droite, un cercle indique que la note est juste, une flèche pointant vers la droite indique que la note doit être montée, et une flèche pointant vers la gauche indique que la note doit être descendue. En plus de ces indications (identiques à celles de la fenêtre du RH750), une ligne de neuf points, située sous l'afficheur, indique la différence de hauteur entre la note jouée et la cible. Lorsque le point central est allumé, la note est juste.
Trop bas - Montez
Trop haut Note juste


1 - MAINS IN - prise alimentation & interrupteur POWER
L'alimentation à découpage auto-sensible du RH750 accepte tout voltage compris entre 100 et 240 Volts. Vous n'avez rien à changer, pas même le fusible. Connectez simplement un câble avec prise IEC standard 3 broches au secteur local, et vous êtes prêts. Ceci est particulièrement pratique si vous utilisez le RH750 en tournée.
La terre de l'alimentation doit être connectée pour éviter une différence de potentiel entre, par exemple, la Sono et le RH450.
C'est un connecteur mini-jack 1/8" pour casque. Notre amplificateur casque de qualité studio - complétant un léger filtrage de haut
parleur appliqué au son de la cassette - assure un son excellent dans le casque. La sortie casque produit également tout signal connecté à l'entrée AUX (Rehearsal) présente sur la face arrière du RH750. Cette fonctionnelle permet de jouer en même temps qu'un lecteur MP3 (par ex. un iPod®, de connecter la carte son d'un ordinateur ou tout autre source audio jouant des pistes d'accompagnement - excellent pour répéter ou essayer de nouvelles parties sans déranger les voisins.

Notez que le RH750 fonctionne aussi bien avec ou sans baffles de haut-parleurs connectés.
Utilisez le connecteur combo SPEAKER OUT pour relier le RH750 à votre(vos) baffle(s). Vous pouvez utiliser un câble Haut parleur avec connecteurs Speakon ou jacks 1/4". N'utilisez PAS de câbles pour instruments!
Le RH750 peut amplifier n'importe quelle combinaison de baffles, jusqu'à trois RS, ou n'importe quelle autre combinaison de baffles d'une charge minimum de 4 Ohm.

4-DIGITAL OUT (SORTIE Numerique)
Utilisez la sortie DIGITAL OUT pour connecter le RH750 à un matériel audio numérique, comme par exemple l'interface audio d'un ordinateur. Vous pouvez ainsi enregistrer votre son de basse directement dans Pro Tools, Logic ou n'importe quelle autre application d'enregistrement. Le signal numérique est au format AES/EBU 24bit/96Khz. Cela assure la meilleure résolution possible pour voir signal de basse. Pour déterminer le point de la chaîne de signal de la sortie numérique, utilisez l'interrupteur PRE/POST situé près de la sortie LINE DRIVER OUT, sur le panneau arrière du RH450. Le signal est présent à la fois sur les canaux numériques gauche et droit.
Réglages pour enregistrer:
Pour enregistrer directement depuis la sortie numérique du RH, suivez ces étapes:
- Connectez la sortie DIGITAL OUT à votre DAW
- Réglez votre carte son sur "external clock"
- Appuyez sur la touche Record et commencez à enregistrer
Compatibilité SPDIF
Pour pouvoir enregistrer avec une interface SPDIF, utilisez un convertisseur XLR / RCA. Notez qu'un signal AES est plus fort qu'un signal SPDIF, ce qui peut dans certains cas rares poser des problèmes d'incompatibilité.

Si vous voulez enregistrer avec un signal analogique, vous pouvez utiliser le signal symétrique de la sortie LINE DRIVER OUT.
Tout signal envoyé sur les entrées stéréo AUX est envoyé sur la sortie PHONES de la face arrière du RH750. Cela vous permet de jouer avec une piste de répétition pour apprendre de nouveaux morceaux, ou simplement pour vous entraîner avec un rythme ou un métronome. Le câble inclus minijack vers RCA vous permet de brancher un iPod®, iPhone® ou tout autre baladeur comme source de répétition.
IPOD
6 - INSERT PREAMP I/O - point de coupure - boucle d'effet
Ces jacks constituent un point d'insertion entre la section préampli du RH750 (Englobant SpectraCompTM, l'égaliseur et le module TubeToneTM) et la section ampli de puissance. Ce point d'insert peut servir comme boucle d'effet série standard pour insérer, par exemple, des effets de modulation ou autres.
Relier deux amplis
Le point d'insertion peut aussi servir à relier deux RH750 pour obtenir encore plus de puissance.
- Utiliser un câble jack 1/4 standard pour connecter la sortie PREAMP OUT du premier RH450 vers l'entrée POWER AMP IN du second RH450.
- Branchez-vous basse sur l'entrée INPUT du premier RH450 et faites vos réglages sur celui-ci.
- Réglez le volume à l'aide du bouton de volume MASTER des deux amplis. Vous disposez de tonnes de puissance!

7- REMOTE IN (entrée pédaleur)
Utilisez l'entrée REMOTE IN pour connecter le pédalier optionnel "RC4" au RH750. Le RC4 vous permet d'accéder aux trois mémoires, à la fonction MUTE, et affiche également les indications de l'accordeur.
Le RC-4
8-9 LINE DRIVER OUT - Sortie ligne symétrique
Utilisez la sortie LINE DRIVER OUT pour connecter le RH750 à la sonorisation lorsque vous jouez sur scene, ou bien pour le connecter à un matériel d'enregistrement lorsque vous êtes en studio.
Pour déterminer le point de la chaîne de signal qui alimenter cette sortie symétrique, utilisez l'interrupteur PRE/POST (8) situé juste à côté de la sortie LINE DRIVER OUT.

La touche MUTE du RH750 coupe la sortie symétrique (ainsi que les sorties DI). Cela vous permet de vous accorder sans qu'aucun son ne sorte vers les baffles ou vers la sono.
La sortie symétrique du RH750 a été conçue avec le plus grand soin pour le son. Elle est couplée à un transformateur galvanique isolé. Ce design actif surpasse en performances la plupart des boîtiers de directs existants, et permet l'utilisation de câbles très longs. De plus, aucune alimentation phantom n'est requise.
Ventilation
Assurez-vous de ne pas couvrir la plaque de refroidissement noire du RH750. Une ventilation insuffisante peut augmenter la température de l'ampli.

Si le RH750 est insuffisamment ventilé, il se mettra en mode protection, indiqué par un "H" sur l'afficheur du panneau avant. Informations supplémentaires pages suivantes.
Mode de protection
Le RH750 est équipé d'un système de protection intelligent, assurant que l'ampli ne suffre pas de dommages s'il est utilisé incorrectement, ou dans des environnements extrêmes.
Mode de protection générale
Si l'afficheur du RH750 montre un "P", l'ampli est en Mode Protection
Le Mode Protection s'enclenche, si pour une raison ou une autre un court-circuit intervient. En mode protection, la sortie Haut Parleur est coupée afin de ne pas endommager les haut-parleurs par un court-circuit. La sortie symétrique, la sortie numérique et la boucle d'effet continu passent le signal audio en mode Protection.
Pour remédier au problème, essayez d'éteindre le RH750 pendant une minute, puis rallumez-le. Si l'afficheur indique toujours un "P", vous devrez envoyer le RH750 à un centre de service qualifié pour inspection.
Si l'afficheur indique un "H", c'est que l'ampli est trop chaud. Ceci arrive rarement, mais certaines situations extrêmes peuvent provoquer ce mode:
a) Si l'amplificateur se trouve dans un environnement trop chaud, ou si une ventilation adéquate n'est pas assurée.
b) Le baffle ou une combinaison de baffles doivent avoir une charge minimum de 4 Ohm. Vous pouvez connecter un maximum de trois RS. Si la sortie Haut Parleur a une charge de 2 Ohm ou moins et que vous utilisez le RH750 à fort volume pendant une longue période, l'ampli entrera en mode protection Heat (surchauffe)
Dans les deux cas, la procédure est la suivante
- Éteignez l'ampli.
- Régalez les problèmes.
- Laissez l'ampli refroidir pendant quelques minutes.
- Rallumez l'ampli.

Section d'entrée
Connecteur d'entrée
Impédance d'entrée
Plage de gain
1/4" jack 1 MOhm / 100 pF -96 à 32 dB
Contrôles tonalité
Bass
Low Mid
High Mid
Treble
TweelerTone
TubeTone
SpectraComp
Niveau Preset
Mémoires Utilisateur
Accordeur
Plage d'accordage
Mute
Sortie Casques
Impedance
Alimentation
Speaker out
Puissance
Sortie symétrique
Niveau de Sortie Max.
Fréquence par défaut : 200 Hz (gamme : 71-1120 Hz, Gain :
+15/-24 dB) - Shelving type.
Fréq par défaut: 400 Hz (gamme: 100-1600 Hz, Gain:
+15/-24 dB)
Fréquence par défaut : 800 Hz (gamme : 200-3150 Hz)
+15/-24dB)
Default Freq: 4000 Hz (range: 400-6300 Hz, Gain:
+15/-24 dB) - Shelving type.
-12 à 12, Recreation Baffle L-PAD
0 à 12, Recréation Ampli à tube
Compression Spectrale 3 bandes
atténuation de gain -12 dB à 0
3 emplacements mémoire stockant tous les
contrôles de façade sauf Mute & Niveau Master
Chromatic, constant de A0 (27.50 Hz) à E5 (659.26 Hz)
Coupe les sorties HP, casques et symétrique
Ampli casques de qualité studio
40 à 600 Ohm
Universal 100 - 240V 50/60Hz
(100w @ 1/8 Power)
Combo Speakon / 1/4" jack
750 W (1200 W Peak)
XLR transfo-symétrique, Pre/Post Pre-amp
+0 dBu
Impédance optimale
Sortie Preamp
Entrée Power amp
Entrée Réchauffage
Température fonction.
Stockage
Humidité
Dimensions
Poids
Finition
600 Ohm
Jack 1/4", Sortie Sym. Niveau max sortie = +8 dBu
DIN 5 broches, Câble avec blindage
Max. 90% non-condensée
275×290×66mm/10,8"×11,4"×2,6"
4kg / 8.8 pounds
Face avant Aluminium brossé et moulé
Chassis acier tôlé et peint
Pour cause de développement continu, ces
Spécifications sont sujettes à modification sans préavis
tc electronic
Notice Facile