D100 - Radio SCANSONIC - Notice d'utilisation et mode d'emploi gratuit
Retrouvez gratuitement la notice de l'appareil D100 SCANSONIC au format PDF.
| Caractéristiques Techniques | Radio FM/AM avec affichage numérique |
|---|---|
| Puissance de Sortie | 5 Watts |
| Alimentation | Secteur et batterie (rechargeable) |
| Dimensions | 25 x 15 x 10 cm |
| Poids | 1.2 kg |
| Utilisation | Facile à utiliser avec des boutons de réglage et un écran LCD |
| Maintenance | Nettoyage régulier avec un chiffon doux, éviter l'humidité |
| Sécurité | Ne pas exposer à l'eau, utiliser uniquement avec l'adaptateur fourni |
| Informations Générales | Garantie de 2 ans, support technique disponible |
FOIRE AUX QUESTIONS - D100 SCANSONIC
Questions des utilisateurs sur D100 SCANSONIC
0 question sur cet appareil. Repondez a celles que vous connaissez ou posez la votre.
Poser une nouvelle question sur cet appareil
Téléchargez la notice de votre Radio au format PDF gratuitement ! Retrouvez votre notice D100 - SCANSONIC et reprennez votre appareil électronique en main. Sur cette page sont publiés tous les documents nécessaires à l'utilisation de votre appareil D100 de la marque SCANSONIC.
MODE D'EMPLOI D100 SCANSONIC
FR Guide d'instructions
FR Guide d'instructions
Table des matières
02 TABLE DES MATIERES 03 INFORMATION 04 PRESENTATIONS DES PANNEaux AVANT ET ARRÈRE 06 BRANCHEMENT AU SECTEUR 06 UTILISATION DE LA RADIO - DAB 07 SELECTION D'UNE STATION - DAB 07 SERVICES D'INFORMATIONS - DAB 08 UTILISATION DE LA RADIO - FM 08 MODES D'AFFICHAGE - FM 09 RÉGLAGE MANUEL DE L'HEURE 09 RÉGLAGES DE L'ALARME 09 VEILLE AUTOMATIQUE 10 REGLAGE RAPPEL D'ALARME ET ÉGALISEUR 10 RÉGLAGE DU CONTRASTE, RÉINITIALISATION DE LA RADIO 11 SPECIFICATIONS
Informations
Nous vous félicitons pour votre nouvel adaptateur DAB+.
Prenez le temps de lire attentivement ce guide afin d'apprécier au moins toutes ses fonctions.
Instructions de sécurité.
Conservez ces instructions pour toute référence ultérieure.
- Placez l'adaptateur sur une surface solide.
- Évitez d'exposer votre D100 à une forte humidité, aux rayons directs du soleil, à la poussière, à de fortes vibrations et à des températures extrêmes.
- N'ouvrez pas le boîtier. Seul un technicien qualifié est habilité à nettoyer les pièces internes des adaptateurs Scansonic.
- Faites appel à un technicien qualifié pour toute réparation.
- Utilisez un essuie-meuble ou un chiffon doux non pelucheux légèrement humidifié pour nettoyer le boîtier; n'utilisez jamais de produits corrosifs ou détergents forts. Veillez à ce qu'aucun liquide ni buée ne pénétre dans l'adaptateur lors du nettoyage. Débranchez l'adaptateur avant de le nettoyer.
Débranchez l'adaptateur dans les cas suivants :
- Des objets étrangers ou liquides ont pénétré dans l'adaptateur. L'adaptateur ne fonctionne pas correctement.
- le boîtier est endommagé.
- le cordon d'alimentation ou sa prise est défectueuse.
- Si l'adaptateur n'a pas été utilisé pendant une longue période.
Avis de non-responsabilité
En dépit de tous nos efforts, nous ne pouvons pas vous garantir que les données techniques rapportées dans ce guide sont correctes, complètes et à jour. Scansonic se réserve le droit de procéder à des modifications techniques sans notification préalable.
SCANSONIC
D100



D100
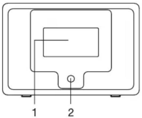
01 Écran 02 Capteur IR 03 Line out 04 Antenne 05 Prise CC 06 On/off 07 Mute Pour couper le son 08 0-10 Touches numériques pour mémoriser et rappeler des fonctions 09 Alarm 1 Appuyez dessus pour régler l'alarme 10
Appuyez dessus pour atteindre la station, fréquence ou option précédente
11 Select Appuyez dessus pour confirmer l'opération 12 Mode Appuyez dessus pour passer en mode DAB ou FM 13 Info Appuyez dessus pour parcourir les informations 14 Scan Appuyez dessus pour rechercher les stations FM ou DAB 15 Power Pour passer en mode veille 16 Alarm 2 Appuyez dessus pour régler l'alarme 17 ▲ 18 19 V 20 CLK Set Maintenir appuyé pour régler l'heure 21 Sleep Maintenir appuyé pour régler la veille automatique 22 Menu Maintenir appuyé pour aller aux options du menu
Mise en route
01 Branchez la radio au secteur à l'aide d'un adaptateur et mettez l'interrupteur principal situé à l'arrière du boîtier sur marche, l'écran s'allume :

WELCOME TO DIGITAL RADIO
Vous passez en mode de veille avec l'heure initiale "00:00".
Lorsque la radio est allumée pour la première fois avec la télécommande, elle commence par rechercher les stations radio numériques disponibles.

SCAN SERVICES FULL SCAM

178 12%
Une fois la recherche terminée, la première station (par ordre alphabétique) sera syntonisée.
Appuyez une fois sur le bouton "POWER", la radio passe du mode marche au mode veille et le rétroéclairage s'éteint.
Remarque: 1. Le rétroéclairage s'éteint également automatiquement après 20 s si aucune opération n'est effectuée. On doit appuyer sur un bouton quelconque pour activer la radio avant de l'utiliser.
- Si vous avez déjà utilisé la radio DAB, et rétabli les paramètres par défaut, le premier état sera le dernier mode utilisé.
Mode d'emploi
01 La radio DAB fonctionne selon deux modes :
DAB radio FM radio
02 Appuyez sur le bouton "Mode" pour sélectionner FM ou DAB.
Utilisation de la radio en mode DAB
01 Appuyez sur le bouton "Mode" jusqu'à l'affichage d'une station DAB. 02 Si aucune station DAB n'a déjà été écoutée, la radio effectue automatiquement une "full scan" des stations radio DAB. 03 Une fois la recherche terminée, les stations radio seront listées par ordre alphabétique et la première sera syntonisée. Si vous avez déjà écouté la radio DAB, la dernière station radio DAB sélectionnée sera syntonisée lorsque vous revenez au mode DAB.
Bouton menu
Le menu vous permet de configurer la radio DAB. Appuyez sur le bouton 'Menu' pour sélectionner les options suivantes, appuyez sur " et > pour sélectionner :
Réglage manuel Réglage du contraste Réinitialisation du système Version logicielle

BRC RRODIO RANUAL TUNE
Recherche complète
Il s'agit d'une recherche des stations du canal 5A au canal 13F. Maintenez appuyé le bouton "Scan" pour effectuer une recherche complète "Full scan".
Recherche manuelle
01 Appuyez sur le bouton 'Menu' pour atteindre "Manual tune". 02 Appuyez sur le bouton "Select" pour confirmer; la radio DAB effectuera une recherche manuelle "Manual tune", le résultat s'affiche à l'écran.

118219.640nHZ
03 Appuyez sur “ ” et “ ” pour faire défiler les fréquences. 04 La radio peut recevoir les stations automatiquement dans la bande de fréquences disponible. 05 Si la radio reçoit des stations à la fréquence de ce canal, elle affichera les stations. Appuyez sur "select" pour accéder à la liste des stations. 06 Appuyez sur "Select" pour sélectionner une station à écouter. 07 Répétez les étapes 1-6 pour rechercher d'autres fréquences de canaux.
Options
Il y a 3 options disponibles :
● Contrast ● System reset ● Software version
- Contraste
Il s'agit d'une recherche des stations du canal 5A au canal 13F. Maintenez appuyé le bouton "Scan" pour effectuer une recherche complète "Full scan".
Réinitialisation du système
La radio DAB peut être réinitialisée à tout moment aux paramètres par défaut. Une fois une réinitialisation a été effectuée, la radio DAB effectue automatiquement une recherche complète.
01 Sélectionnez "System reset". 02 Appuyez sur "Select" pour effectuer la réinitialisation.
Remarque : une fois cette opération effectuée, certaines informations mémorisées seront effacées, telles que stations préreglées, Alarme, etc.
Version du logiciel
01 Appuyez sur le bouton “<” ou “>” pour afficher la version du logiciel. Remarque : Pour quitter la configuration, appuyez sur le bouton ‘Menu’.
Touche veille automatique
Elle permet de définir le temps de veille automatique.
Appuyez sur le bouton 'Sleep' pour connaître le temps.

02 Si vous souhaitez définir la durée, vous devez appuyer sur le bouton "Sleep" pour utiliser "«" ou "»" pour sélectionner parmi (OFF 10 30 60 90), puis appuyez sur le bouton 'Select' pour confirmer.

03 Pour désactiver la veille automatique, il faut sélectionner (OFF).
Bouton d'alarme
Il permet de régler et vérifier l'heure de l'alarme.
Appuyez sur le bouton 'Alarm1/2' pour vérifier le réglage.

ALRNI 11:30 OFF
Vous pouvez choisir deux tonalités d'alarme avec "TONE 1" et "TONE 2".
Maintenez appuyé le bouton "alarm 1/2" pour régler l'alarme.

ALARM1TYPESET OFF
03 Appuyez sur le bouton “ ” ou “ ” pour sélectionner parmi “OFF/Beep/DAB/FM”.
Vous pouvez sélectionner "Beep tone type 1 or 2" ou "DAB/FM preset station" comme tonalité d'alarme.
Remarque : si vous sélectionnez la source DAB, mais aucune station DAB ne peut être reçue, le bip sera utilisé.
D100
04 Avec sélectionné le type de tonalité, vous pouvez définir le mode d'alarme comme ci-dessous: Quotidien - alarme tous les jours Jours de la période : Lundi -> Vendredi - alarme du lundi au vendredi Fin de période : Samedi -> Dimanche - alarme de fin de période Une fois - une seule fois 05 Vous pouvez régler "Hour"; les chiffres des heures se mettent à clignoter, réglez "Hour" en appuyant sur le bouton "▲" ou "▶" puis appuyez sur 'Select' pour confirmer, puis réglez "Minute". 06 Réglez "Hour" en appuyant sur le bouton " " ou "▶" pour régler les minutes, appuyez sur 'Select' pour confirmer. 07 Appuyez sur le bouton " " ou "▶" pour régler le volume de l'alarme. 08 Une fois le réglage terminé, l'alarme sera activée. 09 Appuyez à nouveau sur le bouton Alarm pour désactiver l'alarme.
Affichage des informations
Lorsque vous écoutez une station radio DAB, vous pouvez changer les informations qui apparaissent sur la deuxième ligne de l'écran LCD. Il existe plusieurs types d'informations qui sont envoyées par les diffuseurs et qui peuvent être affichées. En mode DAB ou RDS FM, vous pouvez changer les informations affichées sur l'écran en appuyant sur le bouton 'INFO'.
- Segment d'étiquetage dynamique (DLS - Dynamic Label Segment) - Ce sont des informations/texte déroulant fournies par le diffuseur. Ces informations peuvent comprendre le nom de l'artiste, le titre du morceau, le nom du DJ, les coordonnées de la station radio etc.
- Fréquence du canal - ex. : 174,928 MHz
- Nom du bouquet Heure et Date - fournies par le diffuseur
- Type de programme (PTY) - affiche le type de programme de la station, par exemple "Pop music" Format audio - ex. stéréo 192 Kbps
Stations préréglées
La fonction de préréglage mémorise des stations préférées pour en faciliter l'accès. La radio peut mémoriser jusqu'à 10 stations radio DAB.
01 Sélectionnez la station à mémoriser. 02 Maintenez appuyé le bouton de préréglage (1-10) pour mémoriser la station radio. 03 L'écran LCD affiche “Preset X Saved”. La station est maintenant mémorisée avec succès dans le numéro de préréglage sélectionné.
Rappel des stations préréglées
Pour rappeler une station préréglée.
01 Appuyez sur le bouton de préréglage (1-10) pour sélectionner la station que vous souhaitez écouter ; la radio DAB ré-syntonise la station préréglée sélectionnée. 02 Si vous n'avez pas de stations préréglées, 'Preset X Free' sera affiché sur l'écran LCD.
Mode radio FM
01 Allumez la radio. 02 Si elle est déjà en mode veille, il suffit d'appuyer sur le bouton Standby. 03 Appuyez sur le bouton Mode jusqu'à ce que FM soit affiché sur l'écran LCD.

87.00 NH2
BUTDNO
Bouton menu
Le menu permet de configurer les paramètres de la radio DAB. Appuyez sur le bouton 'Menu' pour sélectionner l'une des options suivantes :
● Contrast Setting ● System reset ● Software version
Appuyez sur le bouton "Select" pour sélectionner le format Mono ou Auto.
Si le signal radio reçu est stéréo, le son reproduit sera stéréo.
Autrement, c'est un son mono qui sera reproduit.
- "Version du logiciel" et "réinitialisation du système" sont similaires à DAB.
Boutons de réglage manuel
Ils permettent de changer de station.
01 Appuyez sur le bouton " ou ">". 02 Appuyez sur “ ” pour augmenter la fréquence d'un pas de 0,05 MHz. 03 Appuyez sur “ ” pour diminuer la fréquence d'un pas de 0,05 MHz.
Bouton recherche automatique
Il permet de rechercher automatiquement les stations FM.
01 Appuyez sur le bouton "Scan" pour que la radio recherche des stations par pas de 0,05 MHz jusqu'à ce qu'elle trouve une station. 02 Pour arrêter la recherche, appuyez à nouveau sur le bouton “<” ou “>”.
Affichage des informations
Appuyez sur le bouton 'INFO' pour changer les informations qui apparaissent sur la deuxième ligne de l'écran LCD lorsque vous écoutez une station radio FM.
En mode FM, la radio reçoit des informations "Système de Données Radio (RDS - Radio Data System)". Les informations RDS contiennent :
- Informations
- Format Audio
- Type de programme (PTY - Program Type) - affiche le type de programme de la station, par exemple "Pop music"
- Texte Radio - C'est un texte d'informations déroulant fourni par l'émetteur
Ces informations peuvent comprendre le nom de l'artiste, le titre du morceau, le nom du DJ, les coordonnées de la station radio, etc.
- Date et Heure actuelles
Préréglages des stations
La fonction de préréglage mémorise des stations préférées pour en faciliter l'accès. La radio peut mémoriser jusqu'à 10 stations radio FM.
Similaire à la fonction "PréRéglage des stations" en mode DAB.
Rappel des stations préréglées
Similaire à la fonction "Rappel des stations préréglées" en mode DAB.
D100

IT Manuel d'instructions
Notice Facile