MFS400M0APW0 - Ventilateur MIDEA - Notice d'utilisation et mode d'emploi gratuit
Retrouvez gratuitement la notice de l'appareil MFS400M0APW0 MIDEA au format PDF.
| Caractéristique | Détails |
|---|---|
| Type de produit | Ventilateur |
| Modèle | MIDEA MFS400M0APW0 |
| Puissance | Non spécifiée |
| Vitesse de ventilation | Non spécifiée |
| Dimensions | Non spécifiées |
| Poids | Non spécifié |
| Fonctionnalités supplémentaires | Non spécifiées |
| Utilisation | Pour rafraîchir l'air dans les espaces intérieurs |
| Maintenance | Nettoyage régulier des grilles et des pales |
| Sécurité | Ne pas utiliser à proximité de l'eau |
| Informations générales | Vérifier la compatibilité électrique avant l'achat |
FOIRE AUX QUESTIONS - MFS400M0APW0 MIDEA
Questions des utilisateurs sur MFS400M0APW0 MIDEA
0 question sur cet appareil. Repondez a celles que vous connaissez ou posez la votre.
Poser une nouvelle question sur cet appareil
Téléchargez la notice de votre Ventilateur au format PDF gratuitement ! Retrouvez votre notice MFS400M0APW0 - MIDEA et reprennez votre appareil électronique en main. Sur cette page sont publiés tous les documents nécessaires à l'utilisation de votre appareil MFS400M0APW0 de la marque MIDEA.
MODE D'EMPLOI MFS400M0APW0 MIDEA
Merci d'avoir choisi Midea! Avant d'utiliser votre nouveau produit Midea, merci de lire attentivement ce manuel afin de vous assurer d'être à même d'utiliser les caractéristiques et fonctions de votre nouvel appareil en toute sécurité.
Sommaire
Lettre de remerciements 01
CONSIGNES DE SÉCURITÉ 02
SPECIFICATIONS 04
Les consignes de sécurité qui suivent ont pour but de prévenir les risques ou les dommages imprévus, résultat d'une utilisation dangereuse ou incorrecte de l'appareil. Merci de vérifier l'emballage et l'appareil à réception afin de vous assurer que tout est intact, cela afin de garantir un fonctionnement sûr. Si vous constatez des dommages, merci de contacter le détaillant ou le revendeur. Merci de noter que les modifications ou altérations de l'appareil ne sont pas autorisées pour votre sécurité. Une utilisation non prévue peut entraîner des risques et la perte des droits à la garantie.
Explication des symboles
| Danger Ce symbole signale la présence d'un risque potentiellément mortel pour la vie et la santé des personnes en raison de la présence d'un gaz extrémement inflammable. |
| Avertissement sur la tension électrique Ce symbole signale la présence d'un risque potentiellément mortel pour la vie et la santé des personnes en raison de la tension. |
| Avertissement Ce symbole signale un danger avec un niveau de risque intermédiaire qui, s'il n'est pas évité, peut entraîner la mort ou des blessures graves. |
| Attention Ce symbole signale un danger avec un faible degré de risque qui, s'il n'est pas évité, peut entraîner des blessures mineures ou modérées. |
| Attention Ce symbole signale une information importante (par exemple, un dommage matériel), mais pas un danger. |
| Respecter les instructions Ce symbole signale qu'un technician de service ne doit utiliser et entrenir cet apparueil que conformément aux instructions d'utilisation. |
Lire attentivement ce mode d'emploi avant d'utiliser/mettre en service l'appareil et le conserver à proximité immédiate du lieu d'installation ou de l'appareil pour une utilisation ultérieure!
Attention
- Lisez attentivement les règles et les instructions pour une utilisation en toute sécurité.
- Cet appareil peut être utilisé par des enfants âgés de 8 ans et plus et des personnes ayant des capacités physiques, sensorielles ou mentales réduites ou un manque d'expérience et de connaissances s'ils ont reçu une supervision ou des instructions concernant l'utilisation de l'appareil de manière sure et comprenant les dangers impliqués. Les enfants ne doivent pas jouer avec l'appareil. Le nettoyage et l'entretien par l'utilisateur ne doit pas être effectué par des enfants sans surveillance.
- N'insérez jamais vos doigts, des crayons ou tout autre objet dans la grille lorsque le ventilateur fonctionne.
- Débranchez le ventilateur lorsque vous le bougez d'un lieu à l'autre. Assurez-vous que le ventilateur est sur une surface stable lorsqu'il fonctionne pour éviter qu'il ne se renverse.
- N'utilisez PAS un ventilateur sur une fenêtre, la pluie pour créer un danger électrique.
- Uniquement réservé à un usage domestique.
Avertissement
- Si le cordon d'alimentation est endommagé, il doit être remplacé par le fabricant ou son prestataire de service ou une personne tout autant qualifiée afin d'éviter tout risque.
- Pour protégé contre les risques de choc électrique, n'immergez pas l'appareil, le cordon ou la prise dans l'eau ou dans un autre liquide.
- Lorsque l'appareil n'est pas utilisé et avant de le nettoyer, débranchez la prise de l'appareil.
- Gardez les appareils électriques hors de portée des enfants et des personnes infirmes. Ne les laissez pas utiliser les appareils sans les surveiller.
| Modèle du produit | MFS400MOAPWO |
| Tension | 220-240V~ |
| Fréquence | 50Hz |
| Puisance nominale | 40W |
| Description Symbole Valeur | Unité | ||
| Débit maximal du ventilateur | F | 61,07 | m3/min |
| Puisance émise du ventilateur | P | 34,10 | W |
| Valeur de service | Sv | 1,79 | (m3/min)W |
| Consommation électrique en mode veille | PSB | 0,15 | W |
| Consommation électrique à l'arrêt | POFF | - | W |
| Niveau de puissance acoustique du ventilateur | LWA | 54,71 | dB(A) |
| Débit maximal de l'air | C | 2,54 | meters/sec |
| Consommation électrique saisonnière | Q | 11,08 | kWh/a |
| Norme de mesure de la valeur de service | EN IEC 60879:2019 | ||
| Coordonnées pour obtenir plus d'informations | Midea Italia S.r.l. a sostio unico Viale Luigi Bodio 29/37 20158 Milano Italia midea.com/it | ||
Toutes les illustrations de ce manuel sont uniquement destinées à des fins d'explication. Toute divergence entre l'objet réel et l'illustration du dessin sera soumise au sujet réel. Retirer les pièces du composant avant de procéder à l'installation.
Aligner le poteau avec la rainure de la base et les fixer ensemble à l'aide de la vis en forme de 7.

2 Installation du poteau
2.1 Tirer et fixer le tube intérieur du poteau en ajustant la molette de réglage de la hauteur (la hauteur peut être ajustée selon les besoins).
Molette de réglage de la hauteur. Serrer dans le sens des aiguilles d'une montre, desserrer dans le sens inverse aux aiguilles d'une montre.

2.2 Installer et fixer le dispositif en ajustant la molette de fixation.
Molette de Fixation Serrer dans le sens des aiguilles d'une montre, desserrer dans le sens inverse aux aiguilles d'une montre

3 Installation de la grille arrière
3.1 Dévisser d'abord l'écrou de fixation dans le sens inverse aux aiguilles d'une montre. 3.2 Aligner la grille avant du moteur avec la grille arrière, les accrocher et les verrouiller à l'aide de l'écrou de fixation de la grille.

4 Installation des pales
Fixer la grille arrière avec le point convexe aligné avec l'orifice rond.


5 Installation de la grille avant
5.1 Aligner les orifices de vis sur l'anneau extérieur des grilles avant et arrêter, avec le clip de positionnement aligné comme illustré.

5.2 Appuyer sur toutes les attaches pour fixer la grille avant avec la grille arrière au niveau des orifices de vis, serrer la vis et l'écrou séparément.

6 Réglage de l'angle d'inclinaison
Régler manuellement la grille arrière du moteur vers le haut et vers le bas pour régler l'angle d'inclinaison du ventilateur.

7 Contrôle de l'oscillation
Afin de faire osciller le ventilateur, pousser vers le bas le bouton d'oscillation situé sur le dessus du boîtier du moteur. Pour arrêter l'oscillation du ventilateur, tirer le bouton d'oscillation vers le haut.

Fonctionnement du panneau de commandes

| Description de la FonctionBouton | |
| ON/OFF | • Presser cette touche pour démarrer/arrêté le produit. |
| MINUTERIE | • Appuyer plusieurs fois sur la touche Minuterie lors de la mise sous tension pour régler l'heure d'extinction sur 1h→2h→3h→4h→5h→6h→7h→0h→... heures, l'indicateur de minuterie correspondant s/allumera. |
| DEBIT | • Lors de la mise sous tension, appuyer plusieurs fois sur la touche Débit pour faire défiler le début du ventilateur: faisible → moyen → élevé → ..., l'indicateur de début de ventilation correspondant s/allume. |
| (*) | • Affichage du niveau de début de ventilation: élevé “(*)”, moyen “(*)”, faisible “(*)”. |
| 1h 2h 4h | • Affiche la minuterie réglée, par exemple: lorsque l'horaire ou la minuterie est régé sur 7 heures, les voyants lumineux “1h 2h 4h s/allumeront en même temps. |
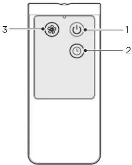
Télécommande
- Pointer la télécommande vers le récepteur et appuyer sur la touche souhaitée.
- La télécommande fonctionne jusqu'à une distance d'environ cinq mètres et à un angle de 30 degrés par rapport au panneau de commande.
- Eviter que le soleil n'irradie le récepteur afin de ne pas influencer l'effet de ce dernier.
- Les piles doivent être retirées de la télécommande avant qu'elle ne soit mise au rebut et qu'elles soient éliminées en toute sécurité.



Remarque
Utiliser des piles au manganèse ou des piles alcalines de type "AAA". Ne pas utiliser de piles rechargeables.
Piles (les piles ne sont pas incluses dans l'emballage)
- Faire glisser le couvercle du compartiment à piles.
- Insérer les piles et vérifier qu'elles sont placées comme indiqué sur l'illustration 10.
- Remettre le couvercle du compartiment à piles.
Nettoyage et entretien
Le ventilateur nécessite peu d'entretien. N'essayez pas de le réparer vous-même. Référez-vous à un technicien qualifié si une réparation est nécessaire.
- Avant le nettoyage et l'assemblage, le ventilateur doit être débranché.
- Pour assurer une circulation d'air adéquate vers le moteur, gardez les évents à l'arrière du moteur exempts de poussière. Ne démontez pas le ventilateur pour enlever la poussière ou les débris. Veuillez essayer les parties extérieures avec un chiffon doux imbibé d'un détergent doux.
- N'utilisez pas de détergent abrasif ou de solvants pour éviter de rayer la surface.
- N'utilisez pas les produits suivants comme nettoyant : essence, diluant, acide.
- Ne laissez pas l'eau ou tout autre liquide pénétrer dans le carter du moteur ou dans les pièces internes.
- Assurez-vous de débrancher la source d'alimentation électrique avant de nettoyer.
- Les pièces en plastique doivent être nettoyées avec un chiffon doux imbibé de savon doux. Retirez soigneusement le film de savon avec un chiffon sec.
Depannage
L'utilisation de votre appareil peut entraîner des erreurs et des dysfonctionnements. Les tableaux suivants contiennent les causes possibles et des conseils pour résoudre un message d'erreur ou un dysfonctionnement. Il est recommandé de lire attentivement le tableau ci-dessous afin d'économiser votre temps et l'argent que pourrait vous coûter un appel au centre de service.
| Cause SolutionProblème | ||
| La machine ne fonctionne pas correctement après son installation | • Le cable d'alimentation n'est pas branché ou présente un mauvais contact. | Vérifier que la fiche soit correctement insérée dans la prise. |
| • L'interrupteur de l'unité principale n'est pas enclenché. | Allumer l'interrupteur sur l'unité principale. | |
| La télécommande ne fonctionne pas | • La batterie doit être remplaçée. | Remplacer la batterie. |
| • La télécommande est utilisée à plus de 5 mètres du ventilateur. | Utiliser la télécommande plus près du ventilateur et vérifier qu'elle pointe directement vers le panneau d'affichage. | |
Marques, DROITS d'auteur et mentions legales
Le logo Midea, les marques verbales, le nom commercial, l’habillage commercial et toutes les versions de ces éléments sont des actifs précieux de Midea Group et/ou de ses filiales ("Midea"), auxquels Midea apparaît en tant que marques commerciales, droits d’auteur et autres droits de propriété intellectuelle, ainsi que l’intégralité du fonds de commerce dérivé de l’utilisation d’une partie de la marque Midea. L’utilisation de la marque Midea à des fins commerciales sans le consentement écrit préalable de MMidea peut constituer une contrefaçon de marque ou une concurrence déloyale en violation des lois applicables.
Ce manuel est créé par Midea et Midea s'en réserve tous les droits d'auteur. Aucune entité ou individu ne peut utiliser, dupliquer, modifier, distribuer en totalité ou en partie ce manuel, ni le regrouper ou le vendre avec d'autres produits sans le consentement écrit préalable de Midea.
Toutes les fonctions et instructions décrites étaient à jour au moment de l'impression de ce manuel. Toutefois, le produit réel peut varier en raison de fonctions et de conceptions améliorées.

Avis sur la protection des donnnees
Dans le cadre de la fourniture des services convenus avec le client, nous acceptons de nous conformer sans restriction à toutes les stipulations de la loi sur la protection des données applicable, conformément aux pays convenus dans lesquels les services au client seront fournis, ainsi que, le cas échéant, au Règlement Général sur la Protection des Données (RGPD) de l'UE.
En règle générale, notre traitement des données vise à remplir notre obligation contractuelle envers vous et, pour des raisons de sécurité des produits, à préserver vos droits dans le cadre des questions de garantie et d'enregistrement des produits. Dans certains cas, mais uniquement si une protection appropriée des données est assurée, les données à caractère personnel peuvent être transférées à des destinataires situés en dehors de l'Espace Économique Européen.
De plus amples informations sont fournies sur demande. Vous pouvez contacter notre Délégué à la Protection des Données à l'adresse MideaDPO@midea.com. Pour exercer vos droits, tels que le droit d'opposition au traitement de vos données personnelles à des fins de marketing direct, merci de nous contacter via MideaDPO@midea.com.
Conditions supplémentaires de la garantie conventionnelle
- Les produits importés par Midea Italia s. r. l. (ci-après "Midea") et marqués de la marque déposée auts de conformité existant au moment de la délivrance, et à condition que le défaut de conformité soit signalé au vendeur dans un délai de deux mois à compter de la date de découverte du défaut. Sur la base d'accords avec ses vendeurs, Midea fournit des services d'assistance technique pour les produits couverts par la garantie légale par l'intermédiaire de son réseau de centres de service agréés (ci-après dénommés "ASC");
- En outre, Midea Italia s. r. l., actionnaire unique ayant son siège à Milan, 20121, largo Guido Donegani 2 (ci-après dénommée "Midea"), offre une garantie conventionnelle supplémentaire pour une période de deux ans à compter de la date d'achat sur tous les produits de marque Midea (ci-aprè s et territoires (ci-après dénommés le "Territoire") et lorsqu'ils sont accompagnés du présent certificat de garantie conventionnelle (ci-après dénommé le "CWC").
Conditions supplémentaires de la garantie conventionnelle
- Ce document contient les conditions de garantie reconnues par Midea Italia, s. r. l. (ci-après "Midea") en ce qui concerne les Produits commercialisés et installés sur le Territoire et accompagnés du CWC. Ces conditions de garantie conventionnelle respectent les droits reconnus au consommateur par le D. Lgs. n.206/2005 et les modifications et ajouts suivants (ci-après, le "Code de la consommation") et par les articles 1519 bis et suivants du Code civil italien et, en tout état de cause, ne limitent pas, n'excluent pas et ne portent pas préjudice au droit du consommateur de bénéficier de la garantie de conformité dont le vendeur est responsable. La Garantie conventionnelle offerte par Midea (ci-après la "Garantie conventionnelle") n'est effective et applicable qu'à l'égard et en faveur des acheteurs des Produits ayant les caractéristiques et la qualité de consommateurs, tels que définis et établis par le Code de la consommation (ci-après les "Consommateurs"). La Garantie conventionnelle n'est donc pas effective, est exécutoire et ne peut être invoquée par les acheteurs des Produits qui ne sont pas des Consommateurs et/ou qui utilisent les Produits dans le cadre de leur activité professionnelle et/ou entreprises et/ou commerciale. La garantie conventionnelle est valable 24 mois à compter de la date d'achat du Produit. En tout état de cause et quelle que soit la date d'achat du Produit, la Garantie conventionnelle perd toute efficacité et n'est plus valable 72 mois après la date de fabrication du Produit, telle que déterminée par les numéros de série apposés sur le Produit.
- La garantie conventionnelle ne sera considérée comme effective et valable que si les conditions suivantes sont simultanément et intégralement remplies : 1. Le Produit est accompagné d'un CWC, remis à l'acheteur au moment de la livraison du produit. Le CWC doit être présenté au moment de la commande de service et au personnel du centre de service au moment de l'entretien.
- Un document fiscal approprié est disponible, certifiant : (i) la date d'achat du Produit, (ii) le nom de la société et l'identification correcte du vendeur et, (iii) le type et le modèle du Produit acheté, (iv) la qualité du Consommateur. Le document fiscal d'achat doit être présenté au moment de la commande d'intervention et au personnel du centre de service au moment de l'intervention de réparation.
- Les étiquettes apposées sur le Produit et indiquant le modèle et les caractéristiques de l'équipement, ainsi que les numéros de série du Produit lui-même doivent être intacts, non altérés ou rendus illisibles.
- Le Produit doit être installé par un installateur professionnel disposant de toutes les licences et certifications requises par la loi, et doit être installé et utilisé conformément à tous l éventuelle de ce certificat et n'est pas tenu d'en délivrer des duplicatas. La Garantie Conventionnelle, lorsqu'elle est effective, consiste en la réparation ou le remplacement gratuit des composants du produit présentant des défauts ou des vices de fabrication. Midea peut organiser le remplacement du produit par un nouveau produit ou, en cas d'indisponibilité de ce produit, par un produit équivalent. Le remplacement du produit ne modifie ni ne prolonge la validité de la garantie conventionnelle, qui commence toujours à la date d'achat du produit d'origine. Les services de garantie sont fournis par Midea par l'intermédiaire d'un réseau de centres d'assistance technique (ci-après dénommés "TAC") agréés par Midea. TAC agréés.
- Après la période de garantie, le client est responsable de tous les coûts liés aux pièces de rechange et à la main-d'œuvre nécessaires à la réparation du produit.
Exclusions
A titre d'exemple, mais sans s'y limiter, certains cas d'absence d'effet et d'exclusion de la couverture de la Garantie Conventionnelle sont énumérés ci-dessous : a. La Garantie Conventionnelle est sans effet et ne couvre pas l'entretien de routine et les inspections périodiques telles que le nettoyage du filtre, le remplacement du filtre, le nettoyage de l'échangeur de chaleur et d'autres activités visant à vérifier et à régler le produit ou à ajuster ou modifier les prises ou les câbles. b. La Garantie Conventionnelle est sans effet et ne couvre pas le cas où il est établi que l'entretien périodique n'a pas été effectué ou a été effectué de manière irrégulière, conformément aux prescriptions et indications figurant dans le livre d'instructions et le manuel d'utilisation du Produit. c. La Garantie Contractuelle est sans effet et ne fournit pas de couverture si le Produit est utilisé à des fins non domestiques, en tout cas s'il est utilisé dans le cadre d'une activité commerciale et/ou entreprise et/ou professionnelle. d. La Garantie Conventionnelle est sans effet et n'offre pas de couverture en cas de perte de pièces, d'accessoires et de composants du produit. e. La Garantie Conventionnelle ne couvre pas les dommages directs et les défauts résultant d'une utilisation du Produit non spécifiée dans le manuel d'instructions et le manuel d'utilisation du Produit et en tout cas en dehors des valeurs nominales prévues du Produit, ou de changements soudains de la tension du réseau auquel le Produit est connecté, ainsi que les défauts causés par l'infiltration de liquides, le feu, les décharges inductives/electrostatiques ou les décharges causées par la foudre, les surtensions ou d'autres phénomènes externes au Produit. f. La Garantie Conventionnelle est sans effet et ne couvre pas les dommages directs ou indirects causés par une utilisation incorrecte ou négligente du produit ou en cas d'installation ou de stockage du produit en dehors des conditions environnementales prévues pour son bon fonctionnement, comme indiqué dans le manuel d'utilisation qui accompagne le produit. g. La Garant[...]
Les clauses contenues dans le présent document peuvent être modifiées exclusivement par Midea ; aucune variation ou modification ne peut être apportée au présent document, sauf indication expresse de Midea.

Certificat de garantie
Midea vous remercie d'avoir acheté l'un de ses produits.
Merci de conserver ce document avec votre preuve d'achat.
La garantie a une durée de 24 mois à compter de la date indiquée sur le document d'achat.
Notre service clientèle est à votre disposition pour les signalements de produits et les demandes d'information. Pour contacter le service clientèle :
- Se connecter au site web www.midea.com/it
- Envoyer un courriel à assistenza@midea.com
Pour demander de l'aide sur un produit en cas de panne, merci de contacter le service clientèle :
02 962 46 65
Le service est disponible du Lundi au Vendredi (09:00 - 13:00 et 14:00 - 18:00), à l'exclusion des jours fériés. Le service est soumis au tarif normal en vigueur selon le plan tarifaire utilisé. Le coût de l'expérience peut varier en fonction de l'opérateur téléphonique et du plan tarifaire utilisé.
Conserver ce document avec le document prouvant la date d'achat du produit.
Espace pour joindre la preuve d'achat
e e qn s zrA
nns n anb eepn u nee

Notice Facile