TM30 - Tapis de course Darwin - Notice d'utilisation et mode d'emploi gratuit
Retrouvez gratuitement la notice de l'appareil TM30 Darwin au format PDF.
| Caractéristique | Détails |
|---|---|
| Type de produit | Tapis de course |
| Dimensions (L x l x H) | Non spécifiées |
| Poids maximal utilisateur | Non spécifié |
| Vitesse maximale | Non spécifiée |
| Inclinaison | Non spécifiée |
| Programmes d'entraînement | Non spécifiés |
| Affichage | Non spécifié |
| Connectivité | Non spécifiée |
| Maintenance | Vérifier régulièrement l'état de la courroie et lubrifier si nécessaire |
| Sécurité | Équipé d'un système d'arrêt d'urgence |
| Garantie | Non spécifiée |
| Informations supplémentaires | Consulter le manuel d'utilisation pour des instructions détaillées |
FOIRE AUX QUESTIONS - TM30 Darwin
Questions des utilisateurs sur TM30 Darwin
0 question sur cet appareil. Repondez a celles que vous connaissez ou posez la votre.
Poser une nouvelle question sur cet appareil
Téléchargez la notice de votre Tapis de course au format PDF gratuitement ! Retrouvez votre notice TM30 - Darwin et reprennez votre appareil électronique en main. Sur cette page sont publiés tous les documents nécessaires à l'utilisation de votre appareil TM30 de la marque Darwin.
MODE D'EMPLOI TM30 Darwin
Notice de montage et mode d'emploi




FSDFTM30.02.08
N° d'article DF-TM30-2
1 Informations générales 8
1.1 Notes techniques 8 1.2 Sécurité personnelle 9 1.3 Sécurité électrique 10 1.4 Emplacement 11
2 Montage 12
2.1 Instructions générales 12 2.2 Contenu de la livraison 13 2.3 Montage 14 2.4 Mécanisme de pliage 21
Mode d'emploi 22
3.1 Affichage de la console 23 3.2 Fonctions des touches 23 3.3Programmes 24 3.3.1 Quick Start (démarrage rapide) 24 3.3.2Programmes a profil 24 3.3.3 Listedesprogrammes25 3.3.4Programmes personnalises 26 3.3.5 Contrôle du taux de graisse corporelle 26 3.3.6 Programmes basés sur la fréquence cardiaque 27 3.4 Bluetooth et applications de fitness 29
4 Conseils d'entrajinement 30
4.1 Instructions générales 30 4.1.1 Tenue d'entraînement 30 4.1.2 Échauffement et étirement 30 4.1.3 Prise de médicaments 31 4.1.4 Groupes musculaires sollicités 31 4.1.5 Fréquence d'entraînement 31 4.2 Journal d'entraînement 33
5.1 Instructions générales 34 5.2 Roulettes de déplacement 34
6 Dépannage, entretien et maintenance 35
6.1 Instructions générales 35 6.2 Défauts et diagnostic des pannes 35 6.3 Codes de défauts et dépannage 36 6.4 Entretien et maintenance 37 6.4.1 Ajustement du tapis de course 37 6.4.2 Resserrage du tapis de course 38 6.4.3 Lubrification du tapis de course 38 6.5 Calendrier d'entretien et de maintenance 39
9 Commandes de PIECES de rechange 41
9.1 Numéro de série et désignation du modele 41 9.2 Lieste des pieces 42 9.3Vue éclatée 47
10 Contact 51
Nous vous remercions d'avoir opté pour un appareil de fitness de la marque Darwin Fitness®. Darwin propose des appareils d'entraînement de haute qualité à un excellent rapport qualité-prix. Les appareils d'entraînement à domicile et de musculation se distinguent par leur confort d'utilisation, leurs dimensions compactes et leur look attrayant. Notre équipement est conçu pour vous aider à réaliser vos objectifs sportifs, que vous souhaitiez perdre du poids ou vous entraîner au triathlon. Nous restons à votre disposition pour toute demande de renseignement et vous souhaitons un bon entraînement!
Pour de plus amples informations, veuillez consulter le site www.fitshop.com/darwin.
Utilisation conforme
L'appareil doit être utilisé uniquement aux fins auxquelles il est destiné.
L'appareil est destiné exclusivement à une utilisation à domicile. L'appareil n'est pas adapté à un usage semi-professionnel (par ex. hôpitaux, clubs, hôtels, établissements scolaires etc.) ni à une application commerciale ou professionnelle (par ex. salle de gym).
Mentions légales
Fitshop GmbH
N°1 du fitness à domicile en Europe
Tribunal d'instance de Flensburg
N° d'identification de TVA : DE813211547
Exclusion de responsabilité
© DARWIN est une marque déposée de la société FITSHOP GmbH. Tous droits réservés. Toute utilisation de cette marque sans l'autorisation écrite de FITSHOP est interdite.
Le produit et le manuel peuvent faire l'objet de modifications. Les données techniques sont sujettes à changement sans préavis.
À PROPOS de ce mode d'emploi
Veuillez tirer attentivement le présent mode d'emploi dans son intégralité avant le montage de l'appareil et sa première utilisation. Le mode d'emploi spécifique est là pour vous aider à monter rapidement l'appareil et à le manipuler en toute sécurité. Veillez impérativement à ce que tous les utilisateurs de l'appareil (notamment les enfants et les personnes représentant un handicap physique, sensoriel, mental ou moteur) aient préalablement pris connaissance du mode d'emploi spécifique et de son contenu. En cas de doute, l'appareil doit être utilisé sous la surveillance d'une personne responsable.
En raison des modifications et mises à jour effectuées en continu sur les logiciels, il se peut que le mode d'emploi nécessite d'être adapté en conséquence. Si vous constatez des divergences pendant le montage ou l'utilisation de l'appareil, vous pouvez consulter le mode d'emploi dans la boutique en ligne. La version la plus récente y est toujours disponible.

Cet appareil a été conçu conformément aux dernières avances en matière de sécurité. Il est protégé au moins de toute source de danger susceptible de provoquer des blessures. Assurez-vous que l'appareil a bien été monté conformément aux instructions fournies et que toutes les pièces de l'appareil sont correctement fixées. Si nécessaire, remédiez aux défauts eventuels en vous reportant au mode d'emploi.
Les appareils doivent être classés en fonction de leur précision et de leur utilisation. Les catégories de précision ne sont applicables qu'aux appareils qui affichent des données d'entraînement.
Catégorie de précision
Catégorie A: précision élevée.
Catégorie B: précision moyenne.
Catégorie C: faible précision.
Les catégories d'utilisation définissent le cadre dans lequel l'appareil peut être utilisé.
Catégorie d'utilisation
Catégorie S (studio) : utilisation professionnelle et/ou commerciale.
Ces appareils sont destinés à être utilisés dans les salles de sport d'établissements tels que les salles de sport, les établissements scolaires, les hôtels, les clubs et les studios dont l'accès et la surveillance sont réglementés par le propriétaire (personne qui assume la responsabilité légale).
Catégorie H (home): utilisation dans le cadre privé.
Utilisation à domicile. Ces appareils sont destinés à être utilisés dans le cadre privé à domicile, où l'accès à l'appareil est réglementé par la propriété (personne assumant la responsabilité légale).
Veuillez respecter scrupuleusement les consignes de sécurité et de maintenance indiquées. Toute autre utilisation peut causer des blessures, endommager l'appareil et provoquer des accidents dont le fabricant et le distributeur ne peuvent assumer aucune responsabilité.
Lors de votre lecture, vous serez amené à rencontrer les notes de sécurité suivantes :
Attention
Ce symbole indique des situations dans lesquelles le non-respect des consignes peut entraîner des dommages matériels.
Prudence
Ce symbole indique des situations dans lesquelles le non-respect des consignes peut entraîner des blessures légères!
Avertissement
Ce symbole indique des situations dans lesquelles le non-respect des consignes peut entraîner des blessures graves, voir mortelles!
DANGER
Ce symbole indique des situations dans lesquelles le non-respect des consignes peut entraîner des blessures très graves, voir mortelles!
Vous trouverez ici d'autres informations utiles.
Conserve soigneusement ce mode d'emploi de sorte qu'il soit accessible pour toute information sur les travaux de maintenance et les commandes de pièces de rechange.
- Temps d'entraînement en min. + Distance d'entraînement en km + Vitesse en km/h
- Calories dépensées en kcal
- Fréquence cardiaque (nécessitant l'utilisation des capteurs tactiles ou d'une ceinture cardio) + Inclinaison
Type de moteur : moteur sans balais
Vitesse: 1km / h - 16km / h (réglable par paliers de 0,1km / h)
Inclinaison: 15 niveaux
Nombre total de programmes : 20
Touches de sélection rapide de la vitesse : 3
Touches de sélection rapide de l'inclinaison: 3
Dimensions de la surface de course (L x l) : 130 cm x 48 cm
Epaisseur du tapis de course: 1,6 mm
Poids et dimensions :
Poids de l'article (brut, emballage inclus) : 65,5 kg
Poids de l'article (net, sans emballage) : 56,5 kg
Dimensions de l'emballage (L x I x h) : env. 166 cm x 84,5 cm x 24,5 cm
Dimensions d'installation (L × I × h) : env. 157,6cm × 77,3cm × 116,5cm
Dimensions repliees (L× I× h).. 157,6× 77,3× 21,8cm
Poids utilisateur maximal : 120 kg
Classe d'utilisation :
DANGER
- Avant la première utilisation de l'appareil, nous vous recommandons de demander l'avis d'un médecin afin qu'il juge de la possibilité ou non de vous entraîner avec cet appareil. Ces dispositions sont particulièrement applicables aux personnes qui ont une prédisposition génétique à l'hypertension ou aux maladies cardiaques, sont âgées de plus de 45 ans, fument, présentent un taux de cholestérol élevé, sont en surpoids et/ou n'ont pas pratiqué régulièrement de sport au cours de l'année passée. Si vous prenez un traitement médicamentieux susceptible de générer des troubles du rythme cardiaque, l'avis d'un médecin est impératif.
- Nous vous rappelons qu'un entraînement excessif peut sérieusement compromettre votre santé. Veuillez noter également que les systèmes de surveillance de la fréquence cardiaque ne sont pas toujours précis. Dès que vous percevez des sensations de faiblesse, de nausées, de vertiges, de douleurs, d'essoufflement ou d'autres symptômes anormaux, interrompez votre entraînement et consultez votre médecin en cas d'urgence.
- Le propriétaire doit transmettre tous les avertissements et instructions aux utilisateurs.
Avertissement
- Cet appareil n'est pas conçu pour une utilisation par les enfants de moins de 14 ans.
- Les enfants ne doivent pas être laissés sans surveillance à proximité de l'appareil.
- Les personnes handicapées doivent bénéficier d'une autorisation médicale et rester sous étroite surveillance lors de l'utilisation de tout appareil d'entraînement.
- L'appareil ne doit pas être utilisé simultanément par plusieurs personnes.
- Si votre appareil dispose d'une clé de sécurité, attachez le clip sur vos vêtements avant chaque entraî
- Si une urgence avait survenir et que l'entraînement doive de ce fait être arrêté brusquement, actionnez la clé de sécurité éraux et attendez que le tapis de course se soit immobilisé.
- Maintenez éloignés les mains, les pieds et autres parties du corps ainsi que les cheveux, vêtements, bijoux et autres objets des pièces mobiles.
- Évitez de porter des vêtements amples ou volants pendant l'entraînement. Préférez une tenue de sport adaptée. Portez des chaussures de sport adaptées, de préférence avec des semelles en caoutchouc ou autre matériel antidérapant. Évitez de porter des chaussures à talon, avec semelles en cuir, à clous ou à crampons. Ne vous entraînez jamais pieds nus.
Prudence
- Si vous devez brancher toutefois l'acid et la glycine, ne donnant pas le contrôle sur les opérations.
- Durant l'entraînement, assurez-vous que personne ne se trouve dans la zone de mouvement de l'appareil.
- Veuillez tenir compte que si les dispositifs de réglage dépassent de l'appareil, ils peuvent générer des mouvements de l'utilisateur.
Attention
- Ne placez aucun objet dans les ouvertures de l'appareil.
- Le niveau de sécurité de l'appareil ne peut être efficace que s'il est régulièrement contrôlé par rapport à d'éventuels dommages et à l'usure.
- Pour protégé l'appareil de l'utilisation par des tiers non autorisés, retirez toujours le cordon d'alimentation (si disponible) lorsque vous ne l'utilisez pas et rangez-le dans un endroit sûr et inaccessible aux personnes non autorisées (par exemple, les enfants).
DANGER
- Pour limiter les risques d'électrocution, débranchez toujours le câble de l'appareil de la prise de courant dès que vous avez terminé l'entraînement, avant d'assembler ou de désassembler l'appareil ainsi qu'avant de procéder à une maintenance ou à un nettoyage de l'appareil. Ne tirez pas sur le câble.
Avertissement
- Ne laissez pas l'appareil sans surveillance tant que le cordon d'alimentation reste branché dans la prise murale. Débranchez le cordon d'alimentation de la prise murale pendant votre absence afin d'éviter toute utilisation impropre de l'appareil par des tiers ou des enfants.
- Si le câble d'alimentation ou le cordon d'alimentation est endommagé ou défectueux, adressez-vous à votre revendeur. Jusqu'à la réparation, l'appareil ne doit pas être utilisé.
Attention
- L'appareil doit être branché sur une prise électrique de 220-230V à une fréquence de 50 Hertz
- L'appareil doit toujours être branché directement sur une prise de terre avec le câble d'alimentation fourni. Les rallonges doivent être conformes aux directives VDE. Déroulez toujours entièrement le câble d'alimentation.
- La prise de courant doit être protégée par un fusible à action retardée de 16 ampères au minimum.
- N'effectuez aucune modification sur le câble d'alimentation ni sur le cordon d'alimentation.
- Protégez le câble d'alimentation de l'eau, de la chaleur, de l'huile et des arêtes vives. Ne laissez pas le câble d'alimentation passer sous l'appareil ou sous un tapis et ne posez aucun objet dessus.
- Si l'appareil que vous avez acheté dispose d'une console TFT, des mises à jour du logiciel doivent être effectuées régulièrement. Suivez les instructions indiquées à l'écran pour procéder à la mise à jour.
- Les systèmes et logiciels des appareils équipés de consoles TFT sont spécialement conçus pour fonctionner avec les applis préinstallées. N'installez pas d'autres applis sur la console.
- Les applis préinstallées des consoles TFT proviennent de fabricants externes. Fitshop décline toute responsabilité quant à la disponibilité, la fonctionnalité ou le contenu de ces applis.
- Par la présente, Fitshop GmbH déclare que le type d'équipement radioélectrique connexion sans fil (2,402 - 2,480 GHz) est conforme à la directive 2014/53/UE. Le texte complet de la déclaration de conformité UE est disponible à l'adresse suivante: www.fitshop.com
Avertissement
- Évitez de placer l'appareil dans un passage principal ou sur une échappée.
Prudence
- Assurez-vous qu'il y ait un espace de sécurité derrière le tapis de course d'une longueur d'au moins 2 m et d'une largeur au moins égale à la largeur du tapis de course.
- Assurez-vous que la salle d'entraînement soit correctement aérée pendant l'entraînement et qu'elle ne soit pas exposée aux courants d'air.
- Choisissez l'emplacement de manière à disposer d'un espace libre suffisant (zone de sécurité) à l'avant, à l'arrière et sur les côtés de l'appareil.
- Veuillez laisser au moins 0,6 m d'espace en plus de la zone nécessaire à l'utilisation de l'appareil.
- L'appareil doit se trouver sur une surface plane, résistante et solide.
Attention
- L'appareil doit être utilisé uniquement dans un local suffisamment aéré et sec (température ambiante entre 10°C et 35°C ) tels que les piscines.
- Utiliser un tapis de protection pour ne pas endommager les sols de qualité supérieure (parquet, stratifié, liè égères inégalités du sol.
- Pour la classe d'utilisation S, l'appareil ne peut être utilisé que dans des zones où l'accès, la surveillance et le contrôle sont spécialement réglementés par le propriétaire.
Espace libre recommandé :

DANGER
- Ne laissez pas les outils ainsi que les matériaux d'emballage, comme les films de protection, sans surveillance : ils représentent un danger pour les enfants (risque d'étouffement). Tenez les enfants éloignés de l'appareil pendant le montage.
Avertissement
- Respectez les consignes apposées sur l'appareil pour réduire les risques de blessures.
Prudence
- Pendant l'assemblage, veillez à disposer d'un espace suffisant pour vous déplacer tout autour de l'appareil.
- L'assemblage de l'appareil doit être effectué par au moins deux adultes. En cas de doute, demandez l'aide supplémentaire d'une tierce personne ayant de bonnes connaissances techniques.
Attention
- Pour éviter tout endommagement de l'appareil et du sol, procédez au montage de l'appareil sur un tapis de sol ou sur le carton d'emballage.
- Pour faciliter le montage, des vis et des écrous peuvent être prémontés.
- Assemblez l'appareil si possible sur l'emplacement qui lui est réservé.
2.2 Contenu de la livraison
L'emballage comprend les pièces représentées ci-après. Vérifiez que l'ensemble des pièces et outils appartenant à l'appareil sont compris dans la livraison et assurez-vous que l'appareil n'a pas été endommagé pendant le transport. En cas de réclamation, veuillez contacter immédiatement votre contractant.

Prudence
Si le contenu de la livraison est incomplet ou si des pièces sont endommagées, ne montez pas l'appareil.
Outilage requis (fourni avec l'appareil) : clé Allen, clé à vis
| A | B | B12 | C |
| C10 | C16 | E16 |
2.3 Montage
Avant de procéder à l'assemblage de l'appareil, observez bien attentivement les étapes de montage représentées et effectuez-les dans l'ordre indiqué.
- Vissez d'abord toutes les pièces sans les serrer et vérifiez qu'elles sont correctement ajustées. Lorsque vous y serez invité, serrez les vis à l'aide de l'outil correspondant.
- Si vous avez des difficultés à reconnaître les graphiques, nous vous recommendons de consulter depuis votre terminal (smartphone, tablette ou PC) le mode d'emploi disponible au format PDF dans la boutique en ligne. Vous aurez ainsi la possibilité d'effectuer des zooms. Assurez vous que le programme Adobe Acrobat Reader est installé sur votre terminal pour pouvoir ouvrir le fjichier.
Étape 1: déballage du tapis de course
Retirez l'appareil du carton d'emballage.


Étape 2 : mise en place des montants de console
Dépliez l'unité de console en relevant les montants de console gauche et droit (A03 & A04).


Étape 3: ajustement de l'unité de console
Rabattez l'unité de console (A05) vers l'avant.

Étape 4: montage des caches
Fixez les deux caches (C10) sur les montants de console gauche et droit (A03 & A04).

Étape 5 : montage du support pour tablette
Insérez le support pour tablette (B) dans le logement de l'unité de console (A05).

Étape 6: fixation de la clé de sécurité
Insérez la clé de sécurité (C16) dans le logement de l'unité de console (C33).

Étape 7: ajustement des pieds
Si le sol présente des inégalités, vous pouvez stabiliser le tapis de course en tournant les deux vis de réglage situées sous le cadre principal.
- Soulevez le tapis de course du côté souhaité et tournez la vis de réglage sous le cadre principal.
- Tournez la vis dans le sens des aiguilles d'une montre pour la desserrer et relever la surface de course.
- Tournez la vis dans le sens inverse des aiguilles d'une montre pour abaisser la surface de course.

Attention
Ne branchez pas l'appareil sur une multiprise ; il risque sinon de ne pas être suffisamment alimenté en courant. Cela risque de provoquer des dysfonctionnements.
Branchez le cordon d'alimentation (E16) dans une prise conforme aux prescriptions indiquées dans le chapitre Sécurité électrique.
Monter et descendre correctement
- Pour monter, saisissez les mains courantes avec les deux mains et montez sur le tapis de course un pied après l'autre.
- Pour descendre, saisissez les mains courantes avec les deux mains et descendez du tapis de course un pied après l'autre.
Avertissement
- Ne soulevez pas la bande de roulement par le tapis de course ou par les roulettes de transport arrêté. Ces pièces ne se bloquent pas et sont difficiles à saisir.
- Ne branchez pas l'appareil lorsque celui-ci est replié. N'essayez pas de mettre en marche l'appareil lorsque celui-ci est replié.
- Avant d'être relié, le tapis de course doit être complètement arrêté.
Attention
- Avant de déplier et de replier le tapis de course, retirez tous les objets susceptibles d'être renversés ou d'empêcher le dépliage de l'appareil.
Le tapis de course est repliable de sorte qu'il puisse être rangé sans prendre trop de place. Cela facilite également son transport.


- Avant de commencer l'entraînement, familiarisez-vous avec toutes les fonctions et possibilités de réglage de l'appareil. Pour savoir comment utiliser correctement ce produit, demandez les conseils d'un spécialiste.
- Commencez toujours votre entraînement avec une faible intensité et augmentez-la régulièrement et en douceur. Terminez votre entraînement par une phase de récupération. Si vous avez des questions ou des doutes, contactez votre médecin.
- La plupart des nouveaux tapis de course émettent un bruit de battement causé par la bande de roulement qui passe sur les rouleaux. Le temps nécessaire à la disparition de ce bruit dépend de l'intensité d'utilisation, de la température et de l'humidité de l'environnement dans lequel est le tapis de course.
- N'oubliez pas que le bruit émis est plus élevé lorsque quelqu'un est sur l'appareil que lorsqu'il tourne à vide.
Avertissement
- Pour votre sécurité, l'appareil dispose d'une fonction d'arrêt d'urgence. L'appareil ne peut alors fonctionner que si la clé de sécurité est correctement branchée sur le point de contact du cockpit. L'appareil s'arrête automatiquement dès que la clé de sécurité est débranchée du point de contact. Attachez par conséquent avant chaque entraînement le cordon de la clé de sécurité sur vos vêtements à l'aide du clip. Retirez la clé de sécurité du cockpit à l'aide du cordon si vous souhaitez arrêter rapidement le tapis de course, si vous ne maîtrisez plus la vitesse de l'appareil ou dans tout autre cas d'urgence.
- Attachez correctement le clip de la clé de sécurité sur vos vêtements afin que la clé puisse se débrancher du point de contact du cockpit en cas de chute!
- Laissez la clé de sécurité hors de la portée des enfants.
3.1 Affichage de la console

| Calories Indique le nombre | e de calories dépenses |
| Fréquence cardiaque Indique | vique votre fréquence cardiaque. |
| Temps Indique la durée de ceuve entrainment. | |
| Vitesse Indique votre vitesse | se d'entrainment. |
| Distance Indique la distance | ce parcourue. |
| Inclinaison Indique l'inclinaison. |
3.2 Fonctions des touches
| Bouton rotatif | Le bouton rotatif est utilisé pour diverses fonctions et saisies : + Tournez le bouton rotatif dans le sens des aiguilles d'une montre ou dans le sens inverse des aiguilles d'une montre pour régler les paramètres des programmes (sens des aiguilles d'une montre : augmenter les valeurs ; sens inverse des aiguilles d'une montre : réduire les valeurs). + Appuyez sur le bouton rotatif pour démarrer le programme. + Pendant l'entraînement, appuyez sur le bouton rotatif pourmettre le programme en pause. + En mode pause, appuyez brièvement sur le bouton rotatif pour returner au programme. + En mode pause, appuyez sur le bouton rotatif et maintençé pendant environ 3 secondes pour arrêtier le programme et réinitialiser toutes les données. ① REMARQUE Le bouton rotatif ne peut pas être utilisé pour modifier l'inclinaison. |
| MODE | + Utilisez cette touche pour entrer dans le mode compte à rebours : H1 (temps), H2 (distance), H3 (calories). |
| SPEED +/- + Uti | sez ces touches pour modifier la vitesse. |
| INCLINE +/- | + Utilisez ces touches pour modifier l'inclinaison. |
| PROG | + Utilisez cette touche pour accederrapidement aux programmes à profil. |
Avertissement
Votre appareil d'entraînement n'est pas un dispositif médical. La mesure de la fréquence cardiaque n'est pas always précise. La précision de la fréquence cardiaque indiquée peut être altérée par différents facteurs. L'affichage de la fréquence cardiaque sert uniquement de référence pour tout entraînement.
Le menu principal vous propose un large choix de programmes, parmi lesquels des programmes personnalisés, des programmes à profil et un contrôle du taux de graisse corporelle.
3.3.1 Quick start (démarrage rapide)
Lorsque vous vous trouvez dans le menu principal, appuyez sur le bouton rotatif pour démarrer rapidement une séance d'entraînement.
3.3.2 Programmes à profil
Vous avez le choix entre 15 programmes à profil.
- Dans le menu principal, appuyez sur PROG pour choisir un programme à profil puis validez ou sélectionnez en appuyant sur le bouton rotatif.
- Sélectionnez l'un des 15 programmes à l'aide de la touche PROG et confirmez en appuyant sur le bouton rotatif.
- Réglez la durée d'entraînement souhaitée à l'aide du bouton rotatif et confirmez en appuyant sur le bouton rotatif.
- Le bouton rotatif vous permet de démarrer, mettre en pause et/ou arrêter le programme.
Vous pouvez modifier l'inclinaison et la vitesse pendant l'entraînement à l'aide des touches INCLINE +/- et du bouton rotatif.
À la fin du programme, le tapis de course ralentit automatiquement jusqu'à l'arrêt complet.
3.3.3 Listes des programmes
| PROG | TIME | TIME INTERVAL= setting time/10 | |||||||||
| 1 | 2 | 3 | 4 | 5 | 6 | 7 | 8 | 9 | 10 | ||
| P1 | SPEED | 3 | 3 | 5 | 5 | 7 | 7 | 5 | 5 | 3 | 3 |
| INCLINE | 1 | 1 | 2 | 2 | 2 | 3 | 3 | 2 | 1 | 1 | |
| P2 | SPEED | 10 | 3 | 5 | 7 | 3 | 7 | 5 | 7 | 5 | 3 |
| INCLINE | 1 | 2 | 2 | 2 | 2 | 3 | 3 | 2 | 3 | 3 | |
| P3 | SPEED | 3 | 3 | 5 | 7 | 7 | 9 | 7 | 5 | 5 | 1 |
| INCLINE | 2 | 3 | 3 | 2 | 2 | 3 | 3 | 3 | 4 | 4 | |
| P4 | SPEED | 3 | 5 | 3 | 7 | 1 | 5 | 7 | 5 | 3 | 1 |
| INCLINE | 2 | 3 | 3 | 2 | 2 | 3 | 3 | 3 | 4 | 0 | |
| P5 | SPEED | 5 | 5 | 5 | 7 | 9 | 11 | 9 | 7 | 7 | 5 |
| INCLINE | 3 | 3 | 3 | 4 | 4 | 5 | 5 | 5 | 5 | 2 | |
| P6 | SPEED | 3 | 5 | 9 | 11 | 7 | 12 | 9 | 11 | 5 | 3 |
| INCLINE | 3 | 5 | 5 | 5 | 4 | 4 | 4 | 3 | 4 | 2 | |
| P7 | SPEED | 3 | 7 | 9 | 11 | 9 | 9 | 9 | 7 | 5 | 5 |
| INCLINE | 4 | 4 | 4 | 4 | 3 | 3 | 6 | 6 | 8 | 3 | |
| P8 | SPEED | 5 | 5 | 9 | 9 | 11 | 5 | 11 | 11 | 5 | 3 |
| INCLINE | 4 | 5 | 5 | 5 | 6 | 6 | 6 | 7 | 10 | 3 | |
| P9 | SPEED | 2 | 5 | 5 | 8 | 8 | 4 | 6 | 3 | 3 | 2 |
| INCLINE | 5 | 5 | 5 | 6 | 6 | 6 | 4 | 4 | 8 | 2 | |
| P10 | SPEED | 2 | 3 | 4 | 6 | 7 | 5 | 5 | 6 | 7 | 3 |
| INCLINE | 5 | 6 | 6 | 6 | 7 | 5 | 8 | 8 | 5 | 3 | |
| P11 | SPEED | 3 | 4 | 5 | 9 | 5 | 9 | 5 | 5 | 6 | 3 |
| INCLINE | 3 | 6 | 5 | 3 | 5 | 3 | 5 | 5 | 4 | 2 | |
| P12 | SPEED | 1 | 2 | 3 | 10 | 7 | 7 | 10 | 5 | 4 | 3 |
| INCLINE | 2 | 5 | 5 | 3 | 5 | 5 | 3 | 3 | 6 | 2 | |
| P13 | SPEED | 1 | 1 | 3 | 5 | 5 | 5 | 9 | 3 | 1 | 1 |
| INCLINE | 5 | 5 | 8 | 8 | 8 | 3 | 3 | 7 | 8 | 0 | |
| P14 | SPEED | 3 | 4 | 7 | 3 | 4 | 6 | 3 | 4 | 5 | 3 |
| INCLINE | 2 | 4 | 4 | 4 | 4 | 2 | 3 | 3 | 1 | 0 | |
| P15 | SPEED | 2 | 3 | 5 | 5 | 7 | 7 | 7 | 6 | 4 | 3 |
| INCLINE | 3 | 3 | 5 | 5 | 5 | 5 | 2 | 2 | 1 | 0 | |
3.3.4 Programmes personnalisés
L'appareil dispose de trois programmes que vous pouvez personnaliser.
- Dans le menu principal, appuyez sur PROG pour choisir un programme personnalisé, puis validez en appuyant sur le bouton rotatif.
- Sélectionnez l'un des 3 programmes à l'aide de la touche PROG et confirmez en appuyant sur le bouton rotatif.
- Réglez la durée d'entraînement souhaitée à l'aide du bouton rotatif et confirmez en appuyant sur le bouton rotatif.
- Réglez la vitesse et l'inclinaison à l'aide du bouton rotatif et SPEED +/- ou INCLINE +/-
Un seul segment peut être réglé à la fois (chaque programme dispose de 10 segments réglables).
- Le bouton rotatif vous permet de démarrer, mettre en pause et/ou arrêter le programme.
Vous pouvez modifier l'inclinaison et la vitesse pendant l'entraînement à l'aide des touches INCLINE/ SPEED +/- et du bouton rotatif.
À la fin du programme, le tapis de course ralentit automatiquement jusqu'à l'arrêt complet.
3.3.5 Contrôle du taux de graissé corporelle
L'appareil vous permet de contrôler votre taux de graisse corporelle. Ce test vous donne des informations sur votre poids.
- Sélectionnez le test de graisse corporelle dans le menu principal à l'aide de la touche PROG puis confirmez avec la touche MODE.
- Saissez vos données personnelles (F1-F4) à l'aide du bouton rotatif et confirmez vos saisies avec la touche MODE.
- Appuyez une nouvelle fois sur MODE pour démarrer le test de graisse corporelle (F5).
- Placez vos mains sur les capteurs tactiles.
- Voiture résultat s'affiche après environ 3 secondes.
Aperçu des valeurs possibles, des plages de valeurs et des résultats :
| F-1 Sexe 01-Masculin 02-Féminin | ||
| F-2 Âge 10-99 | ||
| F-3 Taile 100-220 cm | ||
| F-4 Poids 20-150 kg | ||
| F-5 Graissere corporelle | ≤ 18 | Sous-poids |
| Graissere corporelle = (19-24) | Poids normal | |
| Graissere corporelle = (25-28) | Surpoids | |
| Graissere corporelle ≥ 29 | Obésité | |
Avertissement
Votre appareil d'entraînement n'est pas un dispositif médical. La mesure de la fréquence cardiaque n'est pas always précise. La précision de la fréquence cardiaque indiquée peut être altérée par différents facteurs. L'affichage de la fréquence cardiaque sert uniquement de référence pour votre entraînement.
Les programmes basés sur la fréquence cardiaque nécessitent l'utilisation d'une ceinture cardio. La ceinture cardio doit être bien ajustée sur la poitrine et en contact avec la peau.
En mode veille
- Appuyez sur PROG jusqu'à ce que HP1 et HP2 s'affichent à l'écran.
- Sélectionnez un programme.
- La vitesse maximale de HP1 est de 10km / h
- La vitesse minimale de HP2 est de 12km / h
- Pour saisir votre âge, appuyez sur MODE.
L'âge par défaut affiché à l'écran est 30 (AG : 30)
- Réglez votre âge en appuyant sur SPEED +/- ou INLINE +/-
L'appareil vous recommande de définir une fréquence cardiaque adaptée à votre âge.
- Pour saisir votre fréquence cardiaque, appuyez sur MODE.
- Réglez la fréquence cardiaque souhaitée en appuyant sur SPEED +/- ou INCLINE +/-
- Dès que le programme démarre, vous pouvez régler la vitesse et l'inclinaison à l'aide des boutons SPEED +/- et INCLINE +/-
L'entraînement démarre. La première minute sert à l'échauffement.
Lors de la première minute, la vitesse ne s'adapte pas automatiquement à la fréquence cardiaque actuelle.
- Pour régler la vitesse pendant la première minute, appuyez sur SPEED +/-
Après une minute, la vitesse s'adapte automatiquement à la fréquence cardiaque actuelle.
- Si votre fréquence cardiaque pendant l'entraînement ne correspond pas à la fréquence cardiaque définie, la vitesse reste constante tandis que l'inclinaison s'adapte automatiquement à la fréquence cardiaque réglée.
- L'inclinaison automatique vous permet d'atteindre la fréquence cardiaque réglée.
Fréquence cardiaque faible
Si la fréquence cardiaque actuelle ne correspond pas à la fréquence cardiaque définie, la vitesse augmente automatiquement par paliers de 0,5.
Dès que la vitesse maximale du programme est atteinte et que votre fréquence cardiaque reste inférieure, l'inclinaison augmente automatiquement par paliers. Cela vous permet d'atteindre la fréquence cardiaque définie.
Fréquence cardiaque élevée
Si la fréquence cardiaque actuelle ne correspond pas à la fréquence cardiaque définie, l'inclinaison diminue automatiquement par paliers. Lorsque l'inclinaison est à 0 et que la fréquence cardiaque définie n'est pas atteinte, la vitesse diminue automatiquement par paliers de 0,5. Cela vous permet d'atteindre la fréquence cardiaque définie. La vitesse et l'inclinaison restent constantes dès que la fréquence cardiaque définie est atteinte.
| Age Age | Pouls Pouls Pouls | Age | Age | ||||||||
| Min | Default | Max | Min | Default | Max | Min | Default | Max | |||
| 15 | 123 | 123 195 | 37 | 110 | 110 174 | 59 | 97 | 97 153 | |||
| 16 | 122 | 122 194 | 38 | 109 | 109 173 | 60 | 96 | 96 152 | |||
| 17 | 122 | 122 193 | 39 | 109 | 109 172 | 61 | 95 | 95 151 | |||
| 18 | 121 | 121 192 | 40 | 108 | 108 171 | 62 | 95 | 95 150 | |||
| 19 | 121 | 121 191 | 41 | 107 | 107 170 | 63 | 94 | 94 149 | |||
| 20 | 120 | 120 190 | 42 | 107 | 107 169 | 64 | 94 | 94 148 | |||
| 21 | 119 | 119 189 | 43 | 106 | 106 168 | 65 | 93 | 93 147 | |||
| 22 | 119 | 119 188 | 44 | 106 | 106 167 | 66 | 92 | 92 146 | |||
| 23 | 118 | 118 187 | 45 | 105 | 105 166 | 67 | 92 | 92 145 | |||
| 24 | 118 | 118 186 | 46 | 104 | 104 165 | 68 | 91 | 91 144 | |||
| 25 | 117 | 117 185 | 47 | 103 | 103 164 | 69 | 91 | 91 143 | |||
| 26 | 116 | 116 184 | 48 | 103 | 103 163 | 70 | 90 | 90 143 | |||
| 27 | 116 | 116 183 | 49 | 103 | 103 162 | 71 | 89 | 90 142 | |||
| 28 | 115 | 115 182 | 50 | 102 | 102 162 | 72 | 89 | 90 141 | |||
| 29 | 115 | 115 181 | 51 | 101 | 101 161 | 73 | 88 | 90 140 | |||
| 30 | 114 | 114 181 | 52 | 101 | 101 160 | 74 | 88 | 90 139 | |||
| 31 | 113 | 113 180 | 53 | 100 | 100 159 | 75 | 87 | 90 138 | |||
| 32 | 113 | 113 179 | 54 | 100 | 100 158 | 76 | 86 | 90 137 | |||
| 33 | 112 | 112 178 | 55 | 99 | 99 157 | 77 | 86 | 90 136 | |||
| 34 | 112 | 112 177 | 56 | 98 | 98 156 | 78 | 85 | 90 135 | |||
| 35 | 111 | 111 176 | 57 | 98 | 98 155 | 79 | 85 | 90 134 | |||
| 36 | 110 | 110 175 | 58 | 97 | 97 | 154 | 80 | 84 | 90 133 | ||
3.4 Bluetooth et applications de fitness
La console de cet appareil de fitness est équipée d'une connexion sans fil. Veuillez noter que votre appareil mobile doit être compatible avec la connexion sans fil de votre machine.
Pour utiliser des applications d'entraînement, activez la connexion sans fil sur votre appareil mobile (tablette ou smartphone) et ouvrez l'application de fitness. Sélectionnez votre appareil d'entraînement. Suivez à cet effet les instructions indiquées par l'application. Le nom de votre appareil figure sur un petit autocollant au dos de la console.
Les applications d'entraînement sont disponibles dans l'App Store de Google ou Apple. Vous y trouvez par exemple les applis « Kinomap » et « Zwift ». Ces applis proviennent de fournisseurs externes. Fitshop décline toute responsabilité quant à la disponibilité, la fonctionnalité et le contenu de ces programmes.



Exemple : Kinomap
4.1 Instructions générales
Lors de l'entraînement, il est important de veiller à une exécution correcte des mouvements afin d'éviter les blessures et de tirer le meilleur parti de votre entraînement. Veillez à utiliser la bonne technique et à vous entraîner dans une plage d'intensité appropriée. En cas d'incertitude ou de problèmes de santé, consultez toujours un professionnel de santé ou un coach sportif.
Commencez tous vos entraînements par une faible intensité et augmentez-la régulièrement et en douceur. Terminez vos entraînements par une phase de récupération. En cas de questions ou de doutes, contactez votre médecin traitant.
4.1.1 Tenue d'entraînement
Pendant l’entraînement, portez des vêtements de sport adaptés, confortables et respirants. Évitez les vêtements qui vous limitent dans vos mouvements ou qui sont inconfortables. Veillez à ce que vos chaussures soient adaptées et vous offrent une adhérence suffisante. En outre, ayez toujours une serviette avec vous pour essuyer la sueur et nettoyer l’appareil après utilisation.
4.1.2 Échauffement et étirement
Il est important de s'échauffer et de s'étirer correctement avant l'entraînement afin d'éviter les blessures et d'améliorer les performances. Les étirements permettent d'assouplir les muscles et d'améliorer la mobilité. Veillez à inclure une courte routine d'étirement avant chaque entraînement.
Exercices de chauffement :
- Tenez-vous debout, les pieds écartés d'environ la largeur des épaules.
- Commencez par effectuer des cercles avec vos bras en bougeant vos bras vers l'avant, lentement et de manière contrôlée.
- Effectuez des cercles de bras vers l'arrière afin d'assouplir les épaules et les bras.
- Faites des squats en vous accroupissant lentement puis en vous redressant. Veillez à garder le dos droit pendant la réalisation du mouvement.
Prudence
Ne vous entrainez pas avec des courbatures ou ménagez les muscles courbatures, car cela peut entraîner des blessures en cas de mauvaise exécution du mouvement.

4.1.3 Prise de médicaments
Si vous prenez régulièrement des médicaments et que vous souhaitez faire du sport, il est important de faire attention aux effets secondaires possibles. Renseignez-vous auprès de votre médecin ou de votre pharmacien pour savoir si vos médicaments pourraient influencer vos performances sportives.
4.1.4 Groupes musculaires sollicités
Lors de l'entraînement, les groupes musculaires suivants sont sollicités :
- Musculature des fesses
- Musculature des jambes
Veillez à garder le dos droit pendant l'entraînement. Ne vous cabrez pas et ne courbez pas le dos.
4.1.5 Fréquence d'entraînement
Un entraînement régulier est essentiel pour progresser et rester en bonne santé à long terme. Une pratique régulière permet de renforcer les muscles, d'améliorer l'endurance et d'accroître le bien-être général. N'oubliez pas que même les petites séances d'entraînement qui sont effectuées régulièrement permettent d'obtenir des résultats sur le long terme. Restez motivé et maintenez vos objectifs d'entraînement.
Entraînement basé sur la fréquence cardiaque
L'entraînement basé sur la fréquence cardiaque vous garantit un entraînement extrêmement efficace et en adéquation avec vos objectifs. Grâce à votre âge et au tableau ci-dessous, vous pouvez déterminer rapidement et facilement la valeur optimale de votre fréquence cardiaque lors de l'entraînement. Un signal sonore retentit lorsque votre fréquence cardiaque dépasse la valeur cible définie. Vous apprenez ci-dessous quelle fréquence cardiaque cible est importante en fonction de votre objectif d'entraînement.
Combustion des graisses (perte de poids) : L'objet principal est de brûler les graisses. Pour atteindre cet objectif d'entrainement, une faible intensité d'entrainement (environ 55% de la fréquence cardiaque maximale) et une durée d'entrainement plus longue sont recommandées.
Entraînement cardio-vasculaire (entraînement d'endurance) : L'objectif principal est d'augmenter l'endurance et la forme physique par le biais d'un meilleur approvisionnement en oxygène par le système cardiovasculaire. Pour atteindre cet objectif d'entraînement, une intensité moyenne (environ 75% de la fréquence cardiaque maximale) est nécessaire pour une durée d'entraînement moyenne.
Entraînement de la capacité anaérobie (performance maximale) : L'objectif principal de l'entraînement à l'effort maximal est d'améliorer la récupération après des efforts courts et intenses afin de revenir le plus rapidement possible dans la zone aérobie. Pour atteindre cet objectif d'entraînement, une intensité élevée (environ 90% de la fréquence cardiaque maximale) est nécessaire lors d'un effort court et intense, suivi d'une phase de récupération afin d'éviter la fatigue musculaire.
Pour un homme de 45 ans, la fréquence cardiaque maximale est de 175 (220 - 45 = 175).
- La zone cible pour la combustion des graisses (55%) est d'environ 96 battements/min = (220 - âge) x 0,55.
- La zone cible pour travailler l'endurance (75%) est d'environ 131 battements/min = (220 - âge) x 0,75.
- La valeur maximale de fréquence cardiaque pour un entraînement basé sur l'amélioration de la capacité maximale d'anaérobie (90%) est d'environ 157 battements/min = (220 - âge) x 0,9.

4.2 Journal d'entraînement
(Modèle)
| 65 | ||||||||||||||||||||||||||||||||||||
Date
Distance
Durée (Min.)
Niveau de résistance
Poids d'entraînement
Pouls
Dépense énergétique
Je me sens...
Poids
Avertissement
- Stockez l'appareil dans un lieu où il reste hors de portée de tiers ou d'enfants.
- Si votre appareil ne dispose pas de roulettes de déplacement, il convient de le démonter avant son transport.
Attention
- Veillez à ce que l'appareil soit protégé contre l'humidité, la saleté et la poussière. Le lieu de stockage doit être sec, correctement aéré et présenter une température ambiente entre 10°C et 35°C.
Attention
Si vous devez déplacer votre appareil sur un revêtement de sol particulièrement sensible etouple (parquet, stratifié ou planchers), recouvre le sol de carton ou d'un matériel similaire afin d'éviter tout risque d'endommagement.
- Placez-vous derrière l'appareil et soulevez-le jusqu'à ce que son poids soit reporté sur les roulettes de déplacement. Vous pouvez ensuite déplacer facilement l'appareil vers l'endroit souhaité. Si vous devez déplacer l'appareil sur une plus longue distance, veuillez démonter l'appareil et l'emballer en toute sécurité.
- Choisissez le nouvel emplacement de l'appareil en respectant les consignes mentionnées dans le chapitre 1.4 du mode d'emploi.

Avertissement
- Ne procédez à aucune modification non conforme sur l'appareil.
Prudence
- Toute pièce endommagée ou usée peut compromettre votre sécurité et affecter la durée de vie de l'appareil. Remplacez par conséquent immédiatement les composants endommagés ou usés. Adressez-vous à cet effet à votre contractant. N'utilisez pas l'appareil tant qu'il n'est pas remis en état. Si vous devez remplacer des pièces, utilisez exclusivement des pièces de rechange d'origine.
Attention
- Outre les instructions et recommandations de maintenance et d'entretien mentionnées dans le présent mode d'emploi, des prestations de service et/ou de réparation peuvent être nécessaires ; ces opérations ne doivent être effectuées que par des techniciens SAV habilités.
6.2 Défauts et diagnostic des pannes
L'objet a fait l'objet de contrôles de qualité réguliers tout au long de sa production. Il peut tout arriver que l'objet présente des défauts ou des dysfonctionnements. Les pièces détachées sont souvent à l'origine de ces défaillances, auquel cas un remplacement de ces pièces est suffisant. Vous trouverez ci-après un aperçu des défauts les plus fréquents ainsi que les solutions de dépannage appropriées. Si l'objet ne fonctionne toutefois toujours pas correctement, veuillez vous adresser à votre contractant.
| Défaut Cause Remède | ||
| La console ne réagit pas. | La clé de sécurité n'est pas insérée ou est mal insérée. | Vérifiéz que la clé de sécurité est en place ou insérez-la si nécessaire. |
| Tapis de course oblique | Le tapis de course est mal centré. | Centrez le tapis de course conformément aux instructions. |
| Bruits de frottement | ||
| Le tapis de course dérape/s'arrête | Tension/lubrification du tapis incorrecte | Contrôlez la tension/la lubrification du tapis conformément aux instructions. |
| L'écran est noir/ne fonctionne pas. | + Alimentation électrique coupée + Câbles mal branchés | + Mettez l'interrupteur d'alimentation sur "on" + Vérifiez que la clé de sécurité est en place + Contrôlez les câblages |
| La fréquence cardiaque ne s'affiche pas | + Interférences dans la pièce + Ceinture pectorale incompatible + Ceinture pectorale mal positionné + Ceinture pectorale défectueuse ou pile usée + Affichage du pouls défectueux | + Éliminez les interférences (par ex. téléphone portable, Wi-Fi, tondeuse ou aspirateur, etc....) + Utilisez une ceinture pectorale adaptée (voir ACCESSOIRES RECOMMANDÉS) + Positionnez correctement la ceinture pectorale et/ou humidifiez les électrodes + Changez les piles + Vérifiez que l'affichage de la fréquence cardiaque est possible via les capteurs tactiles |
6.3 Codes de défauts et dépannage
Le système électronique de l'appareil procède à des tests en continu. En cas d'écarts, un code de défaut apparaît à l'écran et le fonctionnement normal de l'appareil est arrêté pour votre sécurité.
E01 - Redémarrez l'appareil E02 - Redémarrez l'appareil E03 - Éteignez l'appareil pendant 30 minutes pour le redémarrer. E07 - Redémarrez l'appareil.
Veuillez vous adresser à votre contractant pour prendre contact avec l'assistance technique.
6.4 Entretien et maintenance
La principale intervention de maintenance est l'entretien du tapis de course. Cette opération prévoit l'ajustement, le réglage de la tension et la lubrification du tapis de course. Les dommages imputables à un entretien insuffisant ou manquant ne sont pas couverts par la garantie. Il est par conséquent recommandé de procéder à des contrôles de maintenance réguliers. L'ajustement et la tension de la bande doivent être effectués avec le plus grand soin. L'appareil risque en effet d'être endommagé en cas de surtension ou de sous-tension trop importante. Avant la livraison, le tapis de course est réglé en usine conformément aux règlementations en vigueur. Il peut toutefois arriver que le tapis de course glisse pendant le transport.
Si vous ne pouvez pas scanner les codes-QR, vous avez la possibilité d'accéder à toutes les vidéos de Fitshop disponibles sur YouTube. Ouvrez d'abord YouTube puis tapez « Fitshop » dans le champ de saisie. En scannant le code-QR avec la fonction appareil photo ou l'application Q-Code Scanner de votre smartphone, vous pouvez visionner sur YouTube une vidéo représentant des consignes générales d'entretien pour votre tapis de course/rameur/vélo elliptique/vélo d'appartement/vélo de biking. Cette vidéo sert à illustrer les points d'entretien décrits dans le présent mode.

d'emploi. Il est possible que la vidéo ne soit pas disponible dans votre langue ou avec les sous-titres correspondants.
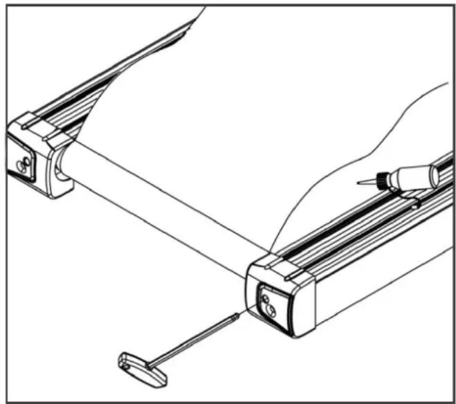
6.4.1 Ajustement du tapis de course
Pendant l'entraînement, le tapis de course doit rester centré et suivre un mouvement rectiligne. La sollicitation du tapis de course et la charge qu'il supporte peuvent modifier son orientation. De même, le positionnement de l'appareil sur une surface irrégulière peut influencer l'orientation du tapis.
Prudence
Lors de l'opération de maintenance suivante, personne ne doit se couvrir sur le tapis de course!
- Faites fonctionner l'appareil à une vitesse de 5 km/h
- Si le tapis de course devie vers la gauche, tournez la vis de réglage gauche située à l'extrémité arrêtée de l'appareil d'un quart de tour maxi dans le sens des aiguilles d'une montre et la vis
de réglage droite d'un quart de tour maxi dans le sens inverse des aiguilles d'une montre.
- Si le tapis de course devie vers la droite, tournez la vis de réglage droite située à l'extrémité arrêtée de l'appareil d'un quart de tour maxi dans le sens des aiguilles d'une montre et la vis de réglage gauche d'un quart de tour maxi dans le sens inverse des aiguilles d'une montre.
- Observe ensuite le mouvement du tapis pendant environ 30 secondes, car les effets du réglage ne sont pas immédiatement perceptibles.
- Répétez l'opération jusqu'à ce que le tapis de course suive de nouveau un mouvement rectiligne. S'il n'est pas

possible d'ajuster le tapis de course, veuillez contacter votre contractant.
6.4.2 Resserrage du tapis de course
Si le tapis de course dérape par-dessus les roulettes pendant l'entraînement (un à-coup est alors perceptible pendant la course), il est nécessaire de tendre davantage le tapis de course.
Dans la plupart des cas, le tapis s'est étiré du fait de son utilisation, le faisant ainsi glisser. Ce phénomène est tout à fait normal.
Le déplacement du tapis s'effectue avec les mêmes vis de réglage que celles employées pour l'ajustage.
- Faites fonctionner l'appareil à une vitesse de 5 km/h
- Tournez successivement les vis de réglage gauche et droite d'un quart de tour maxi dans le sens des aiguilles d'une montre.
- Vérifiez ensuite si le glissement du tapis de course persiste. Si tel est le cas, répétez l'opération précédente.
6.4.3 Lubrification du tapis de course
Une lubrification insuffisante du tapis de course augmente les frottements, ce qui provoque une usure prématurée de la bande sans fin, de la plaque de base, du moteur de la platine. Si vous percevez des bruits de frottement accrus, le tapis a besoin d'être lubrifié. Nous recommandons toutefois de lubrifier le tapis au moins tous les trois mois ou toutes les 50 heures de fonctionnement, selon la première éventualité.
Si vous tapis de course est équipé d'un mécanisme de piage, vous pouvez également le lubrifier lorsqu'il est replié.
- Soulevez légèrement le tapis.
- Appliquez une petite quantité d'huile siliconé ou pulvérisez du siliconé à l'aide d'un spray sur la bande de roulement et répartissez-le uniformément sur toute la surface.
- Continuez de tourner la bande à la main de sorte que toute la surface entre la bande sans fin et la plaque de base soit lubrifiée.
- Essuyez l'excédent de silicone.
Cette mesure d'entretien est également nécessaire en cas de non-utilisation de l'appareil pendant une période prolongée.

6.5 Calendrier d'entretien et de maintenance
Pour éviter tout endommagement causé par la transpiration, il convient de nettoyer l'appareil avec une serviette humide (sans solvant!) après chaque séance d'entraînement.
Les opérations d'entretien suivantes sont à effectuer dans les intervalles de temps indiqués :
| Pièce | Une fois parSEAINE | Une fois parmois | Tous les troismois |
| Écran de console N I | |||
| Tension de la bande | I | ||
| Lubrification de la bande I | |||
| Revêtements en plastique N I | |||
| Vis et câbles | I | ||
| Légende : N = nettoyage ; I = inspection | |||
En scannant le code-QR avec la fonction appareil photo ou l'application QR-Code Scanner de votre smartphone, vous pouvez visionner sur YouTube une vidéo représentant des consignes générales d'entretien pour votre tapis de course. Cette vidéo illustrerait les points d'entretien décrits dans le présent mode d'emploi. Il est possible que la vidéo ne soit pas disponible dans votre langue ou avec les sous-titres correspondants.

Si vous ne pouvez pas scanner les codes-QR, vous avez la possibilité d'accéder à
toutes les vidéos de Fitshop disponibles sur YouTube. Ouvrez d'abord YouTube puis tapez « Fitshop » dans le champ de saisie.
7 Elimination
À la fin de sa durée de vie, l'appareil ne doit pas être éliminé avec les déchets ménagers. Il doit être confié à un centre de collecte spécialisé dans le recyclage des appareils électriques et électroniques. Pour de plus amples informations, contactez le centre compétent d'élimination des déchets le plus proche de chez vous.

Les matériaux sont recyclables, conformément à leur marquage. Par le recyclage des matières, la réutilisation ou autres formes de valorisation des anciens appareils, vous prenez activement part à la protection de notre environnement.
8 ACCESSOIREs RECOMMANDES
Pour rendre votre entrainement encore plus agréable et efficace, nous vous recommandons de compléter votre appareil de fitness par des accessoires adaptés. Pour les vélos elliptiques, un tapis de sol permet d'assurer plus de stabilité à votre appareil. Il protège le sol de la transpiration ainsi que des projections lors de l'utilisation d'un spray de silicone, idéal pour entretenir votre vélo.
Si votre appareil de fitness propose un entraînement basé sur la fréquence cardiaque, nous vous recommandons vivement l'utilisation d'une ceinture pectorale compatible afin de garantir une transmission optimale de votre fréquence cardiaque.
Notre gamme d'accessoires offre une qualité optimale pour rendre notre entraînement encore plus efficace. Pour toute information sur nos accessoires compatibles, rendez-vous sur notre boutique en ligne et consultez le descriptif

détaillé de nos produits. Il suffit à cet effet de saisir le numéro d'article correspondant en haut dans le champ de recherche. Vous serez alors dirigé vers les accessoires commandés. Vous pouvez également utiliser le code QR mis à disposition. Vous avez bien sûr également la possibilité de contacter notre service clientèle par téléphone, par mail, dans l'un de nos magasins ou via les réseaux sociaux. C'est avec plaisir que nous vous conseillerons!

9.1 Numéro de série et désignation du modèle
Afin de vous assurer le meilleur service possible, nous devons connaître la désignation du modèle, le numéro d'article, le numéro de série, la vue éclatée et la liste des pièces. Vous trouvez les données de contact correspondantes au chapitre 10 du mode d'emploi.
Le numéro de série de votre appareil est unique. Il se trouve sur un autocollant blanc.
Entrez le numéro de série dans le champ correspondant.
Numéro de série:
Darwin / taps de course
Désignation du modèle :
Tapis de course Darwin TM30
Référence article :
DF-TM30-2
9.2 Liste des pièces
| N° | Désignation (ENG) | Spécification | Nbre |
| A01 | Lifting Frame Component 1 | ||
| A02 | Main Frame Component 1 | ||
| A03 | Left Column Component 1 | ||
| A04 | Right Column Component 1 | ||
| A05 | Display Basement Component 1 | ||
| A06 | Folding Handlebar 2 | ||
| A07 | Side rail Fixing Panel 6 | ||
| A08 | Motor Fixing Panel 2 | ||
| A09 | Rotating assembly 2 | ||
| A10 | Clearance ring 2 | ||
| B01 | Motor Fixing Base L 1 | ||
| B02 | Motor Fixing Base R 1 | ||
| B03 | Front Roller 1 | ||
| B04 | Back Roller | 1 | |
| B05 | Left Pulse Icon Clip | 2 | |
| B06 | Right Pulse Icon Clip 2 | ||
| B07 | Lifting Frame Sleeve | 2 | |
| B08 | Spring | 2 | |
| B09 | Sleeve | 2 | |
| B10 | Ground Copper Sheet | 1 | |
| B11 | Spring Clip | 2 | |
| B12 | Allen Wrench | 1 | |
| B13 | Column bolt | 2 | |
| B14 | Column bolt spring | 2 | |
| B15 | Steel wire | 2 | |
| B16 | bearing | 2 | |
| C01 | Display Panel | 1 | |
| C02 | Console Top Cover | 1 | |
| C03 | Console Bottom Cover | 1 | |
| C04 | Raster | 1 | |
| C05 | Outside Decorative Cover of Left Column | 1 |
| C06 Outside Decorative Cover of Right Column 1 | ||
| C07 L Decorative Cover of Inner Column 1 | ||
| C08 Motor Top Cover 1 | ||
| C09 Motor Bottom Cover 1 | ||
| C10 Decorative Cover 2 | ||
| C11 Left Rear End Cap 1 | ||
| C12 Right Rear End Cap 1 | ||
| C13 Handlebar Rubber Sleeve 2 | ||
| C14 Running Belt 1 | ||
| C15 Side rail 2 | ||
| C16 Safety Key 1 | ||
| C17 Cushion 6 | ||
| C18 Transportation Wheel | 4 | |
| C19 Cushion 4 | ||
| C20 Middle Cushion | 2 | |
| C21 IPAD Top Cover | 1 | |
| C22 IPAD Bottom Cover 1 | ||
| C23 IPAD Rubber Cushion | 1 | |
| C24 IPAD Anti-slip Rubber Cushion | 1 | |
| C25 IPAD Holder Socket | 1 | |
| C26 R Decorative Cover of Inner Column | 1 | |
| C27 Foot Pad Assembly 2 | 2 | |
| C28 Foot Pad Sleeve | 2 | |
| C29 Soft Foot Pad Sleeve | 2 | |
| C30 Button | 1 | |
| C31 Button | 1 | |
| C32 Button | 2 | |
| C33 Safety Key Basement | 1 | |
| C34 Gasket | 2 | |
| C35 Motor Belt | 1 | |
| C36 Rubber Pad | 4 | |
| D01 | Nut | M10 |
| D02 | Nut | M6 |
| D03 | Nut | M8 |
| D04 Nut M10 4 | ||
| D05 Bolt M10*65 1 | ||
| D06 Bolt M10*45 1 | ||
| D07 Bolt M10*40 2 | ||
| D08 Bolt M10*20 2 | ||
| D09 Bolt M10*45 2 | ||
| D10 Bolt M8*15 4 | ||
| D11 Bolt M6*12 6 | ||
| D12 Bolt M6*25 6 | ||
| D13 Bolt M8*55 2 | ||
| D14 Bolt M6*55 1 | ||
| D15 Bolt M6*20 2 | ||
| D16 Bolt M6*12 13 | ||
| D17 Screw ST4.2*12 11 | ||
| D18 Bolt M5*10 4 | ||
| D19 Bolt M5*8 4 | ||
| D20 Screw ST4.2*12 38 | ||
| D21 Screw ST4.2*10 5 | ||
| D22 Screw ST3.5*10 4 | ||
| D23 Screw ST3.5*8 4 | ||
| D24 Screw ST2.9*8 10 | ||
| D25 Screw ST2.9*8 2 | ||
| D26 Screw ST2.9*6 20 | ||
| D27 Screw ST2.0*6 4 | ||
| D28 Screw ST4.2*19 5 | ||
| D29 Screw ST4.2*12 10 | ||
| D30 Screw ST2.5*5 6 | ||
| D31 Flat Washer Φ10*Φ20*1.5 1 | ||
| D32 Flat Washer Φ8 2 | ||
| D33 Flat Washer Φ6 6 | ||
| D34 Flat Washer φ10*φ26*2 6 | ||
| D35 Flat Washer φ8*φ22*2 4 | ||
| D36 Lock Washer | Φ10 | 2 |
| D37 Lock Washer | Φ8 | 2 |
| D38 Lock Washer Φ6 1 | ||
| D39 Lock Washer Φ5 2 | ||
| D40 Spring Washer Φ8 4 | ||
| D41 Bolt M5*12 2 | ||
| D42 Screw ST4.2*16 2 | ||
| D43 Bolt M6*60 1 | ||
| D44 Bolt M4*16 2 | ||
| D45 Bolt M5*10 2 | ||
| D46 Nut M6 2 | ||
| D47 Bolt M6*20 2 | ||
| E01 Console 1 | ||
| E02 Control Board 1 | ||
| E03 Console Top wire | 1 | |
| E04 Console Bottom wire | 1 | |
| E05 Smart Adjustment Knob | 1 | |
| E06 Knob Connection Wire | 1 | |
| E07 Safety Key Connection Wire | 1 | |
| E08 Pulse Top Wire | 1 | |
| E09 Pulse Bottom Wire | 2 | |
| E10 Indine Top Wire | 1 | |
| E11 Incline Bottom Wire | 1 | |
| E12 Speed Top Wire | 1 | |
| E13 Speed Bottom Wire | 1 | |
| E14 Indine Motor | 1 | |
| E15 Running Board | 1 | |
| E16 Power Cord | 1 | |
| E17 Power Switch | 1 | |
| E18 Power Socket | 1 | |
| E19 Overload Protector | 1 | |
| E20 Magnetic Core | 1 | |
| E21 AC Single Wire | 2 | |
| E22 AC Single Wire | 1 | |
| E23 AC Single Wire | 1 | |
| E24 AC Single Wire | 1 | |
| E25 Ground Wire 1 | ||
| E26 Ground Wire 1 | ||
| E27 Motor 1 | ||
| F01 Speaker 2 | ||
| F02 Screw ST2.9*6 12 | ||
| F03 USB Module 1 | ||
| F04 USB Wire 1 | ||
| F05 Filter ST4.2*12 1 | ||
| F06 Inductance 1 | ||
| F07 AC Single Wire 1 | ||
| F08 Ground Wire 1 | ||
| F09 Screw ST4.2*12 4 | ||
| F10 B-board 1 | ||
| F11 Audio socket wire 1 | ||
| F12 Screw ST2.5*6 4 | ||
| F13 B-module 1 | ||
| F14 B-wire | 1 | |
| F15 HRC connecting wire | 1 | |
| F16 Wireless receiver | 1 |
9.3 Vue éclatée


Les produits de Darwin® sont soumis à un contrôle de qualité rigoureux. Si, malgré les soins apportés, votre appareil de fitness ne fonctionnait pas de manière irréprochable, nous le regrettons vivement et nous vous invitons à prendre contact avec notre service clientèle. Notre ligne d'assistance technique se tient révoltiers à votre disposition par téléphone.
Votre appareil d'entraînement a été conçu pour vous garantir en permanence un entraînement de haut niveau. Toutefois, en cas de problème, veuillez d'abord lire le mode d'emploi. Si vous ne parvenez pas à résoudre vous-même le problème, adressez-vous à votre contractant ou à notre ligne d'assistance gratuite. Pour pouvoir résoudre vos problèmes dans les autres périodes délais, veuillez décrire le défaut le plus précisément possible.
Outre la garantie légale, nous accordons une garantie sur tous les appareils de fitness achetés chez nous dans la mesure des dispositions suivantes.
Cela n'affecte en aucune façon vos droits légaux.
Bénéficiaire de la garantie
Le bénéficiaire de la garantie est le premier acheteur ou toute personne ayant reçu en cadeau un produit neuf acheté d'un premier acheteur.
Délais de garantie
Dès la livraison de l'appareil, nous vous offrons une garantie dessus, dont la durée est précisée sur notre boutique en ligne. Vous trouvez la durée de la garantie de votre appareil sur la page du produit correspondant de notre site internet.
Frais de remise en état
L'indemnisation garantie se fait selon notre choix par réparation, par échange des pièces endommagées ou par échange de l'intégralité de l'appareil. Les pièces de rechange à monter soi-même lors de l'assemblage de l'appareil doivent être remplacées par le bénéficiaire de la garantie lui-même et ne sont pas prévues dans la remise en état. Après expiration de la garantie, les frais pour les pièces de rechange, la remise en état, la réparation, l'installation et l'expédition incombent à l'acheteur.
Les périodes d'utilisation sont définies comme suit :
- Utilisation à domicile : exclusivement usage privé à domicile jusqu'à 3 heures par jour
- Usage semi-professionnel : jusqu'à 6 heures par jour (par ex. centres de rééducation, hôtels, clubs, salle de fitness en entreprise)
- Usage professionnel : plus de 6 heures par jour (par ex. en salle de gym)
Service garantie
Durant la période de garantie, les appareils présentant des dysfonctionnements dus à des défauts du matériel utilisé ou des défauts de fabrication seront, à notre appréciation, réparés ou remplacés. Les pièces ou appareils échangés deviennent notre propriété. Les prestations de la garantie n’entraînant ni une prolongation ni un renouvellement du délai de garantie.
Conditions de garantie
Pour pouvoir faire usage de la garantie, il convient de procéder comme suit :
Prenez contact par courriel ou par téléphone avec le service clientèle. Si le produit sous garantie doit être envoyé pour réparation, les frais encourus sont à la charge du vendeur. Après expiration de la garantie, les frais de transport et d'assurance sont à la charge de l'acheteur. Si le défaut entre dans le cadre de notre prestation de garantie, un appareil réparé ou un appareil neuf vous sera envoyé.
Les droits à la garantie sont exclus dans le cas de dommages causés par :
- une utilisation incorrecte ou non conforme
- les influences environnementales (humidité, chaleur, poussière, etc.)
- le non-respect des consignes de sécurité applicables à l'appareil
- le non-respect des consignes figurant dans le mode d'emploi + des violences (par ex. chocs, coups, chutes)
- des interventions effectuées par un service après-vente autre que ceux agréés
- des tentatives de réparation effectuées par l'acheteur
Justificatif d'achat et numéro de série
Assurez-vous d'être en mesure de présenter la facture correspondante en cas de recours à la garantie. Afin de pouvoir identifier clairement la version de votre modèle et pour notre contrôle de qualité, nous devons connaître, pour toute intervention S. A. V, le numéro de série de votre appareil. Notez si possible le numéro de série ainsi que votre numéro client avant d'appeler notre ligne d'assistance. Cela facilitera le traitement de votre demande.
Si vous avez des difficultés à trouver le numéro de série de votre appareil d'entraînement, demandez de l'aide auprès de nos collaborateurs du service après-vente.
Service hors garantie
En cas de défectuosité de votre appareil d'entraînement après expiration de la garantie ou si le défaut n'entre pas dans le cadre de la prestation de garantie (par ex. dommages dus à une usure normale), nous nous tenons à votre disposition pour vous proposer une offre personnalisée. Veuillez vous adresser à notre service clientèle afin de trouver une solution rapide et économique à votre problème. Dans ce cas, les frais d'envoi seront à votre charge.
Communication
Un entretien avec nos spécialistes suffit dans de nombreux cas à remédier à vos problèmes. Nous savons combien il est important pour vous que les problèmes soient résolus rapidement et simplement afin que vous puissiez profiter des joies de l'entraînement sans subir de longues périodes d'interruption. Il est également dans notre intérêt de trouver une solution rapide et non bureaucratique à votre demande. Gardez donc à portée de main votre numéro client ainsi que le numéro de série de l'appareil défectueux.

+49 4621 4210-900

+4946214210-698

technik@fitshop.de

Vous trouverez les heures
d'ouverture sur notre site
Internet:
https://stg.fit/statit4

027324677

6214210933

info@fitshop.be

Vose trouvez les heures
d'ouverture sur notre site
Internet:
Vous trouverez sur cette page web une liste détaillée de tous les magasins du Groupe Fitshop en
France et à l'étranger, avec leur adresse et leurs horaires d'ouverture.
www.fitshop.fr/apercu-de-nos-succursales
Boutique en ligne et réseaux sociaux
Avec plus de 70 succursales, Fitshop est le plus grand marché spécialisé d'appareils de fitness à domicile en Europe et compte parmi les sociétés de vente en ligne les plus renommées dans le domaine de l'équipement de fitness. Plus de 25 boutiques en ligne sont disponibles pour les particuliers dans la langue de leur pays. Des magasins vous accueillent également pour composer l'appareil de votre choix. La société fournit également les salles de gym, hôtels, clubs de sports, entreprises et cabinets de kinésithérapie en appareils d'endurance et de musculation conçus pour un usage professionnel.
Fitshop offre une large gamme d'appareils de fitness de fabricants renommés, ainsi que ses propres produits et des prestations de service complètes (service de montage et conseils de professionnels avant et après l'achat de votre appareils). L'entreprise emploie à cet effet de nombreux spécialistes scientifiques du sport, entraîneurs de fitness et athlètes de compétition.
N'hésitez pas à nous rendre visite sur les réseaux sociaux ou sur notre blog !

Notes

Notice Facile