LKWOBG1415SS - Distributeur d'eau Elkay - Notice d'utilisation et mode d'emploi gratuit
Retrouvez gratuitement la notice de l'appareil LKWOBG1415SS Elkay au format PDF.
| Caractéristiques techniques | Distributeur d'eau Elkay LKWOBG1415SS en acier inoxydable, conçu pour une utilisation commerciale et résidentielle. |
|---|---|
| Dimensions | Dimensions : 35,6 cm x 38,1 cm x 40,6 cm. |
| Capacité de distribution | Conçu pour distribuer de l'eau potable à la demande. |
| Installation | Installation encastrée, nécessite un accès à l'alimentation en eau et à l'électricité. |
| Matériaux | Acier inoxydable, résistant à la corrosion et facile à nettoyer. |
| Utilisation | Idéal pour les bureaux, écoles, et espaces publics. |
| Maintenance | Nettoyage régulier recommandé pour éviter l'accumulation de calcaire. |
| Réparation | En cas de fuite ou de dysfonctionnement, contacter un technicien qualifié. |
| Sécurité | Conforme aux normes de sécurité pour les appareils de distribution d'eau. |
| Informations générales | Produit garanti par le fabricant, vérifier les conditions de garantie avant l'achat. |
FOIRE AUX QUESTIONS - LKWOBG1415SS Elkay
Questions des utilisateurs sur LKWOBG1415SS Elkay
0 question sur cet appareil. Repondez a celles que vous connaissez ou posez la votre.
Poser une nouvelle question sur cet appareil
Téléchargez la notice de votre Distributeur d'eau au format PDF gratuitement ! Retrouvez votre notice LKWOBG1415SS - Elkay et reprennez votre appareil électronique en main. Sur cette page sont publiés tous les documents nécessaires à l'utilisation de votre appareil LKWOBG1415SS de la marque Elkay.
MODE D'EMPLOI LKWOBG1415SS Elkay
EFA / LFA Serie Deluxe Piso Modelo Enfriadores de Agua
EFA / LFA Serie Plancher Deluxe Modèle Refroidisseurs d'eau

Note: Danger! Electric shock hazard. Disconnect power before servicing unit.
Nota: peligro! Peligro de descarga electrica. Desconecte antes de reparar la unidad.
Remarque: Danger! Risque d'électrocution. Débrancher avant de réparer l'appareil.
USES HFC-134A REFRIGERANT USA REFRIGERANTE HFC-134A UTILISE DU FLUIDE FRIGORIGENE HFC-134A

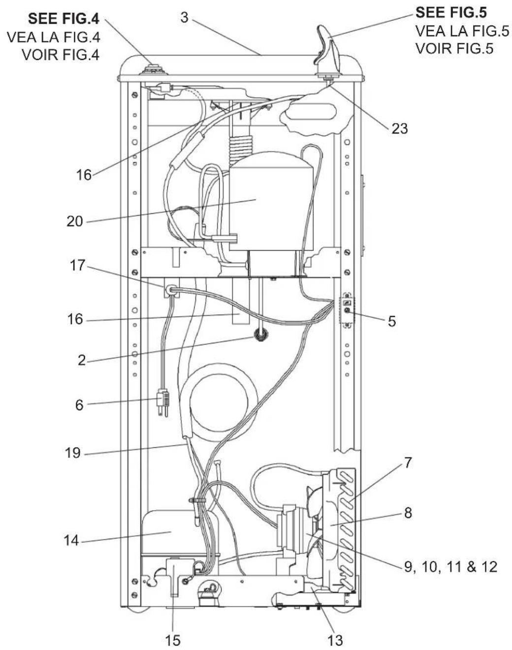
FIG.1

FINISHED FLOOR
PISO ACABADO
PLANCHER FINI

FIG. 2
Le niveau d'écoulement est régê en usine à 35 PSI. Si la pression varie beaucoup de ce point, retirez les articles 1a et 2a et ajustez la vis de l'article 4a. Si vous ajustez dans le sens des aiguilles d'une montre, le jet augmentera et dans le sens contraire, le jet diminuera. Le meilleur ajustement est lorsque le jet frappe le bassin à environ 6 - 1 / 2'' (165mm) du barboteur.

FIG. 4
NOTE:
* COMPREND RELAIS ET SURCHARGE. SI SOUS GARANTIE, REMPLACEZ AVEC LE Meme SURPRESSEUR QUE CELUI UTILISE ORIGINALEMENT. NOTE : Toute correspondance au sujet des refroidisseurs d'eau courante ou toule commande de piece de rechange DOIT inclure le numero de modele et le numero de série du refroidisseur ainsi que le nom et le numero de piece a replacier.
| COLOR TABLE PANEL COLOR | TABLA DE LOS COLORES COLOR DEL PANEL | TABLE DE COULEURS COULEUR DU PANNEAU | RIGHT PANEL (w/o hole) PANEL DERECHO (con agua) PANNEAU DROIT (avec trou) | LEFT PANEL PANEL IZQUIERDO PANNEAU GAUCHE | FRONT PANEL PANEL FRONTAL PANNEAU AVANT |
| Stainless Steel | Acier inoxidable | Acero inoxidable | 27652C | 20624C | 20654C |
| Sandalwood | Santal | Maderade sándalo | 27656C | 21458C | 21450C |
| Light Gray | Gris Claro | Gris Clair | 27657C | 27166C | 27148C |
PRINTED IN U.S.A.
Notice Facile