AFT604W - Hotte ARTHUR MARTIN ELECTROLUX - Notice d'utilisation et mode d'emploi gratuit
Retrouvez gratuitement la notice de l'appareil AFT604W ARTHUR MARTIN ELECTROLUX au format PDF.
| Caractéristiques techniques | Hotte aspirante murale, puissance d'aspiration : 600 m³/h, niveau sonore : 60 dB, éclairage LED intégré. |
|---|---|
| Modes de fonctionnement | Extraction ou recyclage, avec filtre à charbon en option. |
| Dimensions | Largeur : 60 cm, profondeur : 50 cm, hauteur : 75-100 cm (ajustable). |
| Installation | Installation murale, nécessite un conduit d'évacuation ou un filtre à charbon pour le mode recyclage. |
| Entretien | Filtres à graisse lavables en machine, filtre à charbon à remplacer tous les 6 mois en mode recyclage. |
| Sécurité | Protection contre les surchauffes, conforme aux normes de sécurité électrique. |
| Informations générales | Garantie de 2 ans, consommation énergétique : classe A, couleur : blanc. |
FOIRE AUX QUESTIONS - AFT604W ARTHUR MARTIN ELECTROLUX
Questions des utilisateurs sur AFT604W ARTHUR MARTIN ELECTROLUX
0 question sur cet appareil. Repondez a celles que vous connaissez ou posez la votre.
Poser une nouvelle question sur cet appareil
Téléchargez la notice de votre Hotte au format PDF gratuitement ! Retrouvez votre notice AFT604W - ARTHUR MARTIN ELECTROLUX et reprennez votre appareil électronique en main. Sur cette page sont publiés tous les documents nécessaires à l'utilisation de votre appareil AFT604W de la marque ARTHUR MARTIN ELECTROLUX.
MODE D'EMPLOI AFT604W ARTHUR MARTIN ELECTROLUX
Nous vous donnerons toujours plus.
Nous vous remercions de la confiance que vous nous avez témoignée en choisissant :
ARTHUR MARTIN Electrolux
Nous savons que vous attendez de cet appareil qu'il vous apporte pleinement satisfaction en termes d'efficacité, fiabilité, facilité d'utilisation.
C'est en fonction de ces exigences qu'il a été conçu avec le plus grand soin, la plus grande attention.
Son utilisation est très simple. Cependant, nous vous recommandons de lire attentivement cette notice. Bien connaître votre nouvel appareil, c'est non seulement éviter au départ une erreur de manipulation susceptible de l'endommager, mais c'est aussi vous familiariser avec toutes les possibilités qu'il vous offre.
Nous souhaitons que la satisfaction que vous aurez dans son utilisation vous amène à nous choisir pour d'autres appareils de notre marque.
A bientôt et encore merci.
SOMMAIRE
A l'attention de l'utilisateur
Avertissements importants 4
Description de l'appareil 6
Utilisation de votre hotte 7
Entretien et nettoyage 10
En cas d'anomalie de fonctionnement 12
Garantie 13
Service après-vente 13
A l'attention de l'installateur
Caractéristiques techniques 14
Branchement électrique 14
Installation 15
Comment lire votre notice d'utilisation ?
Les symboles suivants vous guideront tout au long de la lecture de votre notice d'utilisation.

Instructions de sécurité

Description d'opérations étape par étape

Conseils et recommandations

Informations liées à la protection de l'environnement
AVERTISSEMENTS IMPORTANTS
Conservez cette notice d'utilisation avec votre appareil. Si l'appareil devait être vendu ou cédé à une autre personne, assurez-vous que la notice d'utilisation l'accompagne. Le nouvel utilisateur pourra alors être informé du fonctionnement de celui-ci et des avertissements s'y rapportant. Ces avertissements ont été rédigés pour votre sécurité et celle d'autrui.
Utilisation
- Cet appareil a été conçu pour être utilisé par des adultes. Veillez à ce que les enfants n'y touchent pas et ne l'utilisent pas comme un jouet.
- A la réception de l'appareil, déballez-le ou faites-le déballer immédiatement. Vérifiez son aspect général. Faites les éventuelles réserves par écrit sur le bon de livraison ou sur le bon d'enlèvement dont vous garderez un exemplaire.
- Votre appareil est destiné à un usage domestique normal. Ne l'utilisez pas à des fins commerciales ou industrielles ou pour d'autres buts que celui pour lequel il a été conçu.
- Ne modifiez pas ou n'essayez pas de modifier les caractéristiques de cet appareil. Cela représenterait un danger pour vous.
- Débranchez toujours la hotte avant de procéder à son nettoyage et son entretien.
- Aérez convenablement la pièce en cas de fonctionnement simultané de la hotte et d'autres appareils alimentés par une source d'énergie différente de l'énergie électrique. Ceci afin que la hotte n'aspire pas les gaz de combustion.
- Ne faites jamais flamber des préparations sous la hotte. Les flammes aspirées risqueraient de détériorer les filtres et provoquer un incendie.
- Respectez la fréquence de nettoyage et de remplacement des filtres. L'accumulation
de dépôts de graisse risque d'occasionner un incendie
- Ne laissez jamais des fritures sous la hotte sans surveillance attentive. Les huiles et graisses portées à très haute température peuvent prendre feu.
- Ne laissez pas un brûleur à gaz allumé sans récipient, la flamme pourrait abîmer le filtre de l'appareil.
Installation
- Vérifiez que la tension du réseau correspond à la tension mentionnée sur la plaque signalétique située à l'intérieur de la hotte (voir caractéristiques techniques).
- Si l'installation électrique de votre habitation nécessite une modification pour le branchement de votre appareil, faites appel à un électricien qualifié.
- Si la hotte est utilisée en version évacuation, ne raccordez pas l'appareil à un conduit d'évacuation de fumées de combustion (chaudière, cheminée, etc...) ou à une VMC (ventilation mécanique contrôlée).
- Le conduit d'évacuation, quel qu'il soit, ne doit pas déboucher dans les combles.
- Dans le cas où l'appareil est relié directement à l'installation électrique, interposez un interrupteur bipolaire ayant une distance d'ouverture des contacts d'au moins 3 mm.
- Installez la hotte à une distance de sécurité d'au moins 65 cm d'un plan de cuisson électrique, d'au moins 75 cm d'un plan de cuisson gaz ou mixte.
Veuillez lire attentivement ces remarques avant d'installer et d'utiliser votre appareil. Nous déclinons toute responsabilité en cas de dommages ou d'incendies provoqués par l'appareil du fait du non-respect de ces avertissements.

Protection de l'environnement
- Si vous procédez à la mise à la casse de votre ancien appareil, veillez à mettre hors d'usage ce qui pourrait représenter un danger : coupez le câble d'alimentation au ras de l'appareil.
- Informez-vous, auprès des services de votre commune, des endroits autorisés pour la mise au rebut de l'appareil.
En cas d'anomalie de fonctionnement, reportez-vous à la rubrique « EN CAS D'ANOMALIE DE FONCTIONNEMENT ». Si malgré toutes les vérifications une intervention s'avère nécessaire, le vendeur de votre appareil est le premier habilité à intervenir. A défaut (déménagement de votre part, fermeture du magasin où vous avez effectué l'achat...), veuillez consulter l'Assistance Technique Consommateurs qui vous communiquera l'adresse d'un service après vente.
En cas d'intervention sur votre appareil, exigez du service après vente les pièces de rechange certifiées Constructeur.


text_image
4 5 3 ARTHUR MARTIN 50 Electrolux 61824 vitesse 0 1 2 3 1 2 401_12AM11 mise en fonctionnement et arrêt de l'éclairage
2 mise en marche et arrêt du moteur et choix de la vitesse d'aspiration
Vitesses d'aspiration:
Position 1 = Vitesse minimum, pour
ventiler la pièce,
particulièrement silencieuse, pour les plats émettant peu de vapeurs.
Position 2 = Vitesse intermédiaire: en
forte concentration d'odeurs et de vapeurs, même pour de longues périodes.
3 Visière
4 Filtres à graisse
5 Eclairage du plan de travail
UTILISATION DE VOTRE HOTTE
Utilisation en version évacuation (l'air aspiré est convoyé à l'extérieur de la pièce)
La hotte, équipée de deux ouvertures pour la sortie de l'air, est fournie en série avec un obturateur en plastique monté dans l'ouverture arrière. La buse fournie avec la hotte sera montée en fonction de la solution choisie; sortie supérieure (fig. 8), sortie arrière (fig. 9). Dans le cas d'installation avec sortie arrière, l'obturateur en plastique devra être monté dans l'ouverture supérieure et la buse dans l'ouverture arrière. Raccordez la buse de sortie de l'air au conduit d'évacuation externe au moyen d'un tuyau ∅ 120 mm. Ouvrez la grille d'aspiration en appuyant sur les boutons vers l'intérieur (fig. 10), contrôlez que le levier (hotte à un moteur) ou l'indicateur de la poignée (hotte à deux moteurs) se trouve sur la position évacuation (fig. 11), retirez le(s) filtre(s) à charbon actifs, en tournant la poignée dans le sens contraire des aiguilles d'une montre.

text_image
8 401_08
text_image
9 401_09
Utilisation en version recyclage (l'air aspiré est filtré et renvoyé à l'intérieur de la pièce).
Ouvrez la grille d'aspiration, contrôlez que le levier (hotte à un moteur) ou l'indicateur de la poignée (hotte à deux moteurs) se trouve sur la position recyclage (fig. 11).

Filtre(s) à charbon actif(s)
L'air est filtré au moyen de filtre(s) à charbon actif(s).
Remplacement:
Mettez à l'arrêt les interrupteurs de fonctionnement et d'éclairage à l'arrêt.
Ouvrez la grille d'aspiration, remplacez le(s) filtre(s) à charbon actif(s) en tournant la poignée de fixation dans le sens contraire des aiguilles d'une montre pour les retirer, et dans le sens des aiguilles d'une montre pour les remonter (fig. 14). Remettez en place la grille d'aspiration.

Conseils d'utilisation
- Le meilleur rendement de l'appareil s'obtient en version évacuation, nous vous conseillons par conséquent d'utiliser l'appareil dans cette version lorsque cela est possible.
- Pour un meilleur rendement, utilisez la vitesse minimale pour de faibles concentrations de fumées et d'odeurs, la vitesse intermédiaire, dans les conditions normales et la vitesse maximale pour de fortes concentrations d'odeurs et de vapeurs.
- Nous vous recommandons de mettre l'appareil en marche avant de procéder à la cuisson et de le laisser fonctionner quelques minutes encore après la cuisson, jusqu'à ce que toute odeur ait disparu.
- Pour que l'appareil fonctionne correctement, les fenêtres de la cuisine doivent rester fermées. Vous pouvez, en revanche, ouvrir une fenêtre dans une pièce adjacente.
ENTRETIEN ET NETTOYAGE

Débranchez l'appareil avant de procéder à l'entretien et au nettoyage de l'appareil.
Un entretien régulier de votre appareil est une garantie de bon fonctionnement, de bon rendement et de durabilité.
La grille d'aspiration
Nettoyez-la une fois par mois environ avec un chiffon, de l'eau chaude et du détergent doux. Rincez-la et séchez-la.
Filtre(s) à graisse métallique(s)
Le filtre métallique est situé à l'intérieur de la grille d'aspiration. Il doit être nettoyé une fois par mois minimum. Utilisez une brosse, de l'eau chaude et un détergent doux. Rincez-le et séchez-le soigneusement avant de le remettre en place.

Pour démonter le(s) filtre(s) à graisse
Ouvrez la grille d'aspiration, retirez les pièces métalliques de blocage du filtre et le filtre à graisse (fig. 13).
Filtre(s) à charbon actif(s)
Remplacez-le(s) régulièrement dès que vous constatez une baisse d'efficacité d'absorption (tous les 4 mois environ dans des conditions normales d'utilisation)

Pour retirer le(s) filtre(s) à charbon actif(s)
Ouvrez la grille d'aspiration, remplacez le(s) filtre(s) à charbon actif(s) en tournant la poignée de fixation dans le sens contraire des aiguilles d'une montre pour les retirer, et dans le sens des aiguilles d'une montre pour les remonter (fig. 14). Refermez la grille d'aspiration.
La carrosserie
Lavez-la à l'eau tiède avec un détergent doux (produit pour la vaisselle par exemple). N'employez jamais de produits abrasifs ou caustiques.

Le non-respect des instructions de nettoyage de l'appareil et des filtres peut occasionner des incendies. Veuillez respecter strictement les consignes d'entretien.
Les ampoules d'éclairage
L'éclairage est constitué par 2 ampoules de 40 W auxquelles on peut accéder en retirant le plafonnier transparent. Si les ampoules ne fonctionnent pas, contrôlez qu'elles soient bien vissées. Si les ampoules sont défectueuses, il faudra les remplacer par des ampoules identiques de même puissance.

| SYMPTOMES | SOLUTIONS |
| La hotte aspirante ne fonctionne pas ... | Vérifiez que :• il n'y a pas de coupure de courant• l'interrupteur Marche/Arrêt est effectivement sur une des positions 1, 2, ou 3. |
| La hotte aspirante a un rendement insuffisant ... | Vérifiez que :• la vitesse moteur sélectionnée est suffisante pour la quantité de fumée et de vapeur dégagée• La cuisine est suffisamment aérée pour permettre une prise d'air.• le filtre à charbon actif n'est pas usagé (hotte en version recyclage)• le tuyau et la sortie de la hotte ne sont pas obstrués (hotte en version aspirante) |
| La hotte aspirante s'est arrêtée au cours du fonctionnement... | Vérifiez que :• il n'y a pas de coupure de courant.• le dispositif à coupure omnipolaire ne s'est pas enclenché. Placez l'interrupteur Marche/Arrêt sur 0. Attendez Remettez l'interrupteur Marche/Arrêt sur 1, 2, ou 3. |
GARANTIE
Conformément à la Législation en vigueur, votre Vendeur est tenu, lors de l'acte d'achat de votre appareil, de vous communiquer par écrit les conditions de garantie et sa mise en oeuvre appliquées sur celui-ci.
Sous son entière initiative et responsabilité, votre Vendeur répondra à toutes vos questions concernant l'achat de votre appareil et les garanties qui y sont attachées. N'hésitez pas à le contacter.
SERVICE APRES-VENTE
En cas d'anomalie de fonctionnement, reportez-vous à la rubrique « EN CAS D'ANOMALIE DE FONCTIONNEMENT ». Si malgré toutes les vérifications une intervention s'avère nécessaire, le vendeur de votre appareil est le premier

Plaque signalétique
En appelant un Service Après Vente, indiquez-lui le modèle, le numéro de produit et le numéro de série de l'appareil. Ces indications figurent sur la plaque signalétique située sur votre appareil.
habilité à intervenir.
A défaut (déménagement de votre part, fermeture du magasin où vous avez effectué l'achat ...), veuillez consulter l'Assistance Technique Consommateurs qui vous communiquera alors l'adresse d'un Service Après Vente.
En cas d'intervention sur votre appareil, exigez du Service Après Vente les Pièces de Rechange certifiées Constructeur.

CARACTERISTIQUES TECHNIQUES
AFT604 AFT624 AFT630
Dimensions Haut.: 129 mm 129 mm 129 mm
Larg.: 598 mm 598 mm 598 mm
Prof. : 450 mm 450 mm 450 mm
Tension secteur 230V - 50Hz 230V - 50Hz 230V - 50Hz
Classe de sécurité électrique Classe II Classe II Classe II
Puissance moteur 1 x 135W 2 x 110W 2 x 135W
Eclairage 2 x 40W
2 x 40W
2 x 40W

Cet appareil est conforme aux Directives Communautaires suivantes:
73/23 CEE 19/02/73 (Basse Tension) et modifications successives
89/336 CEE 03/05/89 (Compatibilité Electromagnétique) et modifications successives.
BRANCHEMENT ELECTRIQUE
- Cet appareil ne peut être branché qu'en 230 V monophasé.
- Vérifiez que la puissance de l'installation est suffisante, et que les lignes sont en bon état et peuvent supporter l'intensité absorbée par l'appareil, compte tenu des autres appareils électriques branchés.
- Dans le cas où l'appareil est relié aux canalisations électriques fixes, un dispositif de séparation omnipolaire ayant une distance d'ouverture des contacts d'au moins 3 mm doit être prévu dans l'installation fixe.
- Le cordon secteur est à 2 conducteurs (double isolation).
NE PAS RACCORDER L'APPAREIL A LA TERRE.
- Si vous disposez d'un socle de prise de courant comportant une mise à la terre, vous pouvez l'utiliser pour le branchement, mais en aucun cas le câble d'alimentation de l'appareil ne devra être relié à la terre.

Notre responsabilité ne saurait être engagée pour tout incident ou accident provoqué par un raccordement électrique non conforme.
INSTALLATION
Assurez-vous que l'appareil, une fois installé, est facilement accessible à un technicien, dans l'éventualité d'une intervention. Une installation incorrecte remet en cause la sécurité de cette hotte.

Toute installation doit être conforme aux réglementations locales concernant l'évacuation d'air vicié.
Installez la hotte à une distance de sécurité
- d'au moins 65 cm d'un plan de cuisson électrique,
- d'au moins 75 cm d'un plan de cuisson gaz ou mixte.
L'appareil peut être installé sur un mur ou sous un meuble de cuisine.
Déballage
Accessoires fournis avec la hotte
1 buse : diamètre 120 mm
1 obturateur
1 gabarit de perçage
Fixation murale
Selon le modèle, la hotte peut être installée de différentes façons.
Fixation avec vis:
À l'aide du gabarit de perçage, percez 2 trous de ∅ 8 mm, insérez les goujons dans les trous, vissez les deux vis 4,2 x 44,4 (fournies avec l'appareil) sans les serrer à fond (laisser 5 mm. de jeu environ), accrochez la hotte aux vis (fig. 1) puis vissez à fond par l'intérieur (fig. 2). Fixez l'équerre de sécurité (fournie avec l'appareil) sur la hotte (fig. 3).

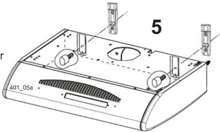
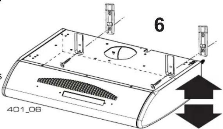
Fixation avec étriers:
A l'aide du gabarit de perçage, percez 4 trous de ∅ 8 mm, fixez les étriers métalliques au moyen des vis et goujons (fournis avec l'appareil), puis accrochez la hotte aux étriers (fig. 4). Fixez la hotte au moyen de deux pommeau (fournies avec l'appareil) (fig. 5). Réglez la mise à niveau horizontale de la hotte en tournant les vis de réglage (fig. 6).
Fixation sous un meuble
Utilisez le gabarit de perçage afin de repérer sur la base du meuble l'emplacement des 4 trous à réaliser. Insérez les 4 vis livrées avec l'appareil (4,2x44,4) par l'intérieur du meuble dans les 4 trous préalablement percés (fig. 7).
Percez un trou au bas et sur le dessus du meuble, si vous avez choisi l'évacuation par le haut, pour le passage du tuyau d'évacuation (utilisation en version évacuation). Il n'est pas nécessaire d'effectuer ce perçage lors de l'utilisation en version recyclage (l'air est recyclé dans la pièce à travers les orifices placés dans la partie avant de la hotte).

text_image
4 401_04
text_image
401_05a 5
text_image
6 401_06
Les fumées sont évacuées à travers le(s) filtre(s) à charbon actif(s).
Puis l'air filtré est ensuite réintroduit dans la pièce à travers les orifices placés dans la partie avant de la hotte.
Version évacuation
La hotte étant livrée en version Recyclage, il est nécessaire de retirer le(s) filtre(s) à charbon actif(s) pouf pouvoir l'utiliser en version Evacuation (voir chapitres Utilisation ou Entretien et nettoyage, pour retirer le(s) filtre(s) à charbon).
Les meilleurs rendements s'obtiennent avec des tuyaux courts et directs. Le tuyau d'évacuation doit être d'un diamètre de 120 mm. Il doit être en matière auto-extinguible. Sa longueur totale ne doit pas excéder :
- 3 mètres, avec un coude
- 2 mètres avec deux coudes
Sur les segments horizontaux, le tuyau doit avoir une légère inclinaison vers le haut (10% environ), afin de faciliter l'évacuation de l'air.

text_image
8 401_08
text_image
9 401_09Utilisation en version évacuation (l'air aspiré est convoyé à l'extérieur de la pièce)
La hotte, équipée de deux ouvertures pour la sortie de l'air, est fournie en série avec un obturateur monté dans l'ouverture arrière. La buse fournie avec la hotte sera montée en fonction de la solution choisie; sortie supérieure (fig. 8), sortie arrière (fig. 9).
Dans le cas d'installation avec sortie arrière, l'obturateur devra être monté dans l'ouverture
supérieure et la buse dans l'ouverture arrière. Raccordez la buse au conduit d'évacuation externe au moyen d'un tuyau ∅ 120 mm. Ouvrez la grille d'aspiration en appuyant sur les boutons vers l'intérieur (fig. 10), contrôlez que le levier (hotte à un moteur) ou l'indicateur de la poignée (hotte à deux moteurs) se trouve sur la position évacuation (fig. 11), retirez le(s) filtre(s) à charbon actif(s) en tournant la poignée dans le sens contraire des aiguilles d'une montre.

Le raccordement peut se faire sur un conduit extérieur. Dans les appartements modernes, seules les gaines de ventilation prévues à cet effet peuvent être employées.

Ne raccordez jamais la hotte à des conduits d'évacuation de fumées utilisés par des appareils fonctionnant avec une source d'énergie autre que l'électricité.
Utilisation en version recyclage (l'air aspiré est filtré et renvoyé à l'intérieur de la pièce).
Ouvrez la grille d'aspiration, contrôlez que le levier (hotte à un moteur) ou l'indicateur de la poignée (hotte à deux moteurs) se trouve sur la position recyclage (fig. 11).

S.A.S au capital de 67 500 000 € - 552 042 285 RCS SENLIS
Dans le souci d'une amélioration constante de nos produits, nous nous réservons le droit d'apporter à leurs caractéristiques toutes modifications liées à l'évolution technique (décret du 24.03.78)
Notice Facile