AR2353D - Réfrigérateur ARTHUR MARTIN ELECTROLUX - Notice d'utilisation et mode d'emploi gratuit
Retrouvez gratuitement la notice de l'appareil AR2353D ARTHUR MARTIN ELECTROLUX au format PDF.
| Caractéristiques techniques | Réfrigérateur Arthur Martin-Electrolux AR2353D, capacité totale de 230 litres, classe énergétique A+, dimensions 55 x 60 x 170 cm. |
|---|---|
| Type de réfrigérateur | Réfrigérateur combiné avec congélateur en bas. |
| Système de refroidissement | Froid statique avec évaporateur ventilé. |
| Consommation énergétique | Consommation annuelle d'environ 250 kWh. |
| Utilisation | Réglage de la température à l'aide d'un thermostat mécanique. |
| Capacité de stockage | Étagères en verre, tiroirs à légumes, compartiment à œufs. |
| Maintenance | Dégivrage manuel recommandé pour le congélateur. |
| Nettoyage | Utiliser un chiffon humide et un détergent doux pour l'intérieur. |
| Sécurité | Équipé d'un système de protection contre les surcharges électriques. |
| Informations générales | Garantie de 2 ans, service après-vente disponible. |
FOIRE AUX QUESTIONS - AR2353D ARTHUR MARTIN ELECTROLUX
Questions des utilisateurs sur AR2353D ARTHUR MARTIN ELECTROLUX
0 question sur cet appareil. Repondez a celles que vous connaissez ou posez la votre.
Poser une nouvelle question sur cet appareil
Téléchargez la notice de votre Réfrigérateur au format PDF gratuitement ! Retrouvez votre notice AR2353D - ARTHUR MARTIN ELECTROLUX et reprennez votre appareil électronique en main. Sur cette page sont publiés tous les documents nécessaires à l'utilisation de votre appareil AR2353D de la marque ARTHUR MARTIN ELECTROLUX.
MODE D'EMPLOI AR2353D ARTHUR MARTIN ELECTROLUX
réfrigérateur- congélateur
AR 2353 D
Nous vous remercions de la confiance que vous nous avez témoignée en choisissant:
ARTHUR MARTIN

Electrolux
Nous savons que vous attendez de cet appareil qu'il vous apporte pleinement satisfaction en termes d'efficacité, fiabilité, facilité d'utilisation.
C'est en fonction de ces exigences qu'il a été conçu avec le plus grand soin, la plus grande attention.
Son utilisation est très simple. Cependant, nous vous recommandons de lire attentivement cette notice. Bien connaître votre nouvel appareil, c'est non seulement éviter au départ une erreur de manipulation susceptible de l'endommager, mais c'est aussi vous familiariser avec toutes les possibilités qu'il vous offre.
Nous souhaitons que la satisfaction que vous aurez dans son utilisation vous amène à nous choisir pour d'autres appareils de notre marque.
A bientôt et encore merci.
SOMMAIRE
Avertissements et conseils importants....Page 4
Raccordement électrique....Page 5
Fixation des entretoises arrière....Page 5
Réversibilité des portes....Page 6
Utilisation....Page 7
Mise en service....Page 7
Le thermostat....Page 7
Emplacement des denrées....Page 8
Compartiment réfrigérateur....Page 8
Nos conseils....Page 8
Éléments modulables....Page 9
Balconnets....Page 9
Compartiment congélateur....Page 9
Comment congel er ....Page 9
Conservation des produits surgelés et congelés du commerce. . . . . . . . . . . . . . . . . . . . . . . . . . . . . . . . . . . . . . . . . . . . . . . . . . . . . . . . . . . . . . . . . . . . . 10
Fabrication des glaçons....Page 10
Guide de congélation . . . . . . . . . . . . . . . . . . . . . . . . . . . . . . . . . . . . . . . . . . . . . . . . . . . . . . . . . . . . . . . . . . . . . . . . . . . . . . . . . . . . . . . . . . . . . . . . . . Page 10
Préparer et emballer les aliments. . . . . . . . . . . . . . . . . . . . . . . . . . . . . . . . . . . . . . . . . . . . . . . . . . . . . . . . . . . . . . . . . . . . . . . . . . . . . . . . . . . . . . . . . . Page 10
Comment décongeler. . . . . . . . . . . . . . . . . . . . . . . . . . . . . . . . . . . . . . . . . . . . . . . . . . . . . . . . . . . . . . . . . . . . . . . . . . . . . . . . . . . . . . . . . . . . . . . . . . . . Page 11
Conseils de préparation pour la congélation et décongélation . . . . . . . . . . . . . . . . . . . . . . . . . . . . . . . . . . . . . . . . . . . . . . . . . . . . . . . . . . . . . . . . . . . . . . 12
Entretien . . . . . . . . . . . . . . . . . . . . . . . . . . . . . . . . . . . . . . . . . . . . . . . . . . . . . . . . . . . . . . . . . . . . . . . . . . . . . . . . . . . . . . . . . . . . . . . . . . . . Page 18
Dégivrage. . . . . . . . . . . . . . . . . . . . . . . . . . . . . . . . . . . . . . . . . . . . . . . . . . . . . . . . . . . . . . . . . . . . . . . . . . . . . . . . . . . . . . . . . . . . . . . . . . . . .
Nettoyage. . . . . . . . . . . . . . . . . . . . . . . . . . . . . . . . . . . . . . . . . . . . . . . . . . . . . . . . . . . . . . . . . . . . . . . . . . . . . . . . . . . . . . . . . . . . . . . . . . . Page 19
Remplacement de l'ampoule . . . . . . . . . . . . . . . . . . . . . . . . . . . . . . . . . . . . . . . . . . . . . . . . . . . . . . . . . . . . . . . . . . . . . . . . . . . . . . . . . . . . . . . . . . . . . . . . . . 19
En cas d'absence prolongée ou de non-utilisation....Page 19
En cas d'anomalie de fonctionnement . . . . . . . . . . . . . . . . . . . . . . . . . . . . . . . . . . . . . . . . . . . . . . . . . . . . . . . . . . . . . . . . . . . . . . . . . . . . . . . . . . . . . . . . . Page 20
AVERTISSEMENTS ET CONSEILS IMPORTANTS
POUR REFRIGERATEURS, REFRIGERATEURS-CONGELATEURS ET CONGELATEURS
Il est très important que cette notice d'utilisation soit conservée avec l'appareil pour toute future consultation. Si cet appareil devait être vendu ou transféré à une autre personne, assurez-vous que la notice d'utilisation suive l'appareil de façon à ce que l'utilisateur puisse être informé du fonctionnement de celui-ci et des avertissements s'y rapportant.
Ces avertissements sont donnés pour votre sécurité et pour celle d'autrui. Nous vous prions donc de bien vouloir les lire attentivement avant d'installer et d'utiliser l'appareil.
- Cet appareil a été conçu pour être utilisé par des adultes. Veillez donc à ce que les enfants n'y touchent pas ou qu'ils ne l'utilisent pas comme un jouet.
- Il est dangereux de modifier ou d'essayer de modifier les caractéristiques de cet appareil.
■ Si vous vous débarrassez de votre appareil, veillez à ne pas détériorer les circuits frigorifiques.
■ Assurez-vous, après avoir installé l'appareil, que celui-ci ne repose pas sur le câble d'alimentation.
- Les réfrigérateurs et/ou congélateurs ménagers sont destinés uniquement à la conservation et/ou congélation des aliments.
■ Un produit décongelé ne doit jamais être recongelé.
■ Suivez les indications du fabricant pour la conservation et/ou congélation des aliments.
- L'appareil se réchauffe sensiblement au niveau du condenseur et du compresseur. Veillez à ce que l'air circule librement tout autour de l'appareil. Une ventilation insuffisante entraînerait un mauvais fonctionnement et des dommages sur l'appareil.
■ Suivez les instructions données pour l'installation.
- Débranchez toujours la prise de courant avant de procéder au nettoyage intérieur et extérieur de l'appareil et au remplacement de l'ampoule d'éclairage (pour les modèles qui en sont équipés).
■ Après la livraison attendez 2 heures avant de brancher l'appareil pour que le circuit frigorifique soit stabilisé.
■ Dans tous les appareils de réfrigération et congélation il y a des surfaces qui se couvrent de givre. Suivant le modèle, ce givre peut être éliminé automatiquement (dégivrage automatique) ou bien manuellement.
■ N'essayez jamais d'enlever le givre avec un objet métallique, vous risqueriez d'endommager irrémédiablement l'évaporateur.
N'employez pour cela qu'une spatule en plastique. De même, ne décollez jamais les bacs à glaçons avec un couteau ou tout autre objet tranchant.
■ Ne placez ni bouteilles, ni boîtes de boissons gazeuses dans le congélateur/compartiment à basse température, elles pourraient exploser.
- Ne consommez pas certains produits tels que les bâtonnets glacés dès leur sortie de l'appareil; la température très basse à laquelle ils se trouvent peut provoquer des brûlures.
- Cet appareil est lourd. Faites attention lors de son déplacement.
- Cet appareil est muni de fermetures magnétiques. S'il remplace un appareil équipé d'une fermeture à ressort, nous vous conseillons de rendre celle-ci inutilisable avant de vous en débarrasser, ceci afin d'éviter aux enfants de s'enfermer dans l'appareil et de mettre ain-
si leur vie en danger. Veillez également à couper le câble d'alimentation électrique au ras de l'appareil.
Protection de l'environnement
Tous les matériaux marqués par le symbole sont recyclables. Pour qu'ils puissent être récupérés (recyclés), il est nécessaire de les déposer dans les déchetteries prévues à cet effet (renseignez-vous auprès des autorités locales).
■ Le système frigorifique et l'isolation de votre appareil ne contiennent pas de C.F.C., contribuant ainsi à préserver l'environnement.
STOCKAGE DES DENREES DANS LES REFRIGERATEURS ET REGLES D'HYGIEN NE ALIMENTAIRE
La consommation croissante de plats préparés et d'autres aliments fragiles, sensibles en particulier au non-respect de la chaîne du froid ^1 , rend nécessaire une meilleure maîtrise de la température de transport et de stockage de ces produits.
A la maison, le bon usage du réfrigérateur et le respect de règles d'hygiène rigoureuses contribueront de façon significative et efficace à l'amélioration de la conservation des aliments.
MAITRISE DE LA TEMPERATURE
- Stocker les aliments les plus sensibles dans la zone la plus froide de l'appareil, conformément aux indications figurant dans cette notice.
- Attendre le complet refroidissement des préparations avant de les stocker (ex: soupe).
- Limiter le nombre d'ouvertures de la porte.
- Positionner la commande de réglage du thermostat de façon à obtenir une température plus basse. Ce réglage doit se faire progressivement afin de ne pas provoquer le gel des denrées.
- La mesure de la température d'une zone, clayette par exemple, peut se faire au moyen d'un thermomètre placé, dès le départ, dans un récipient rempli d'eau (verre). Pour être fidèle et représentative de ce qui se passe à l'intérieur de l'appareil, la lecture de la température doit être faite après quelques heures de stabilisation de l'ensemble, par exemple le matin à la première ouverture de la porte.
RESPECT DES REGLES D'HYGIENE ALIMENTAIRE
- Retirer les emballages du commerce avant de placer les aliments dans le réfrigérateur (exemple: emballage des packs de yaourts).
- Emballer systématiquement la nourriture pour éviter que les denrées ne se contaminent mutuellement.
- Disposer les aliments de telle sorte que l'air puisse circuler librement tout autour.
- Consulter la notice d'utilisation de l'appareil en toutes circonstances et en particulier pour les conseils d'entretien.
- Nettoyer fréquemment l'intérieur du réfrigérateur en utilisant un produit d'entretien sans effet oxydant sur les parties métalliques.
Emplacement
Placez de préférence votre appareil loin d'une source de chaleur (chauffage, cuisson ou rayons solaires trop intenses).
Veillez à ce que l'air circule librement tout autour de l'appareil (Fig. 1-B).
Si toutefois vous désirez placer l'appareil dans une niche ou directement sous un élément, il est indispensable de laisser un espace de 100 mm entre le dessus de l'appareil et l'élément supérieur (Fig. 1-A).
Calez soigneusement l'appareil en agissant sur les pieds réglables, de telle sorte qu'il soit légèrement incliné vers l'arrière pour faciliter la fermeture des portes.
Pour le bon fonctionnement de votre appareil, la température ambiante du local doit être comprise entre +18°C et +38°C. Au-delà de ces températures, ses performances peuvent s'en trouver diminuées.

text_image
100 mm min. A D042 BFig. 1
Raccordement électrique
Votre appareil est prévu pour fonctionner sur un courant 220-230V monophasé.
Utilisez pour le branchement électrique un socle de prise de courant de 10/16 ampères comportant une borne de mise à la terre, laquelle sera raccordée conformément à la Norme NF-C 15.100 et aux prescriptions de l'E.D.F.
Notre responsabilité ne saurait être engagée pour tout incident ou accident provoqué par une mise à la terre inexistante ou défectueuse.
Appareil conforme à la directive CEE 89-336 relative à la limitation des perturbations radio-électriques et à la directive CEE 73-23 relative à la sécurité électrique.
CE Cet appareil est conforme aux Directives Communautaires suivantes:
- 73/23 CEE 19/02/73 (Basse Tension) et modifications successives;
- 89/336 CEE 03/05/89 (Compatibilité Electromagnétique) et modifications successives.
Fixation des entretoises arrière
Pour éviter que le condenseur ne touche le mur, vous devez fixer les 2 entretoises jointes à la notice d'utilisation dans les deux coins supérieurs.
Pour cela:
Desserrez les vis et introduisez les entretoises sous la tête de vis, puis resserrez.

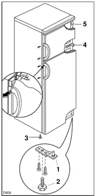
Réversibilité des portes
Débranchez l'appareil avant d'effectuer les opérations ci-dessous:
Enlevez la charnière inférieure (1), et le pied (2).
Dévissez le pied (3) antérieur gauche et vissez-le sur l'autre côté.
Dégagez la porte inférieure de la charnière du milieu (4).
Otez la charnière du milieu et dégagez la porte supérieure du pivot (5), dévissez ce dernier et vissez-le sur le côté opposé.
Remontez la porte supérieure, la charnière du milieu et la porte inférieure.
Remontez la charnière inférieure (1) et le pied (2) sur le côté opposé.
Après avoir ôté les cache-vis, dévissez les poignées et vissez-les sur l'autre côté de la porte.
Les trous pour la fixation sont déjà prévus. Ils sont masqués par des caches que vous placerez sur les trous restés libres.
Attention
La réversibilité des portes une fois effectuée, contrôlez que les joints magnétiques adhèrent à la carrosserie. Si la température à l'intérieur de la pièce est trop basse (en hiver, par exemple), il se peut que les joints n'adhèrent pas parfaitement.
Dans ce cas, si on ne veut pas attendre que les joints reprennent leurs dimensions naturelles après un certain temps, on pourra accélérer ce processus en chauffant la partie intéressée à l'aide d'un sèche-cheveux.

text_image
5 4 3 1 2 D608Fig. 3
Mise en service
Votre appareil étant installé, prenez la précaution de nettoyer l'intérieur avec de l'eau tiède et un savon inodore (produit utilisé pour la vaisselle).
Rincez et séchez soigneusement.
Attendez 2 heures avant de brancher votre appareil et de procéder au réglage du thermostat.
Le thermostat
Il commande:
- La mise en marche et l'arrêt de l'appareil.
Le repère «O» correspond à la position “arrêt” des deux compartiments. - Le réglage de la température à l'intérieur des deux compartiments.
Le repère 6 correspond à la position la plus froide.
Les repères de 1 à 6 étant des repères directionnels, nous vous conseillons lors de la mise en service d'effectuer un premier réglage sur la position 3 ou 4 en tenant compte des remarques ci-dessous; ensuite, seule votre expérience vous permettra de déterminer la position convenant le mieux.
Après le chargement de l'appareil et à chaque modification du thermostat, attendez la stabilisation de la température à l'intérieur de l'appareil pour procéder, si nécessaire, à un nouveau réglage. Ne modifiez la position du thermostat que d'un repère à la fois.
La température à l'intérieur de l'appareil est fonction de plusieurs facteurs, tels que la température ambiante, la quantité de denrées stockées, la fréquence d'ouverture des portes, etc... Ces facteurs doivent être pris en considération lors du réglage du thermostat.
A la mise en service de l'appareil ou après un arrêt prolongé
Nous vous conseillons de placer le thermostat sur la position 6 pendant 2 heures environ avant d'introduire les produits surgelés ou congelés dans le compartiment congélateur.
Ramenez ensuite le thermostat sur la position d'utilisation normale 3 ou 4.
Remarque: Si l'évaporateur (paroi postérieure à l'intérieur du réfrigérateur) se couvre anormalement de givre (appareil trop chargé, température ambiante élevée, thermostat sur une position élevée, ouvertures fréquentes de la porte), ramenez progressivement la manette du thermostat sur une position inférieure jusqu'à obtenir de nouveau des périodes d'arrêt du compresseur. En effet, pour que le dégivrage du compartiment réfrigérateur se fasse automatiquement, le compresseur doit obligatoirement s'arrêter par intermittence.
Emplacement des denrées
Vous obtiendrez une meilleure conservation de vos aliments si vous les placez dans la zone de froid convenant le mieux à leur nature. La zone la plus froide du compartiment réfrigérateur est située au niveau de la clayette inférieure en verre.
| Emplacements Produits | |
| Compartiment congélateur | Bacs à glaçons, produits surgelés et congelés, desserts glacés, produits frais à congeler. |
| Compartiment réfrigérateur:Clayettes supérieure et centrales | Aliments cuits, entremets et toutes denrées à consommer assez rapide-ment.Fromages frais, charcuterie. |
| Clayette inférieure en verre Viande, volaille, gibier et poissons crus.Temps maximum de conservation: 1 à 2 jours | |
| Bac(s) à légumes Légumes frais, fruits. | |
| Contre-porte Les balconnets recevront, en bas, les bouteilles, puis en remontant les pro-duits de faible volume et d’emploi courant (crème, yaourts...). Le beurre, les fromages cuits et les oeufs trouveront leur place dans les casiers ou étagè-res appropriés. | |
Remarques: Les bananes, les pommes de terre, l'ail et les oignons ne se conservent pas au réfrigérateur.
Les fromages fermentés ne seront mis au réfrigérateur que si l'on désire arrêter leur maturation. Ils devront alors être soigneusement enveloppés.
Compartiment réfrigérateur
Nos conseils
N'entreposez que des aliments frais, nettoyés et enfermés dans des emballages ou récipients appropriés de qualité alimentaire (il en existe de nombreux modèles dans le commerce).
- Respectez les conseils pour le stockage des denrées, et les règles d'hygiène alimentaire donnés au paragraphe "Avertissements et conseils importants".
■ Ne couvrez jamais les clayettes de papier ou de feuilles en plastique.
Eléments modulables
Clayettes
Les glissières se trouvant sur les parois de la cuve permettent de positionner les clayettes à différentes hauteurs (Fig. 4).

Il est possible de modifier la position des balconnets dans la contre-porte selon vos besoins et le volume des denrées à stocker.
Pour les enlever poussez-les vers le haut (Fig. 5).

Compartiment congélateur
Comment congeler
Votre appareil porte le sigle normalisé 4 étoiles c'est-à-dire qu'il vous permet de congeler vous-même des denrées fraîches et des plats cuisinés.
Pour cela, il n'est pas nécessaire de régler le thermostat sur une position différente de celle employée en fonctionnement normal.
Toutefois, si vous désirez congeler plus rapidement, vous pouvez régler le thermostat sur un chiffre plus élevé tout en veillant à ce que la température ne descendé pas en dessous de 0°C dans le compartiment réfrigérateur.
A la mise en service de l'appareil ou après un dégivrage, nous vous conseillons d'attendre 2 heures avant d'introduire les produits frais dans le compartiment congélateur.
Si l'appareil est déjà en fonctionnement, ce délai n'est pas nécessaire.
Placez les aliments à congeler dans la partie supérieure du compartiment congélateur.
Attention: Pour obtenir les meilleurs résultats vous devez tenir compte du pouvoir de congélation de votre appareil, c'est-à-dire de la quantité maximale de denrées que vous pouvez congeler par 24 heures.
Le pouvoir de congélation de votre appareil est de 3,5 kg/24 heures.
Conservation des produits surgelés et congelés du commerce
Pour une bonne conservation des produits surgelés et congelés, la température à l'intérieur du compartiment congélateur doit être maintenue égale ou inférieure à -18°C.
Assurez-vous que l'emballage est intact et qu'il ne présente aucune trace d'humidité, signe d'un début de décongélation.
Prévoyez un minimum de temps pour leur transport du centre d'achats à votre domicile. Utilisez des sacs isothermes.
Repérez la date de fabrication du produit, et respectez la durée de conservation indiquée par le fabricant.
Evitez d'ouvrir trop souvent la porte du compartiment congélateur et ne la laissez ouverte que le temps nécessaire. Une augmentation de la température peut réduire sensiblement la durée de conservation des aliments.
Ne consommez pas certains produits tels que les bâtonnets glacés dès leur sortie du compartiment congélateur, la température très basse à laquelle ils se trouvent peut provoquer des brûlures.
Un produit décongelé doit être consommé dans les plus brefs délais et ne jamais être recongelé, sauf s'il a été cuit entre-temps.
Fabrication des glaçons
La fabrication des glaçons s'effectue dans le compartiment congélateur.
Remplissez le bac jusqu'aux trois-quarts de sa hauteur, de manière à permettre l'expansion de la glace.
Si votre eau est particulièrement riche en sels minéraux (calcaire notamment), remplissez votre bac avec de l'eau minérale non gazeuse.
Le bac en matière plastique vous assure un démoulage plus facile.
Si toutefois vous désirez obtenir des glaçons plus rapidement, nous vous conseillons d'utiliser des bacs métalliques que vous trouverez dans le commerce.
Démoulage des glaçons
Le démoulage des bacs en matière plastique s'obtient par simple torsion.
Si vous utilisez des bacs métalliques, passez-les sous l'eau froide pour en faciliter le démoulage.
Ne décollez jamais les bacs à glaçons avec un couteau ou tout autre objet tranchant, vous risqueriez de détériorer irrémédiablement l'évaporateur.
Préparez et emballez les aliments et congelez-les rapidement
Préparer
Les denrées congelées doivent conserver toutes leurs qualités d'origine. Pour cela, vous les préparerez comme si elles devaient être consommées immédiatement.
Les fruits et les légumes seront épluchés, nettoyés et blanchis si nécessaire, les volailles et les poissons, vîdés et nettoyés, les viandes dégraissées (voir paragraphes correspondants).
Chaque paquet doit être proportionné à l'importance de la consommation familiale de manière à être utilisé en une seule fois.
Des paquets de petites dimensions permettent d'obtenir une congélation rapide et uniforme.
Emballer
Avant de mettre les aliments dans le congélateur, ils doivent être soigneusement et hermétiquement emballés de manière à éviter le dessèchement, l'oxydation et le transfert des odeurs.
Selon la nature des produits, vous choisirez l'emballage qui offre le meilleur contact entre l'aliment et les surfaces froides. Quel que soit le type d'emballage.
Il doit être:
- de qualité alimentaire
- inodore
- spécial congélation, c'est à dire résistant aux très basses températures
- imperméable à l'eau et à l'air.
Il doit pouvoir:
- être employé de telle sorte que l'air en soit éliminé aussi complètement que possible
- être clos de façon hermétique.
Quel emballage choisir
Les récipients:
Rigides ou semi-rigides, ils conviennent aux fruits délicats, compotes et plats cuisinés.
Les boîtes en matière plastique:
Munies d'un couvercle assurant une fermeture hermétique, elles conviennent particulièrement à la congélation.
Carrées ou rectangulaires, elles offrent un contact étroit avec les parois froides de l'appareil et permettent un rangement rationnel.
Elles sont réutilisables.
Les barquettes d'aluminium:
Il en existe de différentes formes et contenances. Leur couvercle aisé à mettre en place assure généralement une bonne étanchéité.
Ces barquettes sont souvent réutilisables après avoir été bien nettoyées et ébouillantées.
Les barquettes et gobelets en carton paraffiné:
s'emploient comme les barquettes en aluminium mais ne peuvent recevoir d'aliments chauds et ne sont pas réutilisables.
Remarque: En congélant, les produits augmentent de volume; ne remplissez pas complètement les récipients.
Les sachets:
Vous utiliserez de la même façon les gaines vendues en rouleau; elles permettent de réaliser des sachets à la demande en soudant l'une des extrémités à l'aide d'un appareil à thermosceller ou tout simplement en utilisant un fer à repasser.
Peu encombrants, en polyéthylène ou en rilsan, ils sont pratiques car ils épousent bien la forme des aliments. De différentes capacités, ils constituent l'emballage idéal des volailles et légumes peu fragiles.
Après avoir chassé l'air, ils sont fermés par un lien ou thermoscellés.
Certains sachets de qualité “à bouillir” offrent l’avantage supplémentaire de pouvoir être immergés dans l’eau bouillante pour en réchauffer le contenu. Les sachets ne sont pas réutilisables.
Les feuilles:
Comme les sachets, elles permettent d'obtenir des paquets qui épousent parfaitement la forme des aliments.
L'aluminium, le polyéthylène, le rilsan ou les films adhésifs peuvent être indifféremment employés à condition de toujours choisir la qualité "spécial congélation". Les paquets sont fermés par un double pliage dans chaque sens et maintenus par un ruban adhésif.
Les feuilles sont aussi utiles pour séparer les petites pièces de viande ou les tranches de poisson par exemple.
Les accessoires complémentaires
Ce sont principalement:
- des liens à armature métallique pour fermer sacs et sachets
- des rubans adhésifs résistant aux basses températures et pouvant recevoir des inscriptions. Liens et rubans se vendent au rouleau.
- des étiquettes autocollantes pour congélation et des marqueurs indélébiles pour identifier les emballages.
L'étiquetage
L'identification des emballages est de première importance; elle doit indiquer la nature de l'aliment, le poids, la quantité ou le nombre de parts, la date de congélation et éventuellement la date limite d'utilisation (voir paragraphes "durée de conservation en mois").
La durée de conservation varie selon la nature des aliments. Il est indispensable de tenir à jour un inventaire des denrées congelées afin de les consommer dans un ordre correct.
Comment décongeler
La décongélation est une phase très importante car c'est souvent d'une décongélation mal menée que viennent toutes les déceptions.
Chaque aliment, selon sa nature, sa forme ou simplement la recette prévue, demande que l'on choisisse la méthode de décongélation la mieux adaptée.
En règle générale, sachez que la plus mauvaise des méthodes est la décongélation à l'air ambiante, favorable au développement microbien. La meilleure étant, chaque fois que cela est possible, "la décongélation cuisson", qui de plus apporte un gain de temps certain.
Ne recongelez jamais un aliment décongelé, sauf un aliment cru qui aura été cuit entre-temps.
Décongélation et cuisson simultanées
Tous les produits à consommer cuits, s'ils ne sont pas trop volumineux peuvent être cuits sans décongélation préalable:
Les légumes dans l'eau bouillante, les poissons dans la friture ou au court bouillon, les viandes à rôtir dans la cocotte ou au four, les petites pièces directement sur le gril ou dans la poêle.
La seule précaution à prendre pour les viandes et les poissons est de les cuire à plus faible température et d'augmenter le temps de cuisson de 50% environ.
Pour les pièces volumineuses (grosses volailles par ex.), il est préférable de les décongeler au moins partiellement au réfrigérateur ou mieux au four à microondes avant de procéder à leur cuisson.
Décongélation au réfrigérateur
Ce procédé, conseillé pour les pièces de viande ou les volailles volumineuses, convient aussi à la décongélation des produits à consommer crus, tels que les fruits, le beurre...
Selon la nature et l'épaisseur des produits, la durée de décongélation peut varier de 2 à 20 heures. Dans ce cas vous laisserez le produit dans son emballage de congélation.
Décongélation aux micro-ondes
On ne peut aujourd'hui parler de décongélation sans évoquer le four à micro-ondes. Il est indéniablement le complément idéal du congélateur.
La décongélation aux micro-ondes est très rapide, ce qui offre le double avantage d'éviter la contamination microbienne et de permettre l'utilisation quasi immédiate des produits congelés.
Par exemple: un poulet de 1 kg demande environ 15 heures pour être décongelé dans un réfrigérateur et seulement 20 minutes dans un four à micro-ondes.
CONSEILS DE PREPARATION
Pour la congélation et décongélation
FRUITS
Il convient d'être particulièrement vigilant pour la con-gélation des fruits car ils sont délicats.
Fruits qui noircissent
- Solution 1
- La couleur des poires, pommes et pêches s'altère très vite lorsqu'on les épluche, les coupe ou les dénoyaute.
- Pelez et coupez les fruits. Dénoyautez-les si nécessaire.
- Remplissez un récipient d'eau + 1 jus de citron.
- Mettez-y les fruits lorsqu'il sont pelés et coupés.
- Préparez-les ensuite avec une solution d'eau sucrée + 2 jus de citron pour un litre d'eau ou un sirop (voir solution 4).
Fruits au sucre cristallisé
- Solution 2
- Mettez les fruits lavés dans un plat. Ils doivent rester mouillés.
- Saupoudrez de sucre (1 volume de sucre pour 3 volumes de fruits) 300 gr/kg fruits.
- Retournez les fruits avec beaucoup de précautions pour une bonne répartition du sucre.
- Congelez ensuite les fruits saupoudrés de sucre.
Solution d'eau sucrés
- Solution 3
- Délayez 650 gr de sucre dans un litre d'eau (solution à 40%).
- Mettez les fruits dans des boîtes, gobelets, saladiers "spécial congélation".
- Recouvrez complètement de cette solution qui doit être aussi froide que possible.
- Mettez à congeler (fruits au sirop).
Fruits au sirop
- Solution 4
- Faites dissoudre 800 gr de sucre dans 1/2 l d'eau pour obtenir environ 1 litre de sirop.
- Portez à ébullition.
- Ajoutez-y 1 jus de citron (par litre de sirop) et versez sur les fruits.
- Laissez refroidir et congelez l'ensemble "fruits au sirop".
Décongélation
La décongélation des fruits doit s'effectuer au réfrigérateur (ou au four à micro-ondes pour la préparation des comptes).
ABRICOTS
- bien mûrs - fermes - frais
Lavez-les et coupez-les en 2. Dénoyautez-les. Pelez-les. Placez-les dans un saladier et arrosez-les d'un jus de citron.
Congelez-les en les préparant avec les solutions 3 ou 4.
- Si vous ne pelez pas les abricots, trempez-les pendant 1/2 heure dans l'eau bouillante afin que la peau se ramolisse pendant la congélation. Faites-les ensuite refroidir.
- Meilleur résultat avec la solution d'eau sucrée.
CERISES
- mûres à point - fermes - non écrasées
Triez-les, lavez-les, équeutez-les et dénoyautez-les.
Congelez-les nature ou avec la solution 2 étalées sur un plateau* ou préparez-les avec la solution 3 ou 4.
- Utilisez-les nature, pour la préparation de tartes et saupoudrez les cerises de sucre vanillé après cuisson.
FRAISES
- petites ou moyennes - fermes - très parfumées
-
fraîches - non écrasées - cueillies du jour
Lavez-les. Faites les égoutter avec précaution pour ne pas les endommager.
Otez-leur le pédoncule. Congelez-les nature ou avec la solution 2, étalées sur un plateau*. -
Utilisez-les à l'état surgelé comme garniture de gâteaux ou tartes.
- Décongelez lentement au réfrigérateur.
- Les fraises décongelées sont très fragiles. Utilisezles avec précaution.
FRAMBOISES
- fermes - mûres à point - bien parfumées - non écrasées - fraîches - bien colorées - cueillies du jour Lavez-les avec beaucoup de précaution. Equeutez-les et égouttez-les sur une feuille de papier absorbant. Pour les tartes, congelez-les posées côte à côte sur un plateau puis rangez-les.
Pour les Charlottes et les entremets, saupoudrez-les de sucre + 1 jus de citron, posées côte à côte sur un plateau*.
Très bon résultats. Très bonne qualité après congélation. Comme les fraises, les framboises doivent être cueillies par ciel dégagé, le temps orageux est très néfaste à leur conservation.
GROSEILLES ROUGES, BLANCHES ou CASSIS
- bien mûrs - fermes - non avariés - frais - parfaitement sains
Lavez-les, équeutez-les. Egouttez-les sur un papier absorbant. Congelez-les nature, étalés sur un plateau* ou avec une des préparations à base de sucre (voir solutions 2, 3 ou 4).
- Pour les glaces et les coulis, passez-les en purée. Les cassis et groseilles sont sensibles aux manipulations. Il faut les cueillir avec précaution et avant que le soleil ne commence à chauffer.
MELONS
- à point - très parfumés - fermes - taille moyenne
- Entiers: Détachez un couvercle de 10 cm de diamètre. Sortez les pépins à l'aide d'une cuillère. Rincez l'intérieur. Remplissez le fruit de la solution 3. Remettez le couvercle et emballez dans du papier cellophane.
- En morceaux ou en quartiers Coupez le melon en quartiers. Sortez les pépins. Epluchez les quartiers. Congelez avec la solution 3.
- En général, les melons gardent toute leur saveur et tout leur arôme après congélation.
MÛRES ET MYRTILLES
- bien noires - mûres à point - fermes
Triez-les, lavez-les et équeutez-les. Egouttez-les délicatement. Congelez-les nature, étalées sur un plateau* ou avec une des préparations à base de sucre (solutions 2, 3 ou 4).
- Légèrement acidulées, très juteuses, les myrtilles supportent parfaitement bien la congélation.
PÊCHES BLANCHES OU JAUNES
- très parfumées - mûres à point - fermes - lisses
- En quartiers: Lavez-les, pelez-les et coupez-les en quartiers. Congelez-les en les préparant avec la solution 1.
- En purée: Lavez-les, pelez-les et écrasez-les. Sucrez la préparation, mélangez et congelez.
- Vous pèlerez les pêches plus facilement si vous les trempez dans l'eau bouillante. Les pêches supportent mal la congélation. Préférez donc la congélation en purée plutôt qu'en fruit entier.
POIRES
- poires type William - récemment cueillies - non tannées - parfumées - mûres mais fermes - juteuses - non granuleuses
- En quartiers: Lavez-les, pelez-les et coupez-les en quartiers. Congelez-les en les préparant avec la solution 1.
- En purée: Lavez-les, pelez-les et écrasez-les en purée.
- Vous pèlerez les poires plus facilement si vous les trempez dans l'eau bouillante. Les poires supportent mal la congélation. Préférez donc la congélation en purée plutôt qu'en fruit entier.
POMMES
- reinettes - toutes sortes de pommes
- En compote: Lavez-les et épluchez-les. Cuisez-les. Ecrasez-les en compote. Laissez refroidir et congelez.
- Remarques identiques à celles des poires. Procédez de la même façon pour congeler de la compote de toutes sortes de fruits.
PRUNES
- reines Claudes, Questches etc... - mûres - fermes - fraîchement cueillies
Lavez-les, pelez-les et coupez-les en 2. Dénoyautez-les. Mettez-les au fur et à mesure dans la solution 1.
- Si vous ne pelez pas les prunes, elles seront dures. Les prunes gardent toutes leurs qualités après avoir été congelées.
RHUBARBE
- fraîche - tendre - peu fibreuse
Lavez-la, ôtez les fils et épluchez légèrement. Coupez-la en tronçons. Congelez-la nature ou avec les solutions 2 ou 3.
- Utilisez-la directement sur une tarte, un gâteau ou cuisez-la en compote.
Décongélation
La décongélation des fruits doit s'effectuer au réfrigérateur (ou au four à micro-ondes pour la préparation des comptes).
Durée de conservation en mois
Abricots 8
Cassis 10
Cerises 8 à 10
Fraises 8 à 10
Framboises 8 à 10
Groseilles 10
Melons 8
Mûres 10
Myrtilles 10
Pêches 6 à 8
Poires 8 à 10
Pommes 8 à 10
Prunes 8 à 10
Rhubarbe 10
LEGUMES
BLANCHIMENT
Il consiste à ébouillanter les légumes pendant quelques instants et à refroidir aussitôt à l'eau froide.
- à l'eau:
Portez l'eau à ébullition.
Immergez les légumes en totalité dans l'eau bouillante (500 gr pour 3 à 4 litres d'eau. La même eau pouvant être utilisée 6 à 7 fois).
Couvrez.
- à la vapeur:
Prenez une marmite à pression.
Mettez les légumes dans le panier en métal.
Remplissez la marmite d'eau (reportez-vous aux instructions de la notice d'utilisation de ce récipient) et portez-la à ébullition.
Suspendez le panier afin qu'il ne trempe pas dans l'eau.
Mettez la marmite sous pression.
Refroidissement
Très vite après le blanchiment, plongez les légumes dans un bain d'eau froide.
Laissez éventuellement couler l'eau dans ce bain de manière à maintenir la température la plus basse (possibilité d'utiliser de la glace).
Faites égoutter les légumes quelques minutes.
Emballez-les et congelez-les.
ASPERGES
- fraîches - très tendres
Lavez-les soigneusement. Pelez-les et coupez les grosses en deux (sens de la longueur).
Blanchissez-les à l'eau ou à la vapeur,
- 3 min. à l'ébullition
- 4 min. à la vapeur
Refroidissez à l'eau courante. Laissez égoutter. Emballez.
- Les résultats sont très inégaux selon que les asperges sortent de terre ou ont déjà quelques heures.
CAROTTES
- jeunes carottes - forme régulière
Epluchez-les ou grattez-les si elles sont petites. Coupez-les si vous le jugez nécessaire. Blanchissez-les 3 min. à l'eau bouillante. Laissez égoutter et refroidir. Emballez.
CHAMPIGNONS (Paris-Cèpes-Girolles)
- petits - fermes - sains - propres - fraîchement cueillis - chapeaux pas trop ouverts
Préparez-les et lavez-les. Faites-les revenir dans une poêle pour éliminer leur eau de végétation. Ajoutez une cuillère d'huile. Egouttez-les. Emballez.
- Pour les cèpes, s'ils sont très jeunes et très petits, congelez-les tels quels sur une feuille à pâtisserie et ensuite emballez-les.
CHOUX-FLEURS
– très blancs – bien fermes – serrés – non épanouis
- Entier: Enlevez les feuilles et une partie du pied. Mettez-le 1/2 heure dans l'eau froide salée (pied vers le haut). Blanchissez 5 min dans l'eau bouillante. Refroidissez-le 5 min. à l'eau courante. Laissez égoutter et emballez.
- En morceaux: Otez les feuilles et une partie du pied. Détachez les petits bouquets en taille égale. Lavez-les. Blanchissez-les 2 min dans l'eau bouillante. Refroidissez à l'eau courante. Laissez égoutter et emballez.
- Le résultat est excellent. Les choux-fleurs perdent une partie de leur goût fort.
CHOUX VERTS
- tendres - coeur blanc
Epluchez-les: Otez les côtes. Blanchissez-les 2 min. à l'eau bouillante. Egouttez.
- Ils sont surtout utilisés pour les potées, choux braisés, farcis, saucisses au choux etc...
ENDIVES
- bien blanchies - non épanouies - bien fermes
Nettoyez-les et lavez-les. Coupez-les en morceaux de 1 à 2 cm de long. Blanchissez-les à l'eau bouillante pendant 3 min. Remuez-les pour qu'elles soient bien immergées. Refroidissez-les à l'eau courante. Laissez égoutter. Emballez.
- Il est possible de ne pas les blanchir et, par contre de les braiser directement sans autre manipulation.
EPINARDS
- frais - tendres - petites feuilles - petites queues - juteux
Otez les queues. Lavez les feuilles. Blanchissez-les à l'eau bouillante pendant 1 min. Remuez pendant la cuisson pour séparer les feuilles. Refroidissez-les à l'eau courante. Laissez égoutter. Emballez.
- Evitez les épinards de grandes tailles (mauvais résultats).
HARICOTS VERTS ET HARICOTS BEURRE
- fins - charnus - grains non formés - très verts ou beurre - sans taches
Effilez-les et cassez-les en deux ou trois morceaux. Lavez-les. Blanchissez-les dans l'eau bouillante pendant 4 min ou à la vapeur pendant 5 min. Refroidissez-les à l'eau courante. Laissez-les égoutter et emballez.
- Il est nécessaire de les réhydrater.
HERBES AROMATIQUES
- persil, estragon, cerfeuil, menthe, fines herbes, ciboulette - bien vertes - fraîches - feuilles tendres Lavez-les. Egouttez-les. Mettez-les en petits bouquets. Emballez-les. Lavez-les, égouttez-les et hachez-les finement. Emballez-les dans de petits récipients (boîtes plastique).
- Frottez les bouquets dans vos mains pour les écraser sur la préparation à aromatiser.
La décongélation est preque immédiate.
Très pratique pour aromatiser vos préparations.
PETITS POIS
- fermes - tendres - sucrés - verts - fraîchement cueillis
Lavez-les après les avoir écossés. Blanchissez-les 2 min à l'eau bouillante ou 3 min s'ils sont un peu plus gros. Refroidissez-les à l'eau courante. Egouttez et emballez.
- Excellent résultat.
TOMATES
- saines - mûres - fermes - bien rouges
- Entières: Lavez-les. Epluchez-les si nécessaire (trempez-les 2 à 3 secondes dans l'eau bouillante
pour plus de facilité). Séchez-les et emballez-les.
- En purée: Lavez-les. Coupez-les en morceaux. Cuisez-les avec un peu d'eau. Ecrasez-les en purée. Refroidissez la purée en plongeant le récipient dans de l'eau froide.
- Bons résultats. Attention: les tomates peuvent se démonter. Coupez-les encore gelées pour la préparation d'une salade. Il est préférable de congeler les tomates en purée car les tomates entières perdent leur fermeté.
Durée de conservation en mois:
Asperges 12
Carottes 10 à 12
Champignons 10 à 12
Choux-Fleurs 8 à 10
Choux verts
- nature 8 à 10
- cuisine 2 à 3
Endives 6 à 8
Epinards 10 à 12
Haricots verts 10 à 12
Haricots beurre 10 à 12
Herbes aromatiques 6 à 8
Petits Pois 12
Tomates 6
VIANDES
- Coupez la viande en morceaux (quantité consommée par votre famille en un repas. Evitez de faire des paquets supérieurs à 2 kg).
- Dégraissez et désossez pour obtenir un gain de place de 25 à 30%.
- Ne pas saler, ajoutez quelques épices si nécessaire (attention: après congélation de la viande, poivre plus fort, curry fade, noix de muscade trop forte, paprika et céleri prennent un gout très désagréable).
- Emballez toujours les morceaux ou les tranches que vous séparez par des feuilles de papier cellophane.
- Congelez la viande dès que possible.
- La charcuterie préparée et congelée aussitôt faite, crue ou cuite selon le cas. Pour une longue conservation, il est préférable d'utiliser les moyens traditionnels (conserves stérilisées) car la charcuterie rancit doucement au congélateur alors que les pâtés, rillettes et rôtis de porc se bonifient en conserves stérilisées.
Décongélation
Viande crue:
- Décongélation de quelques heures à 24 heures selon grosseur, au réfrigérateur pour les tournedos, grillades, côtes... ou quelques minutes dans un four à micro-ondes (se reporter aux temps indiqués dans la notice d'utilisation ou dans le livre de recettes).
- Cuisson directe sans décongélation pour le beuf mode, le gigot, rôti, etc... Prévoyez un temps de cuisson un peu plus long pour la décongélation et vérifiez la cuisson.
Viande cuite:
- Décongélation de quelques heures à 24 heures selon grosseur, au réfrigérateur pour les viandes cuites à consommer froides ou très rapidement au four à micro-ondes (se reporter aux temps indiqués dans la notice d'utilisation ou dans le livre de recettes).
- Réchauffez-les viandes cuites en sauce directement sans décongélation.
GIBIERS ET VOLAILLES
- Nettoyez bien le gibier et préparez-le comme les viandes.
- Coupez l'aorte et pendez la volaille par les pattes.
- Trempez-la dans de l'eau à 50 °C pendant quelques minutes.
- Plumez-la (de la queue aux ailes).
- Ne déchirez surtout pas la peau.
- Brûlez sur une flamme les plumes restantes.
- Faites une incision près des pattes dans la partie souple du ventre pour la vider.
- Emballez entièrement avec du papier polyéthylène.
- Congelez.
Remarque: il est nécessaire de nettoyer la volaille avant de la congeler.
Décongélation
- Les volailles seront cuites directement sans décongélation.
- Prévoyez un temps de 15 à 20 minutes supplémentaire selon la grosseur.
- Si vous désirez effectuer une décongélation avant cuisson: Placez la volaille à décongeler au réfrigérateur (de quelques heures à 24 heures) ou dans le four à micro-ondes (se reporter aux temps indiqués dans la notice d'utilisation ou dans le livre de recettes).
Durée de conservation en mois:
| Abats | 4 |
| BŒUF: | |
| Tournedos, Grillades, Rôti, Mode (cru) | 10 à 12 |
| Cru en sauce, Côtes | 8 à 10 |
| Cuit en sauce, Mode (cuit) | 2 à 3 |
| CHARCUTERIE | 2 à 3 |
| GROS GIBIER | 4 à 5 |
| MOUTON: | |
| Côtes, Gigot | 9 |
| Colliers en sauce, Hauts de côtes | 2 |
| PORC | 6 à 8 |
| VEAU | |
| Rôti, Côtes, tendrons | 6 |
Paupiettes 2
GIBIER-VOLAILLES
Poulets 10 à 12
Poules 8 à 10
Canards 5 à 6
Dindes, entières, escalopes, cuisses 6
Oies 4
Gibier à plumes 3 à 4
POISSONS, CRUSTACES, COQUILLES ST-JACQUES
POISSONS
Ecailles, videz et séchez-les. Coupez-les en tranches (gros poissons).
Emballez le poisson entier ou en tranches séparément et congelez immédiatement.
CRUSTACES
Langoustes – homards – crabes:
Pour avoir un meilleur décollement de la chair au moment de la préparation, ébouillantez-les 5 minutes. Refroidissez-les et emballez-les. Congelez-les le plus rapidement.
Crevettes grises ou roses:
Congelez-les fraîches, crues, sans préparation spéciale.
Moules:
Lavez-les et faites-les ouvrir sur le feu. Décoquillez-les et laissez-les refroidir.
Emballez-les et congelez-les.
Filtrez l'eau et congelez-la à part.
COQUILLES ST-JACQUES:
Ouvrez-les. Ne gardez que la noix et le corail. Lavez-les et séchez-les. Congelez-les posées sur un plateau et emballez-les après congélation.
Décongélation
Poissons:
- sans décongélation: directement à la cuisson, court-bouillon, au four ou à la poêle.
- au réfrigérateur: décongélation de quelques heures à 24 heures selon grosseur.
- au four à micro-ondes: (se reporter aux temps indiqués dans la notice d'utilisation ou livre de recettes).
Crustacés:
- sans décongélation: directe au court-bouillon.
- au réfrigérateur: quelques heures pour les crevettes, moules ou coquilles St-Jacques.
- au four à micro-ondes: (se reporter aux temps indiqués dans la notice d'utilisation ou livre de recettes).
- Utilisation directe en plats cuisinés pour les crevettes, moules, coquilles St-Jacques.
Durée de conservation en mois
Poissons maigres
merlan, cabillaud, lieu 3 à 4
Poissons gras
Thon, maquereau, saumon,
truite de mer 1 à 2
Crustacés
langouste, homard, crabe, etc 5 à 6
Coquilles St-Jacques 2
PRODUITS LAITIERS, PLATS CUISINES, BOULANGERIE, GATEAUX, TARTES ET TOURTES, CREMES GLACEES
PRODUITS LAITIERS
- Battez les jaunes d'œufs, ajoutez 1/2 cuil à café de sel ou 1 cuil à soupe de sucre pour 2 jaunes selon utilisation.
- Mettez les blancs dans de petits récipients.
- Battez la crème fraîche et congelez.
- Beurre et fromage à pâte molle seront emballés dans du papier d'aluminium.
Décongélation
Dans le réfrigérateur pendant 1 à 2 heures.
Vérifiez l'état de décongélation avant l'utilisation.
Remarques:
- Les yaourts se séparent et ne sont pas satisfaisants.
Il n'est pas dangereux de les consommer mais la consistance est abîmée. - Ne pas congeler la mayonnaise car l'huile se sépare du jaune d'œuf.
PLATS CUISINES
- Cuisinez vos plats selon vos recettes habituelles.
- Prévoyez des portions correspondant au nombre de personnes de votre famille.
- Emballez.
Décongélation
Réchauffez doucement dans un plat.
Couvrez.
Remuez les aliments tels que soupes, potages et viandes en sauce.
Remarque:
- La décongélation peut s'effectuer dans un four à micro-ondes. (se reporter aux temps indiqués dans la notice d'utilisation ou livre de recettes).
BOULANGERIE
- Pain: Congelez-le frais à peine refroidi. Coupez-le en morceaux.
-
Brioches: Congelez-les aussitôt refroidies, sur des grilles *.
-
Croissants: Congelez-les cuits, juste refroidis, sur des grilles *.
• Levure: Congelez-la telle quelle.
Décongélation:
à température ambiante environ 2 heures. Accélérez la décongélation en mettant pain, brioche ou croissants au four classique ou four à micro-ondes.
Remarque:
- La décongélation peut s'effectuer dans un four à micro-ondes (se reporter aux temps indiqués dans la notice d'utilisation ou livre de recettes).
Pour ne pas les casser, congelez-les sur une grille ou un plateau après complet refroidissement *.
Décongélation:
Retirez l'emballage. Décongelez à l'air ambiant. Coupez les parts avant décongélation pour garder leur forme. (Utilisez un couteau spécial congelés.)
CREMES GLACEES
Préparez la glace selon vos recettes habituelles.
Congelez-la dans des boîtes spéciales congélation si elle n'a pas besoin d'être remuée.
Décongélation:
Attendez quelques instants avant de consommer directement.
Durée de conservation en mois
PRODUITS LAITIERS
Jaune d'œuf 8 à 10
Blanc d'œuf 10 à 12
Beurre, Fromage 8
Crème 3
PLATS CUISINES 1 à 3
BOULANGERIE
Pain 2 à 4
Brioches 3
Croissants 4 à 6
Levure 6
GATEAUX, TARTES, TOURTES
Cake 2 à 3
Crêpe, Quiches 1 à 2
Gâteaux, crème 1 à 2
Pâte à tarte, tartes 2
Petits fours 1
CREMES GLACEES 2
(*) Emballez ensuite dans des sacs ou boîtes "spécial congélation" pour libérer votre plateau.
Dégivrage
Compartiment réfrigérateur
Le dégivrage du compartiment réfrigérateur s'effectue AUTOMATIQUEMENT à chaque arrêt du compresseur. L'eau de dégivrage est évacuée dans un bac situé à l'arrière de l'appareil. Cette opération ne nécessite aucune intervention de votre part.
Compartiment congélateur
Périodiquement (toutes les 2 ou 3 semaines) à l'aide de la spatule en plastique livrée avec l'appareil, grattez la mince couche de givre qui recouvre progressivement les parois. Il n'est pas nécessaire de débrancher l'appareil et d'enlever les produits contenus dans ce compartiment.
N'utilisez jamais de couteau ou d'objet métallique, vous risqueriez de détériorer l'évaporateur.
Une ou deux fois par an, ou chaque fois que l'épaisseur du givre excède 5 mm environ, il est recommandé de procéder, au dégivrage complet comme suit:
Choisissez le moment où votre appareil est peu garni. Comme une élévation de température peut altérer les denrées congelées, mettez le thermostat sur la position 5 ou 6, 12 heures avant d'effectuer le dégivrage pour assurer une réserve de froid (une baisse de température des aliments).
Débranchez l'appareil ou mettez le thermostat sur la position «O».
Sortez les bacs à glaçons et éventuellement les denrées congelées. Enveloppez celles-ci dans plusieurs feuilles de papier journal, ou mieux, dans des emballages isothermes. Conservez-les dans un endroit frais.
Placez un récipient sur la 1 ^ère grille du compartiment réfrigérateur, au-dessous de l'orifice de vidange et soulevez le bouchon (Fig. 6).
Maintenez la porte ouverte.
Vous pouvez accélérer le dégivrage en plaçant sur la grille du compartiment congélateur un récipient d'eau chaude non bouillante.
Profitez de ce que le compartiment congélateur est vide pour procéder à son nettoyage.
Le dégivrage terminé, poussez le bouchon vers le haut.
Remettez l'appareil en service.
Deux heures plus tard, replacez les produits surgelés et congelés s'il y a lieu.

Remarque: Pour un nettoyage éventuel de l'orifice de vidange de l'eau, il faudra enlever le bouchon. A cet effet tirez-le vers le bas.
Nettoyage
Important:
N'utilisez jamais de produits abrasifs ou caustiques, ni d'éponges avec grattoir pour procéder au nettoyage intérieur et extérieur de votre appareil.
Il est indispensable de maintenir votre appareil en parfait état de propreté.
Avant toute intervention, nous vous conseillons de débrancher la prise de courant.
Nettoyage intérieur
Il est recommandé de nettoyer très régulièrement le compartiment réfrigérateur et le compartiment congélateur chaque fois que vous procédez au dégivrage complet.
Compartiment réfrigérateur:
■ Retirez tous les accessoires du compartiment (clayettes, balconnets, bac(s) à légumes, etc...).
Lavez-les à l'eau tiède additionnée d'un détergent doux et inodore (produit utilisé pour la vaisselle par exemple); rincez et séchez très soigneusement.
- Lavez les parois intérieures du compartiment comme indiqué pour les accessoires, en veillant à parfaire le nettoyage au niveau des supports de clayettes et de la gouttière d'évacuation de l'eau de dégivrage.
Nettoyez l'orifice d'écoulement de l'eau de dégivrage du réfrigérateur avec le bâtonnet se trouvant dans l'orifice (Fig. 7).
■ Lavez le joint de porte en caoutchouc sans omettre de nettoyer également sous le joint.

Compartiment congélateur
- A l'occasion d'un dégivrage, lavez le compartiment et le joint de porte à l'aide d'une éponge et d'un détergent doux.
Rincez et séchez soigneusement.
Nettoyage extérieur
Lavez l'ensemble de la carrosserie à l'eau tiède savonneuse. Rincez et séchez.
De temps en temps, dépoussiérez le condenseur (grille située à l'arrière de l'appareil), à l'aide d'un aspirateur ou d'une brosse.
Remplacement de l'ampoule
L'ampoule est accessible en effectuant les opérations ci-dessous.
Débranchez l'appareil.
Dévissez la vis de fixation du diffuseur.
Décrochez la partie mobile en exerçant une pression sur celle-ci comme indiqué sur l'illustration.
Remplacez l'ampoule par un modèle semblable.
La puissance est indiquée sur le diffuseur.

En cas d'absence prolongée ou de non-utilisation
Ramenez le thermostat sur la position «O».
Débranchez, videz, dégivrez et nettoyez l'appareil.
Maintenez les portes entrouvertes pendant toute la durée de non-utilisation.
EN CAS D'ANOMALIE DE FONCTIONNEMENT
La fabrication de votre appareil a fait l'objet de nombreuses vérifications. Cependant, si vous constatez une anomalie de fonctionnement consultez le tableau ci-dessous. Dans la majorité des cas, vous pourrez y remédier vous-même.
| Anomalies Causes possibles Que faire? | ||
| Vibrations de l'appareil | 1. L'appareil n'est pas d'aplomb.2. L'habitation a des cloisons résonnantes qui amplifient les bruits de l'appareil.3. Appareil trop près des meubles. | 1. Voir paragraphe "installation"2. Appliquez une matière insonorisante sur le mur derrière l'appareil.3. Laissez un espace pour la ventilation, voir paragraphe "installation". |
| Traces d'eau au fond du compartiment réfrigérateur | L'orifice d'écoulement de l'eau de dégivrage est obstrué. | Débouchez l'orifice avec le bâtonnet se trouvant dans l'orifice d'écoulement. |
| Givre sur l'évaporateur du compartiment réfrigérateur | 1. Position trop élevée du thermostat.2. L'air ne circule pas dans le réfrigérateur. | 1. Placez le thermostat en position "Arrêt" pour dégivrer manuellement l'appareil. Après dégivrage, placez le thermostat sur une position moins élevée.2. Vérifiez que l'air circule bien le long de l'évaporateur. |
| Le compresseur fonctionne souvent avec production insuffisante de froid dans le compartiment réfrigérateur. | 1. Givre sur l'évaporateur.2. Aération insuffisante de l'appareil ou source de chaleur à proximité. | 1. Voir paragraphe précédent.2. Voir paragraphe "installation". |
| Production insuffisante de froid dans le compartiment congélateur | 1. Température ambiante trop basse, le compresseur ne fonctionne pas assez souvent.2. Trop de produits frais ont été introduits ensemble dans le congélateur. | 1. Agir en conséquence (voir page 7).2. Voir pouvoir de congélation. |
| Arrêt de fonctionnement | 1. Thermostat sur la position "Arrêt".2. Prise non branchée.3. Coupure de courant.4. Mauvais état du fusible. | 1. Vérifiez ce point.2. Vérifiez ce point.3. Vérifiez au disjoncteur s'il ne s'agit pas d'une coupure interne.4. Vérifiez le fusible. |
Si aucun de ces défauts n'est observé, il convient de consulter très rapidement le service après-vente de votre magasin-vendeur afin d'éviter toute altération des aliments. Donnez-lui la référence complète de votre appareil: ces renseignements figurent sur la plaque signalétique située à l'intérieur de l'appareil, sur le côté gauche, en bas du compartiment réfrigérateur.
Important
Si la panne est de courte durée, il n'y a aucun risque d'altération pour les aliments; abstenez-vous cependant d'ouvrir la porte.
Si la panne doit se prolonger, transférez les produits surgelés et congelés dans un autre appareil. L'autonomie de fonctionnement de votre appareil est de 19 heures. Cette durée est sensiblement moins longue si l'appareil est peu garni.
Dès que vous constatez un début de décongélation, vous devez consommer les aliments le plus rapidement possible, ou les recongeler après les avoir cuits (aliments crus).
En cas d'anomalie de fonctionnement, le vendeur de votre appareil est le premier habilité à intervenir. A défaut (déménagement de votre part, fermeture du magasin où vous avez effectué l'achat...), veuillez consulter le Service Conseil Consommateurs qui vous communiquera alors l'adresse d'un Service Après-Vente.
En cas d'intervention sur votre appareil, exigez du Service Après-Vente les Pièces de Rechange certifiées Constructeur.

En appelant un Service Après-Vente, indiquez-lui le modèle et le numéro de série de votre appareil. Ces indications figurent sur la plaque signalétique.
Service Conseil Consommateurs
BP 142 - 60307 SENLIS CEDEX
Tél.: (16) 44.60.06.10
COFRADEM
43, avenue Félix Louat - BP 142
60307 SENLIS
Tél. : (16) 44.62.20.00 - Télex : 15 5530 Elux Fr
SNC au capital de 12.000.000 F
RCS Senlis B 314045 980
Dans le souci d'une amélioration constante de nos produits, nous vous réservons le droit d'apporter à leurs caractéristiques toutes modifications liées à l'évolution technique (décret du 24.03.78).
Notice Facile