HTR 2.0 - Vélo d'appartement VirtuFit - Notice d'utilisation et mode d'emploi gratuit
Retrouvez gratuitement la notice de l'appareil HTR 2.0 VirtuFit au format PDF.
| Caractéristiques | Détails |
|---|---|
| Type de produit | Vélo d'appartement |
| Poids maximal utilisateur | 120 kg |
| Résistance | Résistance magnétique réglable |
| Écran | Écran LCD affichant la distance, le temps, les calories et la vitesse |
| Dimensions | Longueur : 110 cm, Largeur : 55 cm, Hauteur : 130 cm |
| Poids de l'appareil | 30 kg |
| Fonctionnalités supplémentaires | Capteurs de fréquence cardiaque, support pour tablette |
| Utilisation | Idéal pour un entraînement à domicile, améliore l'endurance et la condition physique |
| Maintenance | Vérifier régulièrement les boulons et les vis, nettoyer après utilisation |
| Sécurité | Utiliser sur une surface plane, ne pas dépasser le poids maximal |
| Garantie | 2 ans sur les pièces |
FOIRE AUX QUESTIONS - HTR 2.0 VirtuFit
Questions des utilisateurs sur HTR 2.0 VirtuFit
0 question sur cet appareil. Repondez a celles que vous connaissez ou posez la votre.
Poser une nouvelle question sur cet appareil
Téléchargez la notice de votre Vélo d'appartement au format PDF gratuitement ! Retrouvez votre notice HTR 2.0 - VirtuFit et reprennez votre appareil électronique en main. Sur cette page sont publiés tous les documents nécessaires à l'utilisation de votre appareil HTR 2.0 de la marque VirtuFit.
MODE D'EMPLOI HTR 2.0 VirtuFit
| Consignes de sécurité | 28 | ||
| Garantie | 28 | ||
| Instructions de montage | 28 | ||
| Ajustement | 29 | ||
| Entrainnement avec la fréquence cardiaque | 29 | ||
| Instructions | d'entretien | 29 | |
| Dépannage | 30 | ||
| Codes | d'erreur | 30 | |
| Console | 31 | ||
| Programmes | 31 | ||
| Directives de formation | 33 |
CONSIGNES DE SECURITÉ

AVERTISSEMENT
Consultez votre médecin avant de commencer à faire de l'exercice. Ceci est particulièrement important pour les personnes ayant des problèmes de santé. Veuillez tire toutes les instructions avant d'utiliser la machine. VirtuFit n'assume aucune responsabilité pour les blessures ou les dommages matériels resultant de l'utilisation de cet équipement. Veuillez tire attentivement ce manuel avant d'assembler et/ou d'utiliser la machine.
Assurez-vous que la machine est correctement assemblée et que tous les écrous et boulons sont bien serrés avant de l'utiliser.
- Ne portez pas de vêtements amples pour éviter qu'ils ne se prennett dans les pièces mobiles.
- Installlez et utilisez l'appareil sur une surface solide et plane.
- Portez toujours des chaussures de sport propres lorsque vous utilisez l'appareil.
- Tenez les enfants et les animaux domestiques à l'écart de l'appareil pendant son utilisation.
- Maintenez votre équilibre lorsque vous utilisez l'appareil.
- Ne placez pas vos doigts ou d'autres objets dans les parties mobiles.
- Avant de vous entrainer, consultez votre médecin afin de déterminer la fréquence, la durée et l'intensité d'entrainment appropriées à votre âge et à votre condition physique. Arrétez immidiatement l'entrainment si vous ressentez des nausees,
un essoufflement, un évanouissement, des maux de tête, des douleurs thoraciques, une oppression ou tout autre malaise.
- Ne tenez pas la machine par le siège lors des déplacements.
- Cet apparéil ne doit être utilisé que par une seule personne à la fois.
- Cette machine est conçue pour un usage domestique et le poids maximal de l'utilisateur est de 150kg .
- Laissez 1 à 2 mètes d'espace derrière la machine pour éviter les accidents.
- Placez la machine sur une surface propre et plane. Ne le posez pas sur un tapis écais, qui pourrait génér la ventilation de l'appareil. Ne placez pas l'appareil à l'extérieur ou pres de l'eau.
- Maintenez l'emplacement de stockage sec, propre et de niveau pour éviter tout dommage. Il est interdit d'utiliser l'appareil à des fins autres que la formation.
Utilisez l'appareil uniquement dans un environnement dont la température ambiente est comprise entre 10^ et 35^ . Conservez l'appareil uniquement dans un environnement dont la température est comprise entre 5^ et 45^ .
CARANTIE
Les demandes de garantie sont exclues si la cause du dernier est le résultat de:
- Travaux d'entretien et de réparation non effectuels par un concessionnaire officiel. Sauf indication contraire du fournisseur.
- En cas d'utilisation inappropriée, de négligence et/ou de mauvais entretien.
- Le fait de ne pas entrenir l'appareil conformément aux instructions du fabricant.
INSTRUCTIONS DE MONTAGE (STEP 01-06)
Des pieces manquantes: Si certaines pieces manquent dans l'emballage, vérifie soigneusement la mousse de polystyrene et l'appareil lui-même. Certaines pieces (boulons, vis, etc.) sont déjà fixées à l'appareil.
Message d'erreur: Veillez à ce que tous les cables soient fixés avec soin. Les pieds en aluminium de la console sont très sensibles et
FRANÇAIS
doivent rester droits. Si la console donne un message d'erreur après le montage de la machine, il se peut que les pieds en aluminium de la console soient plies. Redressez les pieds en aluminium, cela peut faire disparaitre le message d'erreur.
Boulons à tête hexagonale: Assurez-vous que la clé hexagonale est bien enforcée dans le boulon avant d'appliquer la force. Cela empêchera la tête du boulon à douille de tourner.
Fixez l'extrémité de la sangle de pied aux languettes de la pédale.



AJUSTEMENT
Réglage de la selle (A)
Afin de s'entraîner efficacement, il est conseilé de régler la selle à la bonne hauteur. Lorsque vous pédalez, vos genoux doivent être légément pliers lorsque les pédales sont en position basse.
Pour régler la salle en position verticale, suivez les étapes ci-dessous:
- Desserrez le bouton de la tige de selle et tirez le bouton vers vous.
- Déplacez la tige de selle vers le haut ou le bas jusqu'à ce que la selle soit dans la position souhaitee et relâchéz le bouton.
- Déplacez la tige du siècle légersement vers le haut ou vers le bas pour vous assurer que le bouton se trouve dans l'un des trous de réglage.
- Serrez le bouton de la tige de selle.
Suivez les étapes ci-dessous pour régler la position horizontally de la selle:
- Desserrez le bouton de la selle de quelques tours.
- Faites glisser la selle vers l'avant ou l'arrière jusqu'à ce qu'elle soit dans la position souhaitation.
- Serrer le bouton de la selle.
Réglage du guidon (B)
Pour regler l'angle du guidon, suivez les étapes ci-dessous:
- Desserrez le bouton.
- Inclinez les poignées dans la position souhaitée.
- Serrez le bouton pour fixer les poignées.
Réglage des sangles de pied (C)
Pour régler les sangles de pied, suivez les étapes ci-dessous:
Retirez l'extrémité de la sangle de pied des levres de la pedale.
- Reglez le cale-pied dans la position souhaitée.
ENTRAINEMENT AVEC LA FREQUENCY CARDIAQUE
Capeurs de main
Cet apparéil de fitness VirtuFit est équipé de capteurs manuels permettant de mesurer la fréquence cardiaque. Les capteurs manuels sont fixés à la poignée et ne fonctionnent que si les deux capteurs sont maintainus pendant une longue période. Pour une performance optimale, il est important que les mains soient légarement humides et exercent une pression constante sur les capteurs.
ATTENTION! N'utilisez jamais les capteurs manuels en combinaison avec un apparéil sans fil afin d'éviter toute interférence.
ENTRETIEN
Une utilisation sure et efficace ne peut être obtenue que si l'appareil est correctement installé et entretenu. Il est de votes responsabilité de veiller à ce que l'appareil soit entretenu régulièrement. Les pièces qui ont été utilisées et/ou endommagées doivent être replacées avant toute nouvelle utilisation de l'appareil. L'appareil doit être utilisé et range uniquement à l'intérieur. Une exposition à long terme aux intempérières et aux changements de température/humidity peut avoir un impact sérieux sur les composants électriques et les pièces mobiles de l'appareil. Debranchez toujours le cable d'alimentation de l'appareil avant de le nettoyer ou de l'entretenir.
Entretien quotidien
- Nettoyez et éliminez la sueur et l'humidité après chaqueutilisation.
- Verifiez que l'appareil est exempt de poussière et de saleté.
- N'utilise pas de produits de nettoyage agressifs et maintenez l'appareil à l'abri de l'humidité.
Entretien semestriel
- Inspectez tous les boulons et écrous liés aux parties mobiles de l'unité. Serrez les boulons et les écrous si nécessaire et selon les besoin.
Nous recommends ce qui suit:
- Nettoyez l'appareil après utilisation.
- Utilisez un chiffon sec pour nettoyer le panneau de commande et les zones autour de l'interrupteur marche/arrêt.
- Utilisez un chiffon doux et propre et un détergent pour éliminer les marques et les saletés tenaces sur l'appareil.
- Conservez l'appareil dans un endroit sur et sec, à l'abri de la chaleur et de l'eau.
ATTENTION!
Toute réparation doit être effectue par un technicien professionnel, sauf indication contraire du fournisseur ou du fabricant.
Nettoyage
Un nettoyage général de l'appareil prolongera sa durée de vie. Gardez l'appareil propre en le dépoussierant régulièrement. Un entretien régulier prolongera la durée de vie de votre apparéil et évitera les blessures! Pour de plus amples informations, veuillez consulter le site https://www.virtufit.nl/service/faq/
ATTENTION! Portez des chaussures propres pour réduire le risque de salir l'appareil. Au moins une fois par an, retirez le capot pour le dépoussierer.
DéPANNAGE
L'écran n'affiche aucune valeur: Vérifiez que les cables du capteur et de la console sont correctement fixés et non endommages. Si cela ne résout pas le problème, contactez le fournisseur.
Le velo d'appartement grince: Vérifiez que tous les boulons et écrous sont fermement serrés.
Bruit de tic-tac lors du pédalage: Cela peut être causé par l'une des pédales. Démontez la (les) pédale(s) et montez-la (les) correctement sur l'appareil. Serrez fermement la ou les pédales. Si cela ne résout pas le problème, contactez le fournisseur.
REMARQUE! La pédale "R" (droite) doit être montée dans le sens
des aiguilles d'une montre et la pédale "L" (gauche) doit être montée dans le sens inverse des aiguilles d'une montre.
Les capteurs de main ne fonctionnent pas correctement: Lavez vos mains, sechez-les bien et testez à nouveau les capteurs de main. Si cela ne résout pas le problème, vérifie si les cables du guidon ne sont pas endommagés et s'ilts sont correctement connectés au connecteur. Si cela ne corrige toujours pas le problème, remplace la poignée.
La console ne fonctionne pas: S'il n'y a pas de signal lors du pédalage, vérifie que le cable est correctement connecté.
CODES D'ERREURS
E1:
Le moteur ne fonctionne pas (problèmes de moteur)
Solution: Ce problème peut être causé par le moteur qui a dû mal à ajuster sa résistance, ce qui entraine un bruit fort du moteur. Lorsque cela se produit, le moteur peut être évientuellement endommagé par un dysfonctionnement. Si cela ne résout pas le problème, contactez le fournisseur.
- Les câbles ont un problème
Solution: Verifiez que les cables ne sont pas endommagés ou qu'ils ne peuvent pas provoquer de courts-circuits. Si cela ne résout pas le problème, contactez le fournisseur.
E2:
- Un problème avec les cables
Solution: Assurez-vous que les cables ne sont pas endommagés ou qu'ils seront un potentiel de court-circuit. Si cela ne résout pas le problème, contactez le fournisseur.
E3: Il y a un problème avec les câbles.
- Solution: Assurez-vous que les cables ne sont pas endommagés ou court-circuités. Si cela ne résout pas le problème, contactez le fournisseur.
E4: Lors de l'analyse de laGRAISSECorporelle, les 8 premières secondes ne permettent pas de détecter le cœur.
Solution: Lavez vos mains, séchez-les bien et testez à nouveaux les capteurs de main. Tenez fermement les poignées des deux mains. Si cela ne résout pas le problème, contactez le fournisseur.
CONSOLE (FIG. A)

START/STOP
- Demarrer/arrête la seance d'entrainment.
- Commencez le programme de gestion de laGRAISSÉ corporelle.
- Maintenez cette touche enforcée pour réinitialiser toutes les valeurs des fonctions (fonctionne uniquement en mode stop).
MIN (-): Appuyez sur la touche "- pour diminuer la valeur de la fonction selectionnee. Pendant une seance d'entrainment, appuyez sur le bouton"- pour diminuer la résistance.
- PLUS (+): Appuyez sur le bouton + pour augmenter la valeur de la fonction sélectionnée. Pendant l'entrainment, appuyez sur le bouton "+" pour augmenter la résistance.
- ENTER: Pour sélectionner le mode désiré ou confirmer la valeur désirée.
- RECOVERY: Appuyez sur la touche "RECOVERY" pendant l'exercice lorsque la valeur de la fréquence cardiaque est affichée pour lancer la fonction de récapération de la fréquence cardiaque. FI est le plus léger et F6 est le plus lourd.
- MODE: Appuyez sur le bouton "MODE" pour basculer entre les différentes fonctions et valeurs pendant l'exercice.
Fonctions
TIME: La durée totale de la séance d'entrainment s'affiche.
SPEED: La vitesse de l'entraînement s'affiche.
DISTANCE: Indique la distance parcourue.
CALORIES: affiche le nombre total de calories brûlées pendant l'entrainment.
PULSE: Lorsque vous utilisez les capteurs de fréquence cardiaque, votre fréquence cardiaque s'affiche pendant l'exercice.
PROGRAMMES
Programme manuel
P1: Sélectionnez "MANUEL" avec les touches "+" ou "-" et appuyez sur
la touche "ENTER". La fonction "TIME" clignote, afin que la valeur puisse être régée à l'aide des touches "+" ou "-". Appuyez sur la touche "ENTER" pour enregistrer la valeur et passer à la fonction suivante à régler. Continuez avec toutes les données souhaitées et appuyez sur "START/STOP" pour commencer l'entrainment. Si vous entrez une valeur, elle sera décomptée pendant la séance d'entrainment. Si vous le laissez vide, les données s'additionneront jusqu'à ce que vous arrêtiez la séance d'entrainment.
REMARQUE! L'une des valeurs définies fera un compte à rebours jusqu'à zéro (0), la console émettra un son et la séance d'entrainment s'arrête automatiquement. Appuyez sur le bouton "START" pour poursuivre votre séance d'entraineme.
Programmes préétablis
P2 - P14 Il existe 10 programmes préprogrammes prêts à être utilisés. Tous les programmes comportent 24 niveaux de résistance. Pour selectionner un programme,CHOISSEZ l'un des programmes préprogrammés à l'aide des touches "+" ou "- et appuyez sur "ENTER". Tout d'abord, la fonction "TIME" clignote pour que vous puissiez la régler à l'aide des touches "+" ou "-". Appuyez sur la touche "ENTER" pour enregistrer la valeur et passer à la fonction suivante que vous pouvez régler. Continuez avec toutes les données souhaitées et appuyez sur "START/STOP" pour commencer l'entrainment. Si vous entrez une valeur, elle sera décomptée pendant la seance d'entrainment. Si vous le laissez vide, les données s'additionneront jusqu'à ce que vous arrêtiez la seance d'entrainment.
REMARQUE! L'une des valeurs définies fera un compte à rebours jusqu'à zéro (0), la console émettra un son et la séance d'entrainment s'arrête automatiquement. Appuyez sur le bouton START pour poursuivre votre séance d'entrainment.
Programme en watts
P15 Sélectionnez "PROGRAMME DE RÉGULATION DE LA PUISSANCE" avec la touche "+" ou "-" et appuyez sur "ENTER". Tout d'abord, la fonction "TIME" clignote pour que vous puissiez la régler à l'aide des touches "+" ou "-". Appuyez sur la touche "ENTER" pour enregistrer la valeur et passer à la fonction suivante que vous voulez régler. Continue avec toutes les données souhaitées et appuyez sur "START/ STOP" pour commencer l'entrainment. Si vous entrez une valeur, elle sera décomptée pendant la séance d'entrainment. Si vous le laissez vide, les données s'additionneront jusqu'à ce que vous arrêtiez la séance d'entrainment.
REMARQUE! L'une des valeurs définies fera un compte à rebours jusqu'à zéro (0), la console émettra un son et la séance d'entrainment s'arrête automatique. Appuyez sur le bouton "START" pour poursuivre votre séance d'entrainment. La console ajustera automatique la résistance en fonction de la vitesse pourmaintenir une valeur en watts constante. Utilisez la touche"- pour régler la puissance pendant votre séance d'entrainment.
Programme sur laGRAISSE corporelle
P16 Sélectionnez "PROGRAMME DE GRAISSE CORPORELLE" avec la touche "+" ou "-" et appuyez sur "ENTER". MALE" clignote, leSEX peut être ajusté avec les touches "+" ou "-" appuyez sur "ENTER" pour enregistrer les données et passer au suivant. "75" pour la hauteur (longueur) clignote. La hauteur peut être ajustée avec les touches "+" ou "-" appuyez sur 'ENTER' pour sauvegarder les données et passer à la suivante. 75" pour le poids clignote, il peut être ajusté avec la touche "+" ou "-" et appuyez sur "ENTER" pour enregistrer les données et passer à la suivante. 30" pour l'age clignote, il peut être ajusté avec la touche "+" ou "-" , puis appuyez sur 'ENTER' pour enregistrer les données. Appuyez ensuite sur "START/STOP" pour calculer votre taux de graissse corporelle. Veillez à tener également les capteurs de fréquence cardiaque pour mesurer votre rythme cardiaque. Àpres 15 secondes, l'écran affiche laGRAISSSE CORPORELLE en %, le BMR, l'IMC et le type de profil.
REMARQUE! Il existe 9 types de profils en fonction du pourcentage de graisse calculé (FAT%).
| LE TYPE 1 | Varie de 5 à 9% |
| LE TYPE 2 Varie de 10 à 14% | |
| LE TYPE 3 Varie de 15 à 19% | |
| LE TYPE 4 Varie de 20 à 24% | |
| LE TYPE 5 Varie de 25 à 29% | |
| LE TYPE 6 Varie de 30 à 34% | |
| LE TYPE 7 Varie de 35 à 39% | |
| LE TYPE 8 Varie de 40 à 44% | |
| LE TYPE 9 Varie de 45 à 49% | |
BMR: Basal Metabolism Ratio (rapport du métabolisme de base)
BMI: Body Mass Index (indice de masse corporelle)
REMARQUE! Appuyez sur la touche "START/STOP" pour revenir à l'affichage principal.
Programme d'objectifs de fréquence cardiaque
P17 Sélectionnez "TARGET H.R." avec la touche "+" ou "-" et appuyez sur "ENTER". La première fonction "TIME" clignote pour permettre le réglage de l'heure à l'aide des touches "+" ou "-" Appuyez sur la touche "ENTER" pour enregistrer la valeur et passer à la fonction suivante à régler. Continue à régler toutes les données souhaitées et appuyez sur la touche "START/STOP" pour commencer l'entrainment. Si vous entrez une valeur, elle sera décomptée pendant la seance d'entrainment. Si vous le laissez vide, les données s'additionneront jusqu'à ce que vous arrêtiez la formation.
REMARQUE! Si la fréquence cardiaque est supérieure ou inférieure à la fréquence cardiaque cible (± 5), le velo d'exercice ajuste automatiquement la résistance. Il faut environ 10 secondes pour que la résistance augmente ou diminue. L'une des valeurs définies fera un compte à rebours jusqu'à zéro (0), la console émettra un son et la séance d'entrainment s'arrête automatiquement. Appuyez sur le bouton "START" pour poursuivre votre séance d'entrainment.
Cible
P18 - P20 Chaque programme correspond à un objectif spécifique: P18-60% CIBLE H.R 60% de (220-age)
P19-75% CIBLE H.R 75% de (220-age)
Selectionnez un programme de fréquence cardiaque avec la touche '+' ou '-' et selectionnez-le avec la touche 'ENTER'. La première fonction "TIME" clignote pour permettre de régler l'heure à l'aide des touches "+" ou "-". Appuyez sur la touche "ENTER" pour memoriser la valeur et passer à la fonction suivante à régler. Continuez de cette manière avec toutes les données souhaitées, puis appuyez sur le bouton "START/ STOP" pour commencer l'entrainment. Si vous entrez une valeur, elle sera décomptée pendant la seance d'entrainment. Si vous le laissiez vide, les données s'additionneront jusqu'à ce que vous arrêtiez la formation
REMARQUE! Si la fréquence cardiaque est supérieure ou inférieure à la fréquence cardiaque cible (± 5), le vélo d'appartement ajusté automatiquement la résistance. Il faut environ 10 secondes pour que la résistance augmente ou diminue. L'une des valeurs définies fera un compte à rebours jusqu'à zéro (0), la console émettra un son et la seance d'entraînement s'arrête automatiquement. Il existe quatre programmes utilisateurs qui peuvent être sélectionnés de U1 à U4. Un programme utilisé permet à l'utiliser de creator son propre programme qui peut être utilisé immédiatement. Si vous entrez une valeur, elle sera l'objet d'un décomptependant
l'entrainment. Si vous le laissez vide, les données s'additionneront jusqu'à ce que vous arrêtiez la formation.
Programmes utilisateurs
P21 - P24 Sélectionnez un programme utilisé à l'aide des touches '+' ou '-' et appuyez sur 'ENTER'. La première fonction "TIME" clignote pour permettre de régler l'heure à l'aide des touches "+" ou "-". Appuyez sur la touche "ENTER" pourémoriser la valeur et passer à la fonction suivante à régler. Continuez de cette manière avec toutes les données souhaitées. Avec le réglage, le niveau 1 clignote. Utilisez la touche '+' ou '-' pour régler le niveau et appuyez sur 'ENTER' pour passer à la colonne suivante. Faites de même pour les autres colonnes, de manière à traverser les 10 colonnes. Appuyez ensuite sur le bouton "START/STOP" pour commencer la séance d'entrainment. Si vous entrez une valeur, elle sera décomptée pendant la séance d'entrainment. Si vous le laissez vide, les données s'additionneront jusqu'à ce que vous arrêtiez la séance d'entrainment.
REMARQUE! Si l'une des données de l'exercice compte à rebours jusqu'à zéro (0), un son retentira et l'exercice s'arrête automatiquement. Appuyez sur la touche "START" pour poursuivre votre séance d'entrainment.
DIRECTIVES DE FORMATION (FIG. B, 1-5)
Un programme d'entrainment réussi comprend un échauffement, l'entrainment propremment dit et un retour au calme. Effectuez le programme d'entrainment complet au moins deux, mais de préférence trois fois par这段时间 et gardez un jour de repos entre les séances d'entrainment. Àpres quelques mois, l'intensité de l'entrainment peut être augmentée, par exemple à quatre ou cinq fois par这段时间.
L'échauffement
L'objectif d'un échauffement est de préparer le corps à l'entrainment et de réduire le risque de blessure. Réchauffez votre corps pendant deux à cinq minutes avant de commencer un entrainment cardio ou musculaire. Faites des exercices qui augmentent le rythme cardiaque et échauffent les muscles qui travaillent. Exemples de ce type d'activités: course, jogging, jumping jacks, saut à la corde et course sur place.
Étirements
Les étirements pendant que les muscles sont chauds sont très importants après un bon échauffement et un bon retard au calme. Il réduit les risques de blessures. Les exercices d'étirement doivent être maintainus pendant 15 à 30 secondes. Voici quelques exemple d'exercices d'étirement:
- Toe touch (Fig. B-1)
- Inner thigh stretch (Fig. B-2)
- Hamstring stretch (Fig. B-3)
- Achilles stretch (Fig. B-4)
- Side stretch (Fig. B-5)
Retour au calme
Le but du refroidissement est de ramener le corps à sa position de repos (presque) normale à la fin de l'entrainment. Un bon退还 au calme réduit lentement votre rythme cardiaque et favorise la récapération.


DESCRIPTION QTY.
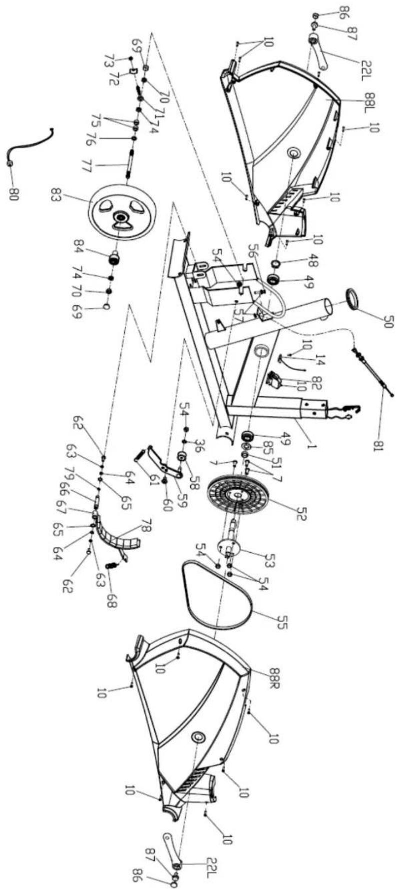
| 1 | Main Frame | 1 |
| 2 | Round End Cap | 2 |
| 3 | Hand grip foam | 2 |
| 4 | Computer | 1 |
| 5 | Handlebar | 1 |
| 6 | Front Handlebar Cover | 1 |
| 7 | Allen Bolt (M8X15) | 8 |
| 8 | Pulse Sensor Wire | 2 |
| 9 | Rear Handlebar Cover | 1 |
| 10 | Cross Tapping Screw (ST4.2X18) | 3 |
| 11 | Handlebar Post | 1 |
| 12 | Extension Sensor Wire | 1 |
| 13 | Protective Guard | 1 |
| 14 | Lower Sensor Wire | 1 |
| 15 | Flat Washer d8 | 4 |
| 16 | Front End Cap | 2 |
| 17 | Cross Tapping Screw ST3.5X10 | 2 |
| 18 | Front Stabilizer | 1 |
| 19 | Arc Washer d8X□19X1.5XR30 | 2 |
| 20 | Allen Bolt M8XL72 | 2 |
| 21 L/R | Pedal (L/R) | 1 pr |
| 22 L/R | Crank(L/R) | 1 pr |
| 23 Rear End Cap | 2 | |
| 24 Rear Stabilizer | 1 | |
| 25 Allen Bolt M8XL90 | 2 | |
| 26 Arc Washer d8X2 X□25 XR39 | 2 | |
| 27 Pop-pin Knob M16X1.5X32 | 1 | |
| 28 Saddle Post Bushing | 1 | |
| 29 Saddle Post | 1 | |
| 30 Knob Nut M10 | 1 | |
| 31 Flat Washer d10 | 1 | |
| 32 Square End Cap | 2 | |
| 33 U-shaped Slider | 1 | |
| 34 Horizontal Saddle Post | 1 | |
| 35 Saddle | 1 | |
| 36 Spring Washer (D8) | 8 | |
| 37 Saddle bracket | 1 | |
| 38 Flat Washer | 3 |
DESCRIPTION QTY.
| 39 Cross Screw M5X10 4 | |
| 40 Nylon nut 3 | |
| 41 Adaptor 1 | |
| 42 Spacer 1 | |
| 43 T-Handle knob 1 | |
| 44 Flat washer 1 | |
| 45 Bottle holder 1 | |
| 46 Cross Tapping Screw 2 | |
| 47 Flat washer 2 | |
| 48 Spring washer D17 1 | |
| 49 Bearing 6203 2 | |
| 50 Bushing Φ22X18 X8 1 | |
| 51 Spacer 1 | |
| 52 Belt pulley 1 | |
| 53 Middle axle 1 | |
| 54 Nylon nut M8 5 | |
| 55 Belt 1 | |
| 56 Hex bolt M5X60 1 | |
| 57 Hex nut M5 2 | |
| 58 Idler wheel 1 | |
| 59 Idler tube 1 | |
| 60 Bolt 1 | |
| 61 Spring 1 1 | |
| 62 Hex bolt M6X15 2 | |
| 63 Spring washer D6 2 | |
| 64 Flat washer D6 2 | |
| 65 Spring washer D12 2 | |
| 66 Magnetic board axle 1 | |
| 67 Magnetic board 1 | |
| 68 Spring 2 1 | |
| 69 Nut cap 2 | |
| 70 Hex nut M10XI 2 | |
| 71 Bolt 1 | |
| 72 U-shaped washer 1 | |
| 73 Hex nut M6 1 | |
| 74 Thin nut M10×1 2 | |
| 75 Spacer Φ16×Φ10.5×9 2 | |
| 76 Spacer Φ16×Φ10.5×3 1 |
USER MANUAL
DESCRIPTION QTY.
Notice Facile