KXHNC600EX2 - Maison intelligente PANASONIC - Notice d'utilisation et mode d'emploi gratuit
Retrouvez gratuitement la notice de l'appareil KXHNC600EX2 PANASONIC au format PDF.
| Caractéristiques techniques | Caméra de surveillance intérieure, résolution HD, vision nocturne, détection de mouvement, audio bidirectionnel. |
|---|---|
| Utilisation | Compatible avec l'application Panasonic HomeHawk, installation facile, surveillance à distance via smartphone. |
| Maintenance et réparation | Nettoyage régulier de l'objectif, mise à jour du firmware via l'application, support technique disponible. |
| Sécurité | Chiffrement des données, notifications en temps réel, possibilité de définir des zones de détection. |
| Informations générales | Alimentation par secteur, dimensions compactes, design moderne, garantie constructeur. |
FOIRE AUX QUESTIONS - KXHNC600EX2 PANASONIC
Questions des utilisateurs sur KXHNC600EX2 PANASONIC
0 question sur cet appareil. Repondez a celles que vous connaissez ou posez la votre.
Poser une nouvelle question sur cet appareil
Téléchargez la notice de votre Maison intelligente au format PDF gratuitement ! Retrouvez votre notice KXHNC600EX2 - PANASONIC et reprennez votre appareil électronique en main. Sur cette page sont publiés tous les documents nécessaires à l'utilisation de votre appareil KXHNC600EX2 de la marque PANASONIC.
MODE D'EMPLOI KXHNC600EX2 PANASONIC
Guide d'installation
Système de réseau privé
Caméra extérieure
Modèle KX-HNC600EX2

Voues venez d'acquérir un produit Panasonic et nous vous en remercions.
Le present document vous indique comment installer laamera extérieure de manière cor-recte.
Pour plus de détails concernant l'utilisation du système, reportez-vous au Guide de l'utilisateur (page 27).
Veuillez dire le present document avant d'utiliser l'appareil et le conserver pour reference ultérieure.
Sommaire
Introduction
Informations sur les accessoires 3
Informations importantes
A propos de ce système 5
Pour vous sécurité 5
Consignes de sécurité importantes 6
Pour des performances optimes 6
Confidentialité et droits à l'image 7
Autres informations 7
Emplacement d'installation
Plage de communication sans fil 9
Informations relatives aux fonctionnalités du
detecteur 9
Informations relatives au mode de vision
nocturne 11
Exemples d'emplacements d'installation 12
Ne procededespaà l'installation dans les lieux
suivants 14
Configuration
Pièces et fonctions 16
Voyant LED 16
Vue d'ensemble de la configuration 16
Enregistrement de laamera 17
Vérification de la zone d'installation 17
Installation 18
Annexe
Test de la plage de détction de mouvement ....23
Réglage de la plage du détecteur infrarouge .....23
Fonctionnalités disponibles lors de l'utilisation de
Accès au Guide de l'utilisateur 27
Charactéristiques 28
Informations sur les accessoires
Accessoires fournis
| N° Accessoire/Référence Quantité | ||
| ① | Adaptateur secteur/PNLV236CE 1 | |
| ② | Support de montage de laamera 1 | |
| ③ | Vis de montage mural (25 mm) 4 | |
| ④ | Outil pour les fils de suspension-Fil de sécurité : 1-Rondelles : 2Petite rondelle pour la fixation du fil de sécurité à laameraø12 mmGrande rondelle pour la fixation du fil de sécurité au murø16 mm-Vis : 2Petite vis pour la fixation du fil de sécurité à laamera10 mmGrande vis pour la fixationdu fil de sécurité au mur25 mm | 1 |
| ⑤ | Capuchon de plage du détecteur 1 | |







Accessoires supplémentaires
Pour des informations commerciales, contactez votre revendeur Panasonic le plus proche.
| Accessoire Réténce | |
| Rallonge c.c.*1 | PNJA1159Z |

*1 Conçu pour l'utilisation en interieur uniquement. N'utilISÉZ pas cet apparéil à l'extérieur.
Autres informations
- La conception et les caractéristiques peuvent être modifiées sans préavis.
- Les illustrations figurant dans ce manuel peuvent différer légarement du produit réel.
Introduction
Marques commerciales
- microSDHC est une marque commerciale de SD-3C, LLC.
- iPhone et iPad sont des marques commerciales de Apple Inc., déposées aux États-Unis et dans d'autres pays.
Android est une marque de Google Inc. - Microsoft, Windows et Internet Explorer sont des marques commerciales, déposées ou non, de Microsoft Corporation aux États-Unis et/ou dans d'autres pays.
- Les autres marques commerciales mentionnées ici sont la propriété de leurs détenteurs respectifs.
Avis
- Le hub prend en charge les cartes mémoire microSD et microSDHC. Dans le present document, le terme "carte microSD" est utilisé en tant que terme générique pour faire reférence à toutes les cartes prises en charge.
Informations importantes
À propos de ce système
- Ce système est un système auxiliaire, il n'est pas conscience pour assurer une protection complète contre le vol. Panasonic décline toute responsabilité en cas de vol lors de l'utilisation de ce système.
- Les fonctionnalités sans fil du système sont soumises à des interférences, le fonctionnement ne peut donc être garanti dans toutes les situations. Panasonic décline toute responsabilité en cas de blessures ou de dommages suite à une panne ou une erreur de communication sans fil.
Pour vous sécurité
Pour éviter tout risque de dommages corporels ou matériels, voire d'accident mortel, lisez attentivement cette section avant d'utiliser l'appareil, de manière à être assure que vous l'utilisez d'une façon appropriée et sure.
ATTENTION
Connexionélectrique
Utilisez uniquement l'alimentation electrique indiquee sur le produit.
- Ne surchargez pas les prises électriques et les cordons d'alimentation. Ceci risque de provoquer un incendie ou une décharge électrique.
- Insérez complètement l'adaptateur secteur/la fiche d'alimentation dans la prise de courant. Le non-respect de ces instructions peut entraîner une décharge électrique et/ou une accumulation de chaleur qui peut provoquer un incendie.
Enlevez regulierement la poussiere ou autres débris de l'adaptateur secteur et la fiche d'alimentation en les retardant de la prise de courant, puis en les essuyant avec un chiffon sec. L'accumulation de poussiere peut provoquer un dernier d'isolation resultant par exemple de I'humiidé, etc. et provoquer un incendie.
- Débranche l'appareil de la prise électrique s'il émet de la fumée, une oedur anormale ou fait un bruit inhabituel. Ces situations pourraient en
effet provoquer un incendie ou une décharge électrique. Assurez-vous que la fumée a cessé et contactez un centre de service/agréé.
- Debranche l'appareil de la prise electrique et ne touche jamais ses composants internes si le boitier est ouvert. Il existe un danger de décharge electrique.
- Ne touchez jamais la fiche avec des mains humides. Il existe un danger de décharge électrique.
- Ne connectez pas de dispositifs autres que ceux spécifiés.
- Lors du perçage de trous dans les murs pour l'installation ou le cablage ou lors de la fixation du cable d'alimentation, veillez à ne pas endommager la tuyauterie ou le cablage existant.
- Ne laïsez pas le cable d'alimentation exposé à l'extérieur.
Installation
- Ne placez pas ou n'utilise pas ce produit a proximé d'appareils à contrôle automatique, tels que des portes automatiques ou des alarmes incendie. Les ondes radio émises par ce produit peuvent entraîner des dysfonctionnements de ces appareils et provoquer un accident.
- Evitez de tirer ou de tordre le cable d'alimentation ou de le placer sous des objets lourds.
- N'installé pas le support sur une surface instable, dans un lieu soumis à de fréquentes vibrations, au plafond ou sur un mur peu solide (ne l'installé pas sur une plaque de plâtre, sur un bloc de béton, sur des matériaux en bois soumis aux conditions climatiques extérieures, sur des murs à la surface très rugueuse ou sur des surfaces dont la largeur est inférieure à celle du support de montage mural). L'appareil pourrait cause des blessures s'il tombe ou entrainer un incendie ou une décharge électrique si de l'eau penètre dans l'appareil.
- Conservez les petites pièces (cartes microSD, vis, rondeilles, capuchons de plage du détecteur, etc.) hors de portée des enfants. Il y a un risque d'ingestion. En cas d'ingestion, consultez immédiatement un médecin.
Informations importantes
Mesures de précaution
- Débranche le produit de la prise électrique avant tout nettoyage. N'utilise pas de nettoyants liquides ou à aérosol.
- Ne démontré pas le produit.
- Conservez les capuchons de plage du détector hors de portée des enfants. Il y a un risque d'ingestion. En cas d'ingestion, consultez immidiatement un medecin.
- Ne placez jamais d'objets en métal à l'intérieur de l'appareil. Si des objets en métal pénètre dans l'appareil, désactive le disjoncteur et contactez un centre de réparation/agréé.
Précautions Médicales
- Consultez le fabricant de tout apparéil Médical personnel (par exemple stimulateurs cardiaques ou aides auditives) pour vous assurer qu'ils sont correctement protégés contre l'énergie radioélectrique externe. Les fonctionnalités DECT utilisent une fréquence comprise entre 1,88 GHz et 1,90 GHz, avec une puissance de transmission maximale de 250 mW.
- N'utilise pas ce produit dans les établissements de santé si la reglementation affichée dans ces zones vous interfit de le faire. Il est possible que les hopitaux ou les établissements de santé utilisent des équipements potentiellément sensibles à l'énergie radioélectrique externe.
ATTENTION
Installation et emplacement
N'installez jamais le cablage pendant un orage.
L'appareil est conforme à la norme IPX5+, vous ne doivent cependant pas l'exposer intentionnellement à l'eau.
*La norme IPX5 indique que I'appareil est protégé contre les projections d'eau : eau projetée a tous les angles par une buse de 6,3 mm, à un débit de 12,5 litres/minute et une pression de 30~kN / m^2 ,pendant 3 minutes,aune distance de 3 metres.
L'adaptateur secteur est utilisé comme principal organe de déconnexion. Assurez-vous que la prise secteur est installée pres de l'appareil et est facilement accessible.
- Si le câblage est enterré, n'effectuez aucune connexion sous terre.
- Si le câblage est enterré, assurez-vous que le cable d'alimentation et les autres cables sont correctement protégés contre l'eau en les plaçant dans une conduite.
Prévention des accidents et des blessures
Le fil de sécurité doit être utilisé lors de l'installation de l'appareil. Il y a un risque de blessures si l'appareil tombe.
- Ne placez pas les oreilles à proximite du haut-parleur, lessons bruyants émis par le haut-parleur peuvent entraîner des dommages auditifs.
Consignes de sécurité importantes
Lorsque vous utilisez votre produit, observez tous les precautions de sécurité elementaires afin de réduire le risque d'incendie, de décharge électrique et de blessure, notamment :
- Utilisez uniquement le cable d'alimentation indique dans le present document.
CONSERVEZ CES INSTRUCTIONS
Pour des performances optimales
Emplacement du hub et prévention du bruit
Le hub et autres appeareils Panasonic compatibles utilisant des ondes radio pour communiquer les uns avec les autres.
Pour bénéficier d'une zone de couverture maximale et éviter les bruits parasites, il est recommandé d'installer le hub comme indiqué ci-dessous:
- à un emplacement pratique, élevé et central, sans obstacles entre l'appareil et le hub, dans un environnement interieur;
- loin d'appareils électroniques tels que téléviseurs, radios, ordinateurs, périhériques sans fil ou autres téléphones;
-oin de transmetteurs a radiofrequence (par exemple, antennes externes de stations de
telephony mobile). (Évitez de placer le hub sur une baie vitrée ou à proximé d'une fenêtre.)
- Si la réception à l'emplacement du hub n'est pas satisfaisante, déplacez le hub vers un autre emplacement offrant une(Meilleure)réception.
Environnement
- Maintenez le produit éloigné des apparèls générant du bruit électrique, par exemple les lampes fluorescentes et les moteurs.
- Le produit ne devrait pas etre exposé a de la fumée excessive, de la poussière, des températures elevées et des vibrations.
- N'exposez pas l'appareil à la lumière directe du soleil ou à d'autres formes d'éclairage puissant (lampes halogènes, par exemple) pendant des périodes de temps prolongées. (Cela peut endommager le détecteur d'image.)
- Ne placez pas d'objets lourds sur le produit.
Lorsque you n'utilisez pas l'appareil pendant une longue période, debranchez-le de la prise electrique. - Maintenez l'appareil éloigné de toute source de chaleur (radiateur, autocueil, etc.) et ne le laissez pas dans une piece ou la température est inférieure à -20 °C ou supérieure à 50 °C. Evitez également les sous-sols humides.
Veillez a ne pas rayer ou salir le cache de I'objectif ou le détecteur infrarouge. (Cela peut entraîner une réduction de la qualité de l'image, des déctions incorrectes, des anomalies de fonctionnement ou des dommages au niveau du cache de I'objectif et du détecteur infrarouge.) - L'utilisation de ce produit à proximé d'appareils électriques peut cause des interférences. Eloignez-le des apparèils électriques.
Confidentialité et droits à l'image
Lors de l'installation ou de l'utilisation de laamera, veuillez prendre en considération le droit à la confidentialité des tiers.
On entend généralement par confidentialité la possibilité pour une personne ou un groupe de personnes de bloquer la divulgation d'informations les concernant à des personnes autres que celles auxquelles elles souhaitent communiquer les
informations. Le droit à l'image fait reférence à la protection dont chacun bénéficie contre la capture et l'utilisation sans distinction de son image sans son consentement.
Autres informations
Entretien habituel
Pour éviter les déetections incorporetés, débranchez l'appareil avant de proceder à l'entretien habitual.
Nettoyez la surface extérieure de I'appareil avec un chiffon doux humide.
- N'utilisez pas de benzène, diluant ou toute poudre abrasive.
- Ne placez pas l'appareil sous l'eau du robinet.
Qualité d'image de laamera
-
Les images de laamera peuvent partager les caractéristiques suivantes.
-
Les couleurs des images peuvent ne pas correspondre aux couleurs réelles.
- Il est possible que les visages apparaissent fonçés en présence de lumière derrière l'objet (rétroéclairage).
-La qualite d'image peut etre réduite dans les lieux sombres. - Les images peuvent sembler floues lors de l'utilisation de lumières extérieures.
Protection de vos enregistrements
- Ne retirez pas la carte microSD et ne déconnectez pas l'adaptateur secteur du hub lors de la lecture ou de l'écriture de données sur la carte microSD. Les données de la carte pourrait être corrompues.
- En cas d'anomalies de fonctionnement ou d'exposition d'une carte microSD à des ondes electromagnétiques ou de l'électricité statique, les données prsentes sur la carte peuvent être corrompues ou effacées. Nous vous recommendons donc de sauvégarder les données importantes sur un ordinateur ou autre dispositif.
Élimination des équipements usages (uniquement en Union Européenne et
Informations importantes
dans les pays disposant de systèmes de recyclage)

Apposé sur le produit lui-même, sur son emballage, ou figurant dans la documentation qui l'accompagne, ce pictogramme indique que apparéils électriques et électroniques usages, doivent être séparées des ordures menagères. Afin de permettre le traitement, la valorisation et le recyclage adèquats des apparéils usages, veuillez les porter à l'un des points de collecte prévus, conformément à la législation nationale en vigueur. En les éliminant conformément à la réglementation en vigueur, vous contribuez à éviter le gaspillage de ressources précieuses ainsi qu'à protéger la santé humaine et l'environnement. Pour de plus amples renseignements sur la collecte et le recyclage, veuillez vous renseigner auprès des collectivités locales. Le non-respect de la réglementation relative à l'élimination des déchets est passible d'une peine d'amende.
Pour les utilisateurs professionnels au sein de l'Union europeenne
Si vous souhaitez vous débarrasser de pieces d'équipement électrique oulectronique, veillez vous renseigner directement auprès de votre détaillant ou de votre fournisseur.
Information relative à l'élimination des déchets dans les pays extérieurs à l'Union française
Ce symbole n'est reconnu que dans l'Union europeenne. Pour connaître la procEDURE applicable dans les pays hors Union Europeenne, veuillage vous renseigner auprès des autorités locales compétentes ou de votre distributeur.
Plage de communication sans fil
La plage de communication sans fil de chaque appareil du système par rapport au hub est d'environ 50 m à l'intérieur et d'environ 300 m à l'extérieur. Il est possible que la communication sans fil ne soit pas fiable lorsque les obstacles suivants se trouvent entre le hub et les apparêls.
- Écrans ou portes en métal
Murs isolés avec des feuilles d'aluminium
Murs en betonpu en tôle ondulée - Fenêtes à double vitrage
- Plusieurs murs
Lorsque les apparciels se situent a des etages differents ou dans differents batiments
Remarques :
- LevoyantLED de la camera clignote en rouge si laamera est hors de portée du hub. Vousdezavzalsorverifier toutes les connexions, y compris celles du hub.
Informations relatives aux fonctionnalités du détecteur
Laamera disposé de 2 fonctionnalités utilisées pour détecter le mouvement : un détecteur visuel et un détecteur infrarouge (détecteur de chaleur).
Veuillez dire les informations suivantes avant de decide der emplacement dinstallation de la camera.
Remarques :
- Les fonctionnalités de détction de laamera ne sont pas conçues pour les situations nécessitant une fiabilité élevée. Nous vous déconseillons d'utiliser les fonctionnalités de détction dans de telles situations.
- La société Panasonic ne peut être tenue responsable des blessures ou des dommages causés par l'utilisation des fonctionnalités de détction de laamera.
Méthode de détention
| Détecteur visuel Détecteur infrarouge | |
| Laamera déetecte les changements au niveau des images affichées.Laamera déetecte les écarts de luminosité des objets en déplacement. | Laamera déetecte les écarts de températures des objets au niveau des images affichées.Lé détecteur infrarouge utilise les rayons infra-rouges naturellement émis par les personnes, les animaux, etc. pour détecter les écarts de températures survenant dans sa plage de détention. |
Emplacement d'installation
Plage de détention
| Détecteur visuel Détecteur infrarouge | |
| Peut déctector le mouvement partout dans l'image visible. | Peut déctector le mouvement uniquement dans une partie de l'image visible (indiquée ici en gris). |
| • Vous pouvez régler la zone qui peut être déte-c-tée par le détecteur visuel. Pour plus d'in-forma-tions, reportez-vous au Guide de l'utilisateur (pa-ge 27). | • Vous pouvez régler la zone qui peut être déte-c-tée par le détecteur infrarouge. Reportez-vous à la section “Réglage de la plage du détecteur in-frarouge”, page 23. • La détction est impossible lorsqu'il y a des obs-tacles devant le détecteur infrarouge. Retireez les obstacles ou déplacez le détecteur. |
\section*{Caracteristiques principales}
| Décteur visuel Décteur infrarouge | |
| Décte facilité le mouvement en journée ou en présence de lumière. • Il est possible que des mouvements soient dé-tectés de manière incorrecte lorsque les couleurs du sujeit en déplacement et du fond sont similaires. • Il est possible que des mouvements soient dé-tectés de manière incorrecte en cas de change-ments soudains au niveau de la luminosité globale (lorsque des lumières extérieures sont utilisées, par exemple). | Décte facilité le mouvement en cas de différence importance de températures entre les sujets et l'environnement (en hiver ou la nuit, par exemple). • Le décteur ne déetecte pas facilement le mouvement en l'absence de différence de tempêtes entre les sujets et l'environnement (en été ou dans la journée, par exemple). • Si laamera est installée face à une route, il est possible que des mouvements soient déductés de manière incorrecte en raison des interfériences causées par la chaleur généree par le passage des voitures. |
Sens du mouvement
Il est plus facile de détecter les objets qui se déplacent laterralement devant laamera que les objets qui se déplacent en direction de laamera.

① Il est difficile de détecter les mouvements en direction de laamera.
② Il est facile de détecter les mouvements latéraux devant laamera.
③ Plage de détction
④ Camera
Informations relatives au mode de vision nocturne
Laamera dispose de toute une série de voyants LED infrarouges qui s'allument automatiquement en cas de faible éclairage, ce qui permet aux images de laamera d'être lisibles, même lorsque les conditions ambiantes sontsons.
Remarques :
- Lorsque le mode de vision nocturne est actif, les couleurs des images de laamera peuvent différer de la normale.
- Lorsque le mode de vision nocturne est actif, les voyants LED infrarouges qui entourent l'objet de la camera s'allument dans une couleur rouge pale visible dans le noir.
- Si laamera est installée devant une fenêtre et est orientée en direction de la fenêtre, il est possible que les images soient de mauvaise qualité lorsque le mode de vision nocturne est actif.
Emplacement d'installation
Exemples d'emplacements d'installation
Je souhaite détector les visiteurs qui s'approchant de la maison
Reportez-vous au tableau ci-dessous pour détecter les visiteurs au niveau d'une entrée ou d'un portail sans détector les voitures se trouvant dans la rue.
Parfait exemple Mauvais exemple

A Environ 3 m
Les visiteurs passent létalement devant la caméra, il est peu probable que les voitures se trouvant dans la rue occasionnent des déctions incorpètes.

Il est probable que les voitures se trouvant dans la rue occasionnent des detections incorrectes.
Je souhaite détector les personnes qui entrent dans le garage
Reportez-vous au tableau ci-dessous pour détecter les personnes entrant dans le garage sans détecter les voitures se trouvant dans la rue.

Parfait exemple Mauvais exemple
Les visiteurs passent lateralement devant laamera, il est peu probable que les voitures se trouvant dans la rue occasionnent des detections incorrectes.
- Réglez l'emplacement et l'angle d'installation de laamera de manière à ce que les visages ne soient pas cachés par des vehicules hauts.

Il est probable que les voitures se trouvant dans la rue occasionnent des detections incorrectes.
Emplacement d'installation
Ne procédez pas à l'installation dans les lieux suivants
L'installation dans les lieux suivants peut entrainer des déformations, des décolorations, des anomalies de fonctionnement ou des pannes
- À la lumière directe du soleil ou juste en-dessous d'une lumière extérieure (certaines parties de l'appareil peuvent chauffer même si la température ambiente est conforme à la plage de températures de fonctionnement)
- Dans des lieux soumis à des vibrations, des chocs ou des impacts fréquents
- À proximé d'un feu, d'appareils de chauffage, de champs magnétiques (à proximé d'aimants, par exemple) ou de climatiseurs (équipements extérieurs tels que des compresseurs inclus)
- Dans des lieux exposés à laGRAISE ou à la vapeur
- À proximé d'appareils qui émettent de fortes ondes radio (telephones portables, par exemple)
- Dans des lieux soumis à des changements de températures extrêmes (ce qui peut entraîner de la condensation)
- À proximité de côtes directement soumises à des brises marines ou à proximité de sources d'eau chaude sulfurique (l'exposition au sel peut réduire la durée de vie de l'appareil)
- À proximé de téléviseurs, de radios, déquipements de bureau automatisés (ordinateurs, par exemple), de climatiseurs, de chauffe-eaux (avec interphone) ou déquipements de sécurité domestique (cela peut entraîner du bruit)
- À proximé de récepteurs de radiodiffusion par satellite, tels que des synthoniseurs, des téléviseurs avec synthoniseur satellite intégré et des enregistrleurs (les images diffusées peuvent être déformées)
- Dans des lieux ou du sulfure d'hydrogène, de l'ammoniaque, de la poussière ou des gaz toxiques sont présents
L'installation dans les lieux suivants peut entrainer des detections incorrectes
- Dans des lieux où les personnes se déplacent en direction de laamera (allées étroites, par exemple)
A Caméra
Détction difficile

- Dans des lieux où le souffle du vent déplace des objets tels que des arbres ou du linge étendu (les écarts de températures et le mouvement peuvent entrainer des detections incorrectes)

- Sur des routes très fréquentées (le passage des voitures peut entraîner des detections même si les voitures se trouvent à une distance de 5 m ou plus)

Emplacement d'installation
- Dans des lieux affectés par le souffle de ventilateurs, de compresseurs de climatisationurs, de chauffe-eaux ou de systèmes d'échéppement automobiles (les écarts de températures importants peuvent entrainer des déceptions incorrectes)

- Les lieux exposés à des conditions climatiques difficiles, telles que des vents violents (le rouge de laamera peut entrainer des déctions incorrectes) ou des fortes pluies (les fortes pluies peuvent être détectées en tant qu'objet en déplacement devant laamera)
- Dans des lieux avec des objets refléchissants (vitre, par exemple), qui peuvent interférer avec la détction des variations de température
- Dans des lieux où la luminosité change facilement (dans des lieux où des ombres apparaisent dans l'après-midi et où des éclairages sont allumés la nuit)
-
Dans des lieux soumis à des effets de rétroéclairage (les visages apparaissent foncés et sont difficiles à identifier), tels que lieux suivants
-
Dans des lieux où le ciel forme l'essential du fond
- Dans des lieux où la lumière directe du soleil se reflèchit sur un fond ou un mur blanc
-Dans des lieux lumineux, tels que ceux exposés à la lumière directe du soleil
Configuration
Pièces et fonctions

Microphone
2 Capuchon de plaque du détecteur (standard)
3 Detecteur infrarouge
4Voyant LED
5 Objectif
Haut-parleur
7 [B]
Utilisé lors de l'enregistrement de laamera
au niveau du hub
8 Fil de sécurité
9 Support de montage de laamera
16 Cable c.c.
Voyant LED
Vous pouvez vérifier le statut de laamera à l'aide duvoyantLED.
| Voyant Etat | |
| Eteint Pas d'alimentation | électrique ou levoyant LED est éteint1 |
| Vert, allumé Fonctionnement non-mal*1 | |
| Vert, clignotant lente-ment | Mode d'enregistrement |
| Rouge Mouvement détecté | |
| Voyant Etat | |
| Rouge, clignotement lent | Des images en direct sont en cours de vision-nage ou d'enregistre-ment |
| Rouge, clignotant La caméra est hors de portée du hub ou ano-malie de fonctionne-ment du dispositif | |
| Orange, clignotant len-tement | La caméra n'est pas en-registrye au niveau du hub |
*1 Vous pouvez configurer laamera de manière à ce que sonvoyant LED ne s'allume pas lors du fonctionnement normal. Pour plus d'informations, reportez-vous au Guide de l'utilisateur (page 27).
Vue d'ensemble de la configuration
1 Configuration initiale
Assurez-vous de pouvoir acceder au système à l'aide de votre apparéil mobile. Pour plus de détails, reportez-vous au Guide de configuration du système fourni avec le hub.
2 Enregistrement
L'enregistrement n'est requis que si laamera a ete achetee separately (pas dans le cadre d'un ensemble).
3 Verification de la zone d'installation
Lisez les informations du present document pour vous assurer que la zone d'installation souhaitee est adaptee au bon fonctionnement de I'appareil.
4 Installation
Installes la camera à l'emplacement souhaite et connectez la camera à la prise electrique.
5 Reglage de la plage du détecteur infrarouge
Verifiez la plage du détector et procedez aux réglages nécessaires à l'aide des capuchons de réglage de la plage du détector inclus.
Configuration
Enregistrement de laamera
Cette procedure n'est pas requise pour les appar- reils inclus dans un ensemble.
Pour utiliser laamera, vous doivent l'enregistrrer au niveau du hub.
Si laamera n'est pas enregistrée au niveau d'un hub, levoyant LED de laamera clignote lentement en orange.
Voupeuz enregistrer chaque apparéil à l'aide des boutons d'enregistrement ou de l'application [Home Network].
Remarques :
- Avant d'enregistrer laamera, assurez-vous que les adaptateurs secteur du hub et de laamera sont connectés et que chaque apparéil est sous tension.
A l'aide des boutons d'enregistrement
1 Hub :
Appuyez sans relacher sur [B]CAMERA] jusqu'à ce que levoyant LED clignote lentement en vert.
2 Camera :
A l'aide d'un objet avec une pointe fine, appuyez sans relacher sur [B] jusqu'à ce que levoyant LED clignote lentement en vert (page 16).
- Une fois l'enregistrement terminé, le hub émet un long signal sonore.

Remarques :
Pour proceder à l'annulation sans enregistrer la camera, appuyez de nouveau sur la touche [B] au niveau du hub et de la camera.
- En cas d'échéç de l'enregistrement, le hub émet plusieurs signaux sonores courts.
A l'aide de l'application
Lors de l'enregistrement de laamera à l'aide de l'application [Home Network], vous pouvez attribuer un nom à vos apparecs et les regrouper par emplacement.
Pour plus d'informations, reportez-vous au Guide de l'utilisateur (page 27).
Vérification de la zone d'installation
Avant de decide de l'emplacement d'installation de laamera, liquez attentivement le chapitre Emplacement d'installation, qui commence a la page 9, pour vérifier que le sens et l'emplacement d'installation sont corrects.
Configuration
Installation
Précautions d'installation
- N'installez pas laamera au plafond.
- Des trous doivent être percés dans le mur pour le passage des cables et des fils. La société Panasonic ne peut être tenue responsable pour les problèmes liés au perçage de trous dans les murs.
Veillez etanchéifier les trous réalisés dans le mur.
Veillez a fixer le fil de sécurité pour empêcher laamera de tomber. - N'utilise pas de touravis à frapper. (Cela peut endommager les vis ou entrainer un serrage excessif.)
- Installez laamera sur une surface stable en mesure d'en supporter le poids.
L'adaptateur secteur doit être branché sur une prise secteur verticale ou montée au sol. Ne branchez pas l'adaptateur secteur à une prise secteur montée au plafond, car il risque de se débrancher sous l'effet de son poids. - N'installez pas laamera sur un matériel mou. Elle pourrait tomber, se casser ou cause des blessures.
Informations relatives au matériel du mur
Revêtement
Utilisez les vis de 4 mm × 25 mm incluses. Veillez à ce que la résistance à l'arrachement de chaque vis soit d'au moins 294 N (30 kgf).
- Si laamera est uniquement soutenue par le revêtement, ce dernier peut être endommagé. Veillez à installer laamera dans un lieu où la structure derrière le revêtement peut être utilisée pour soutenir le poids de laamera. Si ce n'est pas possible en raison de l'épaisseur du revêtement, utilisez des vis disponibles dans le commerce de 4 mm × plus de 25 mm de longueur.
- Percez un trou de guidage à l'aide d'un foret adapté au type de revêtement. Retirez les débris occasionnés par le perçage du trou de guidage. Ne(percez pas le trou de guidage dans la structure derrière le revêtement.
Mauvais exemple
Aucun soutien derrière la surface extérieure

La structure soutient la surface extérieure

A Revetement
Structure derriere le revêtement
Béton
- N'utilisez pas les vis incluses. Utilisez des vis d'ancrage (ø des vis : 4 mm) conçues pour les murs en béton.
- Lisez attentivement les instructions fournies avec les ancrages. Suivez les consignes concernant le diamètre du foret, la profondeur de trou, etc.
- Percez un trou de guidage. Retirez les débris occasionnés par le perçage du trou de guidage.
1 Marquez la profondeur du trou sur le foret (A), puis percez un trou de guidage.

2 Retirez les débris.

3 Insérez un ancrage, serrez la vis, puis retirez la vis pour fixer l'ancrage.

4 Insérez et serrez la vis.

Support de montage de laamera
Béton cellulaire léger autoclavé
- Il est possible que vous ne puissiez pas fixer la camera selon le type de plaques de béton cellulaire léger autoclavé. Consultez le fabricant des plaques de béton cellulaire léger autoclavé.
- N'utilise pas les vis incluses. Une fois le fabricant des plaques de béton cellulaire léger autoclave consulté, utilisez uniquement des vis d'ancrage en métal disponibles dans le commerce (♂ des vis : 4 mm) conçues pour les plaques de béton cellulaire léger autoclave.
- Lisez attentivement les instructions fournies avec les ancrages. Suivez les consignes concernant le diamètre du foret, la profondeur de trou, etc.
- Percez un trou de guidage. Retirez les débris occasionnés par le perçage du trou de guidage.
- Etanchéifiéz le trou de guidage avec un produit d'étanchéité disponible dans le commerce.
Autres matériaux (mortier, carrelage, etc.)
- N'utilisez pas les vis incluses.
- Consultez le constructeur ou un professionnel autorisé concernant le type d'ancrages adaptés aux matérielles et au lieu d'installation.
- N'installez pas laamera sur une plaque de plâtre ou des blocs de béton.
Configuration
Installation de laamera
1 Fixez le fil de sécurité à laamera.
- Placez l'anneau du fil de sécurité (1) sur le trou de la vis.
- Placez une rondelle (2) sur l'anneau du fil de sécurité.
- Serrez la vis (3) du fil de sécurité sur la rondelle.

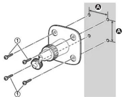
2 Fixez le support de montage de laamera sur un mur extérieur.
Fixez le support au mur en serrant 4 vis (1).
A 37 mm

Remarques :
Utilisez le modele ci-dessous pour déterminer l'emplacement des trous de vis.

Configuration
3 Fixez laamera sur le support en utilisant le trou de fixation du support à l'arrière ou au bas de laamera, en fonction de l'orientation souhaïée pour laamera.
- Desserrez la vis A).
- Insérez l'extrémité du support (①) dans le trou de fixation du support (②) à l'arrête ou au bas.
Fixez la camera en serrant la visB).

Fixation au niveau du trou à l'arrière

Fixation au niveau du trou au bas
4 Reglez l'angle de laamera.
- Desserrez la vis (A), puis réglez l'angle de laamera.
- Serrez la vis (A) tout en maintainant la vis (B) jusqu'à ce que laamera soit fixée.


Configuration
5 Fixez le fil de sécurité au mur.
- Placez l'anneau du fil de sécurité (①) sur le mur.
- Placez la rondelle (2) sur l'anneau du fil de sécurité.
- Serrez la vis (3) du fil de sécurité sur la rondelle.

Remarques :
Fixez le fil de sécurité recourbe.
Fixez le fil de sécurité suffisamment haut sur le mur pour que laamera ne-heurte personne si elle venait a se detacher du mur.
- Ne vous suspendez pas à laamera ou au support.
6 Connectez le cable c.c. à l'adaptateur secteur.
Tirez le cable c.c. à l'intérieur, puis connectez la fiche du cable c.c. (1) à la fiche de l'adaptateur secteur (2).
- Connectez l'adaptateur secteur (3) à la prise électrique.
A Exterieur
3 Intérieur

Remarques :
Utilisez uniquement I'adaptateur secteur Panasonic PNLV236CE fourni.
Veillez a connecter la fiche du cable c.c. et la fiche de l'adaptateur secteur à l'intérieur.
Remarque relative aux connexions électriques
Connexion de l'adaptateur secteur
L'adaptateur secteur doit etre branchen permanence.(ll est normal que I'adaptateur soit chaud pendant son utilisation.)
L'adaptateur secteur doit être branché sur une prise secteur verticale ou montée au sol. Ne branchez pas l'adaptateur secteur à une prise secteur montée au plafond, car il risque de se débrancher sous l'effet de son poids.
Panne de courant
- Laamera ne fonctionne pas pendant les pannes de courant.
Test de la plage de détention de mouvement
Une fois l'application [Home Network] installée sur votre dispositif mobile, vous pouvez tester les performances des fonctionnalités de détction de mouvement de laamera à l'aide de votre dispositif mobile.
Pour plus d'informations, reportez-vous au Guide de l'utilisateur (page 27).
1 Lancez l'application [Home Network] et affichez les images en direct de laamera
2 Placez-vous dans le champ de vision de laamera.
3 Tout en vous rapprochant de laamera, utilisez votre dispositif mobile pour déterminer où vous vous trouvez dans le champ de vision lorsque les fonctionnalités de détction de mouvement de laamera sont déclenchées.
- Lorsque les fonctionnalités de détention de mouvement sont déclenchées, le voyant LED de laamera s'allume en rougependant environ 3 secondes.
4 Notez les zones du champ de vision ou des mouvements sont détectés et procédez aux réglages nécessaires.
Remarques :
- Vous pouvez régler la zone qui peut être détectée par le détecteur visuel. Pour plus d'informations, reportez-vous au Guide de l'utilisateur (page 27).
- Vous pouvez régler la zone qui peut être détectée par le détector infrarouge.
Reportez-vous à la section "Réglage de la plaque du détector infrarouge", page 23.
Test du microphone
Pour tester le microphone, parlez de manière claire et audible dans le microphone pendant que l'utilisateur d'un dispositif mobile visionne les images en direct de laamera.
Réglage de la plage du détecteur infrarouge
S'il y a des objets que vous ne souhaitez pas que le détecteur infrarouge détecte, vous pouvez régler la plage de détction en fixant des capuchons de plage du détecteur.
Types de capuchons de plage du détecteur et zone de détction
Parallelement au capuchon standard (déjà fixé à laamera), il y a 4 types de capuchons (capuchons 1-4). Chaque capuchon bloque différentes zones de la plage du détecteur et peut être incliné par incréments de 45 degrés. Reportez-vous à ce qui suit et inclinez correctement le capuchon correspondant.
- Les zones de détction indiquées ici sont des valeurs approximatives lorsque le paramètre [Capteur IR] est régèle sur [Normale]. Pour plus d'informations, reportez-vous au Guide de l'utilisateur (page 27).
- La zone de détention tourne en fonction de l'inclinaison du capuchon de plage du détecteur.
Annexe
| Situation et types de capuchons | Plage de détction approximative (vue du dessus)1 | ||
| 20 °C 0 °C 30 °C | |||
| Lorsque vous souhai- tez que les deux côtés de laamera puissant été détectés Capuchon standard (fixé à laamera) | A 5 m | B 6 m | C 4 m |
| Lorsque vous souhai- tez qu'un côté ne puis- se pas été détecté Capuchon 1 Capuchon 2 Capuchon 3 | (Example) Capuchon 1 A 5 m (Amp) A 5 m | (Example) Capuchon 1 B 6 m (Bmp) A 5 m | (Example) Capuchon 1 C 4 m (Cmp) A 5 m |
| Lorsque vous souhai- tez qu'aucun des cô- tés ne puisse être détecté Capuchon 4 | (Example) Capuchon 4 A 5 m (Amp) A 5 m | (Example) Capuchon 4 B 6 m (Bmp) A 5 m | (Example) Capuchon 4 C 4 m (Cmp) A 5 m |
*1 Varie en fonction de la température ambiente au niveau du lieu d'installation de laamera. Les valeurs numériques sont approximatives. La zone de détention est indiquée par
A propos de l'angle de fixation du capuchon de plage du détecteur
Example 1
Lorsqu'un objet dont vous ne souhaitez pas que la détction soit possible se trouve à droite du champ de vision (des arbres, par exemple):
Fixez l'un des capuchons 1-3 comme indiquedans I'exemple A) en fonction de la zone dont vous ne souhaitez pas la détction.
Example 2
Lorsqu'un objet dont vous ne souhaitez pas que la détction soit possible se trouve en haut a gauche du champ de vision (des voitures dans une rue, par exemple):
Fixez l'un des capuchons 1-3 comme indiquedans I'exemple) en fonction de la zone dont vous ne souhaitez pas la détction.

Annexe
Remplacement des capuchons de plage du détecteur
1 Retirez le capuchon standard fixe.

2 Retirez un des 4 types de capuchons de plaque du détecteur (①) et fixez-le sur le détecteur (②).
- Lors de la fixation, tournez la languette) du capuchon vers le haut ou à un angle de 45 degrès, selon le type de capuchon ou le sens, et fixez le capuchon sur laamera, comme indiqué sur l'illustration suivante.

Fonctionnalités disponibles lors de l'utilisation de l'application [Home Network]
Certaines des fonctionnalités disponibles lors de l'utilisation de l'application [Home Network] sont repertoriées ci-dessous. Pour plus d'informations, reportez-vous au Guide de l'utilisateur (page 27).
- Système d'alarme
Voupsousvezutiliserl'application pouractiver et desactiverlesystemed'alarme,vérifierI'état du détecteuretconsulterlejournaldesevénements survenus.
- Surveillance en direct à l'aide de laamera
Vou puevez visionner des images en direct de laamera, meme lorsque vous n'etes pas chez vous.
-Interphone
Yououpouvezparleraetecouterlespersonnesaportedu haut-parleur et du microphone de lacameraa l'aide devoirtedispositifmobile.
- Réglage du détecteur
Vouspouvezreglierlesfonctionalitésde détctionde mouvement de la camera,tellesque la sensibilité de détction et la zone de détction.
- Intégration du détecteur
Voupez configurer les fonctionnalités de détction de laamera de maniere à ce qu'elles déclenchent d'autres événements système, tels que l'enregistrement par laamera1,l'activation d'un appeareil electrique (une lampe, par exemple),etc.(Appareil adapté requis.) *1 Une carte microSD disponible dans le commerce doit être insérée dans le hub pour permettre l'enregistrement d'images.
- Notification
Vous pouvez configurer laamera de maniere a ce qu'elle envoie une notification a l'application [Home Network] lorsque laamera detecte des mouvements.
Accès au Guide de l'utilisateur
Le Guide de l'utiliser regroupe des documents en ligne qui vous aient à profiter pleinement de l'application [Home Network].
1 iPhone/iPad
Appuyez sur au niveau de l'écran d'accueil de l'application.
Appareils AndroidTM
Appuyez sur ; ou appuyez sur le bouton de menu du dispositif mobile au niveau de l'écran d'accueil de l'application.
2 Appuyez sur [Guide de l'utilisateur].
Remarques :
- Les versions 8 et antérieures de l'application Microsoft Windows Internet Explorer ne sont pas prises en charge.
- Les versions 4.1 et plus récentes de l'application Android sont recommandées.
- Vous pouvez également acceder au Guide de l'utilisateur à partir de la page Web indiquée ci-dessous.

www.panasonic.net/pcc/support/tel/homenetwork/manual/
Annexe
\section*{Caracteristiques}
Normes
Telecommunications:telecommunications
numériques sans fil améliorées)
- Plage de fréquences
1.88 GHz - 1.90 GHz
Puisance de transmission de radiofrequence
Environ 93 mW (puissance moyenne par canal)
250 mW (maximum)
- Alimentation électrique
220-240Vc.a.,50/60Hz
- Consommation
Veille:2,3W
En fonctionnement :
3.1 W (lorsque les voyants LED sont eints)
4.5 W (lorsque les voyants LED sont allumés)
- Conditions de fonctionnement
-20°C -50°C
Jusqu'à 90 % d'humidité relative (sans condensation)
- Plage de transmission
Environ 50 m à l'intérieur
Environ 300 m à l'extérieur
- Deteceur d'image
CMOS, 0,3 megapixel
-
Eclairement minimal requis 0 |x*1
-
Distance facale
Fixe (0,4m - infini)
- Champ de vision angulaire (angle de la camera)
Horizontal: environ 70^
Vertical: environ 50^
- Méthode de détention de mouvement
Detecteur infrarouge pyroelectrique (detecteur infrarouge de précision) et detecteur visuel
- Plage de détction du détecteur infrarouge de précision (lorsque la température ambiente est d'environ 25^ )
Horizontal: environ 70^
Vertical: environ 20^
Plage de détction : environ 5 m
- Plage de détention du détecteur visuel
Horizontal: environ 70^
Vertical: environ 50^
- Classement IP
IP55*2
- Angles de montage réglibres
Horizontal: ±90°
Vertical: vers l'avant - vers le bas environ 60^ (réglable lors du montage)
- Dimensions (hauteur × largeur × profondeur)
Environ 75mm× 75mm× 173mm
Poids
Environ 305g
*1 Les voyants LED infrarouges qui entourent l'objet de laamera s'allument en cas de faible éclairage.
*2 La résistance à l'eau n'est assurée que si la camera est installée correctement, conformément aux instructions du Guide d'installation et que si des mesures de protection contre l'eau adaptées sont prises.
Symboles graphiques utilisables sur l'equipement et description
| Symbole Explication Symbole Explication | ||
| ~ Courant alternatif (c.a.) Équipe ment de catégorie II (équipement dont la protection contre les décharges électri-ques est basée sur une iso- tion double ou renforcée) | (Cycle) | |
| --- Courant continu (c.c.) "Marche" (electricité) | ( | "Arrêt"(électricité) |
| Veille (electricité) | ||
| "Marche"/"Arrêt"(électricité; push-push) | ||
| Pour l'utilisation en interieur uniquement | Attention, risque de décharge électrique |
Références à nous communiquer lors de tout contact
Il est recommandé de garder ces informations à portée de main lors de toute demande de réparation sous garantie.
| N° de série Date d'achat |
| (à l'arrête de l'appareil) |
| Nom et adresse du vendeur |
Joignez notre ticket de caisse ici.
Panasonic Corporation
1006, Oaza Kadoma, Kadoma-shi, Osaka 571-8501, Japan
http://www.panasonic.com
Notice Facile