HX80NRAM - Détecteur de mouvements OPTEX - Notice d'utilisation et mode d'emploi gratuit
Retrouvez gratuitement la notice de l'appareil HX80NRAM OPTEX au format PDF.
| Caractéristiques Techniques | Détecteur de mouvements infrarouge passif, portée jusqu'à 12 mètres, angle de détection de 80°. |
|---|---|
| Alimentation | Pile 9V, autonomie variable selon l'utilisation. |
| Utilisation | Idéal pour la surveillance de l'intérieur et de l'extérieur, compatible avec les systèmes d'alarme. |
| Installation | Montage mural ou plafond, instructions d'installation fournies dans le manuel. |
| Maintenance | Vérification régulière des piles, nettoyage des capteurs pour éviter les fausses alarmes. |
| Sécurité | Résistant aux intempéries, conçu pour minimiser les fausses détections. |
| Informations Générales | Garantie de 2 ans, support technique disponible pour assistance. |
FOIRE AUX QUESTIONS - HX80NRAM OPTEX
Questions des utilisateurs sur HX80NRAM OPTEX
0 question sur cet appareil. Repondez a celles que vous connaissez ou posez la votre.
Poser une nouvelle question sur cet appareil
Téléchargez la notice de votre Détecteur de mouvements au format PDF gratuitement ! Retrouvez votre notice HX80NRAM - OPTEX et reprennez votre appareil électronique en main. Sur cette page sont publiés tous les documents nécessaires à l'utilisation de votre appareil HX80NRAM de la marque OPTEX.
MODE D'EMPLOI HX80NRAM OPTEX
pour montage en hauteur
HX-BONRAM


N219
| HX-80NRAM | Batterie fonctionnant avec 2 PIRs et anti-masquage |
Fonctionnement avec batterie •
Logique d'économie de la batterie•
Compatible avec la plupart des émetteurs radio•
Zone de détection longue distance (24,0 m)•
Réglage d'une zone de détection adaptable à l'aide • de plaque obturatrices et plaques
Nouveau pyro-élément•
Intelligent AND Logique•
Logique d'adjustment automatique de la sensibilité•
Logique d'analyse de la végétation•
• Anti-masquage numérique
SOMMAIRE
1 PRECAUTIONS D'INSTALLATION .....2
1-1 AVANT L'INSTALLATION .....2
1-2 IDENTIFICATION DES PIECES .....3
1-3 PRE-PERCAGE ....3
2 ZONE DE DETECTION ....4
2-1 CONFIGURATION DE LA ZONE DE DETECTION ....4
2-2 REDUCTION DE LA ZONE DE DETECTION LONGUE DISTANCE ...6
2-3 DESACTIVER LA ZONE DE DETECTION COURTE DISTANCE ...8
3 PREPARATION 10
3-1 PREPARATION DE L'EMETTEUR RADIO ....10
3-2 PREPARATION DE LA BATTERIE ....11
4 INSTALLATION (BATTERIE ET EMETTEUR RADIO)....12
4-1 MONTAGE DE LA BATTERIE .....12
4-2 MONTAGE DE L'EMETTEUR RADIO ET DU BOITIER DE LA BATTERIE ...15
5 INSTALLATION (ROTULE ET UNITE PRINCIPALE)....16
5-1 INSTALLATION AVEC ROTULE ....16
5-2 REGLAGE DE L'ANGLE VERTICAL ....18
5-3 INSTALLATION SANS ROTULE ...18
5-4 CABLAGE 19
5-5 AUTOPROTECTION DU MUR (OPTION)....20
6 TEST DE MARCHE 22
7 REGLAGE 22
8 VOYANT LED 26
9 SPECIFICATIONS 27
9-1 SPECIFICATIONS 27
Le non respect des instructions suivantes ou une manipulation inappropriée peut provoquer la mort ou blesser quelqu'un.

Attention
Le non respect des instructions suivantes out une manipulation inappropriée peut provoquer des dommages aux personnes et/ou aux biens.
Le signe coche vindique une recommandation.
Le signe non Ⓞ indique une interdiction.
| ⚠ Avertissement Avertissement | ⚠ Attention | |
![]() | ![]() | ![]() |
| Ne par réparer ou modifier le produit | Tenir le produit éloigné de l’eau | Monter l’unité en sécurité |
Hauteur du montage

text_image
2,5 m - 3,0 m (8'2" - 9'10")Maintenir le détecteur parallèle au sol.

text_image
Parallèle
text_image
Ne pas inclinerPrendre en compte la direction d'où vient la personne qui s'approche ainsi que la zone de détection.

Installer le détecteur dans un endroit dégagé de tout facteur susceptible de déclencher une fausse alarme tel que:
• Lumière du soleil et réflexion

- Objet balancé par le vent

text_image
Base de la rotule Boîtier de batterie Boîtier de batterie Rothule Couvercle de puits Vis de blocage* (M4 × 35 mm) Vis (4 × 20 mm) Accessoires Base Bornes Unité principale PIR1 (Ne pas toucher) LED infrarouge anti-masquage PIR2 (Ne pas toucher) Voyant LED Capot Lentille Vis de blocageAccessoires
Fils de batterie

Câble d'alarme

Bandes Velcro

Batterie factice

Vis
| Pour raccord Pour montage au mur | |
| Vis (4 × 20 mm) | Vis (4 × 20 mm) |
* Vis de blocage attachée à la base de la rotule
(Emetteur radio et batterie non-inclus)
1-3 PRE-PERCAGE

text_image
RotuleUnité principale Trou câblage Position d'installation du commutateur magnétique universel (standard) Pré-perçage pour câblage Pad éponge pour câblage Vis de blocage haut-bas pour la rotule Pour fixation au mur/fixation à la rotule (pas d'installation de 83,5mm (3,29")) Pour fixation au mur Vis de réglage Pour fixation de la boîte d'interruption Trou câblage Ne pas toucher Vis de blocage haut-bas Pour fixation de l'unité principale2 ZONE DE DETECTION
2-1 CONFIGURATION DE LA ZONE DE DETECTION

text_image
Plaque obturatrice 1 Plaque supérieur Plaque obturatrice 2 Plaque inférieur Indicateur de position pour fixation des plaques Indicateur de position pour fixation des plaque obturatricesZONE DE DETECTION (réglage d'usine)

2-2 REDUCTION DE LA ZONE DE DETECTION LONGUE DISTANCE
Pour régler la détection longue distance, positionner les plaques supérieur et inférieurde telle manière:

text_image
Plaque supérieur Indicateur de position pour fixation des plaques Plaque inférieur1 Tirer la plaque.

Si la plaque inférieur se trouve sur la position réglage d'usine, la faire glisser à l'aide du pouce.

2 Déplacer la plaque jusqu'à la position correspondant à la distance de détection souhaitée.

3 Appuyer sur la plaque jusqu'à ce qu'elle s'enclenche.

Réduction de la zone de détection longue distance PIR
Il est possible de limiter la distance de détection à l'aide d'une combinaison de position des plaques.
Le tableau situer ci-dessous sert à déterminer la position des plaques pour ajuster la distance de détection maximale souhaitée.
NOTE:
- La distance varie en fonction des conditions de l'environnement.
- Veiller à toujours effectuer un test de marche pour vérifier la distance de détection.

text_image
Réglage d'usine a c Réglage d'usine b d| Supérieur\Inférieur | Réglage d'usine | b | d |
| Réglage d'usine | 24,0 m (80') | Hors disponible | Hors disponible |
| a | 1 18,0 m (60') | 2 13,0 m (42'8") | Hors disponible |
| c | Hors disponible | 3 10.0 m (32'10") | 4 6,5 m (22') |
Note : Ne pas utiliser d'autres combinaisons que celles citées ci-dessous pour régler les plaques.

text_image
plaques: 3,0m(9'10") 3,0m(9'10') 5m10m 18m(60') 5 Masquage Position supérieure: a, Position inférieure: Réglage d'usine
text_image
13m(42'8") 5m10m 3,0m(9'10") Position supérieure: a, Position inférieure: b Masquage
text_image
10m(32'10") 5m Masquage Position supérieure: c, Position inférieure: b
text_image
6,5m(22') 5m 3,0m(9'10") ④ Masquage Position supérieure: c, Position inférieure: d2-3 REDUCTION DE LA ZONE DE DETECTION LONGUE DISTANCE
Pour régler la zone de détection courte distance, régler les plaque obturatrices supérieure et inférieure de la manière suivante:

text_image
Plaque obturatrice 1 Plaque obturatrice 2 * Les plaque obturatrices 1 et 2 sont identiques Indicateur de position pour fixation des plaque obturatrices2 Insérer la/les plaque obturatrice(s) dans la position de distance de masquage souhaitée et vérifier qu'elle(s) soit/soient enclenchée(s).

3 En cas de plaque obturatrice non utilisée, la placer dans la position de réserve.

Faire attention à ne pas égarer les plaque obturatrices.
Désactivation de la zone de détection courte distance PIR
Le tableau situer ci-dessous sert à déterminer la position des plaque obturatrices pour ajuster la distance de détection maximale souhaitée.

text_image
g i h j| Supérieur\Inférieur | Nonutilisé | j | h |
| Nonutilisé | Réglaged'usine | 1 | Horsdisponible |
| i | Horsdisponible | 2 | 3 |
| g | Horsdisponible | Horsdisponible | 4 |
Note : Pour le réglage des plaque obturatrices, ne pas utiliser d'autres combinaisons que citées ci-dessous.

text_image
24m(80') 5m10m20m 3,0m(9'10") ① Masquage Position supérieure: Réglage d'usine, Position inférieure: j
text_image
24m(80') 5m10m20m 3,0m(9'10") ② Masquage Position supérieure: i, Position inférieure: j
text_image
24m(80') 5m10m20m 3,0m(9'10") ③ Masquage Position supérieure: i, Position inférieure: h
Pour utiliser HX-80NRAM, préparer les émetteurs radio et les batteries. Vérifier d'abord le schéma de procédé suivant:
- Taille de l'émetteur radio • Type de batterie • Référence • Préparation de la batterie

flowchart
graph TD
A["Est-il possible de placer l'émetteur radio dans l'espace entre la base et l'unité principale (voir 3-1) ?"] -->|Oui Out| B["Est-ce que l'émetteur radio utilise une des batteries de dessous? CR123, CR2, ou 1/2AA?"]
A -->|Non| C["Modifier l'émetteur radio."]
B --> D["Il est possible de partager les batteries de HX-80NRAM. Préparer les batteries nécessaires, qui sont du même type que dans l'émetteur radio."]
D --> E["Se référer au «Partage de batterie» au point 3-2."]
B -->|Non| F["Il n'est pas possible de partager les batteries de HX-80NRAM. Préparer les batteries nécessaires pour HX-80NRAM."]
F --> G["Se référer au «Non-partage de batterie» au point 3-2."]
3-1 PREPARATION DE L'EMETTEUR RADIO
Les émetteurs radio peuvent être installés dans un des deux cas selon leur taille, comme indiqué ci-dessous.
Cas 1) 122 × 50 × 33 mm Cas 2) 80 × 50 × 22 mm

text_image
Boîtier de batterie Emetteur radio 122 33
text_image
22 140 80 Emetteur radio Boîtier de batterie 153-2 PREPARATION DE LA BATTERIE
-Partage des batteries
(Se référer au point 4-1)
Il est possible d'alimenter HX-80NRAM et l'émetteur radio à partir du boîtier de batterie.

flowchart
graph TD
A["Emetteur radio"] --> B["Batterie factice"]
B --> C["ALARME"]
D["Boîtier de batterie HX-80NRAM"] --> E["ALIMENTATION ELECTRIQUE"]
E --> F["SORTIE DE COURANT"]
G["ALARME"] --> B
H["ALIMENTATION ELECTRIQUE"] --> B
I["SORTIE DE COURANT"] --> D
HX-80NRAM Unité principale
Le type de batterie sera le même que pour l'émetteur radio.
| Type C | R123A CR | R2 1/2AA | 1/2AA(*1) | |
| Tension | 3,0VDC 3, | 0VDC 3,6 | VDC | 7,2VDC(*1) |
| Nombre de cellules à utiliser | 3 cellules | 3 cellules 3 | cellules | 6 cellules (*1) |
*1: 3,6 VCC 1/2 AA batterie en série
-Non-partage de batterie
(Se référer au point 4-1)
Séparer les batteries de HX-80NRAM de l'émetteur radio.

text_image
Emetteur radio Boîtier de batterie HX-80NRAM Type CR123A Tension 3,0VDC Nombre de cellules à utiliser 3 cellules Si des cellules de batter disponibles, on peut ren (3,0 VCC). * Ne pas utiliser les bat SORTIE DEFAULT ALARME ALIMENTATION ELECTRIQUE SORTIE DE COURANTHX-80NRAM Unité principale
| Type CR123A | |
| Tension 3,0VDC | |
| Nombre de cellules à utiliser | 3 cellules |
Si des cellules de batterie CR123A ne sont pas disponibles, on peut remplacer par trois batteries CR2 (3,0 VCC).
* Ne pas utiliser les batteries ou les fils.
4 INSTALLATION (BATTERIE ET EMETTEUR RADIO)
-Procédure d'installation

flowchart
graph TD
A["DETERMINATION DE LA DISTANCE DE DETECTION"] --> B["MONTAGE DE LA BATTERIE\n-Partage des batteries possible\n-Partage des batteries impossible"]
B --> C["MONTAGE DE L'EMETTEUR RADIO ET LE BOITIER DE BATTERIE"]
4-1 MONTAGE DE LA BATTERIE
-Partage des batteries possible
Avertissement
Ne pas utiliser des batteries de capacités différentes (par ex.: mélanger les batteries neuves et usagées) ou de fabricants et/ou de types différents. Le non respect de ce qui précède peut provoquer une explosion, une fuite d'électrolyte, une émission de gaz toxiques ou une autre conséquence dommageable aux personnes et aux biens.
1 Enlever le boîtier de batterie.

text_image
Tirer Ouvrir les pinces (à 2 emplacements). Dégager les bossages (à 2 emplacements).2 Enlever le couvercle du boîtier de batteries.

text_image
Soulever et enlever Ouvrir légèrement les pinces (à 2 emplacements).3 Monter les batteries et placer le couvercle dans la direction indiquée sur le côté du boîtier de batteries.
Saisir fermement le couvercle avec les pinces sur les côtés droite et gauche.
CR123A×3 (3,0VDC) 1/2AA×3 (3,6VDC) CR2×3 (3,0VDC) 1/2AA×6 (7,2VDC×3) (*1)

*1: 3,6 VDC 1/2 AA Batteries en séries.
Attention>>
Ne pas mettre en contact les extrémités des fils rouge et noir afin d'éviter un court circuit.

4 Ouvrir le couvercle de l'émetteur radio et retirer les batteries.
5 Placer le fil de batterie (inclus dans l'ensemble) et une batterie factice dans le boîtier de batterie de l'émetteur radio.

CR123A
CR2
1/2AA
1/2AA
FIL DE BATTERIE (rouge)

text_image
FIL DE BATTERIE (noir)Batterie factice
* Tourner et couper la partie qui convient au type de batterie.
6 Connecter le câble d'alarme au l'émetteur radio et fermer le couvercle.

text_image
Emetteur radio Faire sortir le cable d'alarme à travers le trou Câble d'alarme Batterie factice-Partage des batteries impossible
Placer 3 cellules de CR-123A (recommandé) ou CR2.
⚠ Avertissement
Ne pas utiliser des batteries de capacités différentes (par ex.: mélanger les batteries neuves et usagées) ou de fabricants et/ou de types différents. Le non respect de ce qui précède peut provoquer une explosion, une fuite d'électrolyte, une émission de gaz toxiques ou une autre conséquence dommageable aux personnes et aux biens.
1 Enlever le boîtier de batterie de l'unité principale. Ouvrir les pinces
Tirer
Ouvrir les pinces
(à 2 emplacements).

text_image
Dégager les bossages (à 2 emplacements).2 Enlever le couvercle du boîtier de batteries.

text_image
Soulever et enlever Ouvrir légèrement les pinces (à 2 emplacements).3 Après installation des batteries, vérifier le guide sur le coté et installer le couvercle. Saisir fermement le couvercle avec les pinces sur les cotés droite et gauche.

text_image
CR123A CR2 -4 Connecter le câble d'alarme à l'émetteur radio et fermer le couvercle.

text_image
Emetteur radio Câble d'alarme Faire sortir le cable d'alarme à travers le trouAttention>>
Ne pas mettre en contact les extrémités des fils rouge et noir afin d'éviter un court circuit.

4-2 MONTAGE DE L'EMETTEUR RADIO ET DU BOITIER DE BATTERIE
1 En utilisant une bande velcro (fournie), installer l'émetteur radio à l'unité principale.

(Voir 3-1.) (Voir 3-1.)
2 Connecter le câble d'alarme au bornier de l'unité principale.
3 Installer le boîtier de batterie dans l'unité principale et connecter les bons fils au bornier. (voir câblage en 5-4.)
Exemple du Cas 1 Exemple du Cas 2

text_image
① Enclencher les bossages (à deux endroits) ② Insérer et fixer ici. ③ Enclencher les pinces (à deux endroits).
text_image
① Enclencher les bossages (à deux endroits). ② Insérer et fixer ici. ③ Enclencher les pinces (à deux endroits).Attention>>

Fixer les fils de batteries et le câble d'alarme dans les rainures tel qu'indiqué dans le schéma. Couper l'excès des câbles à la longueur nécessaire. Les fils dépassant risquent de se coincer par la base.
5 INSTALLATION (ROTULE ET UNITE PRINCIPALE)
Utiliser la rotule pour une utilisation normale. L'unité peut être installée directement au mur, sans rotule, si les trois conditions suivantes sont rassemblées:
La hauteur du montage est inférieure à 3 m (9'10").
Un réglage horizontal n'est pas nécessaire.
Le sol est nivelé.
5-1 INSTALLATION AVEC ROTULE
L'utilisation de la rotule permet le réglage horizontal de plus/moins 90 degrés. Si le sol est inégal et donc non parallèle à la base de l'unité, on peut régler l'unité verticalement de plus/moins 20 degrés.

text_image
90° 90°
Ne pas modifier la distance de détection à l'aide de la rotule. Utiliser les plaques et les plaque obturatrices pour ajuster la distance de détection.

text_image
20°1 Enlever la vis de blocage haut-bas.

2 Pousser l'appui de couvercle de puits tout droit pour retirer le couvercle de puits.

text_image
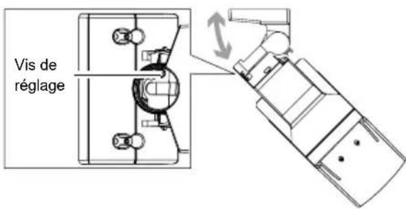
Couvercle de puits Appui de couvercle de puits Appuyer avec un outil adapté, e.g. un petit tournevis.3 Desserrer les vis de réglage de deux tours.

text_image
Vis de réglage Attention>> Ne pas trop desserrer les vis. Les vis se sépareraient de l'unité.4 Déterminer la direction horizontale (gauche ou droite) du détecteur avant de fixer la rotule au mur.

text_image
Vers la droite Vers la gauche5 Défoncer le pré-perçage de câble et de la vis de blocage pour le support.

6 Faire passer le câble à travers le pré-perçage de la base et installer la base à la rotule.

7 Serrer la vis de réglage dans le sens horaire.

text_image
Vis de réglage8 Connecter au bornier et fixer l'unité principale et la lentille à la base.

10 Renlever le couvercle et l'unité principale pour serrer la vis de blocage, et remettre l'unité principale et le couvercle sur la base.
11 Mettre le couvercle de puits à sa place.
5-2 REGLAGE DE L'ANGLE VERTICAL
Pour obtenir une meilleure performance, installer le détecteur parallèle au sol. Choisir la distance de détection souhaitée et régler les positions des plaques et plaque obturatrices. Explication détaillée en 2-2 et 2-3.

text_image
Effectuer un test de marche pour vérifier que le détecteur est parallèle au sol. 24,0 m (80') 3,0 m (9'10") * Cette description est valable pour une distance de détection comprise entre 0 m (0') et 24,0 m (80'). Si la distance de détection est plus courte que celle réglée au préalable (voir page 7), modifier l'angle du détecteur vers le haut. Si la distance de détection est plus longue que celle réglée au préalable (voir page 7), modifier l'angle du détecteur vers le bas. Si la distance de détection correspond à celle réglée au préalable (voir page 7), le réglage est terminé.Attention>>
Si la base de l'unité est déjà parallèle au sol, ne pas modifier la distance de détection en • inclinant l'unité vers le haut ou le bas. (Voir 5-1 pour détails).
Exemple (le sol est nivelé) 0 degré correspond à l'origine.
Ajuster de 2 cliquets (2,5 degrés vers le —— haut) pour 2,5 m (8'2") de hauteur d'installation.
Ajuster de 1 cliquet (1,25 degrés vers le haut) pour 3,0 m (9'10") de hauteur d'installation. —

1 Fixer la base au mur.

2 Placer l'unité principale dans la base.

*1: Bornes AUTOPROTECTION à raccorder à une boucle de supervision de 24 heures.
-Partage des batteries

text_image
Emetteur radio Batterie factice Boîtier de batterie ALARME ALIMENTATION ÉLECTRIQUE SORTIE DE COURANT TAMPER NO 1 COM NC TROUBLE OUT (T.O.) SP NO ALARM COM NC POWER OUT - + POWER IN HX-80NRAM Unité principale-Partage des batteries impossible
Utiliser un émetteur radio avec deux entrées • et connecter une des entrées au câblage d'alarme et l'autre au câblage défaut du HX-80NRAM.
NOTE: Si l'émetteur radio a une entrée à batterie faible, le raccorder au câblage défaut.
Utiliser 2 petits émetteurs radio et connecter • l'un au câblage d'alarme et l'autre au câblage défaut (la taille des émetteurs radio doit être suffisamment petite pour entrer dans les espaces internes de HX-80NRAM (A/B).

text_image
Emetteur radio Boîtier de batterie SORTIE DEFAULT ALARME Non utilisé ALIMENTATION ELECTRIQUE SORTIE DE COURANT TAMPER COM NC TROUBLE OUT / T.O.I SP NO ALARM COM NC POWER OUT POWER IN HX-80NRAM Unité principale5-5 AUTOPROTECTION DU MUR (OPTION)
Un commutateur magnétique peut être monté pour l'autoprotection du mur.
Un espace pour l'installation du commutateur magnétique est disponible au dos de l'unité principale et de la rotule.
Taille maximum d'un commutateur magnétique utilisable: D 9 mm (0,35") × W 40 mm (1.57") × H 9 mm (0.35").
Le commutateur magnétique n'est pas fourni.
Unité principale

Emplacement pour l'installation du commutateur magnétique (côté mur)
Emplacement pour
l'installation du commutateur
magnétique (côté base)
Rotule

text_image
Trou câblageEmplacement pour l'installation du commutateur magnétique (côté rotule)
Emplacement pour
l'installation du
commutateur magnétique (côté mur)
-CABLAGE
Emetteur radio

text_image
Commutateur magnétique TAMPER NO COM L N TROUBLE OUT (TC)HX-80NRAM Unité principale
-Installation
1 Installer le commutateur magnétique (côté mur) au mur. Se servir du modèle d'emplacement pour l'installation présent au dos de l'emballage du produit pour déterminer l'emplacement de l'installation.

2 Défoncer le pré-perçage du câblage à l'aide d'un outil adapté, e.g. un petit tournevis.

3 Installer l'autre partie du commutateur magnétique au dos de l'unité principale ou de la rotule. Tirer les câbles à travers les pré-perçages.

text_image
Sans utilisation de la rotule Avec utilisation de la rotule ① Fixer ② Entrée ③ Sortie ④ Pad éponge du câblage ⑤ Sortie ⑥ Pad éponge du câblage Incliner la rotule à environ 45 degrés pour y faire passer le câble. Entrée Commutateur magnétique Entrée Fixer4 Installer la rotule et l'unité principale à la surface murale.
5 Raccorder le câble du commutateur magnétique au bornier d'autoprotection de l'unité principale et au bornier de l'emetteur radio.
6
TEST DE MARCHE
1 Positionner l'interrupteur DIP 1 (mode de test de marche) sur ON (Test).

text_image
ON 1 2 3 4 5 6 7Note>>
• La position de l'interrupteur sur ON (TEST) correspond au réglage d'usine.
2 Vérifier qu'un objet est détecté dans la zone de détection testée. L'installation est réussie si la LED s'allume 2 secondes après qu'une personne marche dans la zone de détection.

text_image
Détecté Non détectéNote>>
Pour le test de marche, se déplacer à plus de 1m (3'3") du détecteur.
3 Si la LED ne nécessite pas d'être allumée en permanence, positionner l'interrupteur DIP 1 (mode de test de marche) sur OFF (NORM.).

text_image
1 2 3 4 5 6 7 ON7 REGLAGE

text_image
PIR 1 (Ne pas toucher) Interrupteur DIP 1. MODE TEST DE MARCHE 2. MINUTERIE D'ECONOMIE DE BATTERIE 3. INTERRUPTEUR D'IMMUNITE 4. TYPE DE SORTIE DEFAULT 5. SIGNAL BATTERIE BASSE 6. LED ON/OFF 7. PIR AND/OR Sélecteur de SENSIBILITE PIR PIR SENSE. PIR 2 (Ne pas toucher) SHORT LONG M NW SENS. LI STD OFF AM SENS. Sélecteur de SENSIBILITE ANTI-MASQUAGE
text_image
1 ON 2 3 4 5 6 7 NORM. ↔ TEST| POSITION FONCTION | |
| TEST(réglage d’usine) | LED s’allume au moment de la détection sans tenir • compte du DIP SW 6.(s’allume pour tout réglage du LED ON/OFF (DIP SW 6, voir p24).L’alarme se déclenchera à la détection sans tenir • compte de DIP SW 2. |
| NORM. | Fonctionnement normal. (mode économie de la batterie.)• LED est éteint. (Quand le LED ON/OFF est sur OFF.)• |
Attention>>
Après la fin du test de marche, toujours régler l'unité en position NORM pour le fonctionnement. L'utilisation de l'unité en mode TEST abrège la vie des batteries.
-MINUTERIE D'ECONOMIE DE BATTERIE
Interrupteur DIP
2

text_image
ON 1 2 3 4 5 6 7 120s←→5sMême en cas de détection continue, l'alarme ne se produit qu'une fois à intervalle régulier pour économiser la vie de la batterie.
| POSITION FONCTION | |
| 120s(réglaged’usine) | 120 secondes. |
| 5s 5 secondes. | |
-INTERRUPTEUR D'IMMUNITE Interrupteur DIP
3

text_image
ON 1 2 3 4 5 6 7 STD ↔ IMMUNITÉ| POSITION FONCTION | |
| STD(réglage d’usine) | La fonction d’immunité n’est pas activée. |
| IMMUNITÉ | La fonction d’immunité est activée. À utiliser dans un environnement hostile (e.g. ondulation des végétaux). |
-TYPE DE SORTIE DEFAULT Interrupteur DIP
4

text_image
1 2 3 4 5 6 7 ON N.C. ↔ N.O.Sélectionner la sortie de point de contact avec la BORNE DE SORTIE DÉFAUT.
| POSITION FONCTION | |
| N.C. (réglage d’usine) | Le signal N.C. est en sortie de la BORNE DE SORTIE DE DEFAULT. |
| N.O. | Le signal N.O. est en sortie de la BORNE DE SORTIE DE DEFAULT. |
Sortie de signal de défaut >>
Le signal de défaut est émis à intervalles réguliers lorsque le dysfonctionnement continue un certain temps.
- SORTIE ANTI MASQUAGE
Lorsqu'un objet est placé à proximité de la lentille, pendant plus de 180 secondes, le circuit IR d'Anti-Masquage sera activé et il produira un signal d'erreur. La sortie Anti-Masquage sera automatiquement remise à zéro environ une minute après l'enlèvement de l'objet de masquage.
- SORTIE BATTERIE FAIBLE (quand DIP SW 5/ SIGNAL BATTERIE BASSE est sur ON.)
Quand la capacité de la batterie devient faible, l'unité émet automatiquement des transmissions de durée fixe pour attirer l'attention.
Quand le SIGNAL BATTERIE BASSE est émis, la fonction Anti-Masquage est désactivée pour prolonger la vie de la batterie.
Remplacer toutes les batteries par des neuves lorsque le SIGNAL BATTERIE BASSE est émis.
⚠️ Avertissement
Ne pas utiliser des batteries de capacités différentes (par ex.: mélanger les batteries neuves et usagées) ou de fabricants et/ou de types différents. Le non respect de ce qui précède peut provoquer une explosion, une fuite d'électrolyte, une émission de gaz toxiques ou une autre conséquence dommageable aux personnes et aux biens.
-SIGNAL BATTERIE BASSE Interrupteur DIP
5

text_image
1 ON 2 3 4 5 6 7 OFF←→ ON| POSITION FONCTION | |
| OFF(réglage d'usine) | Le signal batterie basse n'est pas opérationnel. |
| ON | Le signal batterie basse est émis à la BORNE SORTIE DEFAULT. |
-LED ON/OFF Interrupteur DIP
6

text_image
1 ON 2 3 4 5 6 7 OFF←→ON| POSITION FONCTION | |
| OFF(réglage d’usine) | La LED ne s’allume pas même en cas de détection. |
| ON La LED | D s’allume quand quelqu’un est détecté. |

Le mode OR aux lieux qui exigent plus de la détectabilité que de la tolérance de l'alarme factice tel que le contrôle de la lumière et l'activation de la caméra.
| POSITION FONCTION | |
| AND(réglage d’usine) | L’alarme s’enclenche quand PIR1 et PIR2 détectent un objet. |
| OR | L’alarme s’enclenche quand PIR1 ou PIR 2 détecte un objet. Sélectionner le mode OR rallonge la longueur de détection par rapport au mode AND. Le mode OR nécessite un test de marche pour régler la distance de détection. Le réglage nécessaire s’effectue par un ajustement de l’angle de la rotule.![]() |
-SENSIBILITE PIR Sélecteur de SENSIBILITE PIR

text_image
HAUTE MOYENNE FAIBLE| POSITION FONCTION | |
| HAUTE Sensibilité élevée | |
| MOYENNE(réglage d’usine) | Sensibilité moyenne |
| FAIBLE Sensibilité faible | |
-SENSIBILITE ANTI-MASQUAGE
Sélecteur de SENSIBILITE
ANTI-MASQUAGE

text_image
HAUTE STD OFF HI STD OFF| POSITION FONCTION | |
| HAUTE Sensibilité élevée | |
| STD(réglage d’usine) | Sensibilité normale |
| OFF OFF | Désactivé |
Attention>>
Après avoir fermé le couvercle, ne laisser aucun objet à moins d'un mètre de l'unité.
8
VOYANT LED

LED rouge



Clignote Lumière OFF
| CONDITION DE DETECTION | INDICATEUR LED (ROUGE UNIQUEMENT) | |
| Période de chauffe | Clignote pendant environ 60 secondes. | |
| Alarme | Lumière pendant 2 secondes. | |
| Sortie défaut | Boot de l’Anti-Masquage(Démarrage Anti-Masquage) | Clignote 2 fois puis s’éteint pendant 5 secondes. Mouvement répété. |
| Détection de masquage | Clignote 3 fois puis s’éteint pendant 3 secondes. Mouvement répété pendant 180 secondes. | |
| Sortie batterie faible | Clignote 4 fois puis s’éteint pendant 3 secondes. Mouvement répété. | |
Note>>
Pour distinguer une sortie défaut due à une batterie faible, la LED de batterie faible s'allume quand le couvercle est ouvert même si le LED ON/OFF (DIP SW 6, voir 7) est réglé sur OFF.
9-1 SPECIFICATIONS
| Modèle HX-80NRAM | |
| Méthode de détection | Infrarouge passif |
| Couverture PIR 24,0 m × 2,0 m (80' × 6'7") de largeur/20 zones | |
| Distances limites PIR | 6,5 m, 10,0 m, 13,0 m, 18,0 m (22', 33', 42', 59') |
| Vitesse détectable 0,3 m/s – 1,5 m/s (1'/s – 4'11"/s) | |
| Sensibilité 2,0°C (3,6°F) à 0,6 m/s | |
| Alimentation | 3 – 7,2 V CC Batterie Lithium (CR123A × 3, CR2 × 3, 1/2AA × 3, 1/2AA × 6) |
| Tension de fonctionnement | 2,5 – 9 V DC |
| Consommation de courant | 30 μ A (en stand-by) / 4 mA (max.) à 3 V DC |
| Période d'alarme 2,0 plus/moins 1,0 sec. | |
| Période de chauff Approx. 90 sec. (la LED clignote) | |
| Sortie alarme Contact sec forme C 10 V DC 0,01A (max.) | |
| Sortie défaut | N.C./N.O. Interrupteur semi-conducteur sélectionnable 10 V DC 0,01 A (max.) |
| Sortie autoprotection | Contact sec forme C Interrupteur semi-conducteur 10 V DC 0,01A (max.) |
| Indications LED | En fonction: Lorsque l'interrupteur DIP 1 (MODE DE TEST DE MARCHE) ou l'interrupteur DIP 4 (LED) est sur ON Hors fonction: En fonctionnement normal Allumée/Clignotante: Préparation, Alarme, Défaut, Batterie Basse |
| Interférences RF Pas d'alarme 10 V/m | |
| Température de fonctionnement | -20 – +60°C (-4 – +140°F) |
| Humidité 95% max. | |
| Etanchéité IP55 | |
| Montage Sur mur | |
| Hauteur de montage | 2,5 – 3,0 m (8'2" – 9'10") |
| Rotule d'ajustement | Vertical: ±20° Horizontal: ±95° |
| Poids 780 g (27,5 oz.) | |
| Accessoires | Rotule, Vis (4 × 20 mm) × 4, Bandes Velcro × 2, Cable d'alarme, Fils de batterie× 2, Batterie factice |
*Les spécifications et le design peuvent être modifiés sans préavis.

text_image
Avec la rotule 286 (11,26") 93 (3,66") 197,5 (7,78") Unité: mm (pouce)
text_image
Sans la rotule 205 (8,07") 93 (3,66") 197,5 (7,78") Unité: mm (pouce)Les modèles HX-80N n'étant qu'une partie d'un système complexe, nous ne pouvons pas accepter de responsabilité complète pour tout dommage ou autre conséquence suite à une intrusion.
Cet ensemble est conçu pour détecter l'intrusion et commander une centrale d'alarme. Le détecteur étant un système d'alarme complet, le constructeur ne peut être tenu pour responsable en cas de vol ou d'effraction. Ce produit est conforme à la directive EMC 2004/108/EC.
Pour une indication approximative de durée de remplacement de batteries, entrez le type de batterie et la date de la première utilisation.
Type de batterie ____
Date (Année/Mois) ____

Notice Facile




Clignote pendant environ 60 secondes.
Lumière pendant 2 secondes.
Clignote 2 fois puis s’éteint pendant 5 secondes. Mouvement répété.
Clignote 3 fois puis s’éteint pendant 3 secondes. Mouvement répété pendant 180 secondes.
Clignote 4 fois puis s’éteint pendant 3 secondes. Mouvement répété.