F AS 29 E - Chaudière de chauffage central BULEX - Notice d'utilisation et mode d'emploi gratuit
Retrouvez gratuitement la notice de l'appareil F AS 29 E BULEX au format PDF.
| Caractéristiques | Détails |
|---|---|
| Type de chaudière | Chaudière à gaz à condensation |
| Puissance nominale | 29 kW |
| Rendement énergétique | Jusqu'à 109% |
| Type de combustible | Gaz naturel ou propane |
| Dimensions (L x H x P) | 600 x 850 x 400 mm |
| Poids | 50 kg |
| Utilisation | Chauffage central et production d'eau chaude sanitaire |
| Entretien | Contrôle annuel recommandé par un professionnel |
| Sécurité | Système de sécurité intégré contre la surchauffe et les fuites de gaz |
| Garantie | 2 ans |
| Certifications | Conforme aux normes européennes en matière de sécurité et d'efficacité énergétique |
FOIRE AUX QUESTIONS - F AS 29 E BULEX
Questions des utilisateurs sur F AS 29 E BULEX
0 question sur cet appareil. Repondez a celles que vous connaissez ou posez la votre.
Poser une nouvelle question sur cet appareil
Téléchargez la notice de votre Chaudière de chauffage central au format PDF gratuitement ! Retrouvez votre notice F AS 29 E - BULEX et reprennez votre appareil électronique en main. Sur cette page sont publiés tous les documents nécessaires à l'utilisation de votre appareil F AS 29 E de la marque BULEX.
MODE D'EMPLOI F AS 29 E BULEX
Chaudière à condensation
F 25 E
F 29 E
FAS29E

Table des matières
1 Généralités 2 2 Conservation des documents 2 3 Sécurité 2 3.1 Que faire si vous sentez une odeur de gaz ? 2 3.2 Consignes de sécurité et prescriptions 3 4 Garantie constructeur / Responsabilité 3 5 Utilisation prévue de l'appareil 5 6 Entretien courant 5 7Recyclage 5 8 Utilisation de l'ordinateil 6 8.1 Tableau de commande 6 8.2 Afficheur 6 8.3Mise en service 6 8.4 Choix du mode de fonctionnement 7 8.5 Reglage de la températe 7 8.6 Affichage de la pression du circuit chauffage 7 9Mise hors service 7 10 Diagnostic de pannes 8 11 Protection contre le gel 8 11.1 Protection de la chaudière contre le gel 9 11.2 Protection de l'installation contre le gel 9 11.3 Protection de la pompe 9 12 Maintenance / Service Avec-Vente 9
1 Généralités
La chaudière Thermomaster est un appareil à double service (chauffage + eau chaude instantanée) dont la technologie, dite à condensation, permet de récupérer l'essentiel de la chaleur présente dans les produits de combustion.
Grâce à ce principe de fonctionnement, la chaudière consomme moins d'énergie et minimise considérablement les taux de rejets dans l'atmosphère des NOx et CO2.
Ce modèle de chaudière, de type étanche, est équipée d'un dispositif de prise d'air et d'évacuation des produits de combustion appelé "ventouse". Ce dispositif permet d'installer l'appareil dans n'importe quelle pièce.
Le modèle AS est une chaudière à chauffage seul pouvant être raccordée à un ballon échangeur pour la production d'eau chaude sanitaire.
L'installation et la première mise en fonctionnement de l'appareil doivent être effectuées par un professionnel qualifié uniquement. Ce dernier est responsable de la conformité de l'installation et de la mise en fonctionnement selon la réglementation en vigueur.
Il convient également de faire appel à un professionnel qualifié pour l'entretien et les réparations de l'appareil ainsi que pour tout réglage concernant le gaz.
Différents accessoires ont été spécialement développés par Bulex pour votre appareil en fonction des caractéristiques particulières de votre installation.
Pour obtenir une liste détaillée, n'hésitez pas à consulter votre revendeur habituel ou le site www.bulex.com.
2 Conservation des documents
Veuillez conserver ce manuel ainsi que tous les documents qui l'accompagnent à portée de main afin de pouvoir les consulter en cas de nécessités.
Nous déclinons toute responsabilité en cas de dommages occasionnés par la non-observation des instructions du présent manuel.
3.1 Que faire si vous sentez une odeur de gaz?
Ne pas allumer ni éteindre la lumière.
Ne pas actionner d'interrupteur • électrique.
Ne pas utiliser le téléphone dans la zone à risque.
Ne pas allumer de flamme vive (par • exemple, un briquet ou une allumette).
Ne pas fumer.
Fermer le robinet de gaz.
Ouvrir portes et fenêtres.
Avertir les autres occupants de l'habitation.
Informer la compagnie de gaz ou vous • professionnel qualifié.
3.2 Consignes de sécurité et prescriptions
Suivez impérativement les consignes de sécurité et les prescriptions suivantes :
N'utilisez pas et n'entreposez pas des matériaux explosifs ou facilement inflammables (par exemple, de l'essence, de la peinture, etc.) dans la pièce où se trouve l'appareil.
Ne mettez en aucun cas hors-service les dispositifs de sécurité et ne tenez aucune manipulation sur ces dispositifs sous peine d'entraîner un dysfonctionnement.
N'apportez pas de modifications :
aux conduites d'eau, d'air, de gaz et d'électricité,
aux conduits d'évacuation des fumées. -
N'effectuez jamais vous-même des opérations de maintenance ou de réparation sur l'appareil.
En cas de fuite d'eau, fermez • immédiatement l'arrivée d'eau froide de l'appareil et faites réparer la fuite par votre professionnel qualifié.
N'abîmez ou n'enlevez pas les • plombages des composants. Seuls les professionnels du Service APRÈS-Vente Bulex sont autorisés à apporter des modifications aux composants scellés.
N'utilisez pas d'aérosols, de solvants, de détergents à base de chlore, de peinture, de colle, etc. à proximité de l'appareil. Dans des conditions défavorables, ces substances peuvent s'avérer corrosives même pour l'installation d'évacuation des fumées.
Ne modifiez pas les conditions techniques et architecturales à proximité de l'appareil, dans la mesure où celles-ci peuvent exercer une influence sur la sécurité du fonctionnement de l'appareil.
Par example :
Les ouvertures situées sur les faces extérieures et destinées à l'aménagement d'air et à l'évacuation des fumées doivent toujours rester dégagées.
Veillez à ôter, par exemple, les objets • utilisés pour recouvrir les ouvertures pendant des travaux effectués sur les façades extérieures.

Attention! Nous vous recommandons d'être vigilants lors du réglage de la température de l'eau chaude : l'eau peut être très chaude à la sortie des robinets deuisage.
4 Garantie constructeur / responsabilité
Merci d'avoir choisi Bulex, leader européen de la chaudière murale au gaz.
Bulex garantit cet appareil contre tous vices de fabrication ou de matière pendant une durée de DEUX ans à compter de l'installation.
Cet appareil a été fabriqué et contrôlé avec le plus grand soin. Il est prêt à fonctionner (les réglages ont été faits en usine).
Son installation doit être nécessairement réalisée par un professionnel agréé, conformément à la notice d'installation qui y est jointe, suivant les règles de l'art et dans le respect des normes officielles et règlements en vigueur.
La garantie couvre la réparation et/ou le remplacement de pièces reconnues défectueuses par Bulex, ainsi que la main-d'œuvre nécessaire pour y remédier. Elle ne profite qu'à l'utilisateur, pour autant que celui-ci emploie l'appareil en bon père de famille suivant les conditions normales prévues dans le mode d'emploi. Sauf convention particulière dûment provée par écrit, seul notre service après-vente Bulex service est habilité à assurer le service de la garantie et seulement sur le territoire de la Belgique et du Grand-Duché du Luxembourg.
A défaut, les prestations de tiers ne sont en aucun cas prises en charge par Bulex.
La garantie se limite aux seules prestations prévues. Toute autre demande, de quelque nature que ce soit (exemple : dommages-intérêts pour frais ou préjudices quelconques occasionnés à l'acheteur ou à un tiers quelconque, etc.) en est expressément exclue.
La validité de la garantie est subordonnée aux conditions suivantes :
cette notice et son étiquette code-barres doivent être représentées avec l'appareil qu'elle couvre ; leur perte entraîne celle de la garantie.
Le bon de garantie doit être complètement rempli, signé, cacheté et daté par l'installateur agréé.
Il doit être renvoyé, dans la quinzaine suivant l'installation à Bulex. À défaut, la garantie prend cours à la date de fabrication de l'appareil, et non à sa date d'installation.
le numéro de fabrication de l'appareil ne doit être ni altéré ni modifié,
l'appareil ne doit avoir subi aucune modification ou adaptation, hormis
celles eventuellement executées par du personnel agréé par Bulex, avec des pièces d'origine Bulex, en conformité avec les normes d'agrément de l'appareil en Belgique,
l'appareil ne peut être, ni placé dans - un environnement corrosif (produits chimiques, salon de coiffure, teintures, etc.), ni alimenté par une eau agressive (adjonction de phosphates, silicates, dureté inférieure à 6°F)
Une intervention sous garantie n'entraîne aucune allongement de la période de garantie. La garantie ne joue pas lorsque le mauvais fonctionnement de l'appareil est provoqué par :
une installation non conforme, -
une cause étrangère à l'appareil telle que :
tuyaux d'eau ou de gaz chargés - d'impuretés, manque de pression, adaptation ou modification de la nature et/ou des caractéristiques des fluides (eau, gaz, électricité),
tuyaux de chauffage en matière synthétique et sans ajout d'un inhibiteur,
usage anormal ou abusif, erreur de manipulation par l'utilisateur, manque d'entretien,entartrage, négligence, heurt, chute, manque de protection en cours de transport, surcharge, etc.,
gel, force majeure, etc., -
intervention d'une main-d'œuvre non compétente,
électrolyse, -
- utilisation de pièces non d'origine.
La visite du service après-vente se fera uniquement sur demande. Durant les deux premiers mois de garantie, le déplacement est gratuit s'il est juste.
Durant les 22 mois suivants, un forfait déplacement égal à 50% du forfait de déplacement dépannage sera facturé par le service après-vente BUELEX SERVICE.
Est débitrice de la facture éventuelle, la personne qui a demandé l'intervention, sauf accord préalable et écrit d'un tiers pour que la facture lui soit adressée.
En cas de litige, la Justice de Paix du 2ème Canton de Bruxelles, le Tribunal de Première Instance ou de Commerce et, le cas échéant, la Cour d'Appel de Bruxelles, sont seuls compétents.
Note pour les pays de la CEE:
Cet appareil a été créé, agréé et contrôlé pour répondre aux exigences du marché belge.
La plaque signalétique posée à l'intérieur de l'appareil certifie l'origine de fabrication et le pays pour lequel ce produit est destiné.
Si vous constatez une anomalie à cette règle, nous vous demandons de contacter l'agence Bulex la plus proche. Nous vous remercions par avance de votre collaboration.
5 Utilisation prévue de l'appareil
Les appareils Bulex sont fabriqués conformément aux dernières évolutions techniques et aux règles de sécurité en vigueur.
La chaudière Thermomaster est spécialement destinée à la production d'eau chaude en utilisant l'énergie du gaz.
Toute autre utilisation est considérée comme inadéquate et interdite.
Le fabricant ne sera en aucun cas tenu responsable des dommages ou dégâts résultant d'une utilisation étrangère à l'objet auquel est destiné l'appareil. Tout risque est supporté intégralement par l'utilisateur.
La notion d'utilisation prévue englobe également le respect des instructions de la notice d'emploi, du manuel d'installation et de tous les documents d'accompagnement ainsi que le respect des conditions d'installation et d'entretien.
6 Entretien courant
Nettoyez l'habillage de l'appareil à l'aide d'un chiffon mouillé à l'eau savonneuse.
N'utilisez pas de produit abrasif ou de nettoyage car ceux-ci pourraient abimer le revêtement ou les pièces en plastique.
7 Recyclage
L'appareil se compose en grande partie de matériaux recyclables.

L'emballage, l'appareil ainsi que le contenu du colis ne doit pas être jeté avec les ordures ménagères mais être éliminé conformément à la réglementation en vigueur.

Légende
1 Indicateur d'état 2 Afficheur 3 Indicateurs du mode de fonctionnement en cours 4 Choix du mode de fonctionnement
5 Réglage de la température de l'eau du circuit sanitaire 6 Réglage de la température de l'eau du circuit chauffage 7 Interrupteur marche/arrêt
8.2 Afficheur
L'afficheur indique :
soit la pression du circuit de chauffage - (bar),
soit la température de l'eau du circuit - lorsque la chaudière est en demande de chauffage (^)
soit un code lié à une anomalie. -
8.3 Mise en service
Assurez-vous que :
l'appareil est alimenté électriquement, - le robinet gaz est ouvert, -
le robinet d'alimentation en eau froide - est ouvert.
Poussez l'interrupteur marche/arrêt pour faire apparaître le symbole "I".
L'afficheur et l'indicateur du mode de fonctionnement s'allument.
L'appareil est prêt à fonctionner.
L'indicateur d'état a 2 modes de fonctionnement :
Jaune fixe : le brûleur est allumé. -
Rouge clignotant : signal d'anomalie - (voir chapitre "Diagnostic de pannes")
8.4 Choix du mode de fonctionnement
Appuyez sur la touche MODE pour • modifier le mode de fonctionnement de l'appareil. Un voyant vert s'allume en face du mode sélectionné :
| Chauffage + eau chaude | |
| Eau chaude seule | |
| Protection de la chaudière contre le gel |
8.5 Réglage de la température

Un appui bref sur une des touches + ou - du côté ou fait apparaître la valeur de la température décisionnée précédemment.
8.5.1 Réglage de la température de l'eau du circuit sanitaire
Appuyez sur les touches + ou - du côté pour faire varier la température de l'eau du circuit sanitaire.
| Température de l'eau (°C) | |
| min. 38 | |
| max. 63 |
8.5.2 Réglement de la température de l'eau du circuit chauffage
Appuyez sur les touches + ou - du côté pour régler la température de l'eau du circuit de chauffage.
| Température de l'eau (°C) | |
| min. 22 | |
| max. 80 |

Si une sonde extérieure est reliée à la chaudière, le réglage de la température de l'eau du circuit est contrôlé par la sonde extérieure. Pour afficher la valeur de réglage, appuyez brièvement sur une des touches + ou - du côté.
8.6 Affichage de la pression du circuit chauffage
Lorsque l'appareil est en demande chauffage, la température du circuit chauffage s'affiche.
Pour afficher la pression du circuit chauffage :
Appuyez sur la touche MODE pour sélectionner le mode de fonctionnement "Eau chaude seule".
La pression du circuit chauffage s'affiche.
Appuyez sur la touche MODE • sélectionnez le mode "Chauffage + eau chaude".
9 Mise hors service
Poussez l'interrupteur pour faire apparaître le symbole "O". L'appareil n'est plus alimenté électriquement.
Nous vous recommandons de fermer l'alimentation en gaz de l'installation en cas d'absence prolongée.
10 Diagnostic de pannes
En cas d'anomalie :
Un code défaut apparait sur l'afficheur - du tableau de commande.
L'indicateur de fonctionnement du tableau de commande clignote en rouge.

Attention! N'essayez jamais de procéder vous-même à l'entretien ou aux réparations de votre appareil et ne remettez l'appareil en fonctionnement que lorsque la panne a été résolue par un professionnel qualifié.
| Code défaut Cause | possible Solution | |
| L'afficheur est étéint. | Coupure de courant électrique | Vérifiez qu'il n'y a pas de coupure du réseau électrique et que l'appareil est correctement branché Dès que l'alimentation électrique est rétablie, l'appareil se remet automatiquement en service. Si le défaut persiste, contactez un professionnel qualifié. |
| F1 ou F4 Défaut d'allu | mage Mettez l'appareil hors | service. Attendez 5 secondes puis remettez l'appareil en service. Si le défaut persiste, contactez un professionnel qualifié. |
| F2 Défaut d'extraction | ou de l'aspiration de l'air. | Le système de sécurité interrupt le fonctionnement de l'appareil. Mettez l'appareil hors service. Attendez 5 secondes puis remettez l'appareil en service. Si le défaut persiste, contactez un professionnel qualifié. |
| F5 Défaut surchauffe | Contactez un professionnel | qualifié |
| L'indicateur d'état et l'indicateur de pression clignotent. | Manque d'eau dans l'installation (< 0,5 bar) | Remplir l'appareil jusqu'à obtenir une pression entre 1 et 2 bar sur l'indicateur. Si le replissage avait été renouvelé trop souvent, il pourrait eventuelsment s'agir d'uneuite dans votre installation. Dans ce cas, contactez un professionnel qualifié afin qu'il effectue un contrôle de l'appareil. |
11.1 Protection de la chaudière contre le gel
En cas de risque de gel, procédez comme suit :
Assurez-vous que la chaudière est alimentée électriquement et que le gaz arrive bien à la chaudière.
Sélectionnez le mode de fonctionnement sur le tableau de commande.
Le système de protection contre le gel commande la mise en fonctionnement de la chaudière dès lors que la température dans le circuit chauffage descend en dessous de 8°C. La chaudière s'arrête dès que la température de l'eau contue dans le circuit chauffage atteint 10°C.
Si la température de l'eau de chauffage continue de chuter et atteint 5°C, la chaudière s'enclenche et continue de fonctionner jusqu'à ce que la température de l'eau de chauffage atteigne 35°C.

Lorsque le système de protection contre le gel est activé, la chaudière chauffe à la fois l'eau de chauffage et l'eau chaude sanitaire.
11.2 Protection de l'installation contre le gel
Pour une absence de quelques jours, • sélectionnez la température minimale en chauffage à partir du tableau de commande de votre chaudière ou baissez simplement la température de consigne sur votre thermostat d'ambiance.
En cas d'absence prolongée, contactez un professionnel qualifié afin qu'il vidange l'installation ou qu'il protège le circuit chauffage en ajoutant un additif antigel spécial chauffage.

Attention! Votre circuit d'eau sanitaire (froide ou chaude) n'est pas protégé par la chaudière.
11.3 Protection de la pompe
Si la pompe a été inactive pendant 23 heures, elle est automatiquement démarrée pendant 20 secondes pour éviter qu'elle ne se bloque ou se colmate.
12 Maintenance / service après-vente
Nettoyé et bien réglé, votre appareil consommera moins et durera plus longtemps. Un entretien régulier de l'appareil et des conduits par un professionnel qualifié est indispensable au bon fonctionnement de l'installation. Il permet d'allonger la durée de vie de l'appareil, de réduire sa consommation d'énergie et ses rejets polluants.
Nous vous recommandons de conclure un contrat d'entretien avec un professionnel qualifié.
Sachez qu'un entretien insuffisant peut compromettre la sécurité de l'appareil et peut provoquer des dommages matériels et corporels.
Table des matières
1 Remarques relatives à la documentation 13 2 Description de l'ordinateil 13 2.1 Plaque signalétique 13 2.2 Identification CE 13 2.3 Schéma fonctionnel 14 3 Choix de l'emplacement 17 3.1 Chaudière 17 3.2 Sonde extérieure 17 4 Consignes de sécurité et prescriptions 18 4.1 Consignes de sécurité 18 4.2 Décrets, normes, directives 18 5 Installation de l'appareil 19 5.1 Recommandations avant installation 19 5.2 Dimensions 20 5.3 Matériel livré 20 5.4 Fixation au mur 21 5.5 Raccordement gaz et eau 22 5.6 Raccordement du récupérateur de condensats 23 5.7 Raccordement fumée 24 6 Raccordement électrique 31 6.1 Raccordement des accessoires 32 6.2 Schéma électrique 33 7 Mise en service 35 8 Réglages 35 8.1 Réglage du débit du circuit de chauffage 35 8.2 Accès aux données techniques de la chaudière (réservé à l'usage des installateurs et du Service Après-Vente) 36 8.3 Codes d'état 40 9 Vidange de l'appareil 41 9.1 Circuit chauffage 41 9.2 Circuit sanitaire 41
10 Sécurité de fonctionnement 42 11 Contrôle / Remise en fonctionnement 44 12 Information de l'utilisateur 44 13 Pièces de rechange 44 14 Entretien / maintenance de l'appareil 45 14.1 Habillage 45 14.2 Pompe 46 14.3 Deteur de debit 46 14.4 Filtre échangeur sanitaire 47 15Données techniques 48 16 Accessoires de raccordement 51 16.1Concentrique 60/100.51 16.2Concentrique 80/125 52 16.3 Parallele 2x80 53
1 Remarques relatives à la documentation
Veuillez remettre l'ensemble des documents à l'utilisateur de l'appareil. L'utilisateur doit conserver ces documents de façon à pouvoir les consulter en cas de nécessité.
Nous déclinons toute responsabilité en cas de dommages occasionnés par la non-observation des instructions du présent manuel.
Toutes les cotes dans ce manuel sont exprimées en mm.
2.1 Plaque signalétique
La plaque signalétique certifie l'origine de fabrication et le pays pour lequel cet appareil est destiné.

Attention! L'appareil ne doit être utilisé qu'avec les types de gaz indiqués sur la plaque signalétique.
Assurez-vous que les informations mentionnées sur la plaque signalétique et sur ce document sont compatibles avec les conditions d'alimentation locales.
L'identification CE indique que les appareils décrits dans ce manuel sont conformes aux directives suivantes :
Directive relative aux appareils à gaz - (directive 90/396/CEE du Conseil de la Communauté Européenne)
Directive relative à la compatibilité électromagnétique (directive 89/336/CEE du Conseil de la Communauté Européenne)
Directive relative à la basse tension - (directive 73/23/CEE du Conseil de la Communauté Européenne)
Directive relative au rendement des chaudières (directive 92/42/CEE du Conseil de la Communauté Européenne)
2.3.1 Thermomaster f25/29 e

1 Évacuation des gaz brûlés 2 Capteur de température départ chauffage 3 Brûleur 4 Ventilateur 5 Mécanisme gaz 6 Filtre chauffage 7 Récupérateur de condensats 8 Capteur de pression d'eau de chauffage 9 Capteur de température eau chaude sanitaire 10 By-pass 11 Filtre arrivée eau froide 12 Détecteur de début 13 Échangeur sanitaire 14 Vanne 3 voies 15 Capteur de température retour chauffage 16 Soupape de surpression chauffage 17 Circulateur chauffage 18 Purge du circulateur de chauffage 19 Échangeur de chaleur 20 Vase d'expansion 21 Purge du circuit de chauffage 22 Admission d'air
A Départ chauffage B Départ eau chaude sanitaire C Arrivée gaz D Arrivée eau froide E Retour chauffage

Légende
1 Evacuation des gaz brûlés 2 Capteur de température départ chauffage 3 Bruleur 4 Ventilateur 5 Mécanisme gaz 6 Filtre chauffage 7 Récupérateur de condensats 8 Capteur de pression d'eau de chauffage 9 By-pass 10 Vanne 3 voies 11 Capteur de température retour chauffage 12 Soupape de surpression chauffage 13 Circulateur chauffage 14 Purge du circulateur de chauffage 15 Échangeur de chaleur 16 Vase d'expansion 17 Purge du circuit de chauffage 18 Admission d'air A Départchauffage B Départ balloon échangeur C Arrivée gaz D Retour balloon échangeur E Retour chauffage
3.1 Chaudière
Assurez-vous que le mur sur lequel • est monté l'appareil est suffisamment solide pour supporter le poids de l'appareil à installer.
Assurez-vous que l'espace disponible est suffisant pour la mise en place des tuyauteries eau et gaz ainsi que pour un circuit d'évacuation vers les égouts.
N'installez pas l'appareil au-dessus d'un autre appareil qui pourrait l'endommager (par exemple, au-dessus d'une cuisinière susceptible de dégager de la vapeur et des graisses) ou dans une pièce fortement chargée en poussière ou dont l'atmosphère est corrosive.
Pour permettre un entretien périodique, conservez une distance minimale de chaque côté de l'appareil.

L'appareil doit être installé dans une pièce protégée du gel. Prenez les précautions qui s'imposent.
3.2 Sonde extérieure
Reportez-vous à la notice livrée avec la sonde extérieure.
4.1 Consignes de sécurité
Toutes interventions à l'intérieur de l'appareil doivent être réalisées par un professionnel qualifié ou le Service Après-Vente Bulex.
Si la pression du gaz à l'entrée de l'appareil se situe en dehors de la plage mentionnée, l'appareil ne doit pas être mis en fonctionnement. Si la cause du problème ne peut être identifiée ou le problème résolu, avertissez la compétence du gaz.

Attention! en cas d'installation incorrecte, il y a risque de choc électrique et d'endommagement de l'appareil.
Lors du montage des raccordements, positionnez correctement les joints d'étanchéité afin d'éviter toute fuite de gaz et d'eau.
Les consignes de sécurité suivantes doivent impérativement être respectées lors de l'entretien et du remplacement de pièces de rechange.
Mettez l'appareil hors-service (voir • chapitre "Mise hors-service" de la notice d'emploi).
- Débranchez l'appareil du secteur par la prise de courant ou par l'intermédiaire de l'interrupteur bipolaire (avec une séparation d'au moins 3 mm entre chaque contact).
- Fermez le robinet d'arrêt du gaz.
Fermez les robinets d'arrêt situés sur les douilles de raccordement.
Vidangez l'appareil lorsque vous souhaitez remplacer des éléments hydrauliques de l'appareil.
Laissez refroidir l'appareil avant d'effectuer les travaux d'entretien de l'appareil.
Protégez les éléments électriques de l'eau lors des manipulations.
N'utilisez que des joints et bagues • toriques d'étanchéité neuves.
Après des travaux sur des éléments • conducteurs de gaz, vérifiez leur étanchéité.
Après les travaux de remplacement, • effectuez un contrôle de fonctionnement des pièces remplacées et de l'appareil.
Lors de l'installation et de la mise en fonctionnement de l'appareil, les arrêtés, directives, règles techniques, normes et dispositions ci-dessous doivent être respectés dans leur version actuellement en vigueur.
Normes NBN D 51-003, D 30-003, B 61-002
Règlement général sur les installations - électriques et, en particulier, l'obligation de raccordement à une prise de terre.
Directives existantes de la Compagnie - d'eau et les directives BELGAQUA
Directives RGPT -
5 Installation de l'appareil
Avant l'installation, l'installateur doit vérifier que le réglage de la chaudière, indiqué sur la plaquette signalétique, est bien compatible avec les conditions locales de distribution.
5.1.1 Conception du circuit sanitaire
Le circuit de distribution sera réalisé de manière à éviter au maximum les pertes de charge (limiter le nombre de coudes, utiliser des robinetteries à faible section de passage afin de permettre un débit suffisant).
La chaudière peut fonctionner avec une pression d'alimentation minimale mais avec un faible débit. Un meilleur comportement d'utilisation sera obtenu à partir de 1 bar de pression d'alimentation.
5.1.2 Conception du circuit chauffage
Les chaudières Thermomaster peuvent être intégrées à tous les types d'installation : bi-tube, mono tube série ou dérivé, plancher chauffant, etc...
Les surfaces de chauffe peuvent être constituées de radiateurs, de convecteurs, d'aerothermes ou de planchers chauffants.
Dans le cas d'un plancher chauffant, l'installation doit être équipée d'un thermostat de sécurité à 50°C sur le départ. Ce dispositif non fourni, doit pouvoir absorber par son inertie les trains de chaleur consécutifs aux productions d'eau chaude sanitaire.

Attention! Que ce soit pour une nouvelle ou une ancienne installation, rincez l'installation avec de l'eau propre ainsi qu'un produit de nettoyage. En cas d'eau de remplissage d'une température supérieure à 20°F, la garantie sur les échangeurs est soumise à l'utilisation d'un inhibiteur de catégorie 3, dans les proportions exactes préconisées par le fabricant de celui-ci. La valeur du pH de l'eau de chauffage doit être comprise entre 5 et 8.5 et la durée inférieure à 12°F. Le remplissage de l'installation avec une eau adoucie est interdit.
Le réseau de distribution sera calculé selon le débit correspondant à la puissance réellement nécessaire sans tenir compte de la puissance maximale que peut fournir la chaudière. Il est toutefois recommandé de prévoir un débit suffisant pour que l'écart de température entre départ et retour soit inférieur ou égal à 20°C. Le débit minimal est indiqué dans le chapitre "Données techniques" en fin de manuel.
Le tracé des tuyauteries sera conçu afin de prendre toutes les dispositions nécessaires pour éviter les poches d'air et faciliter le dégazage permanent de l'installation. Des purgeurs devront être prévus à chaque point haut des canalisations ainsi que sur tous les radiateurs.
Le volume d'eau total admissible pour le circuit de chauffage dépend, entre autres, de la charge statique à froid. Le vase d'expansion incorporé à la chaudière est livré réglé en usine (voir chapitre "Données techniques" en fin de manuel).
Il est possible de modifier, à la mise en service, cette pression de gonflage en cas de charge statique plus élevée.
Il est recommandé de prévoir un robinet de vidange au point le plus bas de l'installation.
Dans le cas d'utilisation de robinets thermostatiques, il est conseillé de ne pas en équiper la totalité des radiateurs en veillant à poser ces robinets dans les locaux à fort apport et jamais dans le local où est installé le thermostat d'ambiance.
S'il s'agit d'une ancienne installation, il est indispensable de rincer le circuit radiateurs avant d'installer la nouvelle chaudière.
Si la chaudière n'est pas mise en place immédiatement, protégez les différents raccords afin que plâtre et peinture ne puissent compromettre l'étanchéité du raccordement ultérieur.

5.3 Matériel livré

1 Chaudière 2 Barrette d'accrochage 3 Vis (x3) 4 Chevilles (x3) 5 Flexible d'évacuation des condensats 6 Filtre eau chaude sanitaire (F 25/29 E) 7 Limiteur de débit eau chaude sanitaire + joint (F 25/29 E) 8 Accessoires de raccordement + joints (F 25/29 E) 9 Capteur ballon externe (F AS 29 E) en option 10 Accessoires de raccordement + joints (F AS 29 E) 11 Notice d'utilisation 12 Gabarit d'installation
5.4 Fixation au mur

Assurez-vous que les matériaux utilisés pour la réalisation de l'installation sont compatibles avec ceux de l'appareil.
Déterminez l'emplacement de montage. Reportez-vous au chapitre "Choix de l'emplacement".
La fixation de la barrette d'accrochage devra être adaptée aux caractéristiques du mur porteur et devra tenir compte du poids de la chaudière en eau.
Percez les trous conformément au gabarit d'installation livré avec l'appareil.
Utilisez les vis et chevilles fournies pour fixer la barrette d'accrochage.
Vérifiez que les vis et les chevilles soient adaptées au mur de fixation.
Avant de monter la chaudière sur la barrette d'accrochage, installez le joint, le limiteur de début et le filtre dans l'orifice d'arrivée d'eau froide de la chaudière.
Limiteur de début de couleur bleue (10 l) - pour F 25 E.
Liminateur de débit de couleur rouge (12 - l) pour F 29 E.
Positionnez la chaudière au-dessus de la barrette d'accrochage et laissez-la descendre.
Mettez en place les joints sur les différents raccords.

Légende
1 Retour chauffage - 3/4" 2 Alimentation eau froide - 3/4" 3 Alimentation Gaz - 3/4" 4 Départ eau chaude sanitaire - 3/4" 5 Départchauffage-3/4" 6 Evacuation des condensats - 019 mm
Avant d'effectuer toute opération, • procédez à un nettoyage soigné des canalisations à l'aide d'un produit approprié afin d'éliminer les impuretés telles que limailles, soudures, huiles et graisses diverses pouvant être présentes. Ces corps étrangers seraient susceptibles d'être entraînés dans la chaudière, ce qui en perturberait le fonctionnement.
N'utilisez pas de produit solvant à cause du risque d'endommagement du circuit.
Ne braisez pas les tubulures montées en place : cette opération risque d'endommager les joints et l'étanchéité des robinets.
N'utilisez que les joints d'origine fournis avec l'appareil.
Vérifiez qu'il n'y a pas de fuite. Réparez si nécessaire.
Raccordez la soupape de surpression • chauffage à un circuit d'évacuation vers les égouts. Le dispositif d'évacuation doit permettre de voir l'écoulement de l'eau.

Attention! Bulex décline toute responsabilité (dégâts des eaux) en cas de non raccordement de la soupape de surpression aux égouts.
5.6.1 Remplissage du récupérateur de condensats

Attention! Le remplissage du récapucateur de condensats doit être réalisé avant la première mise en service de l'appareil.

Légende
1 Récupérateur de condensats 2 Niveau de remplissage
Enlevez le récupérateur de condensats (1) en le dévissant.
Remplissez d'eau le récupérateur des condensats jusqu'au niveau de remplissage (2).
Remontez l'ensemble en prenant soin de bien positionner les joints d'étanchéité.
5.6.2 Évacuation des condensats
La chaudière est fournie avec un flexible pour l'évacuation des condensats.
Retirez et jetez le bouchon du récapaciteur de condensats.
Raccordez le flexible d'évacuation à un circuit d'évacuation vers les égouts, par l'intermédiaire d'un siphon en respectant les recommandations suivantes:
Ne formez pas de coude avec le flexible d'évacuation (voir schéma ci-après).
N'utilisez pas de tuyauterie en cuivre.
Assurez-vous que le flexible d'évacuation est correctement mis dans le siphon.


5.7 Raccordement fumée
Différentes configurations de sortie ventouse sont réalisables.
N'hésitez pas à consulter votre revendeur pour obtenir des informations supplémentaires sur les autres possibilités et les accessoires associés.
Attention! Seuls les accessoires ventouse Bulex doivent être utilisés.

La ventouse horizontale Bulex donne automatiquement un angle de 3% permettant le retour des condensats vers l'appareil.
La longueur maximale de la ventouse est définie en fonction de son type (par exemple C12).
Quel que soit le type de ventouse sélectionné, respectez les distances minimales indiquées dans le tableau ci-après pour le positionnement des terminaux de ventouse.
Attention! L'étanchéité entre la sortie de l'extracteur et la ventouse doit être assurée.

Attention! Si la configuration de sortie des fumées est située à moins de 2,20 m du sol, vous devez installer un kit de protection terminal.

H = hauteur à partir du sol :
2,2 m / chemin praticable -
0,5 m / terrain fermé -
Sortie par rapport aux ouvertures d'aération :
au-dessus d'une ouverture d'aération : -
$$ \begin{array}{l} 0 < \Delta H < 0, 5 \mathrm {m L} \geq 2 \mathrm {m} \ 0, 5 < \Delta H < 1 \mathrm {m L} \geq 1 \mathrm {m} \ \end{array} $$
en dessous d'une ouverture d'aération : -
$$ L + \Delta H > 4 m $$
Référez-vous à la norme "NBN B 61-002" s'il s'agit d'une installation dans des bâtiments neufs ou des bâtiments rénovés pour lesquels un permis de construire a dû être demandé.
Expliquez ces exigences à l'utilisateur de l'appareil.
Installez le récupérateur de condensats - aussi près que possible de l'évacuation des fumées.
Sauf indication contraire, respectez les longueurs de conduits maximales entre l'appareil et le terminal ventouse indiquées dans le tableau de données techniques (voir chapitre "données techniques").

Notez que l'unité de mesure "1 Em" dans le tableau de données techniques correspond à 1 m de conduit droit ou à 1 coude de
5.7.1 Installation de type C13
Système de ventouse horizontal, avec terminal ventouse horizontal et évacuation extérieure.
Pour une configuration horizontale utilisant des tubulures séparées (80 + 80mm), avec les terminaux ventouses horizontalement, le conduit d'admission d'air et le conduit d'évacuation des produits de combustion correspondant doivent se couvrir à l'intérieur d'un carré de 0,5m par côté.
Exemple d'installation d'un système de ventouse horizontal de type C13 (selon EN 483).

5.7.2 Installation de type C33
Système de ventouse vertical, avec terminal ventouse vertical et évacuation extérieure.
La longueur L est égale à 1 m.
Pour des terminaux ventouse séparés, se référer aux précisions concernant l'installation de type C13.
Exemple de l'installation d'un système de ventouse verticale de type C33 (salon EN 483).

5.7.3 Système flexible de condensation pour raccordement cheminée (installation de type C33S)
Cette configuration permet de réutiliser un ancien conduit de fumée ou de ventilation pour l'implantation d'un conduit de chaudière étanche. La longueur du conduit horizontal (L1) est de type double flux 2xØ80. La longueur du conduit vertical (L2) est un flexible d'évacuation des fumées Ø 80 mm. La prise d'air se fait par le conduit de cheminée (intervalle entre les deux conduits).
Pour éviter que toutes les impuretés de la cheminée soient recapturées par l'aspiration de la chaudière :
Ne raccordez pas l'appareil directement en sortie verticale.

Ne raccordez pas l'appareil sur une cheminée ayant évacué des produits fuels.
Matériel livré :

- 1 sortie toiture
- 1 flexible (longueur 12,5m)
- 1 raccord supérieur droit
- 1 coude avec support cheminée
- 6 supports à distance
- 1 bride de blocage

Légende
L1 Longueur du conduit concentrique horizontal L2 Longueur du conduit vertical
Perte de charge maximale :
-F25E = 112 Pa - F29E et FAS29E = 125 Pa
Cette valeur est atteinte avec la longueur de conduit maximal (L1 + L2) + 1 coude à.
| Longueur autorisée L1 + L2 (m) | Diamètre cheminée (mm) | Diamètre flexible (mm) |
| 5,7 106 80 | ||
| 12,5 120 80 | ||
| 15 126 80 | ||
| 17,3 131 80 |
Chaque fois qu'un coude supplémentaire est nécessaire (ou 2 à ), la longueur (L1 + L2) doit être réduite de 1 m.
5.7.4 Installation de type C43
Il est possible de raccorder les terminaux de ventouse de chaudières étanches à des conduits collectifs.
Conformez-vous aux recommandations du constructeur concernant la capacité du conduit collectif.
Respectez la distance verticale minimale entre les terminaux de ventouse partageant un conduit collectif :
Veillez à ce que les extrémités des • ventouses raccordées à un conduit commun ne comportent pas d'embouts (les embouts sont utilisés uniquement pour les configurations avec évacuation extérieure).
Insérez les 2 parties du conduit • concentrique (le conduit d'air neuf, situé à la périphérie et le conduit collecteur des gaz brûlés situé à l'intérieur) dans la cheminée de façon à assurer leur bon raccordement.
Veillez à ne pas entraver les flux d'air neuf et de gaz brûlés.
La ventouse doit supporter une température maximale de 120°C. Elle doit garantir une étanchéité suffisante et résister à des déteriorations physiques et chimiques (dues principalement aux gaz brûlés).

Légende
1 Conduit collecteur 2 Conduit d'aspiration d'air 3 Dispositif d'équilibrage des pressions 4 Appareil de type étanche 5 Trappe de visite A Dernier niveau B Premier niveau L Longueur de tuyau (^*)
(*) Reportez-vous au tableau des données techniques en fin de manuel.
5.7.5 Installation de type C53
Système de conduit double avec terminaux séparés et éloignés l'un de l'autre, ayant des spécifications différentes (principalement les pressions).
L'aspiration d'air et l'évacuation des gaz brûlés peuvent être assurées par des conduits séparés. Dans cette configuration, les terminaux des conduits ne doivent pas être positionnés sur des parois opposées. La longueur L1+L2 est égale à 1 m.
Exemple de l'installation d'un système de ventouse verticale de type C53

5.7.6 Installation de type C83
Système avec le terminal du conduit d'apport d'air extérieur et le conduit d'évacuation des gaz brûlés raccordé à une cheminée commune.
L'air peut être aspiré à l'extérieur (ou dans un endroit avec un début d'air neuf suffisant) et les gaz brûlés évacués dans une cheminée commune ou équivalent.
Légende A Conduit collectif
5.7.7 Installation de type B23
L'évacuation des gaz brûlés se fait à l'extérieur (y compris pour les systèmes avec des tubulures séparées) et l'aspiration d'air frais dans la pièce où se trouve l'appareil (par l'intermédiaire d'une trappe dans la tubulure extérieure du conduit concentrique).
Veillez à ce que la ventilation soit équate si l'air frais est pris dans la pièce où se trouve l'appareil.
Ne raccordez aucun autre appareil au conduit d'évacuation des gaz brûlés (cheminée ou tubulure).
Le débit minimum doit être de 1.6m³/ heures par kW de puissance de la chaudière.

5.7.8 Système flexible de condensation pour raccordement cheminée (installation de type B23P)
Cette configuration permet de réutiliser un ancien conduit de fumée ou de ventilation pour l'implantation d'un conduit de chaudière étanche. La longueur du conduit horizontal (L1) est de type concentrique 60/100. La longueur du conduit vertical (L2) est un flexible d'évacuation des fumées 80 mm. L'air frais est pris dans la pièce où est installé l'appareil par l'intermédiaire du coude du terminal ventouse horizontal.

Légende
Longueur du conduit concentrique horizontal : L1 Longueur du conduit vertical : L2
Perte de charge maximale: 200 Pa
Cette valeur est atteinte avec la longueur de conduit maximal (L1 + L2) + 2 coudes à (A et B).
| F25E / F29E / F AS 29E | |
| Longueur L1 min. 0.5 | m |
| Longueur L1 max. 3 m | m |
| Longueur L2 min. 1 m | m |
| Longueur L2 max. 20 | m |
Chaque fois qu'un coude supplémentaire est nécessaire (ou 2 à ), la longueur (L1 + L2) doit être réduite de 1 m.
6 Raccordement électrique

Danger! En cas d'installation incorrecte, il y a risque de choc électrique et d'endommagement de l'appareil.
Raccordez le câble d'alimentation de la • chaudière au réseau 230 V monophasé + terre.
N'utilisez pas du câble supérieur à 10 mm de diamètre pour les raccordements électriques.
Le fusible de la carte électronique est placé sur le neutre (voir chapitre "Schéma électrique").

Important : le raccordement électrique de l'appareil doit être effectué par un professionnel qualifié.
Toutes interventions à l'intérieur de l'appareil doivent être réalisées par le Service Après-Vente ou un professionnel qualifié.
Selon les normes en vigueur, réalisez ce raccordement par l'intermédiaire d’un interrupteur bipolaire avec une séparation d’au moins 3 mm entre chaque contact.

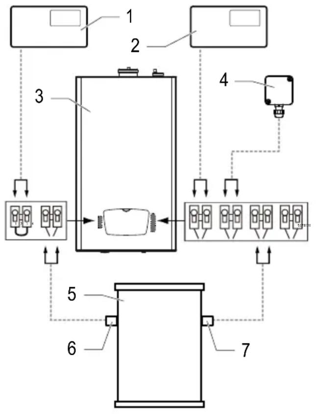
Légende
1 Thermostat d'ambiance 24V 2 Thermostat d'ambiance Opentherm 3 Chaudière 4 Sonde extérieure 5 Ballon 6 Aquastat balloon 7 Capteur de température ballon (CTN)
6.1.1 Sonde extérieure
Reportez-vous à la notice livrée avec la sonde extérieure.
Attention! S'il n'est pas prévu de thermostat d'ambiance sur l'installation, laissez le pontet sur les deux bornes du bornier.
Raccordez les fils du thermostat d'ambiance sur le bornier de la chaudière (voir chapitre "Schéma électrique").
Le pontet sur le bornier Opentherm doit être maintenu en place.

Important: ce raccordement est destiné à un thermostat d'ambiance 24V (0,1A); en aucun cas, il ne doit recevoir d'alimentation du réseau (230V).
6.1.3 Thermostat d'ambiance opentherm (en option)
Raccordez les fils du thermostat d'ambiance sur le bornier de la chaudière (voir chapitre "Schéma électrique").
Le pontet sur le bornier On/Off doit être maintenu en place.
Raccordez les fils du thermostat d'ambiance sur le bornier de la chaudière (voir chapitre « Schéma électrique »).
Les pointets sur les borniers On/Off et OpenTherm doivent être maintenus en place.
6.1.5 Ballon échangeur (uniquement modèle AS)
2 types de capteurs de température peuvent être utilisés avec un ballon externe :
Aquastat ballon. -
- Capteur de température CTN (en option).
Pour une meilleure modulation, il est conseillé d'utiliser un capteur de température CTN.
Raccordez le capteur de température sur le bornier de la chaudière (voir chapitre "Schéma électrique").

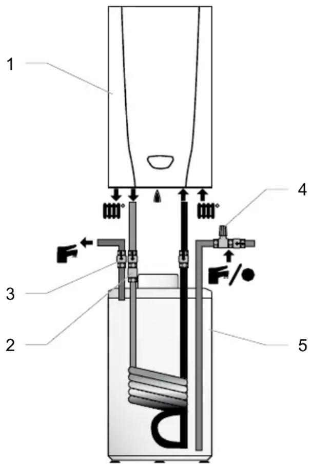
Légende
1 Chaudière 2 Clapet anti-retour 3 Robinet d'arrêt 4 Soupape de surpression 5 Ballon
Installez des robinets d'arrêt (3) sur tous les raccordements hydrauliques du gallon.
Installez un clapet anti-retour sur la conduite de return chauffage du gallon. Le clapet anti-retour doit s'ouvrir dans le sens de l'écoulement.
Installez une soupape de surpression réglée à 6 bar max. sur la conduite d'alimentation en eau froide du gallon. Raccordez la soupape de surpression à un circuit d'évacuation vers les égouts.

Important: si la pression d'alimentation en eau est supérieure à 6 bar, un détendeur de pression doit être monté sur la conduite d'eau froide.
N'utilisez que les joints d'origine fournis avec l'appareil.
Raccordez tous les tuyaux et vérifiez qu'il n'y a pas de fuite.
Réglez la chaudière et contrôlez son fonctionnement avec le gallon.

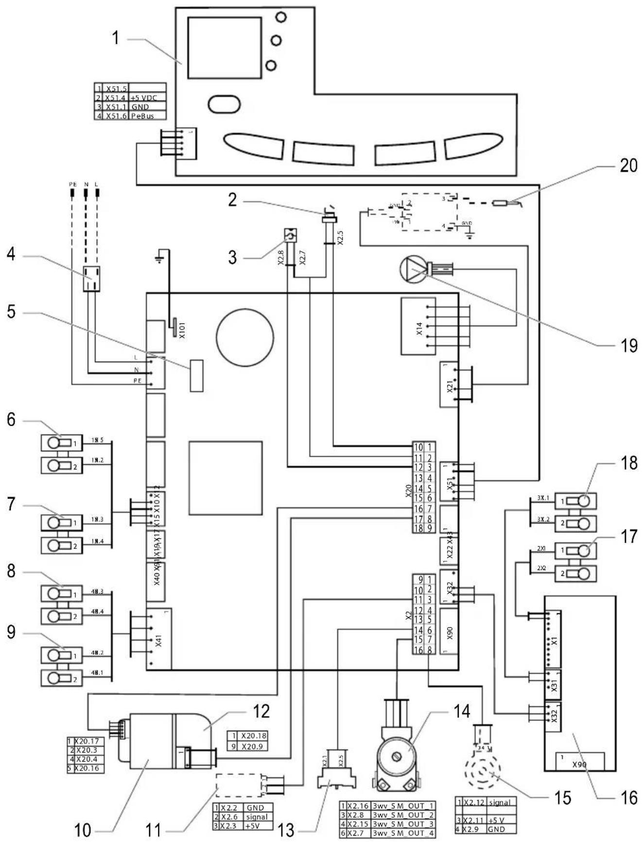
Légende
1 Afficheur 2 Capteur de température départ chauffage 3 Capteur de température retour chauffage 4 Interrupteur marche/arrêt 5 Fusible 6 Raccordement thermostat d'ambiance 7 Raccordement Aquastat ballon 8 Raccordement sonde extérieure 9 Raccordement capteur de température ballon (CTN) 10 Ventilateur 11 Déteur de débit 12 Mécanisme gaz 13 Capteur de température eau chaude sanitaire 14 Vanne 3 voies 15 Capteur de pression 16 Carte Ebus 17 Raccordement thermostat d'ambiance Opentherm 18 Raccordement thermostat d'ambiance modulant Ebus 19 Circulateur chauffage 20 Électrode d'allumage
7 Mise en service
Poussez l'interrupteur pour faire apparaître le symbole «I».
L'afficheur et l'indicateur du mode de fonctionnement s'allument : la chaudière est prête à fonctionner.
Ouvrez le bouchon du purgeur situé sur la pompe ainsi que les purgeurs automatiques de l'installation.
Ouvrez le robinet de remplissage d'eau situé sur l'installation jusqu'à dire 1,5 bar sur l'indicateur de pression.
Purgez chaque radiateur jusqu'à écoulement normal de l'eau puis refermez les purgeurs.
Laissez le bouchon du purgeur de la pompe ouvert.
Ouvrez les différents robinets d'eau chaude pour purger l'installation.
Assurez-vous que l'indicateur dépression affiche une valeur entre 1 et 1,5 bar ; sinon, remplissez à nouveau la chaudière.
8.1 Réglage du début du circuit de chauffage
Il est nécessaire d'adapter ce début en fonction du calcul de l'installation.
À la livraison, la vis (1) du by-pass intégré est ouverte de 12 tour.

1 Vis du bypass
En fonction des besoins, effectuez la rotation de cette vis (par exemple, vissez pour fermer) pour adapter la hauteur manométrique disponible à la perte de charge de l'installation selon la courbe débit/pression ci-après.
La vitesse de la pompe est déterminée automatiquement en fonction de la puissance Puissance chauffage < 15kW = vitesse 1 - Puissance chauffage >15kW = vitesse 2 -
En fonction sanitaire, la pompe tourne sur la vitesse 2

Légende
1 By-pass fermé, vitesse 2 2 By-pass fermé, vitesse 1 3 By-pass ouvert 1/2 tour, vitesse 2
8.2 Accès aux données techniques de la chaudière (réservé à l'usage des installateurs et du service après-vente)
L'accès aux données techniques de la chaudière permet d'effectuer certains réglages et d'analyser éventuels dysfonctionnements.
4 By-pass ouvert 1/2 tour, vitesse 1 5 By-pass ouvert 1 tour, vitesse 2 6 By-pass ouvert 1 tour, vitesse 1
Par exemple, il est possible de régler la puissance maximale de la chaudière en mode chauffage sur toute valeur comprise entre les puissances indiquées dans le tableau à la fin de ce manuel. Cette possibilité permet d'adapter la puissance fournie aux besoins réels de l'installation et d'éviter une surpuissance exagérée tout en maintenant un rendement élevé.

La diminution de la puissance en chauffage n'a aucune incidence sur la puissance en eau chaude sanitaire.
Appuyez pendant 5 secondes sur la touche "MODE" pour accéder au menu de paramétrage.
Lorsque "00" apparait, utilisez les touches + ou - jusqu'à obtenir "96" sur l'afficheur.
Appuyez sur la touche "MODE" pour · afficher le premier menu paramétrable à savoir la puissance maximale en chauffage (menu COD.1).
Lorsque le menu "COD.1" apparait • sur l'afficheur, appuyez sur la touche "MODE" si vous souhaitez paramétrer ce menu.
Sélectionnez la valeur souhaitée en • utilisant les touches + -.
Validez en appuyant sur la touche · "MODE"
Appuyez sur la touche + pour passer au menu suivant.

L'afficheur revient à sa position normale au bout de 4 minutes sans manipulation.
| Menu n° Intitulé Action | ||
| COD. 1 | puissance maximalechauffage | Choisissez une valeur (voir tableau "Données techniques" enfin de manuel) (réglage usine : 15) |
| COD. 2 | configurationaéraulique | Pas de réglage nécessaire pour ce type de chaudière. |
| COD. 3 | température minimalechauffage | Choisissez une valeur : 22°C, 28°C, 38°C, 50°C, 55°C ou70°C (réglage usine : 22°C) |
| COD. 4 | températuremaximalechauffage | Choisissez une valeur : 50°C, 73°C ou 80°C (réglage usine :80°C) |
| COD. 5 | fonctionnement depompe | Choisissez un mode de fonctionnement :1 - discontinu avec T.A (thermostat ambiance) (réglage usine)2 - discontinu avec brûleur3 - permanent |
| Les deux menus suivants nécessitant l'installation d'une sonde extérieure : | ||
| COD. 6 | sonde extérieure :courbe chauffage | Choisissez une courbe de chauffage parmi les 10 suivantes :0.2 / 0.6 / 1.0 / 1.2 / 1.5 / 2.0 / 2.5 / 3.0 / 3.5 / 4.0(voir graphique ci-après) (réglage usine : 0.2). |
| COD. 7 | sonde extérieure :pied de courbechauffage | Choisissez une valeur :15°C / 16°C / 17°C / 18°C / 19°C / 20°C / 21°C / 22°C / 23°C/ 24°C / 25°C (voir graphique ci-après) (réglage usine : 20°C). |

Légende
1 Réglage COD. 6 2 Réglage COD. 7
| Menu n° Intitulé Action | ||
| COD. 8 forçage brûleur | Choisissez un mode de fonctionnement :0 - fonctionnement normal1 - forçage à P. mini.2 - forçage à P. max.3 - forçage à P. allumage(réglage usine 0)Après 15 minutes la chaudière revient automatiquement en fonctionnement normal (paramètre 0). | |
| COD. 9 | Préchauffage de la chaudière | Choisissez un mode de fonctionnement :0 = sans préchauffage1 = avec préchauffage (réglage usine) |
| COD. 10 Régulation chauffage | Choisissez un mode de fonctionnement :0 = régulation classique (réglage usine)1 = régulation adaptative | |
| COD. 11 Pas utilisé sur ce type de chaudière | ||
| COD. 12 | Température départ eau de chauffage | Affiche la température départ de l'eau du circuit de chauffage.L'afficheur indique "--" si le capteur de température n'est pas connecté. |
| COD 13 | Température retour eau de chauffage | Affiche la température retour de l'eau du circuit de chauffage.L'afficheur indique "--" si le capteur de température n'est pas connecté. |
| COD. 14 | Température eau chaude sanitaire | Affiche la température de l'eau chaude sanitaire.L'afficheur indique "--" si le capteur de température n'est pas connecté. |
| COD. 15 | Température de l'eau dans le gallon de stockage | Affiche la température de l'eau dans le gallon de stockage.L'afficheur indique "--" si le capteur de température n'est pas connecté. |
| COD. 16 | Débit d'eau chaude sanitaire | Affiche le débit d'eau chaude sanitaire en l/min. |
| COD. 17 | Vitesse du ventilateur | Affichage de la vitesse du ventilateur de 0 à 99 en t/min (x100 pour obtenir la vitesse réelle du ventilateur). |
| COD. 18 | Puisance de chauffe de la chaudière | Affichage de la puissance de chauffe de la chaudière de 0 à puissance max. en kW. |
| COD. 19 | État de fonctionnement de la chaudière | Affichage des différents modes de fonctionnement de la chaudière.Voir chapitre "Codes d'état". |
| COD. 20 | Dégazage | 0 = fonction dégazage désactivée (réglage usine).1 = fonction dégazage activée.2 = fonction replissage activée (vanne 3 voies en position milieu).La fonction est activée pour une durée de 30 minutes.L'appareil fonctionne 7 minutes en chauffage et 7 minutes sur le circuit court. Le cycle de fonctionnement de la pompe est :15 s sur On puis 10 s sur Off.Vous pouvez arrêté la fonction en repassant le réglage à 0. |
| COD. 21 | Températurendsonde extérieure | Affiche la température de la sonde extérieure.L'afficheur indique "--" si la sonde extérieure n'est pas connecté. |
| COD. 22 | Pas utilisé sur ce type de chaudière | chaudière |
| COD. 60 | Pas utilisé sur ce type de chaudière | chaudière |
| COD. 61 | Pas utilisé sur ce type de chaudière | chaudière |
| COD. 62 | Pas utilisé sur ce type de chaudière | chaudière |
| COD. 63 | Fonction jour/nuit | Abaissement de la consignee chauffage entre le jour et la nuit. Cette fonction est commandée par le programme du Thermostat d'Ambiance. Elle ne peut-être active que si la chaudière est équipée d'une sonde extérieure.Elle a pour conséquence que le T.A. ne coupe plus le brûleur.Seule la consigne coupe le brûleur.0 = Fonction inactive (réglage usine)1 = Fonction active |
| COD. 64 | Offset nuit | Choix de l'abaissement de consigne entre le jour (période CONFORT du T.A.) et la nuit (période ECO du T.A.).Choisissez une valeur entre 0 et 31°C par incrément de 1°C (réglage usine : 0°C). |
| COD. 65 | Code défaut détaillé | Le diagnostic peut être affiné par un code détaillé. La liste des codes détaillés est donnée dans le chapitre "Sécurités de fonctionnement". |
8.3.1 Chauffage central
| Paramètre | Description |
| S.00 Pas de | demande de chauffage. |
| S.01 Démarriageventilateur. | |
| S.02 Démarriagepompe. | |
| S.03 Allumagechaudière. | |
| S.04 Brûleurallumé. | |
| S.05 Survitessespompe /ventilateur. | |
| S.06 Survitessesventilateur. | |
| S.07 Survitessespompe. | |
| S.08 Temps | d'arrêt après période de chauffage. |
8.3.2 Eau chaude sanitaire
| Paramètre | Description |
| S.10 Demarde eau chaude sanitaire. | |
| S.11 Démarge ventilateur. | |
| S.13 Allumage chaudière. | |
| S.14 Brûleur allumé. | |
| S.15 Survitesse pompé / ventilateur. | |
| S.16 Survitesse ventilateur. | |
| S.17 Survitesse pompé. | |
8.3.3 Temps de cycle / démarrage brûleur
| Paramètre | Description |
| S.20 Production | eau chaude |
| sanitaire / pompé démarrée. | |
| S.21 Démarrage ventilateur. | |
| S.22 Démarrage pompe. | |
| S.23 Allumage chaudière. | |
| S.24 Brûleur allumé. | |
| S.25 Survitesse pompe / ventilateur. | |
| S.26 Survitesse ventilateur. | |
| S.27 Survitesse pompe. | |
| S.28 Temps de cycle. |
8.3.4 Fonctionnement chaudière
| Paramètre | Description |
| S.30 Pas de | démarriage suite à unemande de démarriage ducontrôleur externe |
| S.31 Mode été, commande Ebus oubloc de temporisation pour lechauffage. | |
| S.32 Attente | ventilateur : la vitessedu ventilateur est en dehors destolérances. |
| S.33 Attente | ventilateur : le capteurede pression ne commute pas. |
| S.34 Protection | antigel activée. |
| S.41 Pression | d'eau trop élevé. |
| S.53 Délai d'attente : pas d'eau dans le circuit, la différence detempérature entre le départ etle retour chauffage trop élevé. | |
| S.54 Délai d'attente : pas d'eau dans le circuit, température ducapteur de température (départouretour)chauffage trop élevé. | |
| S.95 Le contrôle | rôle de tensionfonctionne, mais la chaudièrene démarre pas (demandechauffage ou eau chaudesanitaire). |
| S.96 Le capteur de températureretour chauffage fonctionne,mais la chaudière ne démarrapas (demande chauffage oueau chaude sanitaire). | |
| S.97 Le capteur de pressionfonctionne, mais la chaudierene démarre pas (demandechauffage ou eau chaudesanitaire). | |
| S.98 Le capteur de débutretourfonctionne, mais la chaudierene démarre pas (demandechauffage ou eau chaudesanitaire). |
9.1 Circuit chauffage
Ouvrez le robinet de vidange prévu au point bas de l'installation.
Faites une prise d'air en ouvrant, par exemple, un purgeur de l'installation ou le robinet de vidange de la chaudière.
9.2 Circuit sanitaire
Fermez le robinet d'eau froide de l'installation.
Faites une prise d'air en ouvrant un • robinet d'eau chaude.
10 Sécurité de fonctionnement
Les pannes décrites dans ce chapitre exigent l'intervention d'un professionnel qualifié et si nécessaire celle du Service APRÈS-Vente Bulex.

Pour les codes définis à 2 chiffres, l'afficheur affiche en alternance la lettre F et les 2 chiffres du code défaut.

Important: en cas de présence d'air dans les canalisations, purgez l'air contenu dans les radiateurs et réajustez la pression. Si les apports deviennent trop fréquents, avertissez le Service Après-Vente car il peut s'agir soit de fuites légères sur l'installation et dont il faudrait rechercher l'origine ou d'une corrosion du circuit de chauffage à laquelle il faudrait remédier par un traitement approprié de l'eau du circuit.
| Code Description Causes | ||
| F1 ou F4 D'efaut d'allumagePerte de flamme en fonctionnement | Pas d'arrivée de gaz / Débit gaz insuffisantMauvais réglage du mécanisme gazElectrode d'allumage et de contrôle de flamme défectueusesAllumeur défectueux | |
| F2 Défaut d'extraction ou d'aspiration de l'air | Vitesse d'extracteur incorrecte | |
| F5 ou F14 D'efaut de surchauffe Sécurité | de surchauffe activéeTempérature maximum autorisée dépasséeMauvais dégazage | |
| F6 Défaut capteur de température départ chauffage | Capteur déconnectéCourt-circuit du capteur | |
| F7 Défaut capteur de température sanitaire | Capteur déconnectéCourt-circuit du capteur | |
| F9 Défaut détecteur de pression circuit chauffage | Capteur déconnectéCourt-circuit du capteur | |
| F10 Défaut capteur de température retour chauffage | Capteur déconnectéCourt-circuit du capteur | |
| F11 Erreur communication carte interface utilisateur | Mauvais raccordement entre la carte principale et la carte interface utilisateur | |
| F12 Erreur de communication Le niveau de communication entre la carte principale et le thermostat d'ambiance est sous le niveau acceptable. ÀpRES rectification, la chaudière doit être redémarrée. | ||
| Code Description Causes | ||
| F13 Défaut | carte principale Fréquence de alimentation non adaptée. Défaut de commande de la vanne gaz Défaut de fermeture de la vanne gaz Défaut de mémoire de la carte principale Défaut de la carte principale Température de la carte principale trop élevé Défaut du signal de flamme sur la carte principale | Défaut de flamme anormaleElectrode de ionisation déconnectéeElectrode de ionisation dérégléeMauvais réglage du CO2 |
| F16 Défaut | de détention de détction de flamme | Détection de flamme anormaleElectrode de ionisation déconnectéeElectrode de ionisation dérégléeMauvais réglage du CO2 |
| F18 Défaut | interface utilisateur Carte interfacé défectueuse | défectueuse |
| F19 Défaut | décteur de début Détector de débit déconnectéDétector de début défectueux ou mauvaise connexion. | débit déconnectéDétector de début défectueux ou mauvaise connexion. |
| F20 Erreur | de communication entre l'interface utilisateur et la carte principale | Interface utilisateur mal inséréePrésence de données incompatibles dans la mémoire de l'interface utilisateurMauvais code produitMauvais carte interface carte utilisateur ou carte principale |
| F21 Quantité d'eau insuffisante dans l'installation | Manque d'eau dans le circuitPrésence d'air dans le circuit | |
| F22 Quantité d'eau trop importante dans l'installation | ||
| F23 | Défaut de circulation d'eau | Mauvais fonctionnement de la pompe (montée en température trop rapide) |
| F24 Température retarder chauffage trop élevé | Problème de circulation d'eauManque d'eau dans le circuitPrésence d'air dans le circuit | |
| F26 Ecart | de température maximum atteint entre départ et retour chauffage | Problème de circulation d'eauManque d'eau dans le circuitPrésence d'air dans le circuit |
| F27 Défaut | capteur de tourbillon Capteur déconnectéCapteur défectueux | DéconnectéCapteur défectueux |
| F28 Ecart | de température permanent entre les capteurs départ et retour chauffage | Incohération entre les températures départ et retour chauffage. |
| F30 Défaut | capteur de pression d'eau | Capteur déconnectéCapteur défectueux |
11 Contrôle / remise en fonctionnement
Après avoir installé l'appareil, vérifiez son bon fonctionnement :
Mettez l'appareil en marche selon les indications du mode d'emploi et contrôlez qu'il fonctionne correctement.
Vérifiez l'étanchéité de l'appareil (gaz et eau) et éliminez les fuites eventuelles.
Vérifiez que les fumées sont évacuées correctement.
Contrôlez l'ensemble des dispositifs de commande et de sécurité, leur réglage et leur état de fonctionnement.
12 Information de l'utilisateur
L'utilisateur de l'appareil doit être informé du maniement et du fonctionnement de son appareil.
Expliquez-lui le fonctionnement de l'appareil afin qu'il soit familiarisé avec son utilisation.
Examinez le mode d'emploi ensemble et répondez le cas échéant à ses questions.
Donnez tous les manuels et documents concernant l'appareil à l'utilisateur et demandez-lui de les conserver à proximité de l'appareil.
Expliquez-lui comment vidanger l'appareil et montrez-lui les éléments à manipuler.
Présentez à l'utilisateur tout • particulièrement les consignes de sécurité qu'il doit respecter.
Rappelez à l'utilisateur l'obligation d’un • entretien régulier de l'installation.
Recommandez-lui de passer un contrat d'entretien avec un professionnel qualifié.
13 Pièces de rechange
Pour garantir un fonctionnement durable de tous les organes de l'appareil et conserver l'appareil en bon état, seules des pièces de rechange d'origine Bulex doivent être utilisées lors de travaux de réparation et d'entretien.
N'utilisez que les pièces de rechange d'origine.
Assurez-vous du montage correct de ces pièces en respectant leur position et leur sens initiaux.
14 Entretien / maintenance de l'appareil
Avant d'effectuer les opérations de maintenance, vérifie les points suivants :
Assurez-vous que la chaudière est éteinte et que la prise électrique est débranchée.
Assurez-vous que la chaudière a été vidangée.

Légende
1 Façade avant 2 Vis de maintien de la façade avant
Retirez les 2 vis de maintien (2) de la façade avant (1).
Tirez légèrement la façade avant (1) par le bas puis soulevez-la pour l'enlever.
Stockez-la soigneusement.


Légende
1 Câble d'alimentation de la pompe 2 Tube du vase d'expansion 3 Tube vers échangeur de chaleur 4 Soupape de surpression 5 Vis 6 Pompe
Enlevez le tube (3) entre la pompe (6) et l'échangeur de chaleur.
Enlevez le tube du vase d'expansion (2).
Enlevez la soupape de surpression (4).
Retirez la vis (5).
Tirez la pompe (6) vers vous et enlevez-la.
Ouvrez le boîtier sur le dessus de la pompe et débranchez le câble d'alimentation de la pompe (1).
Remontez la pompe (6) dans l'ordre inverse des opérations décrites ci-dessus.
Pour le remontage de la pompe (6) • utilisez des joints d'étanchéité neufs.
Pour faciliter le remontage de la pompe (6), mettez de la graisse sur les joints.

Légende
1 Connecteur d'alimentation 2 Clip de sécurité 3 Clip de sécurité 4 Tube d'alimentation eau froide 5 Déteceur de débit
Démontez, pour rendre le tube d'alimentation eau froide (4) libre, le raccord entre le tube et l'alimentation en eau.
Retirez le connecteur d'alimentation (1).
Retirez le clip de sécurité (2).
Retirez le clip de sécurité (3).
Tirez sur le tube d'alimentation eau • froide (4) pour le dégager du détecteur de début (5).
Retirez le détecteur de début (5).
Pour faciliter le remontage du détecteur de débit (5), mettez de la graisse sur les joints.

Légende
Clip de sécurité Filtre
Retirez le clip de sécurité (1).
Enlevez le filtre (2).
Vérifiez son état, nettoyez-le avec de l'eau si nécessaire.
Remontez le filtre (2).
15 Données techniques
Chaudière à condensation, type B23, B23P, C13, C33, C43, C53, C83, C33S.
| Description G20 G25 | G31 | ||
| Catégorie gaz I | 2E(S) B | I3P | |
| BE | I2E(S) B: veut dire que l'appareil fonctionne au gaz naturel (G20/G25). | ||
| I3P: veut dire que l'appareil fonctionne au gaz propane (G31). | |||
| Description Unité F 25 E F 29 E F AS 29 E | ||||
| Chauffage | ||||
| Puisance utile à 80°C/60°C (P) - G20 kW 5.2 - 25 | 6.2 - 29.6 | 2 - 29 | ||
| Puisance utile à 80°C/60°C (P) - G25 kW 4.3 - 20 | 6.5.2 - 24 | 2.5.2 - 24.2 | ||
| Rendement sur P.C.I. à 80°C/60°C | % | 98.1 | ||
| Rendement sur P.C.I. à 50°C/30°C | % | 105 | ||
| Rendement sur PCI à 30% de charge et >T° de retard de 30°C | % | 108.2 | ||
| Débit calorifique (Q min/max.) - G20 | kW | 5.5 - 25.6 | 6.5 - 29.6 | 6.5 - 29.6 |
| Débit calorifique (Q min/max.) - G25 | kW | 4.6 - 21.2 | 5.5 - 25 | 5.5 - 25 |
| Débit minimum de chauffage | l/h | 250 | 300 | 300 |
| Température départ chauffage min. | °C 22 | |||
| Température départ chauffage max. | °C 80 | |||
| Vase d'expansion, capacité utile | I | 12 | ||
| Pression de prégonflage du vase d'expansion | bar | 0.75 | ||
| Capacité maxi. de l'installation à 75°C | I | 190 | 230 | 230 |
| Soupape de surpression, pression maximale de service (PMS) | bar | 3 | ||
| Sanitaire | ||||
| Puisance utile à 80°C/60°C - G20 | kW 5.2 | - 25 6.2 - 29 | 6.2 - 29 | |
| Puisance utile à 80°C/60°C - G25 | kW 4.3 | - 20.6 5.2 - | 24.2 5.2 - 24.2 | |
| Débit calorifique (Q min/max.) - G20 | kW | 5.5 - 25.6 | 6.5 - 29.6 | 6.5 - 29.6 |
| Débit calorifique (Q min/max.) - G25 | kW | 4.6 - 21.2 | 5.5 - 25 | 5.5 - 25 |
| Température eau chaude min. | °C 38 | |||
| Température eau chaude max. | °C 63 | |||
| Débit instantané (ΔT 25°C) | l/min | 14.3 | 16.6 | - |
| Confort sanitaire selon EN 13 203 | - | - | - | |
| Limueur de débit eau froide | l/min | 10 | 12 | - |
| Pression d'alimentation min. | bar | 0.5 | 0.5 | - |
| Pression d'alimentation conseillée (*) | bar | 1.2 - 2 | ||
| Pression d'alimentation max. | bar | 10 | 10 | - |
| (*) Réglage conseillée pour le replissage de l'installation compte tenu de la perte de charge du disconnecteur. | ||||
| Combustion | ||||
| Débit d'air neuf (1013 mbar - 0°C) m3/h 27 31 31 | ||||
| Débit d'évacuation des gaz brûlés g/s 11.49 | ||||
| Température fumées à P max 80°C/60°C °C 66 71.671.6 | ||||
| Température fumées à P max 50°C/30°C °C | 48.7 52.2 | 52.2 | ||
| Valeurs des produits de la combustion (mesurée au débit calorifique nominal et avec le gaz de référence G20, en chauffage): | ||||
| CO2 | % | 10.4 10.4 | 9.5 | |
| Classe NOx | 5 | |||
| Tension d'alimentation | V/Hz | 230V/50Hz | ||
| Puisance maximale absorbée | W | 123 | 125 | 125 |
| Intensité | A | 0.53 0.54 | 0.54 | |
| Fusible | A | 2 | ||
| Protection électrique | IPX4D | |||
| Classe électrique | - | |||
| Description Unité G20 G25 G31 | ||||
| Evacuation des fumées | ||||
| Longueur max. de conduit concentrique ø 80 / 125 | Em | 13 13 10 | ||
| Longueur max. de conduits séparés ø 80x80 | Em | 20 + 20 | 20 + 20 | |
| Longueur max. de conduits séparés ø 60x60 | Em | 8 + 8 | 8 + 8 | |
| Description | Unité | F 25 E | F 29 E | F AS 29 E |
| Dimensions | ||||
| Hauteur | mm | 780 | ||
| Largeur | mm | 450 | ||
| Profondeur | mm | 320 | ||
| Poids en fonctionnement (remplie d'eau) | kg | 48 | ||
| Poids à vide | kg | 45 | ||
| Numéro CE | 1015 BS 0323 | |||
| Description Unité F 25 E F 29 E F AS 29 E | ||||
| Gaz naturel G 20 (1) | ||||
| Débit gaz à puissance maximale | m3/h | 2.7 3.13 | 3.13 | |
| Débit gaz à puissance minimale | m3/h | 0.58 0.69 | 0.69 | |
| Pression d'alimentation en gaz mbar 20 20 20 | ||||
| Gaz naturel G 25 | ||||
| Débit gaz à puissance maximale | m3/h | 2.7 3.13 | 3.13 | |
| Débit gaz à puissance minimale | m3/h | 0.58 0.69 | 0.69 | |
| Pression d'alimentation en gaz mbar 25 25 25 | ||||
| Gaz liquide G 31 | ||||
| Débit gaz à puissance maximale kg/h 2.13 2.48 2.48 | ||||
| Débit gaz à puissance minimale kg/h 0.37 0.43 0.43 | ||||
| Pression d'alimentation en gaz mbar 37 37 37 | ||||
15°C, 1013,25 mbar, gaz sec
16.1 Concentrique 60/100
| Modèle Rétérence | ||
| Adaptateur 2x80 -> 60/100 | 120mm 260mm | 0020017695 |
| Ventouse horizontale sans coude | 785mm | A2036200 |
| Coude 90° | 90mm | A2032900 |
| Coudes 45°(livrés par deux) | 85mm | A2033000 |
| Rallonge de ventouse L=0,5m | L | A2032500 |
| Rallonge de ventouse L=1m | L | A2032600 |
| Terminal toiture | 440mm 620mm | A2032300 |
| Kit d'étanchéité pour toit plat | 390mm 115mm | 7041365 |
| Kit d'étanchéité pour toiture en pente avec Bavette en plomb | 500mm 500mm 170mm | 7041364 |
16.2 Concentrique 80/125
| Modèle Rétérence | ||
| Adaptateur 2x80 -> 80/125 | WINGLET 125mm 260mm | 7041326 |
| Ventouse horizontal avec coude | 1185mm | A2034300 |
| Coude 90° | A2033900 | |
| Coudes 45°(livrés par deux) | A2034000 | |
| Rallonge de ventouse L=0,5m | L | A2033500 |
| Rallonge de ventouse L=1m | L | A2033600 |
| Terminal toiture | 434mm 660mm | A2033300 |
| Kit d'étanchéité pour toit plat | 390mm 115mm | 7041365 |
| Kit d'étanchéité pour toiture en pente avec Bavette en plomb | 500mm 500mm 170mm | 7041364 |
16.3 Parallèle 2x80
| Modèle Récédence | ||
| Grille de protection prise d'air 80mm | 0020007201 | |
| Ensemble terminaux double flux (air frais / gaz brûlés) | 1000mm | 08511500 |
| 905mm | ||
| Manchon double flux pour revenir en concentrique 80/125 | 120mm | 08511800 |
| 120mm | ||
| Ventouse horizontalie concentrique 80/125 | 890mm | 7041325 |
| Terminal toiture | 434mm 660mm | A2033300 |
| 390mm 115mm | ||
| Kit d'étanchéité pour toit plat | 390mm 115mm | 7041365 |
| Kit d'étanchéité pour toiture en pente avec bavette en plomb | 500mm 170mm | 7041364 |
| Rallonge PP (air frais) L = 0.25 m | L | 7041310 |
| Modèle Rétérence | ||
| Rallonge PP (air frais) L = 0.5 m | L | 7041311 |
| Rallonge PP (air frais) L = 1 m | L | 7041312 |
| Rallonge PP (air frais) L = 2 m | L | 7041320 |
| Rallonge Alu (gaz brûlés) L = 0.25 m | L | 7041313 |
| Rallonge Alu (gaz brûlés) L = 0.5 m | L | 7041314 |
| Rallonge Alu (gaz brûlés) L = 1 m | L | 7041315 |
| Rallonge Alu (gaz brûlés) L = 2 m | L | 7041321 |
| Coude 45° PP (air frais) (1 piece) | 70mm 12mm | 7041318 |
| Coude 45° Alu (gaz brûlés) (1 piece) | 70mm 12mm | 7041319 |
| Coude 90° PP (air frais) | 95mm | 7041316 |
| Coude 90° Alu (gaz brûlés) | 95mm | 7041317 |
Déclaration de conformité a. r. 08/01/2004 - BE
Mise en circulation par :
Bulex
- Chaussée de Mons
1070 Bruxelles
Tél.: 02/555.13.13
Fax.: 02/555.13.14
Nous certifions par la présente que l'appareil spécifique ci-après est conforme au modèle type décrit dans le certificat de conformité CE, qu'il est fabriqué et mis en circulation conformément aux exigences définies dans l'A. R. du 8 janvier 2004.
Type de produit :
Chaufferie murale
Modèle :
Thermomaster F 25 E
Thermomaster F 29 E
Thermomaster F AS 29 E
Norme appliquée:
EN 297, EN 483 et A. R. du 8 janvier 2004
Organisme de contrôle :
no.1015
Date:31/01/08
Program manager

Bulex
Chaussée de Mons, 1425
Bergensesteenweg, 1425
1070 Bruxelles - Brussel
Téléphone: 02 555 13 13
Télécopie: 02 555 13 14
Site Internet: www.bulex.com
Notice Facile